JP2010519476A - 上薬で被覆された化学反応装置のための貯留区域無し扁平台座付きで上方開口部を有する排出用集合体 - Google Patents

上薬で被覆された化学反応装置のための貯留区域無し扁平台座付きで上方開口部を有する排出用集合体 Download PDF

Info

Publication number
JP2010519476A
JP2010519476A JP2009550303A JP2009550303A JP2010519476A JP 2010519476 A JP2010519476 A JP 2010519476A JP 2009550303 A JP2009550303 A JP 2009550303A JP 2009550303 A JP2009550303 A JP 2009550303A JP 2010519476 A JP2010519476 A JP 2010519476A
Authority
JP
Japan
Prior art keywords
discharge assembly
discharge
conical
assembly according
sealing
Prior art date
Legal status (The legal status is an assumption and is not a legal conclusion. Google has not performed a legal analysis and makes no representation as to the accuracy of the status listed.)
Granted
Application number
JP2009550303A
Other languages
English (en)
Other versions
JP5417661B2 (ja
Inventor
グラッド,ロジャー
シュミット,レミー
Original Assignee
デ ディエトリッヒ
Priority date (The priority date is an assumption and is not a legal conclusion. Google has not performed a legal analysis and makes no representation as to the accuracy of the date listed.)
Filing date
Publication date
Family has litigation
First worldwide family litigation filed litigation Critical https://patents.darts-ip.com/?family=38542002&utm_source=google_patent&utm_medium=platform_link&utm_campaign=public_patent_search&patent=JP2010519476(A) "Global patent litigation dataset” by Darts-ip is licensed under a Creative Commons Attribution 4.0 International License.
Application filed by デ ディエトリッヒ filed Critical デ ディエトリッヒ
Publication of JP2010519476A publication Critical patent/JP2010519476A/ja
Application granted granted Critical
Publication of JP5417661B2 publication Critical patent/JP5417661B2/ja
Active legal-status Critical Current
Anticipated expiration legal-status Critical

Links

Images

Classifications

    • FMECHANICAL ENGINEERING; LIGHTING; HEATING; WEAPONS; BLASTING
    • F16ENGINEERING ELEMENTS AND UNITS; GENERAL MEASURES FOR PRODUCING AND MAINTAINING EFFECTIVE FUNCTIONING OF MACHINES OR INSTALLATIONS; THERMAL INSULATION IN GENERAL
    • F16KVALVES; TAPS; COCKS; ACTUATING-FLOATS; DEVICES FOR VENTING OR AERATING
    • F16K1/00Lift valves or globe valves, i.e. cut-off apparatus with closure members having at least a component of their opening and closing motion perpendicular to the closing faces
    • F16K1/32Details
    • F16K1/34Cutting-off parts, e.g. valve members, seats
    • F16K1/36Valve members
    • F16K1/38Valve members of conical shape
    • FMECHANICAL ENGINEERING; LIGHTING; HEATING; WEAPONS; BLASTING
    • F16ENGINEERING ELEMENTS AND UNITS; GENERAL MEASURES FOR PRODUCING AND MAINTAINING EFFECTIVE FUNCTIONING OF MACHINES OR INSTALLATIONS; THERMAL INSULATION IN GENERAL
    • F16KVALVES; TAPS; COCKS; ACTUATING-FLOATS; DEVICES FOR VENTING OR AERATING
    • F16K27/00Construction of housing; Use of materials therefor
    • F16K27/07Construction of housing; Use of materials therefor of cutting-off parts of tanks, e.g. tank-cars
    • FMECHANICAL ENGINEERING; LIGHTING; HEATING; WEAPONS; BLASTING
    • F16ENGINEERING ELEMENTS AND UNITS; GENERAL MEASURES FOR PRODUCING AND MAINTAINING EFFECTIVE FUNCTIONING OF MACHINES OR INSTALLATIONS; THERMAL INSULATION IN GENERAL
    • F16KVALVES; TAPS; COCKS; ACTUATING-FLOATS; DEVICES FOR VENTING OR AERATING
    • F16K51/00Other details not peculiar to particular types of valves or cut-off apparatus
    • BPERFORMING OPERATIONS; TRANSPORTING
    • B01PHYSICAL OR CHEMICAL PROCESSES OR APPARATUS IN GENERAL
    • B01JCHEMICAL OR PHYSICAL PROCESSES, e.g. CATALYSIS OR COLLOID CHEMISTRY; THEIR RELEVANT APPARATUS
    • B01J2219/00Chemical, physical or physico-chemical processes in general; Their relevant apparatus
    • B01J2219/02Apparatus characterised by their chemically-resistant properties
    • B01J2219/0204Apparatus characterised by their chemically-resistant properties comprising coatings on the surfaces in direct contact with the reactive components
    • B01J2219/0213Apparatus characterised by their chemically-resistant properties comprising coatings on the surfaces in direct contact with the reactive components of enamel

Landscapes

  • Engineering & Computer Science (AREA)
  • General Engineering & Computer Science (AREA)
  • Mechanical Engineering (AREA)
  • Lift Valve (AREA)
  • Physical Or Chemical Processes And Apparatus (AREA)
  • Indication Of The Valve Opening Or Closing Status (AREA)

Abstract

【課題】とりわけ釉薬被覆型の新品または既存の化学反応装置のための上方に向かう開口部型の排出用集合体であり、
【解決手段】排出のための出口用孔部の下部に、扁平環状パッキン状の取り替え可能な台座用部材(11)が具えてあり、同部材の上方部分が、弁の頭部(10)の台座になり、完全流出用傾斜部になっている少なくとも1の切欠き部(21)を有する。本発明は、とりわけ釉薬被覆型化学反応装置の製造者と利用者に関わる。
【選択図】図1

Description

本発明は、特に釉薬をかけた化学反応装置のための上方開口部付き型のゲート弁を有する排出用集合体に関する。
本発明の特徴は、閉鎖時の密閉性および開口時の完全流出を提供するゲート弁の頭部用扁平台座を取り囲む2の平面を含むことにある。本発明は、新品と既存のいずれにも、すべての反応装置の出口に取り付けられる。
本発明が対象としている反応装置の型では、排出用集合体の弁の可動要素の頭部は、排出用集合体が開放の上方位置にあるとき、出口区間を開放するために、排出孔の排出用スペース内に嵌め込まれている。
通常、閉鎖状態では、この頭部は、例えばポリテトラフルオロエチレンのような、化学的に抵抗力のある合成物質製台座に乗っている。
したがって、従来の技術では、この台座は、軸受と保持用周縁肩部になっている環状基部と管状体の密閉用部材の上部に形成されている。この密閉用部材は、その上部において、密閉用集合体の可動要素の台座になり、その下部において、排出孔部の管状突出部に対する密閉用面になる。管状部は、排出孔部の排出用管部内に挿入されている。同管状部は、排出孔部の排出用管部内に挿入されている。同管状部は、排出用管部の直径に合わせてあり、その肩部によって進入停止状に保持されている。
この台座兼密閉用管状部材は、そのもう一つの面で、排出用集合体の本体のフランジ状上方縁部に対して密閉状にぴったり付いている。
この従来の技術には、重要な欠点が幾つもある。
第一の欠点は、台座と排出用管部との間に位置している間隙に存在する製品の沈着に結びついている。それは、反応装置の相次ぐ2種の製品の交互使用による汚染の原因になる。事実、台座兼密閉用部材と排出用管部との嵌め合わせは完全でなく、同台座と排出孔部の排出用管部の内側側面との間のわずかな空間の中に、進行中の反応の製品が侵入するからである。
このわずかな量は、それに接することがほぼ不可能であって、清掃と消毒用製品の侵入が困難と言うよりも不可能にしているので、残留するこの液体は、2種の製品の相次ぐ2種の反応の相互汚染源になって、それは食品産業と医薬工業では望ましくないことどころか、危険でさえある。
更に、この間隙に閉じ込められている製品が結晶すれば、ゲート弁を分解するときに大きな困難をもたらして、その結果、釉薬被覆を破壊する著しい危険性がある。
本発明は、この主要欠点を排除することを目的としている。
本発明の第一の利点は、平滑で間隙が無いことによる相互汚染の完全な欠如に関しており、清掃と消毒をする上で接触することが困難な隠れた残留量の欠如に繋がる汚染が存在しないことにある。
他方では、本発明による排出用集合体は、排出用管部による出口または分厚いフランジ型の出口のいずれにしても、その構造の特性に関係なく、標準化の一般規定に応える出口をもった、新新品と既存のいずれにも、流通しているどの型の反応装置にも取りつかれる。
下方の機械的集合体内で、台座を完全な流出と弁の可動要素に応じて取り替えるだけであり、台座が完全な流出式であるので、それによって貯留区域が無くなって、それに関連する問題と結果、とりわけ汚染および/または分解を困難にし、釉薬の破壊の明らかな危険をもたらす製品の結晶化に繋がる問題と結果が排除される。
更に、そしてもちろん、本発明は、この排出用集合体を新品の反応装置に取り付けられる。対応する弁の頭部の形状に適応する密閉用台座を予定するだけで済む。
要約すると、本発明は、完全な流出、死角区域の欠如、清掃と分解の容易さおよびとりわけ釉薬付きのどのような型の反応装置にも取り付けられる累積利点を提供する。
本発明のその他の特性と利点は、添付図を参照しながらなされている記述である、以後の詳細な記述を読むことによって明らかになるだろう。
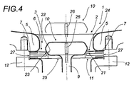
全体的縦断面図であり、その上部は、2の変形態様に関する2の半断面図に関しており、この図は、単一画面に、本発明による化学反応装置のための排出用集合体の2の実例を示している。 典型的管状部を有する化学反応装置の場合における本発明による排出用集合体の可動要素と台座のレベルにおける垂直断面図である。 典型的管状部を有する化学反応装置の場合における本発明による排出用集合体の可動要素と台座のレベルにおける垂直断面図である。 分厚いフランジ型の化学反応装置の場合の本発明による排出用集合体の可動要素と台座のレベルにおける垂直断面図である。 分厚いフランジ型の化学反応装置の場合の本発明による排出用集合体の可動要素と台座のレベルにおける垂直断面図である。 本発明による排出用集合体に装備できる台座と密閉用部材の諸変形態様の概略的横断面図である。 本発明による排出用集合体に装備できる台座と密閉用部材の諸変形態様の概略的横断面図である。 本発明による排出用集合体に装備できる台座と密閉用部材の諸変形態様の概略的横断面図である。 本発明による排出用集合体に装備できる台座と密閉用部材の諸変形態様の概略的横断面図である。 本発明による排出用集合体に装備できる台座と密閉用部材の諸変形態様の概略的横断面図である。 本発明による排出用集合体に装備できる台座と密閉用部材の諸変形態様の概略的横断面図である。 本発明による排出用集合体に装備できる台座と密閉用部材の諸変形態様の概略的横断面図である。 本発明による排出用集合体に装備できる台座と密閉用部材の諸変形態様の概略的横断面図である。
化学反応装置、とりわけ釉薬被覆型化学反応装置は、排出用すなわち空にするための孔部2を有する底部1を含んでおり、同排出孔部は、下方に向かって排出用円筒形導管3(図1)が続いており、同導管は、長い場合、排出用管状部4(図2と図3)、もっと短い場合、分厚いフランジの導管5(図4と図5)と呼ばれており、排出用管状部の前額面または分厚いフランジ5の前額面であり得る前額面7を形成している環状折り返し部で画定されている出口の外方孔部6で、外方に向かって口を開けている。
便宜上、今後、この折り返し部4またはこの分厚いフランジ5の端部を出口の孔構造体と呼ぶことにする。
出口の外方孔部6は、ロッド9と頭部10からなっている可動弁8で塞がっている。
台座兼完全流出用取り外し可能部材11は、前額面7に密閉のために当てはめてあり、管状部4状変形態様または分厚いフランジの導管5状変形態様に当たる同出口を画定するが、後ほどみられるように、機械的取付け、次いで締めつけによって出口の外方孔部6にぴったり付く。
取り替え可能な部材11は、図示の実施態様では、密閉および弁の頭部10の台座、そして製品の完全流出に役立っている、分厚いことが好ましい扁平な環状パッキンである。同部材11は、化学的に不活性で抵抗力のある、例えばPTFEの略号で知られているポリテトラフルオロエチレン製である。
例えば一般的な取り付け用フランジの形状の支承用部材12は、台座11を、例えばボルト付き機械的取付け用部材を介して締めつけるために、出口の環状折り返し部の前額面7との間にサンドイッチ状に挟み付け、それによって固定と押さえつけを行なって、外部に対する密閉性が得られる。
支承用部材12はまた、排出用集合体の機械本体13の固定も、できるようにしている。支承用部材12は、この機械本体13の一部をなしており、その中に排出用集合体が嵌合されている。同集合体は、側方主出口15を有する排出室14、そして場合によっては技術用側方接触部16、ならびに下方に、パッキン箱18を具えたゲート弁のロッド9の密閉案内17を包含している。
弁は、下方に、機械的にいろいろな形状を呈し得る作動用装置20に続いている。図1に、開放になる高い位置と、台座に密閉状に支承することによる閉鎖の低位置間になる、弁の手動による装置を示した。
本発明は、この型の機械的集合体すなわち作動装置に限定されていない。本発明は、既存の化学反応装置の場合、単に交換用取り付けで、新規排出用集合体を取り付けることができる。
台座用部材11は、その上部に、凹部状または切欠き状の構造が配置してあり、下方で中央部に集中していて、接触すると、弁の頭部10と密閉に役立っており、および完全流出に役立っている。
この切欠きは、例えば円錐形の単純または二重傾斜部付きで、内1の傾斜部は巾が狭く、内側の縁部は密閉用であり、完全流出用のもっと巾広く、最初の傾斜部を同心円的に囲んでいる。この2の傾斜部の傾斜度が異なっており、内側の縁部の傾斜部は中庸であり、もう一つの傾斜部はもっとゆるい。
この実例では、円錐形の切欠き21を指しており、その一部は、弁の頭部10がその基部に有する、対応する支承用円錐形表面と共働して、台座用部材11の円錐形受容用面21の対応する部分上において、閉鎖状態で密閉を行なう。
もっと特別に、円錐形切欠き面21は、まず、密閉のために、弁の頭部10の対応する支承用円錐形表面22と共働する円錐形肩部23で、外方に向かって中央部から形成されている同心円の円錐形二重傾斜部になる切欠き部である。その次に、製品の完全流出を可能にする、肩部よりもゆるい傾斜を有する円錐形傾斜部24のことを指す。この傾斜部は、肩部23の周縁から始まっており、そして例えば出口の孔部6の内方周縁部の近く、または周縁部まで延びている。
もちろん、円錐形切欠き部21に合わせてある部材11は、製品の排出用通路としての円形中央開口部を画定している。
ここで、円錐形切欠き部21が、開口部25と同心円で、単なる傾斜部であり得ることをはっきりさせることが妥当だろう。
部材11は、もっぱら扁平で分厚く、従来の技術のような中央部に延長部を全然有しない。
この後で見られるように、変形態様によっては保護用縁部が存在し得る。
反応装置のいろいろな型の出口における本発明の多数の適用の可能性を示すために、図1から図5までに、既存の化学反応装置の出口の構造の2の主要型を示した。すなわち、典型的管状部を有する反応装置の出口および分厚いフランジ5を有する出口である。
1の場合では、排出用管状部を形成している管路4は、比較的長いが、もう一つの場合では、明らかにもっと短い。分厚いフランジ5の変形態様であるからである。
1の変形態様では、弁の頭部10が反応装置の管状部内でできるだけ多くの場所を占めるように、同頭部をもっと高くする。そのために、上方端部の表面は、閉鎖状態では、反応装置の底部1と同一レベルに達する。
例えば温度センサー26が、弁の頭部10の中、好ましいことにその上方端部の近くに配置してある。同センサーは、下方に淀んでいる量および排出用孔部のレベルにおける製品の温度だけに限らず、反応装置の底部1のレベルにおける温度を知ることができる。
図6から図13までは、台座の部材11のいろいろな変形態様を示している。
どの変形態様も、開口部25のように、排出時に、製品の通行と完全流出のための円形中央開口部を有する。
それは、化学的に抵抗力のある半硬質の扁平環状部材11のことであり、同部材は、例えば、より密度の高い下方と上方の環状区域、あるいは付け加え、または同時押出した弾力性のより低い物質製の区域の各主要面のそれぞれに、強化された周縁を有する。この諸環状区域は、変形態様に応じて、多かれ少なかれ厚さが異なる。同諸環状区域は、反応装置の出口のフランジの前額面7、または反応装置の出口の外方孔部6を縁取る周縁折り返し部と支承用部材12で、担持面になることによって、組込みパッキンになる。環状部材11からなる扁平パッキンを締めつけるこの2のフランジの締めつけ取り付けによる機械的拘束は、同部材の固定と密閉性を保証することを可能にしている。
この担持面は、例えば金属製の外方環状骨組み27の形であり得る。台座用部材の上面と下面の周縁に具えた、組込みまたは取り替え可能な2の扁平パッキン28と29であり得る。
諸変形態様のそれぞれは、その上面に形成してある円錐形凹部21を有しており、同凹部の円錐形肩部23状中央下方部は、弁の密閉のため台座の役割をする。この中央部は、完全流出のために傾斜がもっとゆるい円錐形傾斜部24に取り囲まれている。
この台座用部材11の内側の構造は、いろいろあり得る。
同部材は、いろいろな形状の環状リングの形の金属製芯部30、31を含むことができ、または図示のような環状部材32、または図8と図10の変形態様における33のように挿入材無しの中身のつまった部材であり得る。
変形態様間に他の相違が存在している。
下面は、縁の膨らみによる突出内方縁部34(図7)または35(図8)を含み得る。
その他の変形態様(図11と図12)は、突出していないが、37のようなのど部で画定されている下方縁部36を有する。
図13に示した最後の変形態様は、拡張されている芯部を有する台座に特に関する。同変形態様は、金属製紡炎周縁環状部38を含んでおり、同周縁環状部は、上方に向かって、拡張部になる肩状の上方縁部39で延長されている。この紡炎冠状部38は、火災の場合に、火炎に直接晒されないように、排出要素の密閉性を維持する時間を延ばすことを目的としている。この金属製冠状部は、例えば上方縁部の金属製周縁帯の形で具体化されており、他のどの変形態様にも存在できる。
この扁平パッキンは、例えば芯部41を有する環状体40状を呈する。
1. 反応装置の底部1
2. 孔部2
3. 排出用円筒形導管3
4. 排出用管状部4
5. 分厚いフランジの導管5
6. 出口の外方孔部6
7. 前額面7
8. 可動弁8
9. ロッド9
10. 頭部10
11. 台座11
12. 支承用部材12
13. 機械本体13
14. 排出室14
15. 側方主出口15
16. 技術用側方接触部16
17. 密閉案内17
18. パッキン箱18
19
20. 作動用装置20
21. 円錐形受容用面21
22. 支承用円錐形表面22
23. 円錐形肩部23
24. 円錐形傾斜部24
25. 開口部25
26. 温度センサー26
27. 外方環状骨組み27
28. 扁平パッキン28と29
29. 扁平パッキン
30. 金属製芯部30、31
31. 金属製芯部
32. 環状部材32
33. 中身のつまった部材33
34. 突出内方縁部34
35. 突出内方縁部35
36. 下方縁部36
37. のど部37
38. 紡炎冠状部38
39. 上方縁部39
40. 環状体40
41. 芯部41

Claims (19)

  1. 本体が、新品または既存の釉薬被覆の化学反応装置の出口用孔部の外方構造体(6)に取り付けておかれる、排出用集合体であり、反応装置の排出用すなわち空にするための可動要素を1回の動作で上方に開けられる頭部(10)付き弁(8)を含むゲート弁を内蔵しており、弁の頭部(10)は、台座用部材(11)上に密閉のために下方に向かって支承するために移動して出口用孔部(6)を閉鎖し、前額面(7)になる出口用孔部(6)の構造体の下面と、排出用集合体の本体の上面が扁平であり、および取り替え可能な台座用部材(11)の凹部状形状の少なくとも1の平面と密閉のために接触するために適応する形状を有する弁の頭部(10)の下方部分と、閉鎖状態において接触する中央切欠き部になっている、少なくとも1の傾斜部で、上方部分が、下方に向かって集中する凹部状の形状を有する排出用中央開口部(25)を有する扁平環状パッキンの形による密閉と完全流出のための取り替え可能な台座用部材(11)が、出口用孔部の構造体の前額面(7)と、排出用集合体の本体の上方部分との間の締めつけ用機械的集合による接近、取付けおよび締めつけによる密閉のための取付けと保持がなされ、このようにしてこの単一の唯一の取り替え可能な台座用部材(11)によって、完全な密閉状態の閉鎖と、化学反応装置の排出すなわち空にする時に、製品の沈着区域を生じないで完全流出の開放を可能にしていることを特徴としている排出用集合体。
  2. 取り替え可能な台座用部材(11)になる扁平環状パッキンが扁平な分厚いパッキンであることを特徴とする、請求項1による排出用集合体。
  3. 凹部を有する扁平パッキンの形状が、中央開口部に向かうその周縁の傾斜部が二重であり、第1の傾斜部が完全流出を確立するためであり、第2の傾斜部が密閉のための閉鎖を確立するためであることを特徴とする、請求項1または2による排出用集合体。
  4. 取り替え可能な台座用部材(11)の切欠き部が円錐形であることを特徴とする、請求項1、2または3のいずれか1の請求項による集合体。
  5. 取り替え可能な台座用部材(11)の円錐形切欠き部が、中央開口部(25)と同心円の連続的2の円錐形傾斜部を有する円錐形形状を有し、肩部になるその第1の傾斜部(23)が中央開口部(25)の内方を画定し、第2の傾斜部(24)が第1の傾斜部を同心円的に取り囲むことを特徴とする、前記請求項による集合体。
  6. 中央開口部(25)を内側で画定している第1の円錐形傾斜部(23)の傾斜度が第2の円錐形傾斜部(24)の傾斜度よりも大きいが、巾がもっと狭いことを特徴とする、前記請求項による集合体。
  7. 取り替え可能な台座用部材(11)の円錐形切欠き部の形状と、弁の頭部(10)の下方周縁部間の密閉のための接触区域が狭いことを特徴とする、前記請求項のいずれか1の請求項による集合体。
  8. 円錐形の二重傾斜部が、密閉のための接触で弁の頭部(10)の下方部分を受ける中央開口部(25)の上方縁部になる円錐形中央肩部(23)からなっており、この円錐形中央肩部(23)がもっとゆるい傾斜度の円錐形形状に同心円的に取り囲まれていて、完全流出用傾斜部を形成しているいことを特徴とする、請求項5による集合体。
  9. 台座兼完全流出用部材(11)が、内方環状骨組みを有することを特徴とする、請求項1による排出用集合体。
  10. 台座兼完全流出用部材(11)が、上方と下方の面のそれぞれに一つずつ、強化区域または周縁環状部材の形で、外方環状骨組み(27)を有することを特徴とする、請求項1または5による排出用集合体。
  11. 排出用集合体の部材(11)になる環状パッキンが、排出用集合体の本体(13)のフランジ状上方部分(12)によって、排出用外方孔部(6)の内側縁部に、密閉のために押しつけられることを特徴とする、請求項3による排出用集合体。
  12. 排出用集合体の弁の可動要素の頭部(10)が、円筒形部分によって、上方に延長されていることを特徴とする、請求項1による排出用集合体。
  13. 頭部(10)の上方部分が、温度センサー(23)を内蔵していることを特徴とする、請求項12による排出用集合体。
  14. 排出用集合体の弁の可動要素の頭部(10)が閉鎖状態にあるとき、円筒形状上方部分が、上方において、タンクの底部とほぼ同一レベルになる額部で終っていることを特徴とする、請求項11または12による排出用集合体。
  15. 排出用集合体の弁の可動要素の頭部(10)がその基部に、円錐形面(22)を有しており、同円錐形面で、台座用部材(11)上に密閉のために来ることを特徴とする、請求項1による排出用集合体。
  16. 取り替え可能な台座用部材(11)が、火災の場合に、排出用要素の密閉性の維持期間を延ばすことを目的としている紡炎金属製周縁冠(38)を有することを特徴とする、請求項1による排出用集合体。
  17. 紡炎金属製周縁冠(38)が、肩部の縁部(39)で上方に向かって延びていることを特徴とする、請求項1または16による排出用集合体。
  18. 排出用集合体が、管状部(4)付き出口を有する反応装置に適用されることを特徴とする、前記請求項のいずれか1の請求項による排出用集合体。
  19. 分厚いフランジ付き出口を有する反応装置に適用されることを特徴とする、前記請求項1ないし17のいずれか1の請求項による排出用集合体。
JP2009550303A 2007-02-21 2008-02-21 上薬で被覆された化学反応装置のための貯留区域無し扁平台座付きで上方開口部を有する排出用集合体 Active JP5417661B2 (ja)

Applications Claiming Priority (3)

Application Number Priority Date Filing Date Title
FR0701223A FR2912798B1 (fr) 2007-02-21 2007-02-21 Ensemble de vidange a ouverture vers le haut et siege plat sans zones de retention pour reacteur chimique.
FR07/01223 2007-02-21
PCT/FR2008/000225 WO2008122710A2 (fr) 2007-02-21 2008-02-21 Ensemble de vidange a ouverture vers le haut et a siege plat sans zones de retention pour reacteur chimique emaille

Publications (2)

Publication Number Publication Date
JP2010519476A true JP2010519476A (ja) 2010-06-03
JP5417661B2 JP5417661B2 (ja) 2014-02-19

Family

ID=38542002

Family Applications (1)

Application Number Title Priority Date Filing Date
JP2009550303A Active JP5417661B2 (ja) 2007-02-21 2008-02-21 上薬で被覆された化学反応装置のための貯留区域無し扁平台座付きで上方開口部を有する排出用集合体

Country Status (8)

Country Link
US (1) US8088339B2 (ja)
EP (1) EP2118537B1 (ja)
JP (1) JP5417661B2 (ja)
CN (1) CN101636608B (ja)
ES (1) ES2633268T3 (ja)
FR (1) FR2912798B1 (ja)
HU (1) HUE033020T2 (ja)
WO (1) WO2008122710A2 (ja)

Cited By (2)

* Cited by examiner, † Cited by third party
Publication number Priority date Publication date Assignee Title
JP2015117072A (ja) * 2013-11-18 2015-06-25 株式会社神鋼環境ソリューション 排出弁
CN104806770A (zh) * 2015-04-15 2015-07-29 南通晨光石墨设备有限公司 一种石墨反应釜釜底顶底阀结构

Families Citing this family (4)

* Cited by examiner, † Cited by third party
Publication number Priority date Publication date Assignee Title
US9694732B2 (en) * 2013-03-14 2017-07-04 Marshall Excelsior Co. Double flanged off-set valve assembly
DE102016000081A1 (de) * 2016-01-07 2017-07-13 Richter Chemie-Technik Gmbh Bodenarmatur eines mobilen Tanks
DE102017117910A1 (de) * 2017-08-07 2019-02-07 Gemü Gebr. Müller Apparatebau Gmbh & Co. Kommanditgesellschaft Absperrkörper für ein Fluidventil und Verfahren zur Herstellung eines Absperrkörpers
CN108905917A (zh) * 2018-07-04 2018-11-30 刘伟 一种热能利用率高的化工反应釜

Citations (5)

* Cited by examiner, † Cited by third party
Publication number Priority date Publication date Assignee Title
JPH058141U (ja) * 1991-07-17 1993-02-05 神鋼パンテツク株式会社 容器底排出弁用弁座
JPH0719342A (ja) * 1993-06-29 1995-01-20 Nippon Pillar Packing Co Ltd ガスケット
JPH09183487A (ja) * 1995-12-28 1997-07-15 Shinko Pantec Co Ltd 容器用の排出弁
JPH109151A (ja) * 1996-06-26 1998-01-13 Nok Corp 逆止弁付ピストン
JP2002031019A (ja) * 2000-07-19 2002-01-31 Mitsubishi Motors Corp 燃料噴射弁

Family Cites Families (18)

* Cited by examiner, † Cited by third party
Publication number Priority date Publication date Assignee Title
US860865A (en) * 1904-09-03 1907-07-23 John M Hartman Valve-seat.
US2454160A (en) * 1943-08-31 1948-11-16 Pfaudler Co Inc Corrosion resisting valve
US2469109A (en) 1943-12-06 1949-05-03 Pfaudler Co Inc Noncorrodible valve
US3030068A (en) * 1959-11-10 1962-04-17 Hills Mccanna Co Ball valve
US3177887A (en) * 1960-10-26 1965-04-13 Hills Mccanna Co Ball valve having heat destructible seal
US3379410A (en) * 1965-03-11 1968-04-23 Acf Ind Inc Valve having seat seal and venting means
US3380706A (en) * 1965-06-21 1968-04-30 Balon Corp Ball valve with reinforced seals
IT7920556U1 (it) * 1979-01-22 1980-07-22 Tycon Spa Terminale per sonda, per apparecchi smaltati atto a misurare la temperatura e a rilevare possibili danneggiamenti dello smalto.
US4359204A (en) * 1980-11-06 1982-11-16 General Motors Corporation Rod operated valve
US4457491A (en) * 1982-12-09 1984-07-03 Egc Enterprises Incorp. Extreme-temperature sealing device and annular seal therefor
US4649949A (en) * 1986-03-05 1987-03-17 Keystone International, Inc. Fireproof valve assembly and seal element for use therein
US4822570A (en) * 1986-12-01 1989-04-18 De Dietrich (Usa), Inc. Thermal sensing apparatus in outlet nozzle
US5069423A (en) * 1990-06-21 1991-12-03 The Pfaudler Companies, Inc. Valve for clean chemical reactor
US7389792B2 (en) * 1998-12-24 2008-06-24 Nl Technologies, Ltd. Dip tube valve assembly
US6491283B2 (en) * 2000-03-09 2002-12-10 Nl Technologies, Ltd. Sanitary drain valve design
FR2812369B1 (fr) 2000-07-28 2003-06-06 Dietrich & Cie De Siege de vanne comprenant des electrodes notamment pour dispositif de controle de type "email-test"
FR2820486B1 (fr) 2001-02-02 2003-04-04 Dietrich & Cie De Organe de fermeture d'une vanne comportant un logement interieur pour une sonde permettant l'extraction de celle-ci sans demontage
US6664572B2 (en) * 2001-07-23 2003-12-16 Hp&T Products, Inc. Valve seal assemblies and methods

Patent Citations (5)

* Cited by examiner, † Cited by third party
Publication number Priority date Publication date Assignee Title
JPH058141U (ja) * 1991-07-17 1993-02-05 神鋼パンテツク株式会社 容器底排出弁用弁座
JPH0719342A (ja) * 1993-06-29 1995-01-20 Nippon Pillar Packing Co Ltd ガスケット
JPH09183487A (ja) * 1995-12-28 1997-07-15 Shinko Pantec Co Ltd 容器用の排出弁
JPH109151A (ja) * 1996-06-26 1998-01-13 Nok Corp 逆止弁付ピストン
JP2002031019A (ja) * 2000-07-19 2002-01-31 Mitsubishi Motors Corp 燃料噴射弁

Cited By (2)

* Cited by examiner, † Cited by third party
Publication number Priority date Publication date Assignee Title
JP2015117072A (ja) * 2013-11-18 2015-06-25 株式会社神鋼環境ソリューション 排出弁
CN104806770A (zh) * 2015-04-15 2015-07-29 南通晨光石墨设备有限公司 一种石墨反应釜釜底顶底阀结构

Also Published As

Publication number Publication date
HUE033020T2 (en) 2017-11-28
WO2008122710A8 (fr) 2009-09-03
CN101636608A (zh) 2010-01-27
US20100166617A1 (en) 2010-07-01
CN101636608B (zh) 2011-07-27
US8088339B2 (en) 2012-01-03
ES2633268T3 (es) 2017-09-20
JP5417661B2 (ja) 2014-02-19
FR2912798A1 (fr) 2008-08-22
EP2118537B1 (fr) 2017-06-28
EP2118537A2 (fr) 2009-11-18
FR2912798B1 (fr) 2012-12-21
WO2008122710A3 (fr) 2009-01-29
WO2008122710A2 (fr) 2008-10-16
WO2008122710A4 (fr) 2009-03-19

Similar Documents

Publication Publication Date Title
JP5417661B2 (ja) 上薬で被覆された化学反応装置のための貯留区域無し扁平台座付きで上方開口部を有する排出用集合体
EP1265696B1 (en) Plural conduit replaceable outer support structure for radial flow system
RU2004122085A (ru) Клапан для аэрозольного порошка
WO2003021139B1 (en) Pressure-activated flexible valve
KR20010071438A (ko) 에어로졸 분말 밸브
RU2003132170A (ru) Бутылочная крышка с однонаправленным вентилем
MY136246A (en) Apparatus for mixing, drying and coating pulverulent, granular or shaped loose material in a fluidized bed and method of producing supported catalysts using such an apparatus
KR960706435A (ko) 부정 조작 방지 스트립을 구비한 스냅식 플라스틱 뚜껑 및 그 제조 방법(plastic snap closure with a warranty seal and method for its production)
US5289938A (en) Rim structure for metal container
US6427881B1 (en) Edge seal closure
RU2416557C2 (ru) Устройство укупорочного средства для банок
JPS59500961A (ja) 容器蓋
JP2022529851A (ja) 補助蓋を備える調理容器用蓋
US11426023B2 (en) Beverage brewing apparatus
EA016756B1 (ru) Закрывающее устройство для бутылок и, в частности, для бутылок с алкогольными напитками или со спиртосодержащими жидкостями, обеспечивающее очевидность несанкционированного открытия бутылки
RU2007121747A (ru) Укупорочное приспособление для консервной банки
RU2005135874A (ru) Разливочная крышка
US4415095A (en) Lid and seal for jar
ITMI940895A1 (it) Camera di filtrazione con sistema di bloccaggio rapido e senza tiranteria di settori filtranti
JPH0675062A (ja) 時計装置
JP2010036908A (ja) キャップ
JP2015117072A (ja) 排出弁
RU2529013C2 (ru) Закрывающее устройство, содержащее источник света
JP7509418B2 (ja) 粉体充填装置
US831271A (en) Closure device for jars, bottles, and similar vessels.

Legal Events

Date Code Title Description
A621 Written request for application examination

Free format text: JAPANESE INTERMEDIATE CODE: A621

Effective date: 20101217

A521 Request for written amendment filed

Free format text: JAPANESE INTERMEDIATE CODE: A523

Effective date: 20111213

A977 Report on retrieval

Free format text: JAPANESE INTERMEDIATE CODE: A971007

Effective date: 20120809

A131 Notification of reasons for refusal

Free format text: JAPANESE INTERMEDIATE CODE: A131

Effective date: 20120821

A601 Written request for extension of time

Free format text: JAPANESE INTERMEDIATE CODE: A601

Effective date: 20121120

A602 Written permission of extension of time

Free format text: JAPANESE INTERMEDIATE CODE: A602

Effective date: 20121128

A601 Written request for extension of time

Free format text: JAPANESE INTERMEDIATE CODE: A601

Effective date: 20121220

A602 Written permission of extension of time

Free format text: JAPANESE INTERMEDIATE CODE: A602

Effective date: 20121228

A601 Written request for extension of time

Free format text: JAPANESE INTERMEDIATE CODE: A601

Effective date: 20130121

A602 Written permission of extension of time

Free format text: JAPANESE INTERMEDIATE CODE: A602

Effective date: 20130131

A521 Request for written amendment filed

Free format text: JAPANESE INTERMEDIATE CODE: A523

Effective date: 20130219

TRDD Decision of grant or rejection written
A01 Written decision to grant a patent or to grant a registration (utility model)

Free format text: JAPANESE INTERMEDIATE CODE: A01

Effective date: 20130903

A61 First payment of annual fees (during grant procedure)

Free format text: JAPANESE INTERMEDIATE CODE: A61

Effective date: 20130926

A61 First payment of annual fees (during grant procedure)

Free format text: JAPANESE INTERMEDIATE CODE: A61

Effective date: 20131101

R150 Certificate of patent or registration of utility model

Ref document number: 5417661

Country of ref document: JP

Free format text: JAPANESE INTERMEDIATE CODE: R150

Free format text: JAPANESE INTERMEDIATE CODE: R150

R250 Receipt of annual fees

Free format text: JAPANESE INTERMEDIATE CODE: R250

R250 Receipt of annual fees

Free format text: JAPANESE INTERMEDIATE CODE: R250

R250 Receipt of annual fees

Free format text: JAPANESE INTERMEDIATE CODE: R250

R250 Receipt of annual fees

Free format text: JAPANESE INTERMEDIATE CODE: R250

R250 Receipt of annual fees

Free format text: JAPANESE INTERMEDIATE CODE: R250

R250 Receipt of annual fees

Free format text: JAPANESE INTERMEDIATE CODE: R250

R250 Receipt of annual fees

Free format text: JAPANESE INTERMEDIATE CODE: R250

R250 Receipt of annual fees

Free format text: JAPANESE INTERMEDIATE CODE: R250

R250 Receipt of annual fees

Free format text: JAPANESE INTERMEDIATE CODE: R250

R250 Receipt of annual fees

Free format text: JAPANESE INTERMEDIATE CODE: R250