JP2010200418A - アウタロータ型の回転電機 - Google Patents
アウタロータ型の回転電機 Download PDFInfo
- Publication number
- JP2010200418A JP2010200418A JP2009039982A JP2009039982A JP2010200418A JP 2010200418 A JP2010200418 A JP 2010200418A JP 2009039982 A JP2009039982 A JP 2009039982A JP 2009039982 A JP2009039982 A JP 2009039982A JP 2010200418 A JP2010200418 A JP 2010200418A
- Authority
- JP
- Japan
- Prior art keywords
- type rotating
- sensor
- outer rotor
- rotor type
- stator core
- Prior art date
- Legal status (The legal status is an assumption and is not a legal conclusion. Google has not performed a legal analysis and makes no representation as to the accuracy of the status listed.)
- Pending
Links
- 239000000758 substrate Substances 0.000 claims abstract description 39
- 239000000696 magnetic material Substances 0.000 claims abstract description 7
- 239000000463 material Substances 0.000 claims abstract description 5
- 238000001514 detection method Methods 0.000 claims description 46
- 230000002093 peripheral effect Effects 0.000 claims description 34
- 230000004907 flux Effects 0.000 claims description 30
- WABPQHHGFIMREM-UHFFFAOYSA-N lead(0) Chemical compound [Pb] WABPQHHGFIMREM-UHFFFAOYSA-N 0.000 description 28
- 238000003780 insertion Methods 0.000 description 22
- 230000037431 insertion Effects 0.000 description 22
- 239000000945 filler Substances 0.000 description 15
- 239000012212 insulator Substances 0.000 description 11
- 239000007858 starting material Substances 0.000 description 11
- 230000001681 protective effect Effects 0.000 description 5
- 230000004323 axial length Effects 0.000 description 4
- NJPPVKZQTLUDBO-UHFFFAOYSA-N novaluron Chemical compound C1=C(Cl)C(OC(F)(F)C(OC(F)(F)F)F)=CC=C1NC(=O)NC(=O)C1=C(F)C=CC=C1F NJPPVKZQTLUDBO-UHFFFAOYSA-N 0.000 description 4
- 238000005476 soldering Methods 0.000 description 3
- 238000010030 laminating Methods 0.000 description 2
- 230000007423 decrease Effects 0.000 description 1
- 230000018109 developmental process Effects 0.000 description 1
- 238000010586 diagram Methods 0.000 description 1
- 239000000446 fuel Substances 0.000 description 1
- 239000011810 insulating material Substances 0.000 description 1
- 239000002184 metal Substances 0.000 description 1
- 239000011347 resin Substances 0.000 description 1
- 229920005989 resin Polymers 0.000 description 1
- 238000007789 sealing Methods 0.000 description 1
- 229910000679 solder Inorganic materials 0.000 description 1
- 239000002966 varnish Substances 0.000 description 1
- 238000004804 winding Methods 0.000 description 1
Images
Landscapes
- Brushless Motors (AREA)
Abstract
【課題】充填材がセンサケース内で偏在することなく、均一に充填された検出センサを備えたアウタロータ型の回転電機を提供することにある。
【解決手段】アウタロータ型の回転電機は、磁性材料からなるステータコアと、ステータコアの周りを回転する碗形状のロータと、ロータの内周面に配設された複数のマグネットと、ロータの回転位置を検出する検出センサとを有し、検出センサは、複数のホールICと、複数のホールICが取り付けられる扇形状のベース部材と、複数のホールICと電気的に接続される扇形状の基板と、基板を収容する扇形状のセンサケースと、センサケース内に充填された充填材とを有し、センサケースに形成された第1の凹部の幅は、ベース部材の幅よりも大きく形成されている。したがって、充填材は、センサケース内で偏在することなく、均一に充填される。
【選択図】図2
【解決手段】アウタロータ型の回転電機は、磁性材料からなるステータコアと、ステータコアの周りを回転する碗形状のロータと、ロータの内周面に配設された複数のマグネットと、ロータの回転位置を検出する検出センサとを有し、検出センサは、複数のホールICと、複数のホールICが取り付けられる扇形状のベース部材と、複数のホールICと電気的に接続される扇形状の基板と、基板を収容する扇形状のセンサケースと、センサケース内に充填された充填材とを有し、センサケースに形成された第1の凹部の幅は、ベース部材の幅よりも大きく形成されている。したがって、充填材は、センサケース内で偏在することなく、均一に充填される。
【選択図】図2
Description
本発明は、自動二輪車のエンジン等に設けられるアウタロータ型の回転電機の技術分野に関するものである。
一般に、自動二輪車のエンジンに設けられるアウタロータ型の回転電機は、エンジンの外壁上に固定されるステータコアと、エンジンのクランクシャフトに固定され、ステータコアの周りを回転するロータと、ステータコアに固定され、ロータの回転位置を検出する検出センサとを有している。ステータコアは、磁性材料からなる複数のコアプレートを積層形成したものであって、円環状に形成された本体部と、本体部から放射状に突出形成されたT字形状のティース部とを有しており、ステータコアのティース部には、コイルが巻装されている。ロータは、磁性材料からなる有底円筒状に形成されており、複数のマグネットを有している。検出センサは、複数のホールICと、ホールICが接続された基板とを有している。
基板には、リード線が接続されており、リード線は制御部と電気的に接続される。したがって、ホールICと制御部は、電気的に接続される。そのため、ホールICが、ロータに配設されたマグネットの磁束の方向の切り替わりを検出すると、制御部は、信号を生成する。この信号に基づいて、制御部はエンジンを所定のタイミングで点火し、コイルに電流を供給する。
各ホールICは、ケース(センサケース)に収容され、ケース内に充填された充填材によって、保護される。そのため、ホールICは、外部からの影響を受けることなく、マグネットの磁束の方向の切り替わりを検出する(例えば、特許文献1参照)。
マグネットの磁束の方向を検出するホールICを保護するために、前記従来のセンサケース内には、充填材が充填される。センサケース内に充填材を充填する際、センサケース内には、ホールICが配置されている。充填材が流れる流路が、センサケース内に配置されたホールICによって阻害され、センサケース内で偏在していた。
そのため、充填材がセンサケース内で偏在することなく、均一に充填された検出センサが望まれており、この課題を解決する検出センサを備えたアウタロータ型の回転電機を提供することにある。
請求項1に記載された発明は、略T字状に形成された複数のティース部を備えた磁性材料からなるステータコアと、ステータコアのティース部に巻装されたコイルと、ステータコアの周りを回転する碗形状のロータと、ロータの内周面に磁極を交互にして配設された複数のマグネットと、ステータコア上に配置され、ロータの回転位置を検出する検出センサとを有するアウタロータ型の回転電機において、検出センサは、略扇状に形成されたセンサケースと、センサケース内に収容されるセンサユニットと、センサケース内に充填され、センサユニットを保護する充填材とを有しており、センサユニットは、マグネットの磁束の方向の切り替わりを検出する複数のホールICと、複数のホールICが取り付けられる略扇形状のベース部材と、ベース部材に固定され、複数のホールICと電気的に接続される略扇形状の基板とを有し、センサケースは、センサケースの底面に向かって開口形成された第1の凹部と、第1の凹部の底面に向かって開口形成され、複数のホールICを収容する第2の凹部とを有し、第1の凹部の幅は、ベース部材の幅よりも大きく形成されていることを特徴とするアウタロータ型の回転電機である。
請求項2に記載された発明は、請求項1に記載されたアウタロータ型の回転電機において、第1の凹部は、センサケースの底面に対して傾斜して形成された壁部を有しており、第1の凹部の開口面積は、第2の凹部の開口面積よりも大きく形成されていることを特徴とすることを特徴とするアウタロータ型の回転電機である。
請求項3に記載された発明は、請求項1または請求項2のいずれか1項に記載されたアウタロータ型の回転電機において、ベース部材は、略扇状に形成された本体部と、本体部から突出形成されたホルダ片とを有し、ホールICは、複数のリードを有しており、ホルダ片には、複数のリードを、各々、収容する複数の第1の溝部が形成されていることを特徴とするアウタロータ型の回転電機である。
請求項4に記載された発明は、請求項1から請求項3のいずれか1項に記載されたアウタロータ型の回転電機において、第2の凹部の壁面には、複数の第2の溝部が形成されていることを特徴とするアウタロータ型の回転電機である。
請求項5に記載された発明は、請求項1から請求項4のいずれか1項に記載されたアウタロータ型の回転電機において、基板の略中央には貫通孔が形成されており、ベース部材の略中央に半円形状の切り欠き部が形成されており、貫通孔は、切り欠き部と重なって配置されることを特徴とするアウタロータ型の回転電機である。
本発明によると、センサケースの底面部に開口形成された第1の凹部の幅は、ベース部材の幅よりも大きく形成されている。したがって、充填材は、ベース部材によって阻害されることなく、第2の凹部内に充填される。
次に、本発明のアウタロータ型の回転電機を、始動発電機に適用した場合について、図1から図20に基づいて説明する。
図1は、本発明の実施形態における始動発電機1の斜視図であり、図2は、図1の始動発電機1のA−A断面図、図3は、始動発電機1の正面図である。図1、図2、図3に示されるように、始動発電機1は、車両のエンジン(不図示)に固定されるステータコア2と、エンジンのクランクシャフト(不図示)に固定されるロータ4と、ロータ4の回転位置を検出する略扇形状の検出センサ6とを有している。
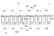
ステータコア2は、磁性材料からなる複数のコアプレートを積層し形成されたものであって、円環状に形成された本体部2aと、T字状に形成された18個のティース部2bを有しており、ティース部2bには、インシュレータ110が装着されている。また、ティース部2bには、インシュレータ110を介して、コイル10が巻装されている。
エンジンのクランクシャフトに固定されるロータ4は、磁性材料からなる碗形状のヨーク12と、ヨーク12の底面部12aに固定されたボス部14とを有しており、ロータ4の内周面部4aには、12個のマグネット16が磁極を交互にして配設されている。
不図示の制御部は、ステータコア2に巻装されたコイル10に電流を供給し、ロータ4を回転させる。ロータ4は、不図示のエンジンのクランクシャフトに連結されているため、ロータ4が回転すると、ロータ4に連結されたエンジンのクランクシャフトは回転し、エンジンは、始動される。
エンジンの始動後、ロータ4がエンジンの回転に伴ってステータコア2の周りを回転すると、ステータコア2に巻装されたコイル10には、誘導起電力が生じる。なお、マグネット16は、マグネットカバー18によって保護されており、マグネットカバー18は、ロータ4の底面部4bに形成されたエンボス4dによってカシメ固定されている。
検出センサ6は、検出センサ6の内周面部6aから突出形成された支持部62と、検出センサ6の外周面部6bから突出形成された支持部64とを有している。支持部62は、不図示の螺子等によって、ステータコア2の本体部2aに固定され、支持部64は、不図示のボルト等によって、車両のエンジンに固定される。すなわち、検出センサ6は、支持部62を介してステータコア2の本体部2aに固定され、支持部64を介して車両のエンジンに固定される。
検出センサ6は、検出センサ6の外側の底面部6dに突出形成された脚部80a、80b、80c、80dを有し、脚部80a、80b、80c、80dは、各々、ホールIC50a、50b、50c、50dを収容する。脚部80a、80b、80c、80dは、各々、ステータコア2のティース部2bの間に配され、ロータ4の内周面部4aに対向して配置される。なお、ホールIC50a、50b、50c、50dは、検出センサ6に注入された充填材150によって保護されている。ロータ4がステータコア2の周りを回転すると、各ホールIC50a、50b、50c、50dは、マグネット16から生じる磁束の方向の切り替わりを検出し、検出センサ6は、ロータ4の回転位置を検出する。ホールIC50a、50b、50c、50dは、ロータ4の内周面部4aに配設されたマグネット16の磁界そのものを検出するため、検出センサ6は、ロータ4の回転位置を正確に検出する。さらに、従来のように、ロータ4のボス部14に、マグネット16を設ける必要がない。そのため、ボス部14の軸長は短縮され、部品点数は削減される。さらに、エンジンが所定のタイミングで点火されるため、エンジンの出力は増加し、燃料の消費は低減する。
また、ホールIC50a、50b、50c、50dは、各々、脚部80a、80b、80c、80dに収容されているため、ステータコア2のティース部2bの間に配される。そのため、各ホールIC50a、50b、50c、50dは、励磁されたコイル10が発生する磁界の影響を受けることはない。したがって、ホールIC50a、50b、50c、50dは、マグネット16から生じる磁束の方向の切り替わりを確実に検出する。
各ホールIC50a、50b、50c、50dは、リード線100aと電気的に接続され、リード線100aは、保護チューブ102aによって被覆されている。同様にして、コイル10は、リード線100bと電気的に接続され、リード線100bは、保護チューブ102bによって被覆されている。保護チューブ102a、102bは、ステータコア2に固定される保持部材130によって保持されている。リード線100a、100bは、保護チューブ102a、102bを介して保持部材130に保持され、ロータ4の外側へ引き出され、制御部と接続される。なお、保持部材130は、平板状の金属板をプレス加工などによって形成されたものであり、ステータコア2に螺入される螺子132によって、ステータコア2に固定されている。
図4はステータコア2の本体部2aから検出センサ6を取り外した状態を示す正面図である。図5は、ステータコアの斜視図であって、図6は、インシュレータの斜視図である。
検出センサ6の外側の底面部6dに突出形成された脚部80a、80b、80c、80dは、検出センサ6の外側の底面部6dから突出形成された基端部82と、基端部82から延出形成された中間部84と、中間部84から延出形成された先端部86とを有している。基端部82の幅は、中間部84の幅よりも大きく形成されており、先端部86の幅は、中間部84の幅と同一に形成されている。また、脚部80a、80b、80c、80dの先端部86は、中間部84の厚さと同一の厚さで形成された厚肉部86aと、厚肉部86aの厚さよりも薄く形成された1対の薄肉部86bとを有している。なお、厚肉部86aは、中間部84の幅よりも狭く形成され、1対の薄肉部86bの間に配されている。
ステータコア2は、円環状に形成された本体部2aと、本体部2aから放射状に突出形成された18個のティース部2bとを有しており、ティース部2bは、平面視T字状に形成されている。ティース部2bには、インシュレータ110が装着される。そのため、コイル10は、インシュレータ110を介して、ティース部2bに巻装されている。なお、ティース部2bに巻装されたコイル10には、ワニス材等が塗布されているため、コイル10は、ティース部2bに確実に固定される。
ティース部2bの先端部3aの両端には、切り欠き部3cが形成されており、ティース部2bの先端部3bの一端には、切り欠き部3cが形成されている。なお、各切り欠き部3cは、互いに対向して配置されている。すなわち、ティース部2bに形成された切り欠き部3cは、4個の受容部140a、140b、140c、140dを形成する。受容部140a、140b、140c、140dには、各々、検出センサ6の脚部80a、80b、80c、80dが挿入される。
なお、ステータコア2の本体部2aには、貫通孔2cが形成されており、貫通孔2cにはボルト(不図示)が挿入される。ボルトは、エンジンのケースに形成されたボルト孔(不図示)に螺入され、ステータコア2は、エンジンのケースに固定される。
脚部80a、80b、80c、80dの中間部84の両端には、リブ84aが形成されており、脚部80a、80b、80c、80dの先端部86には、厚肉部86aと薄肉部86bとが形成されている。脚部80a、80b、80c、80dが、受容部140a、140b、140c、140dに挿入されると、厚肉部86aは、ティース部2bの間に配される。受容部140a、140b、140c、140dの一方の面は、中間部84に形成されたリブ84aに当接し、受容部140a、140b、140c、140dの他方の面は、先端部86に形成された薄肉部86bに当接する。したがって、受容部140a、140b、140c、140dに脚部80a、80b、80c、80dが挿入されると、検出センサ6は、傾倒することはない。
インシュレータ110は、樹脂などの絶縁材料からなる絶縁部材であって、円環状に形成された壁部112と、壁部112の外周面から放射状に突出形成された18個のティース保護部114とを有している。ティース保護部114は、先端部114a、114bと、本体部114cとを有しており、ステータコア2のティース部2bと略同一の形状に形成されている。なお、ティース保護部114の本体部114cには、多数の溝部114dが形成されている。そのため、ステータコア2の各ティース部には、コイル10が均一に巻装される。
また、ティース保護部114の先端部114aの両端には、テーパ形状の切り欠き部116が形成されており、ティース保護部114の先端部114bの一端には、テーパ形状の切り欠き部116が形成されている。先端部114a、114bに形成された切り欠き部116は、互いに対向して配置されている。コイル10は、テーパ形状の切り欠き部116に沿って、各ティース部2bに巻装されるため、作業者は、コイル10を効率よくステータコア2のティース部2bに巻装することができる。また、テーパ形状の切り欠き部116は、先端部114a、114bを補強し、インシュレータ110の剛性は向上する。
インシュレータ110の壁部112の内周面には、平板部115が形成されており、平板部115は、端子120を含んでモールド成形されている。なお、端子120には、ステータコア2に巻装されたコイル10が接続される。
平板部115に固定された端子120は、インシュレータ110の壁部112によって囲繞されているため、ティース部2bに巻装されるコイル10と接触することはない。したがって、コイル10の巻線作業は、自動化される。
図7は、ロータ4の内周面部4aの展開図である。ロータ4の内周面部4aに配設されたマグネット16は、N極に着磁された6個のマグネット16aと、S極に着磁された5個のマグネット16bと、N極に着磁された磁極部160(第1の磁極部)とS極に着磁された磁極部162(第2の磁極部)とを備えた1個のマグネット16c(一のマグネット)とを有している。なお、マグネット16cの磁極部160は、マグネット16cの一端に形成され、ホールIC50aが配置された位置M1と、ホールIC50b、50c、50dが配置された位置M2との間に配される。
また、磁極部162の軸方向の長さは、磁極部160の軸方向の長さよりも充分長く設定されている。本実施の形態において、磁極部162は、磁極部160の軸方向の長さのおよそ8倍の長さを有している。なお、マグネット16cに形成された磁極部162の軸方向の長さは、マグネット16cの磁極部160の軸方向の長さよりも、十分に大きく形成されていれば良い。
ホールIC50aは、ロータ4の開口周縁部4cに近接した位置M1に配置されるため、マグネット16a、16b、16cの一端から生じた磁束の方向の切り替わりを検出する。ホールIC50b、50c、50dは、マグネット16a、16b、16cに対向する位置M2に配置されているため、マグネット16a、16b、16cの中央から生じた磁束の方向の切り替わりを検出する。
図8は、検出センサ6の背面図であり、図9は検出センサ6の背面斜視図である。検出センサ6は、略扇状に形成されており、検出センサ6の外周面部6bには、支持部64が形成され、検出センサ6の内周面部6aには、支持部62とハウジング68とが形成されている。支持部62は、検出センサ6の内周面部6aから突出形成された1対の腕部62a、62bと、1対の腕部62a、62bを連結する連結部62cとを有しており、連結部62cは、螺子などの締結部材によって、ステータコア2の本体部2aに固定される。また、ハウジング68は、腕部62aに向かって開口形成された開口部68aと、脚部80aの延出方向に向かって開口形成された開口部68bと、開口部68aと開口部68bとを繋ぐガイド部68cと、台形状に形成された壁部68dとを有している。なお、ハウジング68に形成されたガイド部68cは、屈曲形成されており、検出センサ6の外側の底面部6dに対して傾斜している。したがって、ホールIC50a、50b、50c、50dと電気的に接続されるリード線100aは、腕部62aを跨いで開口部68aに挿入され、ガイド部68cに沿って開口部68bに案内される。
また、検出センサ6の外側の底面部6dは、検出センサ6の内周面部6aに沿って形成された6個の挿入部72と7個の突出片92a、92bとを有しており、各挿入部72には、開口部68bに案内されたリード線100aが挿入される。なお、挿入部72は、検出センサ6の外側の底面部6dに対してテーパ状に形成された面取り部72bを有している。そのため、リード線100aは、スムーズに挿入部72に挿入される。
検出センサ6の外側の底面部6dに形成された1対の突出片92aは、各々、1個のリブ93を有しており、5個の突出片92bは、各々、2個のリブ93を有している。また、5個の突出片92bは、1対の突出片92aの間に等間隔に配されている。そのため、突出片92a、92bに形成されたリブ93は、互いに向かい合って配置される。各挿入部72に挿入されたリード線100aは、各々、突出片92a、92bの間に配され、リブ93によって押しつぶされる。リード線100aは、突出片92a、92bによって確実に保持されるため、挿入部72から抜け落ちることはない。
図10は、検出センサ6の斜視図であり、検出センサ6に充填される充填材150は取り除かれている。また、図11は、検出センサ6の分解斜視図である。図12は、センサユニット32の分解斜視図であり、図13は、ベース部材42の背面図である。
図10に示されるように、検出センサ6は、略扇状に形成されたセンサケース60と、センサケース60に収容されるセンサユニット32とを有している。センサケース60は、センサユニット32を収容するセンサユニット収容部66を有しており、センサユニット収容部66の内側の底面部66cには、1対の固定部70が突出形成されている。
図11に示されるように、センサユニット32は、略扇状に形成された基板34と、基板34に固定された略扇形状のベース部材42と、ベース部材42に取り付けられた4個のホールIC50a、50b、50c、50dとを有している。なお、基板34には、1対の貫通孔36と、1対の貫通孔39とが形成されており、貫通孔36には、ベース部材42に形成された固定部49が挿入され、貫通孔39には、固定部70が挿入される。これによって、センサユニット32は、センサユニット収容部66内に固定される。
図12に示されるように、基板34は、略扇形状に形成されており、基板34の内周部34aには、6個の貫通孔38が形成されており、基板34の外周部34bには、貫通孔35a、35b、35cが、各々、4個ずつ形成されている。なお、前述したように、基板34に形成された貫通孔36には、ベース部材42に形成された固定部49が挿入され、基板34に形成された貫通孔39には、センサケース60に形成された固定部70が挿入される。
4個のホールIC50a、50b、50c、50dは、各々、マグネット16の磁束の方向の切り替わりを検出するセンサ素子52と、センサ素子52から延出する3本のリード54a、54b、54cとを有している。なお、ホールIC50aの3本のリード54a、54b、54cの長さは、ホールIC50b、50c、50dのリード54a、54b、54cの長さに比べて短い。
図12、図13に示されるように、ベース部材42は、略扇形状の本体部44と、本体部44の一方の平面から突出形成された4個のホルダ片46a、46b、46c、46dと、他方の平面から突出形成された固定部49とを有している。ホルダ片46a、46b、46c、46dは、各々、本体部44の一方の平面から突出形成された基端部47aと、基端部47aから延出形成された先端部47bとを有しており、先端部47bの幅は、基端部47aの幅よりも狭く形成されている。なお、各ホルダ片46a、46b、46c、46dには、ホールIC50a、50b、50c、50dが取り付けられる。
ホルダ片46aの先端部47bの長さは、ホルダ片46b、46c、46dの先端部47bの長さよりも短く形成されている。そのため、ホールIC50aは、ホールIC50b、50c、50dが配置された位置よりも、基板34に近接した位置に配される。そのため、図7で示したように、ホールIC50aは、ロータ4の開口周縁部4cに近接した位置M1に配置され、ホールIC50b、50c、50dは、マグネット16a、16b、16cに対向する位置M2に配置される。
さらに、ベース部材42の本体部44は、切り欠き部45a、45b、45cを、各々、4個ずつ有しており、各切り欠き部45a、45b、45cは、基板34に形成された貫通孔35a、35b、35cと重なって配置される。そのため、ホルダ片46a、46b、46c、46dに取り付けられたホールIC50a、50b、50c、50dのリード54a、54b、54cは、ベース部材42に形成された切り欠き部45a、45b、45cを介して、基板34に形成された貫通孔35a、35b、35cに挿入される。
なお、各ホルダ片46a、46b、46c、46dには、切り欠き部45a、45b、45cに対応する溝部48a、48b、48cが形成されている。したがって、ホールIC50a、50b、50c、50dのリード54a、54b、54cは、各々、溝部48a、48b、48c内に埋没されるため、ホルダ片46a、46b、46c、46dは、大型化することはない。
また、基板34の内周部34aに形成された6個の貫通孔38は、各々、距離L1だけ離れて等間隔に配置されている。同様にして、センサケース60に形成された6個の挿入部72は、各々、距離L1だけ離れて等間隔に形成されている。そのため、センサユニット収容部66にセンサユニット32が固定されると、基板34に形成された貫通孔38は、各々、挿入部72と重なって配置される。
そして、前述したように、挿入部72には、リード線100aが挿入される。挿入部72は、センサユニット収容部66の内側の底面部66cから、わずかに盛り上がって形成された隆起部72aを有している。そのため、挿入部72と基板34との間には、わずかの隙間しか形成されない。したがって、検出センサ6の外側の底面部6dから挿入部72に挿入されたリード線100aは、基盤34に形成された貫通孔38に挿入される。
基板34に形成された貫通孔35a、35b、35cに挿入された各リード54a、54b、54cは、ハンダにて基板34と電気的に接続される。同様にして基板34に形成された貫通孔38に挿入されたリード線100aは、ハンダにて基板34と電気的に接続される。すなわち、リード54a、54b、54cと、リード線100aとは、各々、電気的に接続される。
なお、前述したように、センサユニット32は、ベース部材44に形成された固定部49と、センサケース60に形成された固定部70とによって、センサケース60に固定されている。すなわち、作業者は、センサユニット32を支持することなく、リード54a、54b、54cと基板34とのハンダ付け作業および、リード線100aと基板34とのハンダ付け作業を行うことができる。
センサユニット収容部66の内側の底面部66cには、1対の台座部74が形成されている。センサユニット収容部66に配される基板34の外周部34bは、ベース部材42の本体部44によって支持され、基板34の内周部34aは、台座部74によって支持される。台座部74の高さは、ベース部材42の本体部44の厚さと等しいため、センサユニット32は、センサユニット収容部66内に安定して配置される。
さらに、図1に示されるように、リード線100aは、挿入部72を介して基板34に接続される。そのため、リード線100aと基板34との接続部101は、センサユニット収容部66の内側の底面部66cと基板34との間に配されない。したがって、基板34は、センサユニット収容部66の内側の底面部66cに近接して配置される。すなわち、ホールIC50b、50c、50dは、マグネット16の中央に近接して配置され、マグネット16の磁束の方向の切り替わりを確実に検出する。
図14は、センサケース60の正面図であり、図15は、脚部80aの断面図であり、図16は、脚部80b、80c、80dの断面図である。図17は、凹部88の拡大図である。図18は、挿入部72の拡大図であり、図19は、挿入部72の断面図である。
図15、図16に示されるように、センサケース60に形成された脚部80a、80b、80c、80dの基端部82は、各々、凹部88を有しており、中間部84は、各々、凹部90を有している。凹部88は、センサユニット収容部66の内側の底面部66cに向かって開口形成されており、凹部90は、凹部88の底面部88aに向かって開口形成されている。したがって、センサユニット収容部66にセンサユニット32が固定されると、ホールIC50a、50b、50c、50dは、凹部90内に挿入される。なお、凹部88の開口部88bの開口面積は、凹部90の開口部90bの開口面積よりも大きい。そのため、センサユニット収容部66に注入される充填材150は、ベース部材42によって阻害されることなく、凹部90内に注入される。
凹部88の壁部88cは、センサユニット収容部66の内側の底面部66cに対して傾斜して形成されている。そのため、各ホールIC50a、50b、50c、50dは、各々、凹部88の壁部88cに沿って、凹部90内に挿入される。すなわち、作業者は、容易にホールIC50a、50b、50c、50dを、凹部90内に配することができる。
また、図17に示されるように、凹部90には、2個のリブ91aが形成されている。そのため、凹部90内に挿入されたホールIC50a、50b、50c、50dは、所定の位置に配置される。
脚部80a内に形成されたリブ91aの長さは、脚部80b、80c、80d内に形成されたリブ91aの長さよりも長く形成されている。そのため、ホールIC50aを、ロータ4の開口周縁部4cに近接した位置M1上に配置した場合であっても、ホールIC50aは、リブ91aに当接するため、所定の位置に配置される。
前述したように、センサユニット収容部66内には、充填材150が注入される。図17に示されるように、センサユニット収容部66に形成された凹部88は、幅W1を有しており、図13に示されるように、ベース部材42の本体部44は、凹部88の幅W1よりも狭い幅W2を有している。そのため、ホールIC50a、50b、50c、50dが、凹部90内に配されても、凹部88の開口部88bは、ベース部材42の本体部44によって覆われることはない。したがって、センサユニット収容部66に注入される充填材150は、ベース部材42によって阻害されることなく、凹部90内に注入される。
前述したように、リード54a、54b、54cは、ホルダ片46a、46b、46c、46dに形成された溝部48a、48b、48c内に埋没されるため、ホルダ片46a、46b、46c、46dは、大型化しない。さらに、凹部90には、3個の溝部91bが形成されている。したがって、ホルダ片46a、46b、46c、46dは、凹部90を密閉することなく、凹部90内に配置される。そのため、充填材150は、ホルダ片46a、46b、46c、46dによって阻害されることなく、凹部90内に注入される。
図18、図19に示されるように、センサケース60に形成された挿入部72には、6個のリブ73が等間隔に形成されている。そのため、リード線100aは、リブ73によって押し潰されながら、挿入部72に挿入される。リード線100aがリブ73によって押し潰されると、リード線100aは変形し、リブ73の間の隙間に侵入する。そのため、センサユニット収容部66に注入された充填材は、挿入部72を通って、センサケース60の外部へ漏洩することはない。
また、前述したように、リード線100aは、検出センサ6の外側の底面部6dから、挿入部72を介して、基板34に接続される。そのため、リード線100aは、センサユニット収容部66の開口周縁部66aを跨ぐことはない。したがって、充填材150は、リード線100aを伝って、検出センサ6の外部へと漏洩することはない。
さらに、図18、図19に示されるように、リブ73は三角錐状に形成されているため、リード線100aを挿入部72に挿入する際に、リード線100aとリブ73との接触面積は、小さくなる。したがって、作業者は、効率よく、リード線100aを挿入部72に挿入することができる。
また、図12で示したように、ベース部材42の略中央には、半円形状の切り欠き部45dが形成されており、ベース部材42に固定される基板34の略中央には、貫通孔37が形成されている。基板34に形成された貫通孔37は、ベース部材42に形成された切り欠き部45dと重なって配置されるため、センサユニット収容部66の内側の底面部66cは、切り欠き部45dと貫通孔37とを介して、露出している。したがって、センサケース60の内側の底面部66cと、センサユニット32との間に蓄積される空気は、切り欠き部45dに重なって配置された貫通孔37を介して、センサケース60の外部に輩出される。すなわち、センサユニット32とセンサユニット収容部66の内側の底面部66cとの間に空気が溜まらないため、センサユニット32は、充填材150によって、確実に保護される。
図20は、制御部が生成する信号の波形を示す図である。
前述したように、ホールIC50a、50b、50c、50dのリード54a、54b、54cは、基板32を介して、リード線100aと電気的に接続されており、リード線100aは、制御部と電気的に接続している。そのため、ホールIC50a、50b、50c、50dが、マグネット16a、16b、16cから生じた磁束の方向の切り替わりを検出すると、図20に示されるように、制御部は、信号S1、S2、S3、S4を生成する。
すなわち、マグネット16bから生じた磁束を検出していたホールIC50a、50b、50c、50dが、マグネット16aから生じた磁束を検出すると、制御部は、信号S1、S2、S3,S4のレベルをハイに変化させる。また、マグネット16aから生じた磁束を検出していたホールIC50a、50b、50c、50dが、マグネット16bから生じた磁束を検出すると、制御部は、信号S1、S2、S3,S4のレベルをローに変化させる。
また、マグネット16aから生じた磁束を検出していたホールIC50b、50c、50dが、マグネット16cから生じた磁束を検出すると、制御部は、信号S2、S3,S4のレベルをローに変化させる。また、マグネット16cから生じた磁束を検出していたホールIC50b、50c、50dが、マグネット16aから生じた磁束を検出すると、制御部は、信号S2、S3,S4のレベルをハイに変化させる。
しかしながら、ホールIC50aは、ロータ4の開口周縁部4cに近接した位置M1上に配置されるため、マグネット16a、16b、16cの一端から生じた磁束の方向の切り替わりを検出する。また、マグネット16cの一端に形成された磁極部160は、隣接するマグネット16aの磁極と同一のN極で着磁されている。マグネット16aから生じた磁束を検出していたホールIC50aが、マグネット16cから生じた磁束を検出しても、制御部は、信号S1のレベルを変化させない。同様にして、マグネット16cから生じた磁束を検出していたホールIC50aが、マグネット16aから生じた磁束を検出しても、制御部は、信号S1のレベルを変化させない。
すなわち、マグネット16aから生じた磁束を検出していたホールIC50aが、マグネット16cから生じた磁束を検出するタイミングT1と、マグネット16cから生じた磁束を検出していたホールIC50aが、マグネット16aから生じた磁束を検出するタイミングT2との間において、制御部は、信号S1のレベルをローに変化させない。そして、制御部は、タイミングT1とタイミングT2の間で、信号S3のレベルをハイに変化させたタイミングT3に基づいて、エンジンを点火する。
また、本実施の形態である始動発電機1は、三相交流式のブラシレスモータであるため、ホールIC50b、50c、50dは、各々、V相、W相、U相のコイル10と対応して配置される。そのため、制御部は、ホールIC50b、50c、50dがマグネット16の磁束の方向の切り替わりを検出すると、信号S2、S3,S4を生成し、V相、W相、U相のコイル10に対応させる。そして、制御部は、コイル10に対するロータ4の位置を検出し、所定のタイミングで、各相のコイル10へ電流を供給することにより、始動発電機1を駆動する。
1 始動発電機
2 ステータコア
2a 本体部
2b ティース部
2c 貫通孔
3a、3b 先端部
3c 切り欠き部
4 ロータ
4a 内周面部
4b 底面部
4c 開口周縁部
4d エンボス
6 検出センサ
6a 内周面部
6b 外周面部
6d 底面部
10 コイル
12 ヨーク
12a 底面部
14 ボス部
16 マグネット
16a、16b、16c マグネット
18 マグネットカバー
32 センサユニット
34 基板
34a 内周部
34b 外周部
35a、35b、35c 貫通孔
36、37、38、39 貫通孔
42 ベース部材
44 本体部
45a、45b、45c、45d 切り欠き部
46a、46b、46c、46d ホルダ片
47a 基端部
47b 先端部
48a、48b、48c 溝部(第1の溝部)
49 固定部
50a、50b、50c、50d ホールIC
54a、54b、54c リード
60 センサケース
62 支持部
62a、62b 腕部
62c 連結部
64 支持部
66 センサユニット収容部
66a 開口周縁部
66c 底面部
68 ハウジング
68a、68b 開口部
68c ガイド部
68d 壁部
70 固定部
72 挿入部
72a 隆起部
72b 面取り部
73 リブ
74 台座部
80a、80b、80c、80d 脚部
82 基端部
84 中間部
84a リブ
86 先端部
86a 厚肉部
86b 薄肉部
88 凹部(第1の凹部)
88a 底面部
88b 開口部
90 凹部(第2の凹部)
90b 開口部
91a リブ
91b 溝部(第2の溝部)
92a、92b 突出片
93 リブ
100a、100b リード線
101 接続部
102a、102b 保護チューブ
110 インシュレータ
112 壁部
114 ティース保持部
114a、114b 先端部
114c 本体部
114d 溝部
116 切り欠き部
120 端子
130 保持部材
132 螺子
140a、140b、140c、140d 受容部
160、162 磁極部
M1 ホールIC50aが配置された位置
M2 ホールIC50b、50c、50dが配置された位置
S1、S2、S3、S4 信号
Su、Sv、Sw 信号
2 ステータコア
2a 本体部
2b ティース部
2c 貫通孔
3a、3b 先端部
3c 切り欠き部
4 ロータ
4a 内周面部
4b 底面部
4c 開口周縁部
4d エンボス
6 検出センサ
6a 内周面部
6b 外周面部
6d 底面部
10 コイル
12 ヨーク
12a 底面部
14 ボス部
16 マグネット
16a、16b、16c マグネット
18 マグネットカバー
32 センサユニット
34 基板
34a 内周部
34b 外周部
35a、35b、35c 貫通孔
36、37、38、39 貫通孔
42 ベース部材
44 本体部
45a、45b、45c、45d 切り欠き部
46a、46b、46c、46d ホルダ片
47a 基端部
47b 先端部
48a、48b、48c 溝部(第1の溝部)
49 固定部
50a、50b、50c、50d ホールIC
54a、54b、54c リード
60 センサケース
62 支持部
62a、62b 腕部
62c 連結部
64 支持部
66 センサユニット収容部
66a 開口周縁部
66c 底面部
68 ハウジング
68a、68b 開口部
68c ガイド部
68d 壁部
70 固定部
72 挿入部
72a 隆起部
72b 面取り部
73 リブ
74 台座部
80a、80b、80c、80d 脚部
82 基端部
84 中間部
84a リブ
86 先端部
86a 厚肉部
86b 薄肉部
88 凹部(第1の凹部)
88a 底面部
88b 開口部
90 凹部(第2の凹部)
90b 開口部
91a リブ
91b 溝部(第2の溝部)
92a、92b 突出片
93 リブ
100a、100b リード線
101 接続部
102a、102b 保護チューブ
110 インシュレータ
112 壁部
114 ティース保持部
114a、114b 先端部
114c 本体部
114d 溝部
116 切り欠き部
120 端子
130 保持部材
132 螺子
140a、140b、140c、140d 受容部
160、162 磁極部
M1 ホールIC50aが配置された位置
M2 ホールIC50b、50c、50dが配置された位置
S1、S2、S3、S4 信号
Su、Sv、Sw 信号
Claims (5)
- 略T字状に形成された複数のティース部を備えた磁性材料からなるステータコアと、前記ステータコアのティース部に巻装されたコイルと、前記ステータコアの周りを回転する碗形状のロータと、前記ロータの内周面に磁極を交互にして配設された複数のマグネットと、前記ステータコア上に配置され、前記ロータの回転位置を検出する検出センサとを有するアウタロータ型の回転電機において、前記検出センサは、略扇状に形成されたセンサケースと、前記センサケース内に収容されるセンサユニットと、前記センサケース内に充填され、前記センサユニットを保護する充填材とを有しており、前記センサユニットは、前記マグネットの磁束の方向の切り替わりを検出する複数のホールICと、前記複数のホールICが取り付けられる略扇形状のベース部材と、前記ベース部材に固定され、前記複数のホールICと電気的に接続される略扇形状の基板とを有し、前記センサケースは、前記センサケースの底面に向かって開口形成された第1の凹部と、前記第1の凹部の底面に向かって開口形成され、前記複数のホールICを収容する第2の凹部とを有し、前記第1の凹部の幅は、前記ベース部材の幅よりも大きく形成されていることを特徴とするアウタロータ型の回転電機。
- 請求項1に記載されたアウタロータ型の回転電機において、前記第1の凹部は、前記センサケースの底面に対して傾斜して形成された壁部を有しており、前記第1の凹部の開口面積は、前記第2の凹部の開口面積よりも大きく形成されていることを特徴とすることを特徴とするアウタロータ型の回転電機。
- 請求項1または請求項2のいずれか1項に記載されたアウタロータ型の回転電機において、前記ベース部材は、略扇状に形成された本体部と、前記本体部から突出形成されたホルダ片とを有し、前記ホールICは、複数のリードを有しており、前記ホルダ片には、前記複数のリードを、各々、収容する複数の第1の溝部が形成されていることを特徴とするアウタロータ型の回転電機。
- 請求項1から請求項3のいずれか1項に記載されたアウタロータ型の回転電機において、前記第2の凹部の壁面には、複数の第2の溝部が形成されていることを特徴とするアウタロータ型の回転電機。
- 請求項1から請求項4のいずれか1項に記載されたアウタロータ型の回転電機において、前記基板の略中央には貫通孔が形成されており、前記ベース部材の略中央に半円形状の切り欠き部が形成されており、前記貫通孔は、前記切り欠き部と重なって配置されることを特徴とするアウタロータ型の回転電機。
Priority Applications (1)
| Application Number | Priority Date | Filing Date | Title |
|---|---|---|---|
| JP2009039982A JP2010200418A (ja) | 2009-02-23 | 2009-02-23 | アウタロータ型の回転電機 |
Applications Claiming Priority (1)
| Application Number | Priority Date | Filing Date | Title |
|---|---|---|---|
| JP2009039982A JP2010200418A (ja) | 2009-02-23 | 2009-02-23 | アウタロータ型の回転電機 |
Publications (1)
| Publication Number | Publication Date |
|---|---|
| JP2010200418A true JP2010200418A (ja) | 2010-09-09 |
Family
ID=42824546
Family Applications (1)
| Application Number | Title | Priority Date | Filing Date |
|---|---|---|---|
| JP2009039982A Pending JP2010200418A (ja) | 2009-02-23 | 2009-02-23 | アウタロータ型の回転電機 |
Country Status (1)
| Country | Link |
|---|---|
| JP (1) | JP2010200418A (ja) |
Cited By (6)
| Publication number | Priority date | Publication date | Assignee | Title |
|---|---|---|---|---|
| JP2012056488A (ja) * | 2010-09-10 | 2012-03-22 | Aisin Seiki Co Ltd | ハイブリッド車両用駆動装置およびケース |
| WO2012169156A1 (ja) * | 2011-06-06 | 2012-12-13 | 株式会社デンソー | 内燃機関制御用信号出力機能付き回転機、及び内燃機関制御用信号出力機能付き始動モータ |
| WO2013051241A1 (ja) | 2011-10-07 | 2013-04-11 | カルソニックカンセイ株式会社 | バッテリの充電率推定装置及び充電率推定方法 |
| FR3011145A1 (fr) * | 2013-09-20 | 2015-03-27 | Valeo Equip Electr Moteur | Dispositif de determination d'une position angulaire et/ou de la vitesse de rotation d'un rotor d'un moteur electrique polyphase et moteur electrique correspondant |
| US9425672B2 (en) | 2012-01-26 | 2016-08-23 | Asmo Co., Ltd. | Motor and brushless motor |
| CN112821589A (zh) * | 2019-11-15 | 2021-05-18 | 日本电产株式会社 | 定子及电机 |
-
2009
- 2009-02-23 JP JP2009039982A patent/JP2010200418A/ja active Pending
Cited By (14)
| Publication number | Priority date | Publication date | Assignee | Title |
|---|---|---|---|---|
| JP2012056488A (ja) * | 2010-09-10 | 2012-03-22 | Aisin Seiki Co Ltd | ハイブリッド車両用駆動装置およびケース |
| US8803385B2 (en) | 2010-09-10 | 2014-08-12 | Aisin Seiki Kabushiki Kaisha | Drive device for hybrid vehicle and case for the same |
| WO2012169156A1 (ja) * | 2011-06-06 | 2012-12-13 | 株式会社デンソー | 内燃機関制御用信号出力機能付き回転機、及び内燃機関制御用信号出力機能付き始動モータ |
| CN103597717B (zh) * | 2011-06-06 | 2016-05-18 | 株式会社电装 | 具有内燃机控制信号输出功能的旋转电机和起动马达 |
| JP2013102667A (ja) * | 2011-06-06 | 2013-05-23 | Denso Corp | 内燃機関制御用信号出力機能付き回転機、及び内燃機関制御用信号出力機能付き始動モータ |
| CN103597717A (zh) * | 2011-06-06 | 2014-02-19 | 株式会社电装 | 具有内燃机控制信号输出功能的旋转电机和具有内燃机控制信号输出功能的起动马达 |
| US8918300B2 (en) | 2011-10-07 | 2014-12-23 | Calsonic Kansei Corporation | Apparatus and method for battery state of charge estimation |
| WO2013051241A1 (ja) | 2011-10-07 | 2013-04-11 | カルソニックカンセイ株式会社 | バッテリの充電率推定装置及び充電率推定方法 |
| US9425672B2 (en) | 2012-01-26 | 2016-08-23 | Asmo Co., Ltd. | Motor and brushless motor |
| FR3011145A1 (fr) * | 2013-09-20 | 2015-03-27 | Valeo Equip Electr Moteur | Dispositif de determination d'une position angulaire et/ou de la vitesse de rotation d'un rotor d'un moteur electrique polyphase et moteur electrique correspondant |
| WO2015040299A3 (fr) * | 2013-09-20 | 2015-09-03 | Valeo Equipements Electriques Moteur | Moteur electrique polyphase equipe d'un dispositif de determination de la position angulaire et/ou de la vitesse de rotation d'un rotor dudit moteur |
| CN105556806A (zh) * | 2013-09-20 | 2016-05-04 | 法雷奥电机设备公司 | 设置有用于确定多相电马达转子的角位置和/或旋转速度的装置的多相电马达 |
| US10103605B2 (en) | 2013-09-20 | 2018-10-16 | Valeo Equipements Electriques Moteur | Polyphase electric motor with device for determination of angular position and/or speed of rotation of rotor of the motor |
| CN112821589A (zh) * | 2019-11-15 | 2021-05-18 | 日本电产株式会社 | 定子及电机 |
Similar Documents
| Publication | Publication Date | Title |
|---|---|---|
| JP2010200421A (ja) | アウタロータ型の回転電機 | |
| CN107210660B (zh) | 内燃机用旋转电机及其定子 | |
| JP5668182B1 (ja) | センサ、およびそれを用いた回転電機 | |
| JP2010200418A (ja) | アウタロータ型の回転電機 | |
| JP5567377B2 (ja) | 電動ウォーターポンプ | |
| JP5563805B2 (ja) | センサケース及びそれを用いる回転電機 | |
| JP6720032B2 (ja) | 回転電機 | |
| JP2019097261A (ja) | ブラシレスモータ | |
| CN101814814B (zh) | 起动发电机 | |
| JP2010200420A (ja) | アウタロータ型の回転電機 | |
| JP2010200417A (ja) | アウタロータ型の回転電機 | |
| JP2016077074A (ja) | 位置検出センサおよび回転電機 | |
| JP5452177B2 (ja) | 回転電機 | |
| JP6033022B2 (ja) | 始動発電機のセンサケースの取付構造 | |
| JP5523058B2 (ja) | ステータ用インシュレータ及びそれを用いる回転電機 | |
| JP2010200419A (ja) | アウタロータ型の回転電機 | |
| JP2012244855A (ja) | 始動発電機 | |
| JP2016077081A (ja) | 回転電機 | |
| JP6032340B2 (ja) | 内燃機関用回転電機 | |
| JP2022052069A (ja) | 回転電機 | |
| WO2009048181A1 (en) | Motor | |
| JP4910661B2 (ja) | 回転電機のステータおよびこのステータを備えた回転電機 | |
| JP5501731B2 (ja) | センサケース及びそれを用いた回転電機 | |
| JP2017070072A (ja) | アウターロータ型回転電機 | |
| JP7323388B2 (ja) | 位置検出センサユニット及び位置検出センサユニットの製造方法 |