JP2010171111A - ラック間通路遮へい構造 - Google Patents

ラック間通路遮へい構造 Download PDF

Info

Publication number
JP2010171111A
JP2010171111A JP2009010689A JP2009010689A JP2010171111A JP 2010171111 A JP2010171111 A JP 2010171111A JP 2009010689 A JP2009010689 A JP 2009010689A JP 2009010689 A JP2009010689 A JP 2009010689A JP 2010171111 A JP2010171111 A JP 2010171111A
Authority
JP
Japan
Prior art keywords
rack
device mounting
inter
rail member
door
Prior art date
Legal status (The legal status is an assumption and is not a legal conclusion. Google has not performed a legal analysis and makes no representation as to the accuracy of the status listed.)
Granted
Application number
JP2009010689A
Other languages
English (en)
Other versions
JP5258047B2 (ja
Inventor
Tsuneo Uekusa
常雄 植草
Manabu Kinoshita
学 木下
Naoki Ishitani
直樹 石谷
Makoto Takahashi
誠 高橋
Hiroshi Doi
博 土肥
Jun Kondo
潤 近藤
Yakotake Hashimoto
弥古武 橋本
Tomohiro Katayama
友広 片山
Masaki Shinozaki
正樹 篠崎
Keisuke Mitamura
恵介 三田村
Current Assignee (The listed assignees may be inaccurate. Google has not performed a legal analysis and makes no representation or warranty as to the accuracy of the list.)
NTT Facilities Inc
Nitto Kogyo Corp
Original Assignee
NTT Facilities Inc
Nitto Kogyo Corp
Priority date (The priority date is an assumption and is not a legal conclusion. Google has not performed a legal analysis and makes no representation as to the accuracy of the date listed.)
Filing date
Publication date
Application filed by NTT Facilities Inc, Nitto Kogyo Corp filed Critical NTT Facilities Inc
Priority to JP2009010689A priority Critical patent/JP5258047B2/ja
Publication of JP2010171111A publication Critical patent/JP2010171111A/ja
Application granted granted Critical
Publication of JP5258047B2 publication Critical patent/JP5258047B2/ja
Active legal-status Critical Current
Anticipated expiration legal-status Critical

Links

Images

Landscapes

  • Special Wing (AREA)
  • Support Devices For Sliding Doors (AREA)

Abstract

【課題】ラック間通路の出入り口となる入口扉部の上方等に、照明器具、火災報知機や、監視カメラのようなセキュリティ機器等を高い自由度で取り付けることができるラック間通路遮へい構造を提供する。
【解決手段】複数のラック1からなるラック列を対向配置し、ラック列間に形成されるラック間通路2に、天井部と入口扉部4と背面部を設けて形成されたラック間通路遮へい構造である。入口扉部4は、扉板6とこれを水平方向へスライド可能に吊下げ支持するレール部材5とから構成されるが、本発明ではこのレール部材5に、機器取付用溝部を形成し、その内部に挿入したナットを利用することによって、機器取付板19をネジ止め可能とした。
【選択図】図1

Description

本発明は複数のラックをラック列として対向配置し、該ラック列間に設けられた空間を閉空間とする、床部と天井部と入口扉部と該入口扉部に対向する位置に設置された背面部とを有するラック間通路遮へい構造に関するものである。
近年、企業のIT利用の急激な増加に伴って、ITの電力問題が顕在化している。特に、サーバールーム・データセンターの熱対策に伴う電力消費量が深刻化しつつある。データセンター全体の電力コストの内訳を見ると、サーバーを冷却するための空調コストが、IT機器の電力コストと同じくらいの比率を占めている。すなわち、ITの電力問題解消のためには、サーバー自体の省電力化と共に、空調効率の改善が求められている。
サーバーの冷却効率を向上する技術としては、複数のラックを冷却空気吸入口が対峙するように向かい合わせ2列に配置し、更に当該ラック列間に形成される空間の上部に天井部を設け、空間の前面および背面に扉や壁を設け、対面したラック列間に密閉空間を形成し、床部に設けた冷気吹き出し口から冷気を吹き出す構造が知られている(特許文献1)。当該密閉空間のうち、少なくとも前面部は入口扉部として構成し、内部のラックへのアクセスを可能とすることが一般的である。
このような密閉空間の天井部分には、照明器具、火災報知機や、監視カメラのようなセキュリティ機器等を配置する必要がある。しかし天井部は強度のないパネルにより構成されているのが普通であるため、これらの機器類を直接取付けることは強度的に困難であり、また配線の都合上からも好ましくない。
そこでこれらの機器をラック自体の天井部に設置することが考えられるが、ラックの内部にはサーバー等の電子機器が装填されているために取付け位置が制限されるという問題があった。特に監視カメラのようなセキュリティ機器は、ラック間通路の出入り口となる入口扉部の上方等に設置することが望まれるが、ラックの天井部に設置した場合には死角が発生するおそれがあった。
特開2004−184070号公報
本発明の目的は前記した従来の問題を解決し、ラック列間に形成されるラック間通路の出入り口となる入口扉部の上方等に、照明器具、火災報知機や、監視カメラのようなセキュリティ機器等を高い自由度で取り付けることができ、またラック列間の幅方向の中央部にもこれらの機器を取り付けることができるラック間通路遮へい構造を提供することである。
上記の課題を解決するためになされた本発明は、複数のラックからなるラック列を対向配置し、該ラック列間に形成されるラック間通路に、天井部と入口扉部と該入口扉部に対向する位置に設置された背面部を設けて形成されたラック間通路遮へい構造であって、入口扉部又は前記背面部に連続した機器取付部を形成したことを特徴とするものである。なお請求項2に記載のように、入口扉部は、扉板と該扉板を水平方向へスライド可能に吊下げ支持するレール部材とから構成され、このレール部材に、連続した機器取付部が形成されていることが好ましく、また請求項3に記載のように、連続した機器取付部は、レール部材の側面に複数段形成されていることが好ましく、また請求項4に記載のように、連続した機器取付部を機器取付用溝部として形成し、該機器取付用溝部には機器取付板をネジ止めするための固定部材を挿入可能としたことが好ましい。
本発明のラック間通路遮へい構造は、入口扉部又は該入口扉部に対向する位置に設置された背面部に連続した機器取付部を形成したものであるから、照明器具、火災報知機、監視カメラなどの各種の機器をラック間通路の出入り口となる入口扉部の上方等に容易に取り付けることができる。また連続した機器取付部に沿って機器の取付位置を変えることができるので、ラック列間の幅方向の中央部にもこれらの機器を取り付けることができる。このため監視カメラのようなセキュリティ機器を取り付けた場合にも、死角を生じないようにすることができる。また請求項2のように、扉板を水平方向へスライド可能に吊下げ支持するレール部材の側面に、連続した機器取付部を形成したものとすれば、レール部材と機器取付部を兼用することができ生産コストを削減できるものである。なお請求項3のように、連続した機器取付部をレール部材の側面に複数段形成しておけば、重量のある機器を安定した状態で固定することができる。さらに、請求項4のように、連続した機器取付部を機器取付用溝部として形成し、該機器取付用溝部には、機器取付板をネジ止めするための固定部材を挿入可能としたものとすれば、機器取付用溝部に沿って機器の取付位置を容易に変えることができるものである。
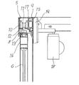
本発明の実施形態を示す全体斜視図である。 要部の断面図である。 図2の側面図である。 要部の斜視図である。 レール部材を示す斜視図である。
以下に本発明の好ましい実施形態を説明する。
図1に示すように、データセンター等においては、室内に複数のラック1を隣接配置したラック列が対向配置されており、これらのラック列間に形成されるラック間通路2に、床部3と天井部と入口扉部4と該入口扉部4に対向する位置に設置された背面部を設けてラック間通路遮へい構造が形成されている。
なお図1では内部構造を示すために、天井部と前記背面部は図示されていない。従来と同様、ラック間通路2には床下から冷却用空気が供給されており、ラック1はラック間通路2に面する前面側から冷却用空気を吸引してサーバー等の内部機器を冷却し、背面側から排熱する構造となっている。ただし場合によっては、ラック間通路2を排熱通路とし、ラック搭載機器の向きを逆方向として閉空間に暖められた空気排出すると共に、冷気を閉空間の外部より吸気する構造としてもよい。この場合において閉空間の排熱は天井部にダクトを形成し外部に排出するか、若しくはラック列を形成するラック間に冷却装置を設け閉空間を冷却して外部に排出するものとする。
また、該入口扉部に対向する位置に設置された背面部は後述する入口扉部4と同様に、レール部材5と扉板6とより構成されるものとしてもよいが、扉板を有しない壁部材からなるものとしてもよい。また、入口扉部4は扉板6に替えて冷気を遮るカーテン部材等であってもよい。
入口扉部4は、ラック列端部の天井付近に水平に設けたレール部材5から扉板6をスライド可能に吊下げ支持した吊り下げスライド式の扉である。レール部材5は1本レールとしてもよいが、この実施形態では左右2本のレール部材5の中央部を、ゴム等からなる制振部材7により接続している。
図2に示すように、レール部材5は下向きの溝を有する吊下用溝部8と、連続した機器取付部として側面向きの機器取付用溝部9とが一体成形された押し出し成形品であり、取付金具によってラック1の天井面に固定されている。この吊下用溝部8の内部には左右にローラ10を備えた走行部材11が挿入されており、走行部材11から下方に延びる支持部材12の下部に扉板6の固定部材13が設けられている。支持部材12はねじ等によって高さ調節可能な構造を備え、扉板6の吊り下げ高さの調節が行えるようになっている。なお扉板6は、透明アクリル板やアルミニウム板等で構成された扉パネルと扉パネルの外枠を形成する外枠フレーム14とから構成され、外枠フレーム14の上部に上記した固定部材13がねじ止めにより固定されている。
機器取付用溝部9は、レール部材5の側面に複数段形成されていて、図2に示す実施形態では機器取付用溝部9の上部と下部とにそれぞれ形成されている。これら上下の機器取付用溝部9の内部には、機器取付板をネジ止めするための固定部材であるナット15,16がそれぞれレール部材5の長手方向に移動できるように挿入されている。これらナット15,16の少なくとも一方を、頭部が四角形のスライドナットとすることもできる。なお、頭部が長方形のスライドナットを使用すれば、上下の機器取付用溝部9の中間部よりスライドナットを挿入し、取り付ける機器の数に応じてスライドナットの数を増減させることができる。同様な目的で上下の機器取付用溝部9の一部にナット挿入用の切り欠き等を形成してもよい。また、上側の機器取付用溝部9のナット15が接触するおそれのない奥の部分を配線用スペース17とすることもできる。なお、上記同様の構造は下側の機器取付用溝部9に形成してもよい。また、上下の機器取付用溝部9の間に形成される空間は、レール部材5をラック1の上面に取り付けるためのレール取付用ねじの先端部の収納空間とすることができる。
照明器具、火災報知機、セキュリティ機器等の機器18は、機器取付板19の表面にねじ止め等の適宜の手段で固着されており、この機器取付板19の上下左右の4箇所に形成されたねじ孔から取付ねじ20を挿入し、前記ナット15,16と螺合させる。これによって機器18が固着された機器取付板19をレール部材5の側面に取り付けることができる。取付ねじ20を緩めた状態であればナット15,16を機器取付用溝部9の内部で自由にスライドさせることができる。また取付ねじ20を締め付ければ、機器18が固着された機器取付板19をレール部材5の側面の任意の位置に固定することができる。
図4、図5に示すように、レール部材5の下部の機器取付用溝部9は吊下用溝部8よりも下方に位置させてあり、さらにその先端部21を下方に垂下させてある。これによって機器18が監視カメラのような比較的重量のある機器である場合にも、比較的広い面積でレール部材5と機器取付板19とを当接させることができ、機器18の重量による回転モーメントを受け止め、安定した状態で固定することが可能となっている。
なお上記の実施形態では機器取付用溝部9の内部にナット15,16を挿入したが、機器取付用溝部9の内側のボルトの頭部を収納し、ボルトの軸部を機器取付用溝部9から側方に突出させ、機器取付板19をナットで固定するようにしてもよい。また機器取付用溝部9は必ずしもレール部材5の内側の側面に形成しなくてもよく、レール部材5の下面、上面あるいは外側の側面に形成することもできる。特にレール部材の上面や外側の側面に機器取付用溝部を形成する場合には、機器は当然にラック間通路2の外側に設置されるものであり、監視カメラを設置した場合にはラックの外側の様子も監視することができる。またそれらの場合には機器取付板19の形状を変更すべきことはいうまでもない。
また上記実施形態では、連続した機器取付部をレール部材5に設けた機器取付用溝部として説明したが、該機器取付部は多数の孔部が連続して形成されていて、ねじ止めやファスナー等の手段により機器を取り付ける構造としてもよい。また、機器取付用の溝部にカーテン部材を取り付けるものとしてもよい。さらに、連続した機器取付部は扉を吊り下げるレール部材に設けられている必要はなく、例えば該入口扉部4に対向する位置に設置された背面部が扉板を有しない壁部材であり、該壁部材に連続した機器取付部を備えたレール等を設置したものとしてもよい。
ラック列間に形成した閉空間に床下空調で冷却された冷気を供給する構造としたが、ラック搭載機器の向きを逆方向として閉空間に暖められた空気排出し、冷気を閉空間の外部より吸気する構造としてもよい。この場合において閉空間の排熱は天井部にダクトを形成し外部に排出するか、若しくはラック列を形成するラック間に冷却装置を設け閉空間を冷却して外部に排出するものとする。
このように構成された本発明のラック間通路遮へい構造によれば、入口扉部又は背面部に連続した機器取付部を形成し照明器具、火災報知機、セキュリティ機器等の機器18をラック間通路2の出入り口となる入口扉部の上方等に容易に取り付けることができる。特に入口扉部4の扉板6をスライド可能に吊下げ支持するレール部材5に機器取付用溝部9を形成すれば、レール部材と機器取付部を兼用することができ生産コストを削減できるものである。また機器の取付位置を、機器取付用溝部9に沿って変えることもできる。このため監視カメラのようなセキュリティ機器を取り付ける場合にも、死角を生じないように取付け位置を決定することができる。
1 ラック
2 ラック間通路
3 床部
4 入口扉部
5 レール部材
6 扉板
7 制振部材
8 吊下用溝部
9 機器取付用溝部
10 ローラ
11 走行部材
12 支持部材
13 固定部材
14 外枠フレーム
15 ナット
16 ナット
17 配線用スペース
18 機器
19 機器取付板
20 取付ねじ
21 先端部

Claims (4)

  1. 複数のラックからなるラック列を対向配置し、
    該ラック列間に形成されるラック間通路に、天井部と入口扉部と該入口扉部に対向する位置に設置された背面部を設けて形成されたラック間通路遮へい構造であって、入口扉部又は前記背面部に連続した機器取付部を形成したことを特徴とするラック間通路遮へい構造。
  2. 入口扉部は、扉板と該扉板を水平方向へスライド可能に吊下げ支持するレール部材とから構成され、このレール部材に、連続した機器取付部を形成したことを特徴とする請求項1に記載のラック間通路遮へい構造。
  3. 連続した機器取付部は、レール部材の側面に複数段形成されていることを特徴とする請求項2に記載のラック間通路遮へい構造。
  4. 連続した機器取付部を機器取付用溝部として形成し、該機器取付用溝部には、機器取付板をネジ止めするための固定部材を挿入可能としたことを特徴とする請求項1〜3に記載のラック間通路遮へい構造。
JP2009010689A 2009-01-21 2009-01-21 ラック間通路遮へい構造 Active JP5258047B2 (ja)

Priority Applications (1)

Application Number Priority Date Filing Date Title
JP2009010689A JP5258047B2 (ja) 2009-01-21 2009-01-21 ラック間通路遮へい構造

Applications Claiming Priority (1)

Application Number Priority Date Filing Date Title
JP2009010689A JP5258047B2 (ja) 2009-01-21 2009-01-21 ラック間通路遮へい構造

Publications (2)

Publication Number Publication Date
JP2010171111A true JP2010171111A (ja) 2010-08-05
JP5258047B2 JP5258047B2 (ja) 2013-08-07

Family

ID=42702975

Family Applications (1)

Application Number Title Priority Date Filing Date
JP2009010689A Active JP5258047B2 (ja) 2009-01-21 2009-01-21 ラック間通路遮へい構造

Country Status (1)

Country Link
JP (1) JP5258047B2 (ja)

Cited By (1)

* Cited by examiner, † Cited by third party
Publication number Priority date Publication date Assignee Title
JP2016000164A (ja) * 2014-06-12 2016-01-07 日比谷総合設備株式会社 サーバー室の扉体構造

Citations (8)

* Cited by examiner, † Cited by third party
Publication number Priority date Publication date Assignee Title
JPS5820071U (ja) * 1981-07-31 1983-02-07 松下電工株式会社 上吊り扉のレ−ル構造
JPH035587A (ja) * 1989-06-02 1991-01-11 Soritsuku:Kk 自動ドア用連結金具
JPH10252354A (ja) * 1997-03-13 1998-09-22 Kuriki Seisakusho:Kk 引戸および吊戸の兼用ユニット
JPH10266682A (ja) * 1997-03-26 1998-10-06 Kuriki Seisakusho:Kk レール用幕板
JP2001153111A (ja) * 1999-11-29 2001-06-08 Sorikku:Kk 部品取着用板状体
JP2003041847A (ja) * 2001-07-31 2003-02-13 Itoki Crebio Corp レール部材及びそれを用いた棚用オプション取付装置
JP2006090125A (ja) * 2005-11-15 2006-04-06 Tsuuden:Kk 自動ドアパネルへの安全センサ取付方法及び装置
JP2007316989A (ja) * 2006-05-26 2007-12-06 Softbank Idc Corp 機器収容ラックおよび機器収容室用空調システム

Patent Citations (8)

* Cited by examiner, † Cited by third party
Publication number Priority date Publication date Assignee Title
JPS5820071U (ja) * 1981-07-31 1983-02-07 松下電工株式会社 上吊り扉のレ−ル構造
JPH035587A (ja) * 1989-06-02 1991-01-11 Soritsuku:Kk 自動ドア用連結金具
JPH10252354A (ja) * 1997-03-13 1998-09-22 Kuriki Seisakusho:Kk 引戸および吊戸の兼用ユニット
JPH10266682A (ja) * 1997-03-26 1998-10-06 Kuriki Seisakusho:Kk レール用幕板
JP2001153111A (ja) * 1999-11-29 2001-06-08 Sorikku:Kk 部品取着用板状体
JP2003041847A (ja) * 2001-07-31 2003-02-13 Itoki Crebio Corp レール部材及びそれを用いた棚用オプション取付装置
JP2006090125A (ja) * 2005-11-15 2006-04-06 Tsuuden:Kk 自動ドアパネルへの安全センサ取付方法及び装置
JP2007316989A (ja) * 2006-05-26 2007-12-06 Softbank Idc Corp 機器収容ラックおよび機器収容室用空調システム

Cited By (1)

* Cited by examiner, † Cited by third party
Publication number Priority date Publication date Assignee Title
JP2016000164A (ja) * 2014-06-12 2016-01-07 日比谷総合設備株式会社 サーバー室の扉体構造

Also Published As

Publication number Publication date
JP5258047B2 (ja) 2013-08-07

Similar Documents

Publication Publication Date Title
CN102150483B (zh) 热通道遏制面板系统及方法
US8184435B2 (en) Hot aisle containment cooling system and method
EP1882402B1 (en) Cold aisle isolation
JP5264432B2 (ja) ラック間通路遮蔽構造
US20100151781A1 (en) Thermal Management Cabinet for Electronic Equipment
US20120049706A1 (en) Air Flow Management Enclosure
US20100165572A1 (en) Data center cooling
RU2595975C1 (ru) Охлаждающая полка
CN104411898B (zh) 空气遏制系统和方法
JP2011070374A (ja) サーバ収納ユニットおよびサーバ収納設備ならびにマウントフレーム
WO2016177068A1 (zh) 数据中心设备
US20190166723A1 (en) Airflow distribution and management architecture for large data center
WO2015153945A1 (en) Airflow baffle system
JP5258047B2 (ja) ラック間通路遮へい構造
IT8922147A1 (it) Quadro elettrico con isolamento in gas
JPWO2014097367A1 (ja) ヒートシャッタ装置
JP5698029B2 (ja) サーバラック還流防止装置及びサーバラック還流防止方法
WO2019223417A1 (zh) 一种用于存储区块链大数据的散热机房
JP6152265B2 (ja) ラックキャッピング装置
JP2010168769A (ja) ラック間通路遮へい構造
JP2010168767A (ja) ラック間通路遮へい構造
JP7324185B2 (ja) サーバ格納システム、データセンタ
US12513861B2 (en) Server holder with flow restraining device
CN217606556U (zh) 一种物联网数据存储装置
CN219203888U (zh) 一种自动降温的配电柜

Legal Events

Date Code Title Description
RD01 Notification of change of attorney

Free format text: JAPANESE INTERMEDIATE CODE: A7426

Effective date: 20100625

A521 Written amendment

Free format text: JAPANESE INTERMEDIATE CODE: A821

Effective date: 20100625

A621 Written request for application examination

Free format text: JAPANESE INTERMEDIATE CODE: A621

Effective date: 20111208

A977 Report on retrieval

Free format text: JAPANESE INTERMEDIATE CODE: A971007

Effective date: 20120809

A131 Notification of reasons for refusal

Free format text: JAPANESE INTERMEDIATE CODE: A131

Effective date: 20120821

A521 Written amendment

Free format text: JAPANESE INTERMEDIATE CODE: A523

Effective date: 20121017

TRDD Decision of grant or rejection written
A01 Written decision to grant a patent or to grant a registration (utility model)

Free format text: JAPANESE INTERMEDIATE CODE: A01

Effective date: 20130419

A61 First payment of annual fees (during grant procedure)

Free format text: JAPANESE INTERMEDIATE CODE: A61

Effective date: 20130419

FPAY Renewal fee payment (event date is renewal date of database)

Free format text: PAYMENT UNTIL: 20160502

Year of fee payment: 3

R150 Certificate of patent or registration of utility model

Ref document number: 5258047

Country of ref document: JP

Free format text: JAPANESE INTERMEDIATE CODE: R150

Free format text: JAPANESE INTERMEDIATE CODE: R150

R250 Receipt of annual fees

Free format text: JAPANESE INTERMEDIATE CODE: R250

R250 Receipt of annual fees

Free format text: JAPANESE INTERMEDIATE CODE: R250

R250 Receipt of annual fees

Free format text: JAPANESE INTERMEDIATE CODE: R250

R250 Receipt of annual fees

Free format text: JAPANESE INTERMEDIATE CODE: R250

R250 Receipt of annual fees

Free format text: JAPANESE INTERMEDIATE CODE: R250

R250 Receipt of annual fees

Free format text: JAPANESE INTERMEDIATE CODE: R250