JP2010146977A - 燃料電池と燃料電池セル、およびその構成部材ユニット - Google Patents

燃料電池と燃料電池セル、およびその構成部材ユニット Download PDF

Info

Publication number
JP2010146977A
JP2010146977A JP2008326012A JP2008326012A JP2010146977A JP 2010146977 A JP2010146977 A JP 2010146977A JP 2008326012 A JP2008326012 A JP 2008326012A JP 2008326012 A JP2008326012 A JP 2008326012A JP 2010146977 A JP2010146977 A JP 2010146977A
Authority
JP
Japan
Prior art keywords
gas
gas permeable
layer
fuel cell
thickness
Prior art date
Legal status (The legal status is an assumption and is not a legal conclusion. Google has not performed a legal analysis and makes no representation as to the accuracy of the status listed.)
Withdrawn
Application number
JP2008326012A
Other languages
English (en)
Inventor
Tsunemasa Nishida
恒政 西田
Current Assignee (The listed assignees may be inaccurate. Google has not performed a legal analysis and makes no representation or warranty as to the accuracy of the list.)
Toyota Motor Corp
Original Assignee
Toyota Motor Corp
Priority date (The priority date is an assumption and is not a legal conclusion. Google has not performed a legal analysis and makes no representation as to the accuracy of the date listed.)
Filing date
Publication date
Application filed by Toyota Motor Corp filed Critical Toyota Motor Corp
Priority to JP2008326012A priority Critical patent/JP2010146977A/ja
Publication of JP2010146977A publication Critical patent/JP2010146977A/ja
Withdrawn legal-status Critical Current

Links

Images

Classifications

    • YGENERAL TAGGING OF NEW TECHNOLOGICAL DEVELOPMENTS; GENERAL TAGGING OF CROSS-SECTIONAL TECHNOLOGIES SPANNING OVER SEVERAL SECTIONS OF THE IPC; TECHNICAL SUBJECTS COVERED BY FORMER USPC CROSS-REFERENCE ART COLLECTIONS [XRACs] AND DIGESTS
    • Y02TECHNOLOGIES OR APPLICATIONS FOR MITIGATION OR ADAPTATION AGAINST CLIMATE CHANGE
    • Y02EREDUCTION OF GREENHOUSE GAS [GHG] EMISSIONS, RELATED TO ENERGY GENERATION, TRANSMISSION OR DISTRIBUTION
    • Y02E60/00Enabling technologies; Technologies with a potential or indirect contribution to GHG emissions mitigation
    • Y02E60/30Hydrogen technology
    • Y02E60/50Fuel cells

Landscapes

  • Fuel Cell (AREA)

Abstract

【課題】注入された樹脂の樹脂圧に対して電解質膜の端部が持ち上げられてガスケットの端面に臨み、これがガスのクロスリーク路を形成して燃料電池のクロスリーク耐久を低下させるという課題が解消され、かつ、ガス透過層同士の接触による短絡も生じ得ない燃料電池セルの構成部材ユニットと、該ユニットからなる燃料電池セル、該燃料電池セルが積層されてなる燃料電池を提供する。
【解決手段】燃料電池セルの構成部材ユニットにおいて、2つのガス透過層(ガス流路層6A,6)はいずれも電解質膜1よりも側方に張り出しており、2つのガス透過層6Aの側方に張り出した箇所62の厚み:t2は、ガス透過層6Aの他の箇所の厚み:t1に対して変化しており(厚くなっており)、これが、2つのガス透過層6A,6の側方に張り出した箇所同士の接触防止手段となっている。
【選択図】図1

Description

本発明は、燃料電池セルの構成部材ユニットと、該構成部材ユニットからなる燃料電池セル、この燃料電池セルが積層されてなる燃料電池に関するものである。
固体高分子型燃料電池の燃料電池セルは、イオン透過性の電解質膜と、該電解質膜を挟持するアノード側およびカソード側の触媒層とから膜電極接合体(MEA:Membrane Electrode Assembly)が形成され、たとえば、このMEAとこれを挟持するアノード側およびカソード側のガス拡散層(GDL)とから電極体(MEGA:Membrane Electrode & Gas Diffusion Layer Assembly)が形成され、電極体に燃料ガスもしくは酸化剤ガスを提供するとともに電気化学反応によって生じた電気を集電するための金属多孔体からなるガス流路層とセパレータが電極体の両側に配されて構成されている。なお、セパレータにガス流路溝が形成された燃料電池セルも従来一般のものであり、この形態の場合にはガス流路層となる金属多孔体は不要である。実際の燃料電池スタックは、所要電力に応じた基数の燃料電池セルが積層され、スタッキングされることによって形成されている。
上記構成の燃料電池セルにおいては、膜電極接合体に供給される燃料ガスや酸化剤ガス、さらにはセルの昇温を抑止するための冷却水などの流体をシールするためのガスケットが電極体および金属多孔体の周縁に形成されている。このガスケットは燃料電池セルごとに形成されており、電極体および金属多孔体の周縁にガスケットを有した燃料電池セルを所定の基数だけ積層した後にスタッキングがおこなわれている。このガスケットの成形は一般に射出成形や圧縮成形にておこなわれている。たとえば射出成形の場合を取り上げると、成形型のキャビティ内にセパレータを収容し、次いでガス流路となるアノード側もしくはカソード側の一方の金属多孔体を収容し、次いで電極体もしくは膜電極接合体を収容し、次いでアノード側もしくはカソード側の他方の金属多孔体を収容した姿勢で、電極体および金属多孔体の周縁のガスケット成形用キャビティに樹脂を注入するものである。
上記するセパレータは、たとえばチタンやステンレスからなる2枚のプレートの間に流路が形成されたプレートが介層された3層構造のものや、中間層を樹脂製の枠材とし、2枚のプレートの一方から多数のディンプルや流路を画成するリブを突出させて冷却水流路を形成するものなどがある。この3層構造のセパレータは、当該セル自体のアノード側もしくはカソード側のいずれか一方のセパレータであると同時に、積層姿勢において隣接するセルのアノード側もしくはカソード側の他方のセパレータとなるものである。すなわち、この3層構造セパレータを有する燃料電池セルのセル構成部材は、一つの3層構造セパレータと、アノード側およびカソード側の金属多孔体(ガス流路層)と、膜電極接合体もしくは電極体と、からなり、複数の燃料電池セルが積層された姿勢において、任意の燃料電池セルは、その両端にアノード側およびカソード側のセパレータを有することとなる。
ところで、ガス拡散層やガス流路層といったガス透過層や触媒層に比して電解質膜の端部は側方に張り出しており、ガスケットが成形された際の姿勢においては、電解質膜の張り出し端部がガスケットの内部に埋め込まれた構造を呈するのが一般的である。このような構造を適用する理由として、その一つは、両極のガス拡散層や金属多孔体(ガス流路層)が接触して短絡するのを防止することである。また、他の理由は、一方の極(たとえばカソード極)から他方の極(たとえばアノード極)へ電解質膜の側端をガスが回り込んでクロスリークするのを防止するために、ある程度の張り出し長さを確保し、この張り出し部をガスケット内に埋設させた構造を適用しているというものである。
たとえば、成形型内に一つの3層構造セパレータと、金属多孔体とガス拡散層と膜電極接合体を収容して型閉めし、膜電極接合体の側方に画成されたガスケット用のキャビティ内に樹脂を注入してガスケットを成形する場合において、成形型内で膜電極接合体側に流れてきた樹脂の圧力により、側方に張り出した電解質膜の端部が上方に持ち上げられ、これがガスのクロスリーク路を形成してクロスリーク耐久を低下させるという課題が生じていた。
これを図7とその一部を拡大した図8に基づいて説明する。図7は、固定型S1と可動型S2のキャビティ内に電極体eとガス流路層となる金属多孔体f1、f2、および一つの3層構造セパレータgが収容され、ガスケット用の樹脂が注入されている状況を説明したものである。まず、電解質膜aとこれを挟持するカソード側およびアノード側の触媒層b1、b2とから膜電極接合体cが形成され、この膜電極接合体cをカソード側およびアノード側のガス拡散層d1、d2が挟持して電極体eが形成されたものを用意する。なお、各部材を成形型内へ収容するに際して、膜電極接合体とガス拡散層が予め一体に形成されていてもよいし、双方が分離されていて、それぞれを順に成形型内に収容するものであってもよい。ここで、電解質膜aの端部a1は電極体eの側方に張り出している。また、セパレータgは、2枚のステンレス製もしくはチタン製のプレートg1、g2と、このプレート間に介在してガスや冷却水などの流体用の流路を画成する中間層g3と、から構成されており、成形型内に、セパレータg、金属多孔体f2、電極体e、金属多孔体f1が積層姿勢を成した状態で型閉めされる。なお、この収容された構成部材のユニットで一つの燃料電池セルが形成されるものである。なお、この3層構造のセパレータgは、それが組み込まれる燃料電池セルのアノード側の金属多孔体f2に燃料ガス(流れ方向Z1)を提供するためのガス流通孔g3aと、セルが積層された姿勢において隣接するセルのカソード側の多孔体に酸化剤ガス(流れ方向Z2)を提供するためのガス流通孔g3bを備えている。
型閉めの後に、注入孔Hを介してガスケット成形用のキャビティC内に樹脂が注入される(Y方向)。樹脂が注入されると、キャビティC内で水平方向に張り出した電解質膜aの端部a1には、図8で示すようにその樹脂圧が作用し、該端部a1は上方に持ち上げられてキャビティCの上面に当接する。
この姿勢でガスケットが成形されて燃料電池セルが製造されると、電解質膜aはその端部a1がガスケットの上面に臨んだ状態となってしまう(端部a1が外部に臨む)。このような燃料電池セルを所定の基数だけ接着させることなく積み重ね、スタッキングすることにより、従来の燃料電池は形成されている。燃料電池セル同士を密着させないことにより、たとえば発電不良となった燃料電池セルを抜き出して他の燃料電池セルと入れ替えるといったメンテナンスが可能となる。したがって、一つの燃料電池セルに着目した際に、その構成部材であるアノード側およびカソード側の金属多孔体の一方には3層構造のセパレータがガスケットの射出成形の際に接着しており、他方の金属多孔体には積層姿勢において隣接する燃料電池セルのセパレータが接着されることなく当接した状態となっている。
燃料電池セル同士が接着されることなく積み重ねられているのみの構造であるため、上記するようにそのメンテナンスは可能となる一方で、当該燃料電池セルと隣接セルのセパレータとの間に外部に連通する隙間が生じることは避けられない。それに加えて、上記のごとく電解質膜の端部が外部に臨んだ状態となっていることから、電解質膜が外部に通じる状態が形成されることとなり、このことは、ガスのクロスリーク路が形成されることを意味するものであり、燃料電池のクロスリーク耐久低下の一因となるものである。
そこで、ガス流路層となる2つの金属多孔体を電解質膜よりも側方に張り出させ、電解質膜の端部が外部に臨まないようにする技術も発案されている。これを図8に対応する態様で示した図9を参照して説明すると、電解質膜aの上下に位置する金属多孔体f1’、f2’の双方が該電解質膜aよりも側方に張り出した構造である。
しかし、図7,8で示すセル構造と図9で示すセル構造を比較するとより明瞭となるが、図9で示すセル構造においては、双方の金属多孔体が電解質膜よりも側方に張り出したことにより、双方の間に何等の絶縁部材も介在しなくなる(図7,8では金属多孔体f1、f2間に電解質膜aが存在している)。したがって、何らかの外的要因、たとえば射出成形時の樹脂圧等によって一方の金属多孔体が他方の金属多孔体側へ変形した際(図中の一点鎖線図)には、たとえばそれらの端部同士が接触してしまい、ここで短絡が生じる可能性がある。そこで、たとえば特許文献1で開示するように、一方の金属多孔体の他方の金属多孔体側の端面に絶縁層を設けることにより、双方の金属多孔体が接触しても短絡を防止できる、という技術の適用も考えられる。
しかし、金属多孔体に絶縁層を設けることで部品点数が増加すること、絶縁層の加工工程、金属多孔体への接着工程等の工程増が避けられないこと、さらには、絶縁層が介在しているとしても、金属多孔体の端部同士が接触していることから、たとえば一方の端部エッジが絶縁層を押し潰すことで絶縁層が損傷を受け、短絡に到るという危険性は否定できないこと、などから、他のより有効な短絡防止手段を備えた燃料電池セルの構造の開発が急務である。
特表2007−504614号公報
本発明は、上記する問題に鑑みてなされたものであり、燃料電池セルを構成する膜電極接合体とガス透過層の周縁にガスケットを備えた燃料電池セルの構成部材ユニットに関し、注入された樹脂の樹脂圧に対して電解質膜の端部が持ち上げられてガスケットの端面に臨み、これがガスのクロスリーク路を形成して燃料電池のクロスリーク耐久を低下させるという課題が解消され、かつ、ガス透過層同士の接触による短絡も生じ得ない燃料電池セルの構成部材ユニットと、該ユニットからなる燃料電池セル、該燃料電池セルが積層されてなる燃料電池を提供することを目的とする。
前記目的を達成すべく、本発明による燃料電池セルの構成部材ユニットは、電解質膜とその両側の触媒層とからなる膜電極接合体と、該膜電極接合体の両側に配されたガス透過層と、これらの周縁に形成されたガスケットと、からなる、燃料電池セルの構成部材ユニットにおいて、2つの前記ガス透過層はいずれも電解質膜よりも側方に張り出しており、2つの前記ガス透過層の側方に張り出した箇所のいずれか一方、もしくは双方の厚みは、ガス透過層の他の箇所の厚みに対して変化しており、これが、2つのガス透過層の側方に張り出した箇所同士の接触防止手段となっているものである。
本発明の構成部材ユニットは、膜電極接合体(MEA)のアノード側とカソード側の双方に拡散層基材と集電層からなるガス拡散層を具備する形態、アノード側とカソード側のいずれか一方は集電層のみを具備する(拡散層基材が廃された)形態の双方を含んでいる。また、本明細書では、これらのいずれの形態も電極体(MEGA)と称呼している。また、この構成部材ユニットからなる燃料電池セルにおいては、いわゆるフラットタイプのセパレータと電極体の間に、ガス流路層(エキスパンドメタル等の金属多孔体)が配された構造の他にも、電極体の両側にガス流路溝が形成されたセパレータが直接配された従来一般のセル構造を含むものである。さらに、「ガス透過層」とは、ガス拡散層とガス流路層の双方を含む意味である。したがって、ガス流路層を具備しないセル形態においては「ガス透過層」は「ガス拡散層」を意味するものであり、ガス拡散層とガス流路層の双方を具備するセル形態においては「ガス透過層」は「ガス拡散層」と「ガス流路層」の双方もしくはいずれか一方を意味するものである。
また、ガス透過層が、ガス拡散層と金属多孔体からなるガス流路層の積層体からなる形態においては、該ガス拡散層よりも電解質膜が側方に張り出しており、かつ、該電解質膜よりも該金属多孔体が側方に張り出している形態であってもよい。
本発明の燃料電池セルの構成部材ユニットは、カソード側およびアノード側のガス透過層(たとえば金属多孔体)が電解質膜よりも側方に張り出した姿勢において、ガス透過層のうち、少なくとも電解質膜よりも側方に張り出している箇所の厚みとガス透過層の他の箇所の厚みを変化させ、これを2つのガス透過層の側方に張り出した箇所同士の接触防止手段とすることにより、ガス透過層同士が接触して短絡することを効果的に防止するものである。
そのための具体的な実施の形態として、たとえば以下の2つの形態を挙げることができる。
その一つは、2つのガス透過層の側方に張り出した箇所のうち、少なくともいずれか一方もしくは双方の張り出した箇所の厚みが、ガス透過層の他の箇所の厚みに比して相対的に厚くなっている形態である。
たとえば、ガス透過層の張り出した箇所や、該張り出した箇所に加えて触媒層に対応する位置までの範囲を、ガス透過層の他の箇所よりも厚くしておくことで、当該箇所の曲げ剛性やねじり剛性を高め、他方のガス透過層側へ曲がり難くすることで双方の接触を防止することができる。
また、他の一つは、2つのガス透過層の側方に張り出した箇所のうち、少なくともいずれか一方もしくは双方の張り出した箇所の厚みが、ガス透過層の他の箇所の厚みに比して相対的に薄くなっており、厚みが薄くなった箇所において2つの張り出した箇所の間の離間が長くなっている形態である。
これは、たとえば双方のガス透過層の張り出した箇所の厚みを薄くし、より具体的には、張り出した箇所のうち、他方のガス透過層に対向する側面に凹部を形成することにより、厚みが薄くなった箇所において2つの張り出した箇所の間の離間を長くしたものである。
双方のガス透過層の張り出した箇所の離間を長くすることで、双方の接触を防止することができる。
上記するように、本発明の燃料電池セルの構成部材ユニットは、カソード側およびアノード側のガス透過層(のたとえば金属多孔体)を電解質膜よりも側方に張り出させることで、電解質膜が外部に通じてガスのクロスリーク路を形成することを抑止でき、さらには、いずれか一方もしくは双方のガス透過層の張り出し箇所の厚みを変化させるだけで、ガス透過層同士の接触を効果的に防止できるものである。
また、本発明による燃料電池セルは、2つのガス透過層のいずれか一方側に、積層されたセルを画成するとともに双方のセルに燃料ガスと酸化剤ガスのいずれか一方を提供するセパレータが配され、該セパレータも前記ガスケットと一体となっているものである。
この燃料電池セルの形態は、セパレータからガス流路層が分離され、金属多孔体からなるガス流路層をその構成の一部とする燃料電池セルである。
また、本発明による燃料電池は、前記する構成部材ユニットを2つのセパレータが挟持してなるものである。
この燃料電池セルの形態は、ガス流路溝がセパレータに形成され、したがって、ガス流路層をその構成として含まない燃料電池セルである。
さらに、本発明による燃料電池は、前記する燃料電池セルが所定基数積層され、スタッキングされてなるものである。
上記する本発明の構成部材ユニットからなる燃料電池は、家庭用の定置型燃料電池や車載用燃料電池など、その適用分野は他方面に亘るが、特に、近時その生産が拡大しており、車載機器に一層の高性能と高耐久を要求する電気自動車やハイブリッド車に好適である。
以上の説明から理解できるように、本発明の燃料電池セルの構成部材ユニットによれば、たとえばガスケット成形時の樹脂圧等によって電解質膜が持ち上げられ、その端部が外部に通じてガスのクロスリーク路を形成するといった課題が効果的に抑止され、さらには、いずれか一方もしくは双方のガス透過層の張り出し箇所の厚みを変化させるだけの極めて簡易な構造変更により、ガス透過層同士の接触を効果的に防止することができる。
以下、図面を参照して本発明の実施の形態を説明する。なお、図示する燃料電池セルは、その一方端のみが拡大して示されており、たとえば、図1で示す燃料電池セルでは、図示する構造を両側端に備えて燃料電池セルが構成されていることは勿論のことである。
図1〜図3はそれぞれ、成形型内に載置される、ガスケットが成形される前の燃料電池セルの構造の実施の形態を説明した縦断面図である。
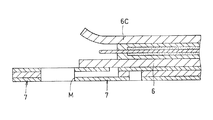
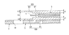
図1で示す燃料電池セルは、電解質膜1と、カソード側およびアノード側の触媒層2,2’と、から膜電極接合体3が形成され、これをカソード側およびアノード側のガス拡散層4,4’が挟持して電極体5が形成され、これをカソード側およびアノード側のガス流路層6A,6が挟持し、さらに、アノード側のガス流路層6に3層構造のセパレータ7が配されて構成される。
なお、触媒層2,2’は電解質膜1に比してそれらの面積が狭小であり、したがって、電解質膜1の両側の触媒層2,2’の周縁には該触媒層2,2’が存在しない露出領域が形成され、この露出領域には、カソード側およびアノード側の不図示の保護フィルムが配されて、ガス拡散層4,4’から突出する毛羽が電解質膜1の露出領域に突き刺さるのを防護している構造であってもよい。
ここで、膜電極接合体3を構成する電解質膜1は、たとえば、スルホン酸基やカルボニル基を持つフッ素系イオン交換膜、置換フェニレンオキサイドやスルホン化ポリアリールエーテルケトン、スルホン化ポリアリールエーテルスルホン、スルホン化フェニレンスルファイドなどの非フッ素系のポリマーなどから形成される。
また、触媒層2,2’は、触媒が担持された導電性担体(粒子状のカーボン担体など)と、電解質と、分散溶媒(有機溶媒)と、を混合して触媒溶液(触媒インク)を生成し、これを電解質膜1やガス拡散層4,4’等の基材に塗工ブレードにて層状に引き伸ばして塗膜を形成し、温風乾燥炉等で乾燥することで触媒層が形成される。ここで、触媒溶液を形成する電解質は、プロトン伝導性ポリマーである、有機系の含フッ素高分子を骨格とするイオン交換樹脂、例えばパーフルオロカーボンスルフォン酸樹脂、スルホン化ポリエーテルケトン、スルホン化ポリエーテルスルホン、スルホン化ポリエーテルエーテルスルホン、スルホン化ポリスルホン、スルホン化ポリスルフィド、スルホン化ポリフェニレン等のスルホン化プラスチック系電解質、スルホアルキル化ポリエーテルエーテルケトン、スルホアルキル化ポリエーテルスルホン、スルホアルキル化ポリエーテルエーテルスルホン、スルホアルキル化ポリスルホン、スルホアルキル化ポリスルフィド、スルホアルキル化ポリフェニレンなどのスルホアルキル化プラスチック系電解質などを挙げることができる。なお、市販素材としては、ナフィオン(Nafion)(登録商標、デュポン社製)やフレミオン(Flemion)(登録商標、旭硝子株式会社製)などを挙げることができる。また、分散溶媒としては、メタノール、エタノール、1−プロパノール、2−プロパノール、エチレングリコール、ジエチレングリコール等のアルコール類、アセトン、メチルエチルケトン、ジメチルホルムアミド、ジメチルイミダゾリジノン、ジメチルスルホキシド、ジメチルアセトアミド、N−メチルピロリドン、プロピレンカーボネート、酢酸エチルや酢酸ブチルなどのエステル類、芳香族系あるいはハロゲン系の種々の溶媒を挙げることができ、さらには、これらを単独で、もしくは混合液として使用することができる。さらに、触媒が担持された導電性担体に関し、この導電性担体としては、カーボンブラック、カーボンナノチューブ、カーボンナノファイバーなどの炭素材料のほか、炭化ケイ素などに代表される炭素化合物などを挙げることができ、この触媒(金属触媒)としては、たとえば、白金や白金合金、パラジウム、ロジウム、金、銀、オスミウム、イリジウムなどのうちのいずれか一種を使用することができ、好ましくは白金または白金合金を使用するのがよい。さらに、この白金合金としては、たとえば、白金と、アルミニウム、クロム、マンガン、鉄、コバルト、ニッケル、ガリウム、ジルコニウム、モリブデン、ルテニウム、ロジウム、パラジウム、バナジウム、タングステン、レニウム、オスミウム、イリジウム、チタンおよび鉛のうちの少なくとも一種との合金を挙げることができる。
また、ガス拡散層4,4’は、拡散層基材と集電層(MPL)からなるものであり、拡散層基材としては、電気抵抗が低く、集電を行えるものであれば特に限定されるものではないが、たとえば、導電性無機物質を主とするものを挙げることができ、この導電性無機物質としては、ポリアクリロニトリルからの焼成体、ピッチからの焼成体、黒鉛及び膨張黒鉛等の炭素材やこれらのナノカーボン材料、ステンレススチール、モリブデン、チタン等を挙げることができる。また、拡散層基材の導電性無機物質の形態は特に限定されるものではなく、たとえば繊維状あるいは粒子状で用いられるが、ガス透過性の点から無機導電性繊維であって、特に炭素繊維が好ましい。無機導電性繊維を用いた拡散層基材としては、織布あるいは不織布いずれの構造のものも使用することができ、カーボンペーパーやカーボンクロスなどを挙げることができる。織布としては、平織、紋織、綴織など、特に限定されるものではなく、不織布としては、抄紙法、ウォータージェットパンチ法によるものなどが挙げられる。さらに、この炭素繊維としては、フェノール系炭素繊維、ピッチ系炭素繊維、ポリアクリロニトリル(PAN)系炭素繊維、レーヨン系炭素繊維などを挙げることができる。さらに、集電層はアノード側、カソード側の触媒層2,2’から電子を集める電極の役割を果たすものであり、導電性材料である、白金、パラジウム、ルテニウム、ロジウム、イリジウム、金、銀、銅及びこれらの化合物または合金、導電性炭素材料などから形成できる。
また、不図示の保護フィルムは、ポリテトラフルオロエチレン、PVDF(二フッ化ポリビニル)、ポリエチレン、ポリエチレンナフタレート(PEN)、ポリカーボネート、ポリフェニレンエーテル(PPE)、ポリプロピレン、ポリエステル、ポリアミド、コポリアミド、ポリアミドエラストマ、ポリイミド、ポリウレタン、ポリウレタンエラストマ、シリコーン、シリコンゴム、シリコンベースのエラストマなどから形成されるものである。
また、ガス流路層6A,6は、金属発泡焼結体もしくはエキスパンドメタルなどの金属多孔体から形成されている。
さらに、3層構造のセパレータ7は、ステンレスやチタンからなる金属プレート71,72と、その間に、金属素材で冷却水流路やガス流路が形成された中間層73が介層されたものである。なお、樹脂素材の枠材を中間層とし、2枚の金属プレートの一方のプレートから多数のディンプル、もしくは流路画成用のリブが突出された形態であってもよい。なお、図示するセパレータ7では、自身が構成要素となる燃料電池セルのアノード側のガス流路層6に燃料ガスを供給するためのガス流路73aと、セルの積層姿勢において隣接するセルのカソード側のガス流路層6Aに酸化剤ガスを供給するためのガス流路73bが形成されており、さらには、不図示の冷却水流路が中間層73に形成されている。なお、セパレータ7には、不図示のガスケットのマニホールドに連通して、ガスや冷却水等が流通するマニホールドMが形成されている。
図1に戻り、図示する燃料電池セルでは、電解質膜1はガス拡散層4,4’よりも側方に張り出しており、カソード側およびアノード側のガス流路層6A,6が電解質膜1よりも側方に張り出している。
この構造により、たとえばガスケットを射出成形する際に電解質膜1が樹脂圧によって持ち上げられても、その端部はせいぜいガス流路層6Aの側面に到達するに過ぎず、電解質膜1の端部が外部に臨んでガスのクロスリーク路を形成することはない。
また、厚み:t1のアノード側のガス流路層6に対して、カソード側のガス流路層6Aは、その一般部61はアノード側のガス流路層6と同じ厚み:t1である一方で、その側方の張り出した箇所62の厚み:t2は、厚み:t1よりも厚く形成されている。より具体的には、ガス拡散層4と当接する領域まで厚み:t2を有しており、除々に厚みが減じられて厚み:t1に収斂しているものである。
カソード側のガス流路層6Aの張り出した箇所62の厚みを相対的に厚くすることで、このガス流路層6Aに外力が作用しても、張り出した箇所62の高い曲げ剛性もしくはねじり剛性により、アノード側のガス流路層6側への曲がりや垂れが抑止され、双方の接触が防止される。なお、図示例以外にも、アノード側のガス流路層もカソード側と同様に、その張り出した箇所の厚みが厚く形成されていてもよい。
一方、図2で示す燃料電池セルでは、アノード側、カソード側双方のガス流路層6B,6Bの張り出した箇所63,63に関し、それぞれの対向面で凹部が形成されることで厚みが薄く形成され(一般部の厚み:t1に対して相対的に薄い厚み:t3)、双方の離間:t4が長くなっているものである。
この離間:t4により、仮にカソード側のガス流路層6Bが外力を受けて下方へ曲がった場合でも、その端部がアノード側のガス流路層6Bまで到達することがなく(そのように張り出した箇所63の長さが設計されている)、双方の接触が防止されている。
また、図3で示す燃料電池セルでは、カソード側のガス流路層6Cの張り出した箇所がアノード側のガス流路層6から離れるように予め折り曲げられており(図では上方に折り曲げられている)、この構成により、たとえばガスケットを射出成形した際に樹脂が側方から流れ込んできた場合でも、この樹脂圧によってカソード側のガス流路層6Cの張り出した箇所が下方へ曲げられることがなく、アノード側のガス流路層6と接触することが防止される。
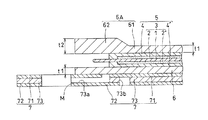
次に、図4〜6を参照して、燃料電池セルのガスケット成形〜燃料電池セルのスタッキングまでを概括する。なお、ここでは、図2で示す構造の燃料電池セルを取り上げる。
まず、電極体5と、アノード側およびカソード側の金属多孔体からなるガス流路層6B,6Bと、3層構造のセパレータ7を用意し、図4で示すように、固定型S1と可動型S2とからなる成形型のキャビティ内に下方から順に、セパレータ7、アノード側のガス流路層6B、電極体5、カソード側のガス流路層6Bを移載して型閉めする。
次いで、固定型S1に開設された注入孔Hを介して、樹脂をガスケット成形用キャビティC内に注入する(Y方向)。なお、図4の断面はガスケットにマニホールドが形成される箇所で切断した断面である。
ここで、注入される樹脂としては、ブチル系ゴムやウレタン系ゴム、シリコーンRTVゴム、耐メタノール性を有するエポキシ系樹脂、エポキシ変性シリコーン樹脂、シリコーン樹脂、フッ素樹脂、炭化水素樹脂などを挙げることができる。
この射出成形により、セパレータ7の表面上にガスケットが直接成形されることから、セパレータとガスケットの密着領域は十分に接着され、したがって、これらの界面が外部に流体連通することはない。
図5は、図4の方法で製造された2つの燃料電池セル10,10を示しており、より具体的には、これらが積層される前の状態を示している。なお、たとえば300基の燃料電池セル10,…を積層して燃料電池スタックを形成する場合には、図4の方法でそれぞれの燃料電池セルを製造し、各燃料電池セル10のセパレータを具備しない側に積層姿勢で隣接する燃料電池セル10のセパレータ7を上載するようにして300基の燃料電池セル10,…を積層し、スタッキングが実行される。
図6は、複数の燃料電池セル10,…が積層され、スタッキングされた後の2つの燃料電池セル10,10を取り出して図示したものである。なお、射出成形されてできたガスケット8にもマニホールドMが形成され、無端のシールリブ8aがマニホールドMを囲繞するようにガスケット8の上面(セパレータ7の存在しない面)に形成される。
図6から明らかなように、積層姿勢の各燃料電池セル10,…がスタッキングされた際に、任意の燃料電池セル10は、自身の構成部材であるセパレータ7と隣接する燃料電池セル10のセパレータ7がその両側に配される構造となる。スタッキングされることによってマニホールドM周りのシールリブ8aが隣接する燃料電池セル10のセパレータ7にて潰され、シール構造が形成される。
図示するマニホールドMは燃料ガスが流入するマニホールドであり、供給された燃料ガスは3層構造セパレータ7の中間層73からプレート71に亘って形成された供給ガス流路73aを介してアノード側のガス流路層6Bに供給される(Z1方向)。一方、ガスケット8の他の断面には酸化剤ガスが流入する別途のマニホールドが形成されており、この別途のマニホールドを介して酸化剤ガスが流入し、セパレータ7の中間層73からプレート72に亘って形成された供給ガス流路73bを介して隣接セルのカソード側の多孔体6Bに供給される(Z2方向)。
上記する本発明の燃料電池の製造方法によれば、射出成形時の樹脂圧によって電解質膜の張り出し端部が持ち上げられ、該端部がセパレータと接着していない側のガスケットの端面に臨んで外部と流体連通し、ガスのクロスリーク路となることが効果的に抑止される。さらには、カソード側およびアノード側双方のガス流路層の張り出した箇所同士が接触することも防止されており、双方が接触して短絡するという問題も生じない。
また、上記する燃料電池セルは、カソード側、アノード側のいずれか一方もしくは双方の側方の電極体よりも張り出した箇所の厚みを変化させただけの極めて簡易な構造変更によって、ガスのクロスリーク耐久の高い燃料電池となっていることから、その製造効率も高く、需要増に伴う燃料電池の大量生産に好適である。
なお、実際に電気自動車等に車載される燃料電池システムは、燃料電池(燃料電池スタック)と、水素ガスや空気を収容する各種タンク、これらのガスを燃料電池に提供するためのブロア、燃料電池を冷却するためのラジエータ、燃料電池で生成された電力を蓄電するバッテリ、この電力で駆動する駆動モータ等から大略構成されるものである。
以上、本発明の実施の形態を図面を用いて詳述してきたが、具体的な構成はこの実施形態に限定されるものではなく、本発明の要旨を逸脱しない範囲における設計変更等があっても、それらは本発明に含まれるものである。
成形型内に載置される、ガスケットが成形される前の燃料電池セルの構造の一実施の形態を説明した縦断面図である。 成形型内に載置される、ガスケットが成形される前の燃料電池セルの構造の他の実施の形態を説明した縦断面図である。 成形型内に載置される、ガスケットが成形される前の燃料電池セルの構造のさらに他の実施の形態を説明した縦断面図である。 図2で示す燃料電池セルを使用して、成形型内でガスケットを成形している状況を説明した縦断面図である。 燃料電池セルを積層する前の状態を説明した縦断面図である。 燃料電池セルを積層し、スタッキングされた状態を説明した縦断面図である。 従来の方法によって、成形型内でガスケットを成形している状況を説明した縦断面図である。 図7において、電解質膜の張り出し端部が樹脂圧によって上方に持ち上げられている状況を説明した拡大図である。 他の従来の方法によって成形型内でガスケットを成形した際に、一方の金属多孔体が他方の金属多孔体に接触している状況を説明した図である。
符号の説明
1…電解質膜、2…カソード側の触媒層、2’…アノード側の触媒層、3…膜電極接合体、4…カソード側のガス拡散層(ガス透過層)、4’…アノード側のガス拡散層(ガス透過層)、5…電極体、6,6A,6B,6C…ガス流路層(ガス透過層)、61…一般部、62,63…張り出した箇所、71、72…プレート、73…中間層、8…ガスケット、10…燃料電池セル、M…マニホールド、S1…固定型、S2…可動型、H…注入孔、C…キャビティ

Claims (8)

  1. 電解質膜とその両側の触媒層とからなる膜電極接合体と、該膜電極接合体の両側に配されたガス透過層と、これらの周縁に形成されたガスケットと、からなる、燃料電池セルの構成部材ユニットにおいて、
    2つの前記ガス透過層はいずれも電解質膜よりも側方に張り出しており、
    2つの前記ガス透過層の側方に張り出した箇所のいずれか一方、もしくは双方の厚みは、ガス透過層の他の箇所の厚みに対して変化しており、これが、2つのガス透過層の側方に張り出した箇所同士の接触防止手段となっている、燃料電池セルの構成部材ユニット。
  2. 前記ガス透過層が、ガス拡散層、もしくは、金属多孔体からなるガス流路層、もしくはそれらの積層体のいずれか一方からなる、請求項1に記載の燃料電池セルの構成部材ユニット。
  3. 前記ガス透過層が、ガス拡散層と金属多孔体からなるガス流路層の積層体からなり、該金属多孔体のみが前記電解質膜よりも側方に張り出している、請求項1または2に記載の燃料電池セルの構成部材ユニット。
  4. 2つの前記ガス透過層の側方に張り出した箇所のうち、いずれか一方もしくは双方の少なくとも張り出した箇所の厚みが、ガス透過層の他の箇所の厚みに比して相対的に厚くなっている、請求項1〜3のいずれかに記載の燃料電池セルの構成部材ユニット。
  5. 2つの前記ガス透過層の側方に張り出した箇所のうち、いずれか一方もしくは双方の少なくとも張り出した箇所の厚みが、ガス透過層の他の箇所の厚みに比して相対的に薄くなっており、厚みが薄くなった箇所において2つの張り出した箇所の間の離間が長くなっている、請求項1〜3のいずれかに記載の燃料電池セルの構成部材ユニット。
  6. 請求項1〜5のいずれかに記載の構成部材ユニットにおける、2つのガス透過層のいずれか一方側に、積層されたセルを画成するとともに双方のセルに燃料ガスと酸化剤ガスのいずれか一方を提供するセパレータが配され、該セパレータも前記ガスケットと一体となっている、燃料電池セル。
  7. 請求項1〜5のいずれかに記載の構成部材ユニットを2つのセパレータが挟持してなる、燃料電池セル。
  8. 請求項6または7に記載の燃料電池セルが積層され、スタッキングされてなる、燃料電池。
JP2008326012A 2008-12-22 2008-12-22 燃料電池と燃料電池セル、およびその構成部材ユニット Withdrawn JP2010146977A (ja)

Priority Applications (1)

Application Number Priority Date Filing Date Title
JP2008326012A JP2010146977A (ja) 2008-12-22 2008-12-22 燃料電池と燃料電池セル、およびその構成部材ユニット

Applications Claiming Priority (1)

Application Number Priority Date Filing Date Title
JP2008326012A JP2010146977A (ja) 2008-12-22 2008-12-22 燃料電池と燃料電池セル、およびその構成部材ユニット

Publications (1)

Publication Number Publication Date
JP2010146977A true JP2010146977A (ja) 2010-07-01

Family

ID=42567147

Family Applications (1)

Application Number Title Priority Date Filing Date
JP2008326012A Withdrawn JP2010146977A (ja) 2008-12-22 2008-12-22 燃料電池と燃料電池セル、およびその構成部材ユニット

Country Status (1)

Country Link
JP (1) JP2010146977A (ja)

Similar Documents

Publication Publication Date Title
US9385387B2 (en) Method for manufacturing reinforced membrane electrode assembly and reinforced membrane electrode assembly
US20140045101A1 (en) Fuel cell module and fuel cell stack
JP5181969B2 (ja) 燃料電池
JP2010282940A (ja) 燃料電池
JP5181950B2 (ja) 燃料電池
JP6212925B2 (ja) 接合体アッセンブリ
JP2010182483A (ja) 燃料電池セルおよび燃料電池
JP2010244871A (ja) 燃料電池
JP2010003470A (ja) 燃料電池
JP2010211964A (ja) 燃料電池の製造方法
JP2011129367A (ja) 燃料電池
JP2010123343A (ja) 燃料電池と燃料電池セルの製造方法
JP2011129265A (ja) 燃料電池
JP2010182636A (ja) 燃料電池セルの製造方法
JP2010146977A (ja) 燃料電池と燃料電池セル、およびその構成部材ユニット
JP2010218717A (ja) 燃料電池
JP2010186627A (ja) 燃料電池
JP2010097895A (ja) 燃料電池
JP2010140716A (ja) 燃料電池
JP2010186717A (ja) 燃料電池セルの製造方法
JP2010165558A (ja) 燃料電池と燃料電池セル、およびその構成部材ユニット
JP2010140682A (ja) 燃料電池と燃料電池セル、およびその構成部材ユニット
JP2010198763A (ja) 燃料電池
JP2010186711A (ja) 燃料電池
JP5316244B2 (ja) 燃料電池

Legal Events

Date Code Title Description
A300 Withdrawal of application because of no request for examination

Free format text: JAPANESE INTERMEDIATE CODE: A300

Effective date: 20120306