JP2010146930A - コネクタ - Google Patents

コネクタ Download PDF

Info

Publication number
JP2010146930A
JP2010146930A JP2008325122A JP2008325122A JP2010146930A JP 2010146930 A JP2010146930 A JP 2010146930A JP 2008325122 A JP2008325122 A JP 2008325122A JP 2008325122 A JP2008325122 A JP 2008325122A JP 2010146930 A JP2010146930 A JP 2010146930A
Authority
JP
Japan
Prior art keywords
male
connector
terminal fitting
male terminal
protective wall
Prior art date
Legal status (The legal status is an assumption and is not a legal conclusion. Google has not performed a legal analysis and makes no representation as to the accuracy of the status listed.)
Granted
Application number
JP2008325122A
Other languages
English (en)
Other versions
JP5151962B2 (ja
Inventor
Hidefumi Horiuchi
秀文 堀内
Current Assignee (The listed assignees may be inaccurate. Google has not performed a legal analysis and makes no representation or warranty as to the accuracy of the list.)
Sumitomo Wiring Systems Ltd
Original Assignee
Sumitomo Wiring Systems Ltd
Priority date (The priority date is an assumption and is not a legal conclusion. Google has not performed a legal analysis and makes no representation as to the accuracy of the date listed.)
Filing date
Publication date
Application filed by Sumitomo Wiring Systems Ltd filed Critical Sumitomo Wiring Systems Ltd
Priority to JP2008325122A priority Critical patent/JP5151962B2/ja
Priority to DE102009056184A priority patent/DE102009056184B4/de
Priority to CN2009102604683A priority patent/CN101901989B/zh
Priority to US12/638,396 priority patent/US8147261B2/en
Publication of JP2010146930A publication Critical patent/JP2010146930A/ja
Application granted granted Critical
Publication of JP5151962B2 publication Critical patent/JP5151962B2/ja
Expired - Fee Related legal-status Critical Current
Anticipated expiration legal-status Critical

Links

Images

Landscapes

  • Details Of Connecting Devices For Male And Female Coupling (AREA)
  • Connector Housings Or Holding Contact Members (AREA)

Abstract

【課題】ムービングプレートを備えたコネクタにおいて雄端子金具の変形を防ぐ。
【解決手段】本発明のコネクタは、フード部14を有する雄側コネクタ10と、フード部14内に嵌合する雌側コネクタ60と、雄端子金具20を位置決めするムービングプレート40とを備え、ムービングプレート40は、位置決め孔47を有し板状のプレート本体部42を備え、プレート本体部42は、雄端子金具20の先端部が位置決め孔47を通ってプレート本体部42の前面側に突出する初期位置から雌側コネクタ60とともにフード部14の奥側に移動し、プレート本体部42に、初期位置にて突出する雄端子金具20の先端部を保護する保護壁41が前方に突出して設けられ、雌側コネクタ60に、保護壁41を逃がす凹部66が設けられているコネクタであって、保護壁41は、一の雄端子金具群20とこれに隣り合う他の雄端子金具群20との間に配置されている構成とした。
【選択図】図4

Description

本発明は、コネクタに関する。
従来、ムービングプレートを備えたコネクタとして、例えば下記特許文献1に記載のコネクタが知られている。このコネクタは、筒状のフード部を有する雄側コネクタとフード部内に前方から嵌合する雌側コネクタとを備えている。ムービングプレートは、フード部内にて前後方向に移動可能に収容されている。そして、ムービングプレートは、複数の位置決め孔を有する板状のプレート本体部を備え、雌側ハウジングとの嵌合前における初期位置では、雄端子金具の先端部が位置決め孔を通ってプレート本体部の前面側に臨むようになっている。これにより、初期位置にて本体部の前面から突出した雄端子金具の先端部にプローブピンを前方から押し当てることで導通検査をすることができる。
特開2006−196225公報
しかしながら、上記のように、導通検査を行うために本体部の前面から雄端子金具の先端部が突出する構成とした場合、フード部内に雌側ハウジングが前後方向に対し傾いた姿勢で進入してきたときに、雌側ハウジングの角部が雄端子金具の先端部に突き当たり、雄端子金具の先端部が変形するおそれがあった。
本発明は上記のような事情に基づいて完成されたものであって、ムービングプレートを備えたコネクタにおいて雄端子金具の変形を防ぐことを目的とする。
本発明は、複数のサブハウジングがフレームに組み付けられることで、筒状のフード部が設けられた雄側ハウジングと、前方からフード部内に嵌合される雌側ハウジングと、前記雄側ハウジング内に収容された雄端子金具を前記フード部内にて位置決めするムービングプレートとを備え、ムービングプレートは、位置決め孔を有し板状のプレート本体部を備え、プレート本体部は、雄端子金具の先端部が位置決め孔を通ってプレート本体部の前面側に突出する初期位置から雌側ハウジングとともにフード部の奥側に移動し、プレート本体部に、初期位置にて突出する雄端子金具の先端部を保護する保護壁が前方に突出して設けられ、雌側ハウジングに、保護壁を逃がす凹部が設けられているコネクタであって、保護壁は、一のサブハウジングに並んで設けられた複数の雄端子金具を一の雄端子金具群としたときに、一の雄端子金具群とこれに隣り合う他の雄端子金具群との間に配置されている構成としたところに特徴を有する。
このような構成によると、フード部内にムービングプレートが初期位置にて収容された状態で、同フード部内に前方から不正姿勢をとった雌側ハウジングが進入してきても、雌側ハウジングの角部が保護壁の突出端部に突き当たることで、雄端子金具の変形を防ぐことができる。ここで、不正姿勢とは、嵌合方向と交差する方向のうち互いに直交する向きを縦方向および横方向としたときに、縦方向に傾いた斜め姿勢および横方向に傾いた斜め姿勢の双方をいう。つまり、フード部の間口が略正方形であるため、雌側ハウジングがとり得る不正姿勢としては、縦方向に傾いた姿勢と横方向に傾いた姿勢の双方が想定されるところ、いずれの方向に傾いた場合でも雄端子金具の変形を防ぐことができる。
本発明の実施の態様として、以下の構成が好ましい。
保護壁は、前方に向かうほど細くなる形状とされている構成としてもよい。
このような構成によると、保護壁を凹部に対して進入させやすくなる。
ムービングプレートは、プレート本体部の周縁から前方に突出する周壁部を備え、保護壁の前端部における両端部からプレート本体部に至る両側縁は、周壁部にそれぞれ連結されており、保護壁には、前端部を切り欠くことにより切欠部が形成されている構成としてもよい。
このような構成によると、保護壁の両側縁を周壁部にそれぞれ連結したことにより、保護壁の倒れ防止を行うことができるとともに、ムービングプレート全体の剛性を高めることができる。また、切欠部を設けたことにより、例えば凹部内にロック部などが設けられている場合に、このロック部と保護壁とが干渉しないようにすることができる。
保護壁には、側方に張り出すようにして補強壁が連設されており、プレート本体部において補強壁と対応する位置には、治具挿入用の孔が設けられている構成としてもよい。
このような構成によると、補強壁により保護壁の倒れ防止を行うことができるとともに、孔に治具を挿入する際には、補強壁によって治具が雄端子金具に接触することを回避できる。また、補強壁を設けたことで不正姿勢をとった雌側ハウジングと干渉可能な面積が増加し、雌側ハウジングが保護壁ないし補強壁と干渉しやすくなるため、雄端子金具の変形を効果的に防ぐことができる。
本発明によれば、ムービングプレートを備えたコネクタにおいて雄端子金具の変形を防ぐことができる。
<実施形態1>
本発明の実施形態1を図1ないし図17の図面を参照しながら説明する。本実施形態のコネクタは、図1に示すように、レバー80の回動操作に基づいて互いに嵌合可能とされる雄側コネクタ10および雌側コネクタ60と、雄側コネクタ10に装着されるムービングプレート40とを備える。なお、以下の説明において前後方向については、両コネクタ10,60の嵌合面側を前方とする。
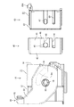
雌側コネクタ60は、図9に示すように、複数の雌側サブコネクタ61を合成樹脂製の雌側フレーム62に組み付けた構成とされている。各雌側サブコネクタ61は、合成樹脂製の雌側サブハウジング63を有している。本発明でいう雌側ハウジングは、雌側フレーム62と複数の雌側サブハウジング63とから構成されている。この雌側ハウジングは、全体として略方形のブロック状をなしており、略正方形の嵌合面を有している。
雌側フレーム62の内部には、図6の右側に示すように、雌側サブコネクタ61を収容可能な雌側サブコネクタ収容部64が前後方向に貫通して形成されている。雌側サブハウジング63の外面には、ロック受部63Aが設けられている。一方、雌側サブコネクタ収容部64の内部には、ロック受部63Aに係止して雌側サブコネクタ61を抜け止め状態に保持するロック部64Aが設けられている。
これにより、後方から雌側サブコネクタ収容部64の内部に雌側サブコネクタ61が図6に示す正規の挿入位置に挿入されると、ロック部64Aがロック受部63Aに係止することによって雌側サブコネクタ61が雌側サブコネクタ収容部64の内部において後方に抜け止めされた状態で収容される。
雌側サブコネクタ61の内部には、図9に示すように、雌端子金具70を収容するキャビティ65が高さ方向(図9における上下方向)に並んで配置されている。キャビティ65は、雌側サブハウジング63を前後方向に貫通して形成されている。雌端子金具70は、図6に示すように、ランス64Bおよびリテーナ69によってキャビティ65の内部で後方に抜け止めされた状態で収容されている。
雌側フレーム62の嵌合面(前面)において各雌側サブコネクタ61間には、図9に示すように、凹部66が形成されている。この凹部66は、各雌側サブコネクタ61の嵌合面より一段低くなるように凹み形成されている。この凹部66には、後述するように、両コネクタ10,60の嵌合時に、ムービングプレート40に設けられた保護壁41が進入するようになっている。
雌側フレーム62の両側面には、高さ方向略中央部に、前後方向に延びた断面長円形をなす一対の第1カムピン67が突設されている。また、両第1カムピン67の下方には、前後方向に延びた一対のガイドリブ68が形成されている。両ガイドリブ68によって両コネクタ10,60の嵌合の案内がなされるとともに、両コネクタ10,60の誤嵌合が防止される。
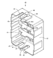
雄側コネクタ10は、図17に示すように、複数の雄側サブコネクタ11を合成樹脂製の雄側フレーム12に組み付けた構成とされている。各雄側サブコネクタ11は、合成樹脂製の雄側サブハウジング13を有している。本発明でいう雄側ハウジングは、雄側フレーム12と複数の雄側サブハウジング13とから構成されている。
雄側フレーム12において雄側サブハウジング13より前方に突出するようにして、略角筒状のフード部14が形成されている。フード部14は、複数の雄側サブハウジング13によって構成される嵌合面の周縁から前方に突出している。フード部14は、略正方形の間口を有している。フード部14の内部には、ムービングプレート40を収容可能である。
雄側フレーム12の内部には、図6の左側に示すように、雄側サブコネクタ11を収容可能な雄側サブコネクタ収容部16が前後方向に貫通して形成されている。雄側サブハウジング13の外面には、ロック受部13Aが設けられている。一方、雄側サブコネクタ収容部16の内部には、ロック受部13Aに係止して雄側サブコネクタ11を抜け止め状態に保持するロック部16Aが設けられている。
これにより、後方から雄側サブコネクタ収容部16の内部に雄側サブコネクタ11が図6に示す正規の挿入位置に挿入されると、ロック部16Aがロック受部13Aに係止することによって雄側サブコネクタ11が雄側サブコネクタ収容部16の内部において後方に抜け止めされた状態で収容される。
雄側サブコネクタ11の内部には、図17に示すように、雄端子金具20を収容するキャビティ15が高さ方向に並んで配置されている。キャビティ15は、図6の左側に示すように、雄側サブハウジング13を前後方向に貫通して形成されている。雄端子金具20は、ランス16Bおよびリテーナ17によってキャビティ15の内部で後方に抜け止めされた状態で収容されている。両コネクタ10,60を嵌合させると、両端子金具20,70が電気的に接続される。
雄側フレーム12の両側面には、高さ方向略中央部に、レバー80を支持する一対の支持軸18が突設されている。また、雄側フレーム12の両側面には、図16に示すように、フード部14の前端開口縁から支持軸18に向けて直線状に切り欠いた一対の逃がし溝19が凹み形成されている。両コネクタ10,60の嵌合時には、逃がし溝19に第1カムピン67が進入するようになっている。
レバー80は合成樹脂製であって、図8に示すように、左右一対の板状をなすアーム部81と、両アーム部81を連結する操作部82とからなり、全体として門形に形成されている。アーム部81には支持軸18を受ける軸受孔83が形成されている。レバー80は、その軸受孔83に支持軸18を嵌合させることで、その嵌合位置を中心として、アーム部81が高さ方向に切り立つ待機位置と、アーム部81が雌側コネクタ60の両側面外方を横切って操作部82が雌側コネクタ60の後方に回り込む嵌合位置との間で、回動可能となっている。雌側コネクタ60の後面には、嵌合位置におけるレバー80の操作部82と係止するレバー係止部60Aが後方に突出して設けられている。また、アーム部81の内面には、軸受孔83を中心とする弧状のカム溝84がアーム部81の周縁に開口して形成されている。
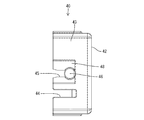
ムービングプレート40は合成樹脂製であって、フード部14内に配置され、各雄端子金具20を縦方向及び横方向において位置決めする役割を担っている。ここで、縦方向及び横方向とは、両コネクタ10,60の嵌合・離脱方向と平行な方向を前後方向としたときに、前後方向と直交する平面において互いに直交する方向をいう。このムービングプレート40は、フード部14内にて前後方向への移動を可能とされている。ムービングプレート40は、図10に示すように、その移動方向と略直角な板状をなす略方形のプレート本体部42と、プレート本体部42の周縁から前方に突出する略角筒状の周壁部43とを備えてなる。両コネクタ10,60の嵌合時、周壁部43の外周面がフード部14の内周面に摺接可能に移動するようになっている。そして、周壁部43の内面には、図8に示すように、両ガイドリブ68と対応する位置に、一対の切り欠き44が形成されている。フード部14の内面のうち両切り欠き44と対応する位置には、ガイドリブ68を受け入れる一対の受け溝14Aが凹み形成されている。
周壁部43の両側面には、高さ方向略中央部に、前後方向に延びて周壁部43の前端縁に開口する一対の導入溝45が第1カムピン67を受け入れ可能に形成されている。そして、周壁部43の両側面には、第2カムピン46が導入溝45を跨ぐようにして外方に突出して形成されている。第2カムピン46は、前方から見ると略門形をなし、その内側に第1カムピン67を嵌合可能としている。第2カムピン46は、その内側へ第1カムピン67が入ってきたときに、両コネクタ10,60の嵌合完了に至るまでの間、第1カムピン67と合体した状態でレバー80のカム溝84に係合される。これにより、レバー80の回動操作により、雌側コネクタ60とムービングプレート40が一体となって移動するようになっている。
導入溝45の両側壁を構成する部分は、図11に示すように、周壁部43の外側面から外方に突出する規制突部48とされている。規制突部48は、周壁部43の両側面にそれぞれ設けられ、同側面からオーバーハング状に張り出すとともに、図12ないし図14に示すように、前後方向に延びる形態をなしている。一方、ムービングプレート40を収容するフード部14の内周面には、図17に示すように、両規制突部48を受け入れる一対の規制凹部21が設けられている。両規制凹部21は、両規制突部48とあり溝状に嵌合可能である。これにより、周壁部43が成形過程で内側に凹んで形成された場合であっても、両規制突部48と両規制凹部21が嵌合することによって周壁部43を正規の姿勢に矯正することができる。
また、プレート本体部42には、図11に示すように、各雄端子金具20を挿通する位置決め孔47が整列して貫通形成されている。位置決め孔47は、詳細には図15に示すように、プレート本体部42の後面にラッパ状に拡開されることで各雄端子金具20の誘い込みをなす一方、プレート本体部42の前面に窄み状態で開口されることで各雄端子金具20の位置決めを保障している。ムービングプレート40は、両コネクタ10,60の嵌合時、プレート本体部42が各雄側サブコネクタ11の前面より浮いた状態となる初期の組付け位置(以下、初期位置)からプレート本体部42が各雄側サブコネクタ11の前面に当接する嵌合完了時の位置(終端位置)にかけて移動するわけであるが、その移動経路のいずれの位置にあっても、雄端子金具20は位置決め孔47に貫通した状態に保たれ、これによって雄端子金具20の位置決めが確実になされる。ムービングプレート40が初期位置にあるときに、プレート本体部42の前面には、図6に示すように、雄端子金具20の先端部が突出して嵌合面側に臨むようになっている。この状態で、図示しない導通検査に供される。なお、フード部14内における各雄端子金具20の先端位置は前後方向について同じ位置に揃っている。
さて、プレート本体部42の前面(雌側コネクタ60との対向面)には、図10に示すように、複数の保護壁41が前方に突出して設けられている。これらの保護壁41は、雌側コネクタ60の前面(雄側コネクタ10との嵌合面)に形成された凹部66と対応して設けられている。すなわち、両コネクタ10,60の嵌合時に、各雌側サブコネクタ61は、保護壁41によって区画されることを意味する。これは、換言すると、各雄側サブコネクタ11を区画する位置に保護壁41が設けられていることを意味する。つまり、いずれか一の雄側サブコネクタ11に並んで配置された複数の雄端子金具20を一の雄端子金具群20としたときに、保護壁41は、一の雄端子金具群20とこれに隣り合う他の雄端子金具群20との間に配置されている。したがって、一の雄端子金具群20を挿通する複数の位置決め孔47を一の位置決め孔群47としたときに、図11に示すように、保護壁41は、一の位置決め孔群47とこれに隣り合う他の位置決め孔群47との間に配置されている。
保護壁41は、プレート本体部42の前面から略垂直に立ち上がる形態をなしてプレート本体部42に連結されている。また、保護壁41の前端部における両端部からプレート本体部42に至る両側縁は、周壁部43にそれぞれ連結されている。詳細には、保護壁41は、周壁部43のうち第2カムピン46が設けられていない一対の壁部を連結している。この結果、保護壁41は、周壁部43のうち第2カムピン46が設けられている一対の壁部とほぼ平行をなして配置されている。これにより、保護壁41は、両側縁が周壁部43に連結されることでプレート本体部42の前面に倒れることが規制されるとともに、ムービングプレート40全体も、保護壁41と一体に連結されることで剛性が高くなっている。
保護壁41の前端部には、幅方向中央と幅方向両側とを切り欠くことによって3つの切欠部41Aが形成されている。3つの切欠部41Aのうち中央の切欠部41Aには、両コネクタ10,60の嵌合時に、雌側コネクタ60のロック部64Aが配置されるようになっている。すなわち、同中央の切欠部41Aによって、両コネクタ10,60の嵌合時に、保護壁41とロック部64Aとの干渉が回避できるようになっている。
また、保護壁41には、3つの切欠部41Aのうち中央の切欠部41Aに対応する位置に、保護壁41の側方に張り出すようにして一対の対向壁(本発明の「補強壁」の一例)41Bが連設されている。このため、保護壁41がプレート本体部42の前面に倒れることが規制される。また、対向壁41Bの前端部は、切欠部41Aの前端部と面一をなしている。したがって、雌側コネクタ60が不正姿勢でフード部14内に進入してきたときに、雌側コネクタ60と干渉可能な面積が増加することとなり、雌側コネクタ60が保護壁41もしくは両対向壁41Bと干渉しやすくなる。よって、雄端子金具20の変形を効果的に防ぐことができる。
プレート本体部42において両対向壁41B間に対応する位置には、図11に示すように、ロック部16Aの解除操作を行う解除治具を挿通させる通し孔(本発明の「治具挿入用の孔」の一例)42Aが貫通形成されている。したがって、ムービングプレート40がフード部14内に収容された状態であっても、通し孔42Aに解除治具を通して挿入することにより、ロック部16Aとロック受部13Aとの係止を解除することができる。このとき、解除治具は、両対向壁41B間を通って通し孔42Aに挿入されるため、解除治具が雄端子金具20に接触することを回避でき、雄端子金具20の変形などを防ぐことができる。
なお、保護壁41は、図7に示すように、前方に向かうほど細くなる形状とされている。また、保護壁41の前端の内外縁(厚み方向両端縁)は切り欠かれて面取りされている。これにより、両コネクタ10,60の嵌合時に、保護壁41の両側面によって保護壁41を凹部66内に進入させる際の誘い込みが行われ、雌側コネクタ60の凹部66に保護壁41が嵌合し、ムービングプレート40がフード部14内を位置決め状態で移動可能となっている。
ところで、図6に示すように、保護壁41のプレート本体部42の前面からの突出量は、位置決め孔47から前方に突出した雄端子金具20の先端部の突出量よりも大きくなっている。この理由は、図4または図5に示すように、フード部14内にムービングプレート40が初期位置にて収容された状態で、同フード部14内に前方から不正姿勢をとった雌側コネクタ60が進入してきても、雌側コネクタ60の角部が保護壁41の前端部に突き当たることを回避し、雄端子金具20の損傷を防ぐためである。
特に、本実施形態の雌側コネクタ60は略正方形のブロック状をなし、これに伴って、雄側コネクタ10は略正方形の間口を有するフード部14を備えているため、雌側コネクタ60の嵌合面における4辺に位置するいずれの角部も、等しい確率をもってフード部14内に傾いた姿勢で進入してくる可能性がある。このため、仮に保護壁を全ての位置決め孔47の集合した孔群を囲む外回りに突設して設けると、孔群の中央部に雌側コネクタ60の嵌合面におけるいずれかの角部が進入してきた場合に、雄端子金具20が損傷を受けやすくなってしまう。その点、本実施形態では、複数の保護壁41が隣り合う雄端子金具群20の間に配置されているため、フード部14の前面の中央部に雌側コネクタ60の嵌合面の角部が進入してきても、隣り合う保護壁41が雌側コネクタ60の嵌合面において隣り合ういずれか2辺に接触することにより、雄端子金具20の先端部が同嵌合面の角部によって損傷を受けることを回避できる。
本実施形態は以上のような構成であって、続いてその作用を説明する。まず、雌側コネクタ60と雄側コネクタ10とを嵌合する際には、図6に示すように、周壁部43の外周面をフード部14の内周面に沿わせつつ、図2に示すように、ムービングプレート40を初期位置に留め置くとともに、レバー80を待機位置に保持させる。その状態で、フード部14内に前方から雌側コネクタ60を進入させる。この場合に、図7に示すように、雌側コネクタ60が正規姿勢をとってフード部14内に進入すると、つまり、雌側コネクタ60がその前面(嵌合面)を高さ方向に沿わせるようその前面を前後軸と略直角な方向に向けた状態でフード部14内に進入すると、ムービングプレート40内に雌側コネクタ60が嵌入し、雌側コネクタ60の側面が周壁部43によって包囲されるとともに、雌側コネクタ60の前面がプレート本体部42の前面と対面する。この状態では、図2に示すように、第1カムピン67がレバー80のカム溝84の入口に進入するとともに導入溝45に嵌入され、第1カムピン67と第2カムピン46が合体した状態でカム溝84と係合可能となる。
次に、レバー80を嵌合位置側へ回動すると、第2カムピン46とカム溝84との係合によるカム作用により、雌側コネクタ60がフード部14の奥側へ引き込まれるように相対移動し、両コネクタ10,60が互いに接近する。このとき、プレート本体部42の保護壁41が雌側コネクタ60の凹部66に嵌入した状態となり、ムービングプレート40が雌側コネクタ60と一体となってフード部14の奥側へ平行に移動する。ムービングプレート40が移動する間、各雄端子金具20は、位置決め孔47を貫通したままであって正しい位置に保持され、その先端側から順次雌端子金具70内に入り込み、雌端子金具70側との嵌合深さを増していく。そして、ムービングプレート40が終端位置に至ってレバー80が嵌合位置に達すると、図3に示すように、両コネクタ10,60が正規嵌合状態となり、雄端子金具20が雌端子金具70に正規深さで嵌合して、両端子金具20,70が導通可能に接続される。
一方、雌側コネクタ60が不正姿勢をとってフード部14内に進入すると、つまり、雌側コネクタ60の嵌合面における4辺のうちいずれか一方の辺(角部)60Bが他方の辺(角部)60Cに先行してフード部14内に入ると、図4に示すように、雌側コネクタ60がその前面を前後方向に対し縦方向に傾けた状態でフード部14内に進入し、あるいは、図5に示すように、雌側コネクタ60がその前面を前後方向に対し横方向に傾けた状態でフード部14内に進入する。すると、一方の辺(角部)60Bは、保護壁41の前端、詳細には隣り合う両保護壁41の前端に突き当たってそこで受け止められる。このとき、一方の辺(角部)60Bは、隣り合う両保護壁41間に配された雄端子金具20上を跨ぐように配され、その幅方向両端部が両保護壁41に接触するものの、その幅方向中間部が雄端子金具20と非接触状態に保たれる。したがって、雌側コネクタ60が不正姿勢をとってフード部14内に進入してきても、雌側コネクタ60における一方の辺(角部)60Bに雄端子金具20の先端が接触することはなく、つまり、保護壁41によって雄端子金具20が保護状態に置かれる。なお、雌側コネクタ60の前面が前後方向に対し縦方向や横方向に位置ずれした場合には、雌側コネクタ60の前面がフード部14の開口縁に突き当たるから、そもそも雌側コネクタ60がフード部14内に進入することはない。よって、雌側コネクタ60が不正姿勢をとってフード部14内に進入する態様としては、上記した雌側コネクタ60の前面が前後方向に対し縦方向や横方向に傾いた場合のみを考慮すれば足りる。
以上説明したように本実施形態によれば、次の効果を奏する。フード部14内に前方から不正姿勢をとった雌側コネクタ60が進入してきた場合に、雌側コネクタ60の一方の角部60Bが保護壁41の前端に突き当たることで、雄端子金具20との接触を回避できるから、雄端子金具20が塑性変形するのを防止できる。また、保護壁41を前方に向かうほど細くなる形状としたから、保護壁41を凹部66に進入させる際の誘い込みが可能である。また、保護壁41の前端に切り欠き44を設けたから、この切り欠き44にロック部64Aが収容されることで保護壁41とロック部64Aとが干渉することを回避できる。
<他の実施形態>
本発明は上記記述及び図面によって説明した実施形態に限定されるものではなく、例えば次のような実施形態も本発明の技術的範囲に含まれる。
(1)本実施形態では、ムービングプレート40が初期位置にあるときに切り欠き44が雄端子金具20の先端部より前方に突出した位置に配されているものの、本発明によると、初期位置にて切り欠き44が雄端子金具20の先端部より引っ込んだ位置に配されていても、保護壁41の切り欠き44以外の部分によって雄端子金具20の変形を防止できる構造であればよい。
(2)本実施形態では、保護壁41の両側縁が周壁部43に連結されているものの、本発明によると、保護壁41の両側縁が周壁部43に連結されていないものでもよい。また、ムービングプレート40が周壁部43を備えていない構成としてもよい。
(3)本実施形態では、雄側サブコネクタ11に設けられた複数の雄端子金具20を一の雄端子金具群20と定義しているものの、本発明によると、雄側サブコネクタ11内において2列で配された複数の雄端子金具20のうち一列目に配された複数の雄端子金具20を一の雄端子金具群20とし、同二列目に配された複数の雄端子金具20を他の雄端子金具群20と定義してもよい。
(4)本実施形態では、保護壁41の前端が雄端子金具20の先端部より前方に突出しているものの、本発明によると、保護壁41の前端が雄端子金具20の先端部と同じ位置に揃っていていもよい。
(5)本発明は、レバー式でないコネクタに適用してもよい。
(6)本実施形態では、保護壁41が先端に向かうほど細くなる形状としているものの、本発明によると、保護壁41を同一幅で突出する形態としてもよい。
(7)本実施形態では、保護壁41の前端部における幅方向両側と幅方向中央にそれぞれ切り欠き44を設けているものの、本発明によると、保護壁41の前端部における幅方向中央のみに切り欠き44を設けてもよいし、切り欠き44を全く設けなくてもよい。
(8)本実施形態では、保護壁41に両対向壁41Bが連設されているものの、本発明によると、両対向壁41Bの代わりに単一の補強壁を設けてもよく、この場合には通し孔42Aを設けない構成としてもよい。
実施形態1におけるムービングプレートを雄側コネクタに組み付ける前の状態であって両コネクタの嵌合前の状態を示した側面図 ムービングプレートを雄側コネクタに対し初期位置に組み付けた状態であって両コネクタの嵌合前の状態を示した側面図 両コネクタの嵌合後の状態を示した側面図 雌側コネクタが嵌合方向に対し縦方向に傾いた不正姿勢をとってフード内に進入してきた状態を示す側断面図 雌側コネクタが嵌合方向に対し横方向に傾いた不正姿勢をとってフード内に進入してきた状態を示す側断面図 ムービングプレートを雄側コネクタに対し初期位置に組み付けた状態であって両コネクタの嵌合前の状態を示した側断面図 初期位置においてフード内に雌側コネクタが正規に嵌合した状態を示した側断面図 雄側コネクタの正面図 雌側コネクタの正面図 ムービングプレートの斜視図 ムービングプレートの正面図 ムービングプレートの側面図 ムービングプレートの平面図 ムービングプレートの底面図 ムービングプレートの背面図 雄側ハウジングの側面図 雄側ハウジングの正面図
符号の説明
10…雄側コネクタ
11…雄側サブコネクタ
12…雄側フレーム
13…雄側サブハウジング
14…フード部
20…雄端子金具
40…ムービングプレート
41…保護壁
41A…切欠部
42…プレート本体部
47…位置決め孔
60…雌側コネクタ
61…雌側サブコネクタ
62…雌側フレーム
63…雌側サブハウジング
66…凹部

Claims (4)

  1. 複数のサブハウジングがフレームに組み付けられることで、筒状のフード部が設けられた雄側ハウジングと、前方から前記フード部内に嵌合される雌側ハウジングと、前記雄側ハウジング内に収容された雄端子金具を前記フード部内にて位置決めするムービングプレートとを備え、
    前記ムービングプレートは、位置決め孔を有し板状のプレート本体部を備え、前記プレート本体部は、前記雄端子金具の先端部が前記位置決め孔を通って前記プレート本体部の前面側に突出する初期位置から前記雌側ハウジングとともに前記フード部の奥側に移動し、
    前記プレート本体部に、前記初期位置にて突出する前記雄端子金具の先端部を保護する保護壁が前方に突出して設けられ、前記雌側ハウジングに、前記保護壁を逃がす凹部が設けられているコネクタであって、
    前記保護壁は、一の前記サブハウジングに並んで設けられた複数の前記雄端子金具を一の雄端子金具群としたときに、前記一の雄端子金具群とこれに隣り合う他の前記雄端子金具群との間に配置されていることを特徴とするコネクタ。
  2. 前記保護壁は、前方に向かうほど細くなる形状とされている請求項1に記載のコネクタ。
  3. 前記ムービングプレートは、前記プレート本体部の周縁から前方に突出する周壁部を備え、前記保護壁の前端部における両端部から前記プレート本体部に至る両側縁は、前記周壁部にそれぞれ連結されており、
    前記保護壁には、前端部を切り欠くことにより切欠部が形成されている請求項1または請求項2に記載のコネクタ。
  4. 前記保護壁には、側方に張り出すようにして補強壁が連設されており、前記プレート本体部において前記補強壁と対応する位置には、治具挿入用の孔が設けられている請求項3に記載のコネクタ。
JP2008325122A 2008-12-22 2008-12-22 コネクタ Expired - Fee Related JP5151962B2 (ja)

Priority Applications (4)

Application Number Priority Date Filing Date Title
JP2008325122A JP5151962B2 (ja) 2008-12-22 2008-12-22 コネクタ
DE102009056184A DE102009056184B4 (de) 2008-12-22 2009-11-27 Verbinder
CN2009102604683A CN101901989B (zh) 2008-12-22 2009-12-15 连接器
US12/638,396 US8147261B2 (en) 2008-12-22 2009-12-15 Connector

Applications Claiming Priority (1)

Application Number Priority Date Filing Date Title
JP2008325122A JP5151962B2 (ja) 2008-12-22 2008-12-22 コネクタ

Publications (2)

Publication Number Publication Date
JP2010146930A true JP2010146930A (ja) 2010-07-01
JP5151962B2 JP5151962B2 (ja) 2013-02-27

Family

ID=42567106

Family Applications (1)

Application Number Title Priority Date Filing Date
JP2008325122A Expired - Fee Related JP5151962B2 (ja) 2008-12-22 2008-12-22 コネクタ

Country Status (1)

Country Link
JP (1) JP5151962B2 (ja)

Cited By (4)

* Cited by examiner, † Cited by third party
Publication number Priority date Publication date Assignee Title
JP2016096027A (ja) * 2014-11-14 2016-05-26 矢崎総業株式会社 コネクタ
WO2017204017A1 (ja) * 2016-05-24 2017-11-30 日本端子株式会社 プラグ側コネクタの組合体、機器側コネクタおよびコネクタ対
WO2017204021A1 (ja) * 2016-05-24 2017-11-30 日本端子株式会社 コネクタ構造
WO2019026563A1 (ja) * 2017-07-31 2019-02-07 住友電装株式会社 コネクタ

Families Citing this family (1)

* Cited by examiner, † Cited by third party
Publication number Priority date Publication date Assignee Title
KR101320881B1 (ko) * 2012-09-06 2013-10-23 주식회사 유라코퍼레이션 단자가이드를 갖는 커넥터

Citations (4)

* Cited by examiner, † Cited by third party
Publication number Priority date Publication date Assignee Title
JP2002334744A (ja) * 2001-05-07 2002-11-22 Sumitomo Wiring Syst Ltd レバー式コネクタ
EP1443607A2 (en) * 2003-01-24 2004-08-04 Delphi Technologies, Inc. Electrical connector assembly
JP2004355969A (ja) * 2003-05-29 2004-12-16 Sumitomo Wiring Syst Ltd コネクタ
JP2008210614A (ja) * 2007-02-26 2008-09-11 Sumitomo Wiring Syst Ltd コネクタ

Patent Citations (4)

* Cited by examiner, † Cited by third party
Publication number Priority date Publication date Assignee Title
JP2002334744A (ja) * 2001-05-07 2002-11-22 Sumitomo Wiring Syst Ltd レバー式コネクタ
EP1443607A2 (en) * 2003-01-24 2004-08-04 Delphi Technologies, Inc. Electrical connector assembly
JP2004355969A (ja) * 2003-05-29 2004-12-16 Sumitomo Wiring Syst Ltd コネクタ
JP2008210614A (ja) * 2007-02-26 2008-09-11 Sumitomo Wiring Syst Ltd コネクタ

Cited By (8)

* Cited by examiner, † Cited by third party
Publication number Priority date Publication date Assignee Title
JP2016096027A (ja) * 2014-11-14 2016-05-26 矢崎総業株式会社 コネクタ
WO2017204017A1 (ja) * 2016-05-24 2017-11-30 日本端子株式会社 プラグ側コネクタの組合体、機器側コネクタおよびコネクタ対
WO2017204021A1 (ja) * 2016-05-24 2017-11-30 日本端子株式会社 コネクタ構造
JPWO2017204021A1 (ja) * 2016-05-24 2019-03-22 日本端子株式会社 コネクタ構造
JPWO2017204017A1 (ja) * 2016-05-24 2019-04-11 日本端子株式会社 プラグ側コネクタの組合体、機器側コネクタおよびコネクタ対
US10404006B2 (en) 2016-05-24 2019-09-03 Nippon Tanshi Co., Ltd. Plug side connector assembly, device side connector and connector pair
US10673173B2 (en) 2016-05-24 2020-06-02 Nippon Tanshi Co., Ltd. Connector structure
WO2019026563A1 (ja) * 2017-07-31 2019-02-07 住友電装株式会社 コネクタ

Also Published As

Publication number Publication date
JP5151962B2 (ja) 2013-02-27

Similar Documents

Publication Publication Date Title
JP5012086B2 (ja) コネクタ
JP5111995B2 (ja) コネクタ
US7581969B2 (en) Connector with auxiliary housing having inverted insertion preventing portion
EP1863134B1 (en) A connector
JP5211639B2 (ja) コネクタ
EP2284957B1 (en) Waterproof structure and waterproof connector
CN101901989A (zh) 连接器
JP5151962B2 (ja) コネクタ
JP5238481B2 (ja) 電気コネクタ
JP2003007388A (ja) コネクタ
JP3983380B2 (ja) コネクタ
CN110945722B (zh) 连接器
JP2008270152A (ja) コネクタ
JP5360469B2 (ja) コネクタ
JP4544065B2 (ja) コネクタ
US20180062299A1 (en) Split connector
US7208329B2 (en) Connector
JP4987624B2 (ja) 分割式コネクタ
JP5233814B2 (ja) 分割コネクタ用保護キャップ付きサブコネクタ及び分割コネクタの製造方法
JP2019175728A (ja) コネクタ
JP7460474B2 (ja) コネクタの製造方法
JP2011044386A (ja) 分割コネクタ
JP2010020935A (ja) シールドコネクタ
US20240421529A1 (en) Connector
JP2006100167A (ja) 電気コネクタ用ハウジング

Legal Events

Date Code Title Description
A621 Written request for application examination

Free format text: JAPANESE INTERMEDIATE CODE: A621

Effective date: 20110330

A131 Notification of reasons for refusal

Free format text: JAPANESE INTERMEDIATE CODE: A131

Effective date: 20120830

A977 Report on retrieval

Free format text: JAPANESE INTERMEDIATE CODE: A971007

Effective date: 20120831

A521 Request for written amendment filed

Free format text: JAPANESE INTERMEDIATE CODE: A523

Effective date: 20121015

TRDD Decision of grant or rejection written
A01 Written decision to grant a patent or to grant a registration (utility model)

Free format text: JAPANESE INTERMEDIATE CODE: A01

Effective date: 20121106

A61 First payment of annual fees (during grant procedure)

Free format text: JAPANESE INTERMEDIATE CODE: A61

Effective date: 20121119

FPAY Renewal fee payment (event date is renewal date of database)

Free format text: PAYMENT UNTIL: 20151214

Year of fee payment: 3

R150 Certificate of patent or registration of utility model

Ref document number: 5151962

Country of ref document: JP

Free format text: JAPANESE INTERMEDIATE CODE: R150

Free format text: JAPANESE INTERMEDIATE CODE: R150

LAPS Cancellation because of no payment of annual fees