JP2010146883A - 蓄電装置 - Google Patents
蓄電装置 Download PDFInfo
- Publication number
- JP2010146883A JP2010146883A JP2008323755A JP2008323755A JP2010146883A JP 2010146883 A JP2010146883 A JP 2010146883A JP 2008323755 A JP2008323755 A JP 2008323755A JP 2008323755 A JP2008323755 A JP 2008323755A JP 2010146883 A JP2010146883 A JP 2010146883A
- Authority
- JP
- Japan
- Prior art keywords
- liquid
- power storage
- storage device
- battery
- bubbles
- Prior art date
- Legal status (The legal status is an assumption and is not a legal conclusion. Google has not performed a legal analysis and makes no representation as to the accuracy of the status listed.)
- Pending
Links
Images
Classifications
-
- Y—GENERAL TAGGING OF NEW TECHNOLOGICAL DEVELOPMENTS; GENERAL TAGGING OF CROSS-SECTIONAL TECHNOLOGIES SPANNING OVER SEVERAL SECTIONS OF THE IPC; TECHNICAL SUBJECTS COVERED BY FORMER USPC CROSS-REFERENCE ART COLLECTIONS [XRACs] AND DIGESTS
- Y02—TECHNOLOGIES OR APPLICATIONS FOR MITIGATION OR ADAPTATION AGAINST CLIMATE CHANGE
- Y02E—REDUCTION OF GREENHOUSE GAS [GHG] EMISSIONS, RELATED TO ENERGY GENERATION, TRANSMISSION OR DISTRIBUTION
- Y02E60/00—Enabling technologies; Technologies with a potential or indirect contribution to GHG emissions mitigation
- Y02E60/10—Energy storage using batteries
Landscapes
- Secondary Cells (AREA)
Abstract
【課題】 簡易な構成において、蓄電素子の温度調節を行うことができる蓄電装置を提供する。
【解決手段】 蓄電装置(1)は、複数の蓄電素子(11)を含む蓄電モジュール(10)と、蓄電モジュールとともにケース(20,21,22)内に収容される第1および第2の液体(30,40)と、を有している。第2の液体(40)は、第1の液体(30)よりも比重が大きいとともに、温度上昇に応じて気化可能であり、第2の液体が気化したときの気泡の上昇によって、第1の液体に流動力を与えるようにしている。
【選択図】 図2
【解決手段】 蓄電装置(1)は、複数の蓄電素子(11)を含む蓄電モジュール(10)と、蓄電モジュールとともにケース(20,21,22)内に収容される第1および第2の液体(30,40)と、を有している。第2の液体(40)は、第1の液体(30)よりも比重が大きいとともに、温度上昇に応じて気化可能であり、第2の液体が気化したときの気泡の上昇によって、第1の液体に流動力を与えるようにしている。
【選択図】 図2
Description
本発明は、蓄電素子が液体とともにケース内に収容された蓄電装置であって、具体的には、液体を用いて蓄電素子の温度調節を行うことができる蓄電装置に関するものである。
二次電池は充放電によって発熱するため、温度上昇に伴う電池性能の劣化を抑制するためには、二次電池を冷却する必要がある。そこで、二次電池を冷却するための構成が提案されている。
例えば、電池パックに循環通路を接続して、冷却液を電池パックの内部および外部で循環させるようにしたものがある(例えば、特許文献1−4参照)。この構成では、電池パック内の二次電池が発熱したときに、二次電池の熱が冷却液に伝達され、熱を持った冷却液が循環通路を介して電池パックの外部に移動する。そして、この冷却液は、循環通路上に配置されたラジエータ等の熱交換器によって冷却された後に、再度、電池パックに戻るようになっている。
一方、電池パック内において、二次電池を冷却液に漬けておき、冷却液中にガスを供給するようにしているものがある(例えば、特許文献5−6参照)。この構成では、供給されたガスによって冷却液の温度を低下させ、冷却された冷却液によって二次電池を冷却するようにしている。
特開2003−346924号公報
特開平09−167631号公報
特開2008−181756号公報
特開2006−127921号公報
特開2008−130489号公報
特開2006−331956号公報
特開平11−26031号公報
特開2008−108648号公報
特開2008−204761号公報
特許文献1−4に記載の構成では、電池パックに対して、循環通路や熱交換器を接続しなければならないため、二次電池を冷却するための構造が複雑になったり、大型化したりしてしまう。同様に、特許文献5−6に記載の構成では、電池パックに対して、ガスを供給するための機構を接続しなければならないため、二次電池を冷却するための構造が複雑になったり、大型化したりしてしまう。
そこで、本発明の目的は、簡易な構成において、蓄電素子の温度調節を行うことができる蓄電装置を提供することにある。
本発明の蓄電装置は、複数の蓄電素子を含む蓄電モジュールと、蓄電モジュールとともにケース内に収容される第1および第2の液体と、を有している。そして、第2の液体は、第1の液体よりも比重が大きいとともに、温度上昇に応じて気化可能であり、第2の液体が気化したときの気泡の上昇動作によって、第1の液体に流動力を与えるようにしている。また、気泡が液化したときの第2の液体の下降動作によって、第1の液体に流動力を与えることができる。
ここで、第1の液体として絶縁油を用い、第2の液体としてフッ素系不活性液体を用いることができる。また、第1の液体の液面をケースの上面から離すことにより、ケース内に気体層を設けることができる。これにより、第2の液体を気化させた場合において、ケースの内圧が過度に上昇してしまうのを抑制することができる。
また、第1の液体は、蓄電モジュールを構成するすべての蓄電素子と接触させておくことができる。これにより、第1の液体を流動させたときに、第1の液体を介した蓄電素子の温度調節を効率良く行うことができる。
さらに、第2の液体の量を、第1の液体の量よりも少なくすることができる。これにより、第2の液体として、フッ素系不活性液体といった高価な材料を用いた場合において、蓄電装置のコストアップを抑制することができる。具体的には、第2の液体を、蓄電モジュールのうち、最も下方に位置する蓄電素子と接触させておくことができる。この場合には、最も下方に位置する蓄電素子が発熱した場合において、この熱を第2の液体に直接伝達させることができる。
本発明では、温度上昇に応じて第2の液体を気化させることにより、気泡の上昇動作を利用して第1の液体を流動させるようにしている。これにより、第1の液体を介した蓄電素子の温度調節を効率良く行うことができる。
以下、本発明の実施例について説明する。
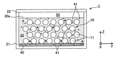
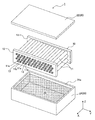
本発明の実施例1である電池パック(蓄電装置)の構成について、図1および図2を用いて説明する。図1は、電池パックの構成を示す分解斜視図であり、図2は、電池パックの内部構成を示す断面図である。ここで、図中に示すX軸、Y軸およびZ軸は、互いに直交する軸であり、Z軸が重力方向に相当する。
本実施例の電池パック1は、車両に搭載することができる。この車両としては、ハイブリッド自動車や電気自動車がある。ハイブリッド自動車とは、電池パック1の他に、車両の走行に用いられるエネルギを出力する、内燃機関や燃料電池といった他の動力源を備えた車である。また、電気自動車は、電池パック1の出力だけを用いて走行する車である。本実施例の電池パック1は、放電によって車両の走行に用いられるエネルギを出力したり、車両の制動時に発生する運動エネルギを回生電力として充電したりする。なお、車両の外部から電力を供給することにより、電池パック1を充電することもできる。
電池パック1は、電池モジュール(蓄電モジュール)10およびパックケース20を有している。パックケース20は、電池モジュール10を収容するための空間を形成する収容部材21と、収容部材21の開口部21aを塞ぐ蓋部材22とを有している。蓋部材22は、収容部材21にネジ等の締結部材によって固定されたり、溶接によって固定されたりする。そして、パックケース20の内部は、密閉状態となっている。
収容部材21および蓋部材22は、熱伝導性や耐食性等に優れた材料、例えば、アルミニウムや鉄等といった金属で形成することができる。なお、本実施例では、収容部材21や蓋部材22の外壁面を平坦な面で構成しているが、これに限るものではない。具体的には、収容部材21および蓋部材22のうち少なくとも一方の外壁面に、放熱フィンを設けることができる。これにより、後述するように、放熱フィンを介して、電池パック1の放熱性を向上させることができる。
電池モジュール10は、複数の単電池(蓄電素子としての二次電池)11が電気的に直列に接続されたものである。複数の単電池11は、パックケース20の内部において、並列に配置されている。二次電池としては、ニッケル水素電池やリチウムイオン電池を用いることができる。また、二次電池の代わりに、電気二重層キャパシタを用いることもできる。本実施例では、円筒型の単電池11を用いているが、角型等の他の形状の単電池を用いることもできる。
各単電池11は、発電要素(不図示)と、発電要素を密閉状態で収容する電池ケースとを有している。発電要素は、充放電を行うことができる要素であり、例えば、正極素子と、負極素子と、電解液を含むセパレータとで構成することができる。正極素子は、集電板の表面に正極活物質の層を形成したものであり、負極素子は、集電板の表面に負極活物質の層を形成したものである。
各単電池11の両端には、正極端子11aおよび負極端子11bがそれぞれ設けられている。正極端子11aは、発電要素の正極素子と電気的および機械的に接続されており、負極端子11bは、発電要素の負極素子と電気的および機械的に接続されている。各単電池11の正極端子11aは、隣り合って配置された他の単電池11の負極端子11bとバスバー13を介して電気的に接続されている。これにより、複数の単電池11は、電気的に直列に接続されることになる。
各単電池11は、両端側において、一対の支持板12によって支持されている。これらの支持板12は、ネジ等の締結部材(不図示)によって、パックケース20(収容部材21)に固定されている。なお、本実施例では、2つの支持板12を用いているが、これらの支持板12を一体として構成することもできる。また、角型の単電池11を用いた場合には、例えば、スペーサを挟んだ状態で複数の単電池11を一方向に並べておき、これらの単電池11を配列方向の両端からエンドプレートによって挟むことができる。
複数の単電池11のうち特定(2つ)の単電池11には、不図示ではあるが、総マイナスケーブルおよび総プラスケーブルが接続されている。これらのケーブルは、電池パック1の外部に配置された機器に接続されている。本実施例の電池パック1を車両に搭載した場合には、上述した機器として、例えば、電池モジュール10の電圧を昇圧するためのDC/DCコンバータや、直流電流および交流電流の変換を行うインバータが挙げられる。
一方、パックケース20の内部には、電池モジュール10の他に、電池モジュール10との間で主に熱交換を行うための第1の液体30および第2の液体40が収容されている。第1および第2の液体30,40は、後述するように、電池モジュール10(単電池11)の温度を調節するために用いられる。また、第1および第2の液体30,40は、絶縁性および熱伝導性を有している。
パックケース20内の上部には、図2に示すように、空気層50が形成されている。すなわち、第1の液体30の液面30aが、蓋部材22の内壁面から離れており、このスペースに空気が存在している。なお、空気の代わりに、例えば、希ガスといった他の気体を用いることもできる。
第1の液体30の液面30aは、電池モジュール10よりも上方に位置している。そして、第1の液体30は、電池モジュール10を構成するすべての単電池11と接触しているとともに、収容部材21の内壁面にも接触している。
第2の液体40は、第1の液体30よりも比重が大きくなっている。このため、第1および第2の液体30,40をパックケース20内に充填すると、第2の液体40がパックケース20の底面に位置する。すなわち、パックケース20内には、第1の液体30で形成された層と、第2の液体40で形成された層とが存在する。そして、本実施例では、第2の液体40の層が、電池モジュール10のうち、最も下方に位置する単電池11の一部と接触している。また、第2の液体40は、第1の液体30よりも沸点が低くなっており、熱を受けることにより、気化しやすくなっている。
第1の液体30としては、具体的には、絶縁油を用いることができる。以下の表1には、絶縁油の具体例および特性(比重)を示している。表1において、鉱物油としては、車両のAT(Automatic Transmission)に用いられているオイル、より具体的には、トヨタオートフルードWSを用いている。なお、絶縁油は、表1に示す物質に限るものではなく、第1の液体30に要求される機能を有していれば、他の物質であってもよい。
第2の液体40としては、具体的には、フッ素系不活性液体を用いることができる。以下の表2には、フッ素系不活性液体の具体例および特性(比重および沸点)を示している。なお、フッ素系不活性液体は、表2に示す物質に限るものではなく、第2の液体40に要求される機能を有していれば、他の物質であってもよい。
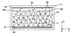
次に、本実施例の電池パック1における電池モジュール10の冷却動作について、図3および図4を用いて説明する。図3および図4は、電池パック1の内部構成を示す概略図であり、図2に対応した図である。
電池モジュール10における単電池11は、充放電によって発熱することがある。ここで、電池モジュール10のうち、最も下方に位置する単電池11が発熱した場合には、この熱が、第1の液体30や第2の液体40に伝達される。また、電池モジュール10のうち、最も下方に位置する単電池11を除く他の単電池11が発熱した場合には、この熱が、第1の液体30に伝達されるとともに、第1の液体30を介して第2の液体40にも伝達される。
第2の液体40は、上述したように低沸点の液体であるため、発熱状態の単電池11から熱を受けることにより気化することがある。すなわち、単電池11からの熱を受けて、第2の液体40の温度が沸点に到達すると、第2の液体40が沸騰して、気泡41が発生する。ここで、第2の液体40を気化させるようにすることで、単電池11の熱を気化熱として吸収することができ、単電池11の温度上昇を抑制することができる。
第2の液体40の気化によって発生した気泡41は、図3に示すように、電池パック1の上方に向かって移動する。このとき、気泡41は第1の液体30中を移動しながら、空気層50に到達する。このように気泡41が移動することにより、第1の液体30に流動力を発生させることができる。すなわち、パックケース20内において、第1の液体30を撹拌することができる。
ここで、本実施例では、気泡41の発生に伴ってパックケース20の内圧が過度に上昇してしまうのを抑制するために、パックケース20内に空気層50を設けている。すなわち、空気層50は液体に比べて圧縮性を有しているため、気泡41の発生に伴う体積膨張を吸収することができる。
なお、パックケース20内に空気層50を設けなくてもよい。具体的には、第1の液体30の液面30aを蓋部材22の内壁面に接触させることができる。ここで、パックケース20に内圧上昇を緩和させるための機構を設けておくことができる。具体的には、パックケース20の内圧が増加したときに膨らむとともに、内圧が低下したときに縮むことができる部材を用いることができる。
第1の液体30は、電池モジュール10を構成する複数の単電池11に接触しているため、単電池11が発熱すると、この熱が第1の液体30に伝達される。ここで、上述したように第1の液体30を流動させると、第1の液体30に伝達された熱をパックケース20に容易に伝達することができる。そして、パックケース20を介して、電池パック1の外部に熱を逃がすことができる。
気泡41が空気層50に到達すると、パックケース20を介した放熱によって、気泡41が液化することになる。すなわち、蓋部材22の内壁面には、気泡41の液化によって、第2の液体40が付着することになる。蓋部材22に付着した第2の液体40は、自重によって落下し、第1の液体30を通過して、収容部材21の底面に到達する。
ここで、蓋部材22の外壁面に対して熱交換媒体(気体又は液体)を供給するようにすれば、蓋部材22を介した放熱を効率良く行うことができ、気泡41を短時間で液化させることができる。なお、蓋部材22の外壁面および内壁面のうち、少なくとも一方の面に、放熱用のフィンを設けることもできる。この場合には、蓋部材22を介した放熱を促進させることができる。
第2の液体40が第1の液体30中を通過することにより、第1の液体30に流動力を与えることができる。これにより、パックケース20内で第1の液体30を撹拌させて、第1の液体30を介した単電池11の放熱を効率良く行うことができる。そして、パックケース20内の温度が第2の液体40の沸点よりも低くなれば、電池パック1は、図4に示す状態から図2に示す状態に戻ることになる。
本実施例によれば、気泡41の上昇動作や、第2の液体40の落下動作を利用して、第1の液体30を撹拌させることができ、従来のように、電池パックに対して循環構造を接続する必要がない。すなわち、本実施例では、パックケース20内に、第1の液体30の他に、第2の液体40を加えるだけであり、電池パック1の構成を簡素化することができる。そして、電池パック1を小型化しつつ、電池モジュール10の温度調節を効率良く行うことができる。
なお、本実施例では、図2等に示すように、電池モジュール10を構成する一部の単電池11に第2の液体40を接触させているが、接触させなくてもよい。具体的には、第1の液体30および第2の液体40の界面を、電池モジュール10のうち最も下方に位置する単電池11よりも下方に位置させることができる。この場合において、単電池11が発熱すると、単電池11の熱が第1の液体30を介して第2の液体40に伝達され、第2の液体40を気化させることができる。
また、第2の液体40の量(体積)は、適宜設定することができる。ここで、第2の液体40として用いられるフッ素系不活性液体は高価であるため、本実施例のように第2の液体40の界面の位置を設定することにより、コストアップを抑制しつつ、第1の液体30を効率良く撹拌することができる。
一方、上述した説明は、単電池11を冷却する場合であるが、本実施例の構成を用いて、単電池11を温めることもできる。具体的には、ヒータを用いて、第1の液体30を直接的又は間接的に温めることにより、単電池11を温めることができる。これにより、環境温度によって単電池11が過度に冷却されて、電池特性が劣化してしまうのを防止することができる。
ここで、第1の液体30を直接的に温める手段としては、例えば、パックケース20内にヒータを配置して、ヒータを第1の液体30と接触させることができる。また、第1の液体30を間接的に温める手段としては、例えば、パックケース20をヒータによって温めるようにし、パックケース20を介して第1の液体30を温めることができる。
第1の液体30を温めれば、この熱を第2の液体40に伝達させて、第2の液体40を気化させることができる。そして、第2の液体40から発生する気泡41によって第1の液体30を流動させることができる。このように、温められた第1の液体30を流動させることにより、電池モジュール10を構成する複数の単電池11を効率良く温めることができる。ここで、ヒータを駆動させれば、単電池11を温めることができ、ヒータの駆動を停止させておけば、単電池11の冷却を行うことができる。
一方、上述した電池パック1において、第1の液体30内における気泡41の量をX−Y平面内で異ならせることができる。具体的には、図5に示す仕切り板60を、第2の液体40の界面や内部に配置することができる。ここで、図5は、仕切り板60をパックケース20内に配置したときの上面図である。
仕切り板60は、複数の開口部60aを有しており、仕切り板60の外縁部は収容部材21の内壁面に接触している。開口部60aは、第2の液体40から発生する気泡41を通過させるために用いられる。また、複数の開口部60aのうち、仕切り板60の中央部(Y方向に関して中央)に位置する開口部60aの開口面積が最も大きく、仕切り板60の外縁に向かって開口部60aの開口面積を段階的に小さくしている。図5に示す構成では、X−Y平面内において、中央部の気泡41の量が最も大きくなり、外縁部における気泡41の量が最も小さくなる。
電池モジュール10において、X−Y平面内の中央部は、外縁部に比べて放熱性が低くなることがある。そこで、図5に示す仕切り板60を用いれば、電池モジュール10における放熱性の違いに応じて気泡41の量を異ならせることができる。すなわち、気泡41の量に応じて第1の液体30の流れを異ならせることができ、電池モジュール10を構成する複数の単電池11における温度バラツキを抑制することができる。
上述した説明は、第2の液体40を気化させる場合であるが、気泡41を液化させる場合についても適用することができる。具体的には、図5に示した仕切り板60を第1の液体30の液面30aや空気層50中に配置することができる。これにより、第1の液体30中を下降する第2の液体40の量を、X−Y平面において異ならせることができる。これにより、第1の液体30の流れを異ならせることができ、電池モジュール10を構成する複数の単電池11における温度バラツキを抑制することができる。
なお、図5に示す仕切り板60の構成は、Y方向の中央部に位置する開口部60aの開口面積を最も大きくしたものであるが、これに限るものではない。すなわち、電池モジュール10のうち、X−Y平面内における温度分布に基づいて、複数の開口部60aの開口面積を適宜設定することができる。例えば、Y方向に関して、電池モジュール10の端に位置する単電池11の温度が高くなりやすければ、この単電池11に対応した開口部60aの開口面積を最も大きくすればよい。
1:電池パック(蓄電装置) 10:電池モジュール(蓄電モジュール)
11:単電池(蓄電素子) 11a:正極端子
11b:負極端子 12:支持板
13:バスバー 20:パックケース
21:収容部材 22:蓋部材
30:第1の液体 40:第2の液体
41:気泡 50:空気層
60:仕切り板 60a:開口部
11:単電池(蓄電素子) 11a:正極端子
11b:負極端子 12:支持板
13:バスバー 20:パックケース
21:収容部材 22:蓋部材
30:第1の液体 40:第2の液体
41:気泡 50:空気層
60:仕切り板 60a:開口部
Claims (7)
- 複数の蓄電素子を含む蓄電モジュールと、
前記蓄電モジュールとともにケース内に収容される第1および第2の液体と、を有し、
前記第2の液体は、前記第1の液体よりも比重が大きいとともに、温度上昇に応じて気化可能であり、
前記第2の液体が気化したときの気泡の上昇によって、前記第1の液体に流動力を与えることを特徴とする蓄電装置。 - 前記気泡が液化したときの前記第2の液体の下降によって、前記第1の液体に流動力を与えることを特徴とする請求項1に記載の蓄電装置。
- 前記第1の液体の液面が前記ケースの上面から離れて気体層が形成されていることを特徴とする請求項1又は2に記載の蓄電装置。
- 前記第1の液体は、前記複数の蓄電素子と接触していることを特徴とする請求項1から3のいずれか1つに記載の蓄電装置。
- 前記第2の液体の量が、前記第1の液体の量よりも少ないことを特徴とする請求項1から4のいずれか1つに記載の蓄電装置。
- 前記第2の液体は、前記蓄電モジュールのうち、最も下方に位置する前記蓄電素子と接触していることを特徴とする請求項1から5のいずれか1つに記載の蓄電装置。
- 前記第1の液体が絶縁油であり、
前記第2の液体がフッ素系不活性液体であることを特徴とする請求項1から6のいずれか1つに記載の蓄電装置。
Priority Applications (1)
| Application Number | Priority Date | Filing Date | Title |
|---|---|---|---|
| JP2008323755A JP2010146883A (ja) | 2008-12-19 | 2008-12-19 | 蓄電装置 |
Applications Claiming Priority (1)
| Application Number | Priority Date | Filing Date | Title |
|---|---|---|---|
| JP2008323755A JP2010146883A (ja) | 2008-12-19 | 2008-12-19 | 蓄電装置 |
Publications (1)
| Publication Number | Publication Date |
|---|---|
| JP2010146883A true JP2010146883A (ja) | 2010-07-01 |
Family
ID=42567070
Family Applications (1)
| Application Number | Title | Priority Date | Filing Date |
|---|---|---|---|
| JP2008323755A Pending JP2010146883A (ja) | 2008-12-19 | 2008-12-19 | 蓄電装置 |
Country Status (1)
| Country | Link |
|---|---|
| JP (1) | JP2010146883A (ja) |
Cited By (7)
| Publication number | Priority date | Publication date | Assignee | Title |
|---|---|---|---|---|
| JP2013062207A (ja) * | 2011-09-15 | 2013-04-04 | Nissan Motor Co Ltd | 二次電池の冷却装置 |
| JP2015041418A (ja) * | 2013-08-20 | 2015-03-02 | トヨタ自動車株式会社 | 電池温度調節装置 |
| CN106450579A (zh) * | 2016-12-19 | 2017-02-22 | 广东工业大学 | 一种气液冷却一体化散热装置及热管理系统 |
| KR20170107792A (ko) * | 2016-03-16 | 2017-09-26 | 주식회사 엘지화학 | 배터리 모듈 |
| CN107851864A (zh) * | 2015-08-14 | 2018-03-27 | 微宏动力系统(湖州)有限公司 | 电池组 |
| CN113764774A (zh) * | 2021-09-09 | 2021-12-07 | 东莞新能安科技有限公司 | 散热箱、电池组系统及用电设备 |
| JP2022067208A (ja) * | 2020-10-20 | 2022-05-06 | プライムプラネットエナジー&ソリューションズ株式会社 | 蓄電装置 |
-
2008
- 2008-12-19 JP JP2008323755A patent/JP2010146883A/ja active Pending
Cited By (17)
| Publication number | Priority date | Publication date | Assignee | Title |
|---|---|---|---|---|
| JP2013062207A (ja) * | 2011-09-15 | 2013-04-04 | Nissan Motor Co Ltd | 二次電池の冷却装置 |
| JP2015041418A (ja) * | 2013-08-20 | 2015-03-02 | トヨタ自動車株式会社 | 電池温度調節装置 |
| US10403941B2 (en) | 2013-08-20 | 2019-09-03 | Toyota Jidosha Kabushiki Kaisha | Temperature controller for battery |
| CN107851864A (zh) * | 2015-08-14 | 2018-03-27 | 微宏动力系统(湖州)有限公司 | 电池组 |
| EP3322015A4 (en) * | 2015-08-14 | 2018-06-13 | Microvast Power Systems Co., Ltd. | Battery |
| US10790559B2 (en) | 2015-08-14 | 2020-09-29 | Microvast Power Systems Co., Ltd. | Battery pack and battery pack system |
| JP2019502232A (ja) * | 2016-03-16 | 2019-01-24 | エルジー・ケム・リミテッド | バッテリーモジュール |
| KR20170107792A (ko) * | 2016-03-16 | 2017-09-26 | 주식회사 엘지화학 | 배터리 모듈 |
| US10601089B2 (en) | 2016-03-16 | 2020-03-24 | Lg Chem, Ltd. | Battery module |
| CN107925029A (zh) * | 2016-03-16 | 2018-04-17 | 株式会社Lg化学 | 电池模块 |
| KR102172515B1 (ko) | 2016-03-16 | 2020-10-30 | 주식회사 엘지화학 | 배터리 모듈 |
| CN107925029B (zh) * | 2016-03-16 | 2021-02-05 | 株式会社Lg化学 | 电池模块 |
| CN106450579A (zh) * | 2016-12-19 | 2017-02-22 | 广东工业大学 | 一种气液冷却一体化散热装置及热管理系统 |
| JP2022067208A (ja) * | 2020-10-20 | 2022-05-06 | プライムプラネットエナジー&ソリューションズ株式会社 | 蓄電装置 |
| JP7249979B2 (ja) | 2020-10-20 | 2023-03-31 | プライムプラネットエナジー&ソリューションズ株式会社 | 蓄電装置 |
| CN113764774A (zh) * | 2021-09-09 | 2021-12-07 | 东莞新能安科技有限公司 | 散热箱、电池组系统及用电设备 |
| CN113764774B (zh) * | 2021-09-09 | 2023-10-17 | 东莞新能安科技有限公司 | 散热箱、电池组系统及用电设备 |
Similar Documents
| Publication | Publication Date | Title |
|---|---|---|
| JP5137480B2 (ja) | 車両用の電源装置 | |
| JP5209036B2 (ja) | 電池組立体、電気自動車、及び電池ハウジング | |
| JP4325721B2 (ja) | 温度調節機構 | |
| KR101431717B1 (ko) | 신규한 구조의 버스 바 | |
| KR102081396B1 (ko) | 배터리 모듈, 이러한 배터리 모듈을 포함하는 배터리 팩 및 이러한 배터리 팩을 포함하는 자동차 | |
| EP2132823B1 (en) | Electricity storage device | |
| JP7155168B2 (ja) | 電源装置及び電源装置を備える電動車両 | |
| CN102576824A (zh) | 用于交通工具的电化学蓄能器以及对其冷却或加热的方法 | |
| JP2010146883A (ja) | 蓄電装置 | |
| US11990592B2 (en) | Battery, apparatus using battery, and manufacturing method and manufacturing device of battery | |
| JP2013178966A (ja) | 電池モジュール | |
| JP2014504779A (ja) | バッテリーモジュール収納装置、バッテリーモジュール温度調節装置、及びそれらを含む電力貯蔵システム | |
| US20120026690A1 (en) | Heat exchange medium and electric storage device | |
| JP5725316B2 (ja) | 二次電池及び電池パック | |
| KR102026386B1 (ko) | 배터리 모듈 | |
| JP2010015955A (ja) | 蓄電装置 | |
| JP2010061988A (ja) | 蓄電装置 | |
| Singh et al. | Battery cooling options in electric vehicles with heat pipes | |
| JP2010015958A (ja) | 蓄電モジュールおよびこの製造方法 | |
| JP5297863B2 (ja) | 蓄電装置 | |
| JP2009289610A (ja) | 温度調節機構 | |
| JP2012234734A (ja) | 電池の冷却装置 | |
| Rajadurai et al. | Battery thermal management in electrical vehicle | |
| KR20200125282A (ko) | 셀 탭 냉각형 배터리 | |
| JP2008308112A (ja) | 車両の電源搭載構造 |
