JP2010146482A - 電子機器及び電子機器の製造方法 - Google Patents

電子機器及び電子機器の製造方法 Download PDF

Info

Publication number
JP2010146482A
JP2010146482A JP2008325762A JP2008325762A JP2010146482A JP 2010146482 A JP2010146482 A JP 2010146482A JP 2008325762 A JP2008325762 A JP 2008325762A JP 2008325762 A JP2008325762 A JP 2008325762A JP 2010146482 A JP2010146482 A JP 2010146482A
Authority
JP
Japan
Prior art keywords
palm rest
electronic device
unit
exterior member
exterior
Prior art date
Legal status (The legal status is an assumption and is not a legal conclusion. Google has not performed a legal analysis and makes no representation as to the accuracy of the status listed.)
Pending
Application number
JP2008325762A
Other languages
English (en)
Inventor
Noriko Kito
紀子 鬼頭
Akira Hanatsuka
暁 花塚
Ryosuke Tobiyama
了介 飛山
Yu Togasaki
優 東ヶ崎
Current Assignee (The listed assignees may be inaccurate. Google has not performed a legal analysis and makes no representation or warranty as to the accuracy of the list.)
Sony Corp
Original Assignee
Sony Corp
Priority date (The priority date is an assumption and is not a legal conclusion. Google has not performed a legal analysis and makes no representation as to the accuracy of the date listed.)
Filing date
Publication date
Application filed by Sony Corp filed Critical Sony Corp
Priority to JP2008325762A priority Critical patent/JP2010146482A/ja
Priority to RU2009146918/08A priority patent/RU2533694C2/ru
Priority to US12/639,444 priority patent/US8279590B2/en
Priority to BRPI0905150-3A priority patent/BRPI0905150A2/pt
Priority to CN2009102622056A priority patent/CN101763148B/zh
Publication of JP2010146482A publication Critical patent/JP2010146482A/ja
Pending legal-status Critical Current

Links

Images

Classifications

    • GPHYSICS
    • G06COMPUTING OR CALCULATING; COUNTING
    • G06FELECTRIC DIGITAL DATA PROCESSING
    • G06F1/00Details not covered by groups G06F3/00 - G06F13/00 and G06F21/00
    • G06F1/16Constructional details or arrangements
    • G06F1/1613Constructional details or arrangements for portable computers
    • G06F1/1615Constructional details or arrangements for portable computers with several enclosures having relative motions, each enclosure supporting at least one I/O or computing function
    • G06F1/1616Constructional details or arrangements for portable computers with several enclosures having relative motions, each enclosure supporting at least one I/O or computing function with folding flat displays, e.g. laptop computers or notebooks having a clamshell configuration, with body parts pivoting to an open position around an axis parallel to the plane they define in closed position
    • GPHYSICS
    • G06COMPUTING OR CALCULATING; COUNTING
    • G06FELECTRIC DIGITAL DATA PROCESSING
    • G06F1/00Details not covered by groups G06F3/00 - G06F13/00 and G06F21/00
    • G06F1/16Constructional details or arrangements
    • G06F1/1613Constructional details or arrangements for portable computers
    • G06F1/1633Constructional details or arrangements of portable computers not specific to the type of enclosures covered by groups G06F1/1615 - G06F1/1626
    • G06F1/1656Details related to functional adaptations of the enclosure, e.g. to provide protection against EMI, shock, water, or to host detachable peripherals like a mouse or removable expansions units like PCMCIA cards, or to provide access to internal components for maintenance or to removable storage supports like CDs or DVDs, or to mechanically mount accessories
    • GPHYSICS
    • G06COMPUTING OR CALCULATING; COUNTING
    • G06FELECTRIC DIGITAL DATA PROCESSING
    • G06F1/00Details not covered by groups G06F3/00 - G06F13/00 and G06F21/00
    • G06F1/16Constructional details or arrangements
    • G06F1/1613Constructional details or arrangements for portable computers
    • G06F1/1633Constructional details or arrangements of portable computers not specific to the type of enclosures covered by groups G06F1/1615 - G06F1/1626
    • G06F1/1662Details related to the integrated keyboard
    • GPHYSICS
    • G06COMPUTING OR CALCULATING; COUNTING
    • G06FELECTRIC DIGITAL DATA PROCESSING
    • G06F1/00Details not covered by groups G06F3/00 - G06F13/00 and G06F21/00
    • G06F1/16Constructional details or arrangements
    • G06F1/18Packaging or power distribution
    • G06F1/181Enclosures
    • GPHYSICS
    • G06COMPUTING OR CALCULATING; COUNTING
    • G06FELECTRIC DIGITAL DATA PROCESSING
    • G06F1/00Details not covered by groups G06F3/00 - G06F13/00 and G06F21/00
    • G06F1/16Constructional details or arrangements
    • G06F1/18Packaging or power distribution
    • G06F1/183Internal mounting support structures, e.g. for supporting printed circuit boards
    • GPHYSICS
    • G06COMPUTING OR CALCULATING; COUNTING
    • G06FELECTRIC DIGITAL DATA PROCESSING
    • G06F1/00Details not covered by groups G06F3/00 - G06F13/00 and G06F21/00
    • G06F1/16Constructional details or arrangements
    • G06F1/20Cooling means
    • G06F1/203Cooling means for portable computers, e.g. for laptops
    • YGENERAL TAGGING OF NEW TECHNOLOGICAL DEVELOPMENTS; GENERAL TAGGING OF CROSS-SECTIONAL TECHNOLOGIES SPANNING OVER SEVERAL SECTIONS OF THE IPC; TECHNICAL SUBJECTS COVERED BY FORMER USPC CROSS-REFERENCE ART COLLECTIONS [XRACs] AND DIGESTS
    • Y10TECHNICAL SUBJECTS COVERED BY FORMER USPC
    • Y10TTECHNICAL SUBJECTS COVERED BY FORMER US CLASSIFICATION
    • Y10T29/00Metal working
    • Y10T29/49Method of mechanical manufacture
    • Y10T29/49826Assembling or joining

Landscapes

  • Engineering & Computer Science (AREA)
  • Theoretical Computer Science (AREA)
  • Computer Hardware Design (AREA)
  • Physics & Mathematics (AREA)
  • General Engineering & Computer Science (AREA)
  • Human Computer Interaction (AREA)
  • General Physics & Mathematics (AREA)
  • Power Engineering (AREA)
  • Mathematical Physics (AREA)
  • Casings For Electric Apparatus (AREA)
  • Input From Keyboards Or The Like (AREA)
  • Cooling Or The Like Of Electrical Apparatus (AREA)

Abstract

【課題】
外表面のデザイン性に優れた電子機器、該電子機器の製造方法を提供する。
【解決手段】
電子機器1の本体部3は、プリント基板42や放熱ユニット43を実装することが可能なフレームパームレスト44を備える。フレームパームレスト44側からフレームパームレスト44のボス60にネジを螺合することで、このネジによりフレームパームレスト44とボトム41とが一体化されている。このため、プリント基板42及び放熱ユニット43をボトム41に固定する必要がないので、ボトム41にボスやリブ等を形成する必要がない。従って、ボトム41の内面46には、ボトム41の周縁部を除いてボス47やネジ孔やリブ等が形成されていない。この結果、ボトム41の外装面45は、ボスやリブ等があるボトムに場合に比べて、成形時にヒケ等が形成されずデザイン性に優れている。
【選択図】図9

Description

本発明は、ノート型パーソナルコンピュータなどの電子機器、電子機器の製造方法に関する。
従来、ノート型パーソナルコンピュータは、キーボードを備える本体部と、本体部に対して開閉可能な表示部とを備えている。本体部は、電子部品が実装された基板と、この基板を収容する外装筺体であるボトムとパームレストとを備えている。この基板等の内蔵部品の多くはボトム側に実装されている。ノート型パーソナルコンピュータを製造するときには、ボトム側に基板等の内蔵部品を実装し、内蔵部品を覆うようにキーボード等をボトムの外側等からネジ止めしている(例えば、特許文献1参照。)。
特開2007−305042(図13、図16)
しかしながら、上述した技術では、基板等の部品をボトムに内蔵するために、ボトムに複数のボスやリブ等が形成されており、ボトムの外側等から基板をネジ止めするので、ボトム側からネジが見えてしまいデザイン性に劣る体裁となってしまう、という問題がある。
以上のような事情に鑑み、本発明の目的は、外表面のデザイン性に優れた電子機器、該電子機器の製造方法を提供することにある。
上記課題を解決するために、本発明に係る電子機器は、収容プレートと、第1の外装部材と、第2の外装部材とを有する。上記収容プレートは、電子機器を構成する複数の部品のうち少なくともキーボード部品を除く複数の部品を収容する。上記第1の外装部材は、上記キーボード部品を保持し、上記電子機器の第1の外装面を構成する。上記第2の外装部材は、上記第1の外装面と表裏の関係にある第2の外装面を構成する。上記収容プレートは、上記第1の外装部材と上記第2の外装部材との間に配置される。
本発明では、電子機器を構成する複数の部品のうち少なくともキーボード部品を除く複数の部品を一体に収容する収容プレートを備えるので、これらの複数の部品を第2の外装部材に配置する必要がない。このため、第2の外装部材にこれらの複数の部品を配置するための接続の箇所を形成する必要がない。この結果、第2の外装部材の外表面のデザイン性を向上させることができる。
上記収容プレートは、上記第1の外装部材に対応する平面形状を有するようにしてもよい。これにより、キーボード部品の剛性を向上させることができる。
上記キーボード部品は、上記収容プレートに対向する第1の面と、上記第1の面に設けられた第1の係合部とを有し、上記収容プレートは、上記キーボード部品の上記第1の面に対向する第2の面と、上記第2の面に設けられ、上記収容プレートの上記第2の面に沿って上記キーボード部品をスライドさせることで上記第1の係合部と係合する第2の係合部とを有するようにしてもよい。これにより、収容プレートに対してキーボード部品をスライドさせることで第1の係合部に第2の係合部を係合させて、収容プレートと、キーボード部品とを組み合わせることができる。
上記複数の部品は発熱体部品を含み、当該電子機器は、上記発熱体及び上記収容プレートに接する熱伝達部品を有する放熱機構を更に具備するようにしてもよい。これにより、発熱体部品の熱を放熱機構及び収容プレートを用いて効率的に放熱することができる。
上記第1の外装部品に設けられ、上記収容プレートに接続するための第1の孔と、上記収容プレートに設けられ、上記第1の孔に対応する第2の孔と、上記第1の外装部品と上記収容プレートとを連結するために、上記第1の孔及び上記第2の孔に上記第1の孔側より挿通されて上記第1の孔の端より奥に頭先端が位置するように螺合されたネジと、上記第1の孔の上記端と上記ネジの頭先端との間に埋設された目隠し部材とを更に具備するようにしてもよい。これにより、第1の孔及び第2の孔にネジを挿入して螺合し、第1の外装部材側と第2の外装部材側とを連結し、目隠し部材によりネジを隠し、デザイン性を向上させることができる。
本発明に係る電子部品の製造方法は、収容プレートに、電子機器を構成する複数の部品のうち少なくともキーボード部品を除く複数の部品が組み込まれることを含む。上記電子機器の第1の外装面を構成する第1の外装部材と、前記第1の外装面と表裏の関係にある第2の外装面を構成する第2の外装部材が用意される。上記第1の外装部材に上記キーボード部品が組み込まれる。上記複数の部品が組み込まれた上記収容プレートと上記第2の外装部材とが連結される。上記第1の外装部材と上記第2の外装部材との間に上記収容プレートを配置した状態で上記第1の外装部材と上記第2の外装部材とが連結される。
本発明では、電子機器を構成する複数の部品のうち少なくともキーボード部品を除く複数の部品を一体に収容する収容プレートを備えるので、これらの複数の部品を第2の外装部材に配置する必要がない。このため、第2の外装部材にこれらの複数の部品を配置するための接続の箇所を形成する必要がない。この結果、第2の外装部材の外表面のデザイン性を向上させることができる。
以上のように、本発明によれば、外表面のデザイン性に優れた電子機器を提供することができる。
以下、本発明の実施の形態を図面に基づき説明する。
本実施形態では電子機器としてノート型パーソナルコンピュータを一例に挙げて説明する。
<電子機器の構成>
図1は本発明の一実施形態に係る電子機器の開いた状態の斜視図である。
電子機器1は、表示部2と、本体部3と、これら表示部2と本体部3とを連結するヒンジ4とを備えている。
表示部2は、ヒンジ4を介して本体部3に対して開閉可能である。表示部2は、表示側筐体5、表示面6と、表示側筐体5内に設けられた表示処理を行う図示しない表示処理ユニットとを備えている。
表示側筐体5は、図示しない表示処理ユニットを収容する表示部2の筐体である。表示面6は、情報を表示するための画面であり、閉じた状態で本体部3に対面する。表示側筐体5には、ヒンジ4が二つ取り付けられている。これら二つのヒンジ4により本体部3に対して表示部2が回動自在に設けられている。
<表示部2の構成>
図2は図1に示す電子機器1の本体部3の分解斜視図である。
本体部3は、本体部3の上面側の部分を構成するパームレストユニット10(キーボードユニット)と、本体部3の底面側の部分を構成する本体ユニット11とを備える(図1参照)。本体部3は、パームレストユニット10と、本体ユニット11とが後述するように組み合わされて一体化される。パームレストユニット10及び本体ユニット11はともに複数の部材により構成されているがともに外装表面に目立つネジ等は形成されていない。
図3は図2に示すパームレストユニット10の分解斜視図である。
パームレストユニット10は、第1の外装部材としてのパームレスト12と、キーボード13とを備える。
パームレスト12は、矩形板状の外装部材であり、本体部3の外装面を形成する。パームレスト12は、キーボード13のキー14が入り込む貫通孔12aが複数形成されている。つまり、これらの貫通孔12aは、各キー14の位置に対応した位置に形成されている。パームレスト12の構成材料には、例えばアルミニウムなどが用いられる。
キーボード13は、電子機器1の入力部として機能し、内部に例えばPETからなる図示しないシートスイッチ等を内蔵している。キーボード13は、その上面側に複数のキー14を備え、その底面側に受け板15を備える。
受け板15は、キーボード13の底面側に設けられた板状部材である。キーボード13の上面側には、キー14とキー14との間等に複数の孔17が形成されている。これらの複数の孔17は、パームレスト12の裏面(図3では見えない側の面)に形成された図示しない複数の溶着ピンの位置に対応して形成されている。パームレスト12の図示しない溶着ピンをキーボード13の孔17に挿入して溶着することで、パームレスト12とキーボード13とが溶着される。
図4は図2に示すパームレストユニット10を底面側から見た斜視図である。
パームレストユニット10のキーボード13は、その底面側に受け板15を備える。パームレストユニット10を底面側から見たときには、受け板15の周囲には、パームレスト12の外周縁部が露出している。受け板15には、複数の係合突部16及び18が形成されている。係合突部16及び係合突部18は、受け板15の全域に亘って分散して所定の位置に複数個設けられている。所定の位置とはキーボード13のサイズ等に応じて適宜変更可能である。
パームレスト12は、その外周縁に立ち上がるように設けられた側壁12A、12B、12C及び12Dを備える。側壁12Aは、パームレスト12の短い方の外端辺に沿うY方向に延設された側壁である。側壁12Bは、側壁12Aに対向するようにY方向に延設された側壁である。側壁12Cは、側壁12A及び12Bに直交するX方向に延設された側壁である。側壁12Cは、Y方向でヒンジ4が配置される側に設けられた側壁である。側壁12Dは、側壁12Cに対向するようにX方向に延設された側壁である。
図5は図4に示すキーボード13の受け板15に形成された係合突部16の拡大斜視図である。
係合突部16は、扁平した略U形状であり、受け板15の表面から外側に突出して設けられている。係合突部16は、キーボード13の長手の方向(図4のY方向)に貫通する係合穴19が形成されている。
図6は図4に示すキーボード13の受け板15に形成された係合突部18の拡大斜視図である。
係合突部18は、係合突部16と同様に扁平した略U字状の突部18Aを備えると共に、この突部18Aから延設された庇部18Bを備える。庇部18Bは、キーボード13の長手方向(図4のY方向)に直交する方向(Y方向)に向けて突出している。庇部18Bは、キーボード13の底面に対して傾斜して設けられている。つまり、受け板15に平行な方向(図6のY方向)に突部18Aから離れるに従い受け板15から離れるように、庇部18Bが斜めに設けられている。
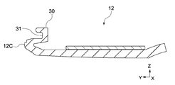
図7は図4に示すパームレスト12の右側の端縁付近の拡大斜視図である。
パームレスト12の側壁12Aの内面には、側壁12Aの長手方向(図4に示すY方向)に所定の間隔で複数の係合部25が形成されている。係合部25は、側壁12Aの内面から突出して設けられている。係合部25は、第1の壁部26と、第1の壁部26に直角につながっている第2の壁部27とを備える。
第1の壁部26は、パームレストユニット10の長手方向に直交する方向(図4及び図7のY方向)に平行に延設されている。第1の壁部26は、後述する組み合わせ時に、本体ユニット11に対してパームレストユニット10を所定の方向(図7に示すY方向)に案内する。第2の壁部27は、パームレストユニット10の製造時の後述するスライドを規制する。なお、パームレスト12の側壁12Aに対向する側壁12Bの内面には、複数の係合部25に対称に係合部25と同形状の係合部28が複数の形成されている(図4参照)。
図8は図4に示すパームレスト12のA−A断面図である。
パームレスト12の側壁12Cには、係合部30が形成されている。係合部30は、凹状部31を備える。凹状部31の凹む方向は、パームレスト12の長手方向に直交するY方向である。凹状部31は、パームレスト12の長手方向に直交するY方向でパームレスト12の外側に向けて突出する爪部34を備える。係合部30は、側壁12Cの外側にはみ出さないように側壁12Cの内側に設けられている。係合部30は、パームレストユニット10を本体ユニット11に組み合わせて固定するために用いられる。係合部30の係合動作については後で詳述する。
<本体部3の構成>
図9は図2に示す本体ユニット11の分解斜視図である。
本体ユニット11は、第2の外装部材としてのボトム41、複数の電子部品等が実装されたプリント基板42、放熱ユニット43及びフレームパームレスト44を備える。なお、バッテリユニット等の図示は省略した。
ボトム41は、図9に示すように、パームレスト12の外装面と表裏の関係にある外装面45を形成する。ボトム41は、プリント基板42や放熱ユニット43及びフレームパームレスト44を収容可能な形状である。ボトム41の外装面45は、ネジ孔等が形成されておらず、周縁で滑らかに湾曲しており、表示部2の外装面と同様にデザイン性に優れている。
図10は図9に示すボトム41の外装面45とは反対側の内面側から見た斜視図である。
ボトム41の内面46側には、図10に示すように、ボトム41の端縁に近い領域に複数のボス47が形成されている。ボス47は、ボトム41に対してフレームパームレスト44を固定するために用いられる。
ボトム41の内面46の端縁付近を除いてボス47が形成されていない。この結果、ボトム41の外装面45には、ボス47を形成することによるヒケが形成されない。ヒケは、例えばボトム41の成形時にボトム41の外表面から固化が進む過程において、ボトム41表面に位置する樹脂が内部の溶融状態にある樹脂の体積収縮に伴う引張り(収縮力)により、ボトム41外観に品位を損なう凹痕である。ボトム41には、ボトム41の内面46から外装面45へ貫通する貫通孔48が形成されている。この貫通孔48は、例えば本体部3の内部の熱を外部へ放熱するための通気孔である。
プリント基板42は、図9に示すようにCPU(Central Processing Unit)やメモリ等の複数の電子部品が実装された基板49と、基板49に接続されたハードディスクドライブ50とを備える。放熱ユニット43は、例えばヒートパイプを備えるがファンを備えていない。
フレームパームレスト44は、図9に示すように本体部3に対応した平面形状を有し、略矩形形状である。フレームパームレスト44は、ボトム41やパームレスト12より曲げ剛性が高い。フレームパームレスト44の構成材料には、例えばマグネシウム合金が用いられているが、これに限定されず、例えば別の金属材料を用いることが可能である。
フレームパームレスト44は、放熱ユニット43やプリント基板42等の本体部3内に内蔵される部品を実装するための複数のボス60や案内溝等が形成されている。フレームパームレスト44は、図9に示すように複数の係合孔61が形成されている。係合孔61は、図4に示すパームレストユニット10の係合突部16、18に係合する。係合孔61は、係合孔61の縁から突出する爪部62を備える。爪部62の突出する方向は、本体ユニット11に対してパームレストユニット10をスライドする向きとは逆向きに(図9に示すY方向マイナス向き)である。
図11は図2に示す本体ユニット11の左側の側端付近の部分拡大斜視図である。
フレームパームレスト44は、その一方(左側)の側端部44AにY方向に所定の間隔で係合孔64が形成されている。係合孔64は、パームレストユニット10と、本体ユニット11との組み合わせ時に、パームレストユニット10の図4に示す係合部25に係合する。係合孔64の形状は、例えば略凹形状である。
図12は図2に示す本体ユニット11の右側の側端付近の部分拡大斜視図である。
フレームパームレスト44は、側端部44Aとは反対側の側端に側端部44Bを備える。フレームパームレスト44の他方(右側)の側端部44Bには、Y方向に所定の間隔で係合孔65が形成されている。係合孔65は、パームレストユニット10と、本体ユニット11との組み合わせ時に、パームレストユニット10の図4に示す係合部28に係合する。係合孔65の形状は、例えば略凹形状である。つまり、係合孔65は、係合孔64と対称となる形状である。
図13は図2に示すフレームパームレスト44のB−B断面図である。
フレームパームレスト44は、パームレスト12の係合部30に係合する係合爪66を備える。係合爪66は、パームレスト12の係合部30の凹状部31に嵌る断面略矩形状である。
図14は図1に示す本体部3の横断面図である。
パームレスト12の側壁12Dには、側壁12Dからパームレスト12の外側に向けて突出する係合突部70が形成されている。係合突部70が突出する方向は、例えばフレームパームレスト44の長手方向(図14のX方向)に直交するY方向である。
フレームパームレスト44には、係合突部70と係合する係合爪71が形成されている。係合爪71が突出する方向は、フレームパームレスト44の長手方向に直交する方向(図14に示すY方向)である。係合爪71が突出する向きは、係合突部70が突出する向きと反対向きである。
フレームパームレスト44は、電子機器1を構成する複数の部品のうち少なくともキーボード13を除く複数の部品を一体に収容する。例えばフレームパームレスト44には、ネジ72によりプリント基板42がネジ止めされている。プリント基板42には、電子部品73等が実装されている。フレームパームレスト44には、導電性の接着部材77を介して放熱ユニット43が接続されている。電子部品73は、放熱ユニット43に接触して設けられている。
<電子機器1の製造方法>
図15は電子機器1の製造工程を示すフローチャートである。なお、本実施形態では、本体部3の製造工程を中心に説明する。図16はフレームパームレスト44に放熱ユニット43をマウントした状態を示す斜視図、図17はフレームパームレスト44に対してプリント基板42を位置合わせした状態を示す斜視図、図18はフレームパームレスト44に対してボトム41を位置合わせした状態を示す斜視図、図19は本体ユニット11に表示部2を連結した状態を示す斜視図である。
まず、図16に示すように、フレームパームレスト44の所定の位置に放熱ユニット43をマウントする(ST1501)。
次いで、図17に示すように、フレームパームレスト44に対してプリント基板42及び基板75等を位置合わせしネジ止めなどで固定する(ST1502)。
続いて、図18に示すように、フレームパームレスト44に対してボトム41を位置合わせして重ね合わせ、図19に示すようにフレームパームレスト44のボス60にネジをフレームパームレスト44側から螺合し、フレームパームレスト44と、ボトム41とをネジ止めする(ST1503)。このとき、図19に示すように本体ユニット11に表示部2を連結する。
次に、図3に示すように、パームレスト12の図示しない溶着ピンをキーボード13の孔17に挿入し、溶着する(ST1504)。これにより、パームレスト12とキーボード13とが複数箇所で溶着され、図2に示すパームレストユニット10が製造される。
次に、本体ユニット11に対してパームレストユニット10を組み合わせる工程について説明する。
図20は本体ユニット11に対してパームレストユニット10をずれた状態で重ね合わせた状態を示す平面図、図21は図20に示すパームレストユニット10及び本体ユニット11のC−C断面図である。なお、図20以降では、ヒンジ4の図示を省略した。
まず、図20に示すように、本体ユニット11に対してパームレストユニット10をわずかにずれた状態で重ね合わせる(ST1505)。つまり、本体ユニット11とパームレストユニット10とをパームレストユニット10の長手方向に直交する方向(図20のY方向)にずらして重ねあわせる。
このとき、図21に示すように、パームレスト12の係合部30は、フレームパームレスト44の係合爪66に係合されていない状態である。つまり、係合部30は、フレームパームレスト44の段差部76に位置合わせされる。また、パームレスト12の係合部25は、フレームパームレスト44の係合孔64に入った状態であるが、係合部25と、係合孔64とは嵌合していない状態である。また、フレームパームレスト44の係合突部70は、パームレスト12の係合爪71に嵌っていない状態である。また、受け板15の係合突部18は、フレームパームレスト44の係合孔61に入った状態であるが、係合突部18と、係合孔61とは嵌合していない状態である。
図22は本体ユニット11に対してパームレストユニット10をスライドさせて組み合わせた状態を示す平面図、図23は図22に示すパームレストユニット10及び本体ユニット11のD−D断面図である。
次に、図20に示すように、本体ユニット11に対してパームレストユニット10をY方向にスライドさせることで、本体ユニット11と、パームレストユニット10とを組み合わせる(ST1506)。
この結果、図23に示すように、パームレスト12の係合部30は、フレームパームレスト44の係合爪66に係合する。また、パームレスト12の係合部25は、フレームパームレストの係合孔64と嵌合する。具体的には、第1の壁部26は、フレームパームレスト44に重なり合うと共に突出部80に当接する。第2の壁部27は、フレームパームレスト44の係合孔64を形成する端部に当接する。突出部80は、フレームパームレスト44のボトム41に対向する側の面81から突出するように形成された突部である。また、係合突部18の係合穴19内に、爪部62が嵌る。本体ユニット11に対してパームレストユニット10をスライドさせるときに、庇部18Bにより確実に係合穴19内に爪部62を案内する。
<作用等>
このように本実施形態によれば、電子機器1の本体部3は、プリント基板42や放熱ユニット43を実装することが可能なフレームパームレスト44を備える。フレームパームレスト44側からフレームパームレスト44のボス60にネジを螺合することで、このネジによりフレームパームレスト44とボトム41とが一体化されている。
このため、プリント基板42及び放熱ユニット43をボトム41に固定する必要がないので、ボトム41にボスやリブ等を形成する必要がない。従って、ボトム41の内面46には、ボトム41の周縁部を除いてボス47やネジ孔やリブ等が形成されていない。この結果、ボトム41の外装面45は、ボスやリブ等があるボトムに場合に比べて、成形時にヒケ等が形成されずデザイン性に優れている。
このフレームパームレスト44は、ボトム41とほぼ同じサイズであり、その構成材料には、例えばマグネシウムが用いられているので、本体部3の強度を確実に確保することができる。特に、本体部3の捩れや撓みに対する強度等を向上させることができる。
パームレストユニット10の受け板15の底面には、図4に示すように、係合突部16、18が複数個分散して形成されている。また、パームレスト12の側壁12Aの内面には図4に示すように複数の係合部25が形成されていると共に、パームレスト12の側壁12Bの内面には複数の係合部28が複数個形成されている。また、パームレスト12の側壁12Cには、複数個の係合部30が形成されている。そして、フレームパームレスト12の側壁12Dには係合突部70が形成されている(図14参照)。
一方、フレームパームレスト44の表面には、図9に示すように係合孔61が形成されている。フレームパームレスト44の一方の側端部44Aに図11に示すように複数の係合孔64が形成されている。フレームパームレスト44の他方の側端部44Bには図12に示すように複数の係合孔65が形成されている。フレームパームレスト44には図13に示すように係合爪66が形成されている。そして、フレームパームレスト44の係合爪66が形成された側とは反対側の端辺には、図14に示すように係合爪71が形成されている。
これにより、図23に示すように、本体ユニット11に対してパームレストユニット10をY方向にスライドさせて組み合わせることで、係合突部16、18が係合孔61に嵌り、複数の係合部25、係合部28が、それぞれ係合孔64等に嵌る。そして、複数個の係合部30に係合爪66が嵌り、係合突部70が係合爪71に嵌る。この結果、パームレストユニット10と、本体ユニット11とをネジ等を用いずに組み合わせ、一体化することができる。この結果、本体部3の表面側及び裏面側からネジ等が露出することがなく、デザイン性に優れた本体部3を実現することができる。
また、従来、本体ユニットとパームレストユニットとを組み合わせるために用いられていたネジの本数を減少させることができる。具体的には、従来では、ネジを74本用いていたが、本実施形態では52本に減少させることができる。
また、パームレストユニット10の受け板15の底面の複数の係合突部16、18が、フレームパームレスト44の複数の係合孔61に嵌り、分散した複数箇所において、引っかかって接続されている。この結果、キーボード13の浮きを防止し、ユーザの感じるキーボードのフィーリングを向上させることができる。
放熱ユニット43は、例えばヒートパイプを備えるが放熱ファンを備えていない。この結果、放熱ユニット43のサイズや厚さを小さくすることができ、結果的に、本体部3を小型化及び薄型化することができる。
放熱ユニット43は、図14に示すように、電子部品73及びフレームパームレスト44に接触して設けられている。従って、電子部品73等が発熱した熱を放熱ユニット43により分散すると共に、フレームパームレスト44により更に広い範囲に分散することができる。この結果、電子部品73等で発生する熱を効率良く分散し、本体部3内部を冷却することができる。
パームレストユニット10の受け板15の係合突部18は、庇部18Bを備える。このため、図20、図21に示すように本体ユニット11に対してパームレストユニット10を僅かにずらして重ねたときに、係合突部18がフレームパームレスト44の係合孔61に入らない場合も考えられる。しかしながら、この場合には、庇部18Bがフレームパームレスト44の表面に載りあげる。この結果、作業者は、本体ユニット11に対してパームレストユニット10が所定の位置に位置合わせされていないことを容易に知ることができる。従って、パームレストユニット10と本体ユニット11とをより確実に組み合わせることができると共に、生産性を向上させることができる。
上記実施形態では、本体ユニット11に対してパームレストユニット10をスライドさせることで、本体ユニット11と、パームレストユニット10とを組み合わせる例を示した。しかし、本体ユニット11と、パームレストユニット10とを組み合わせる方法はこれに限定されない。
<変形例>
図24は変形例の電子機器の本体部のネジ止め部付近の断面図である。なお、本変形例では、上記実施形態と同様の構成部材には同一の符号を付しその説明を省略し、異なる箇所を中心に説明する。
本変形例の電子機器は、上記実施形態に比べて本体ユニット及びパームレストユニットをスライドにより組み合わせるために必要な係合突部16や係合孔61等を備えず、パームレスト12’とフレームパームレスト44’とが四隅でネジ止めされている点が異なる。
つまり、パームレスト12’の四つ角等にネジ孔90が形成され、ネジ孔90に対応するフレームパームレスト44’の位置にネジ孔92が形成されている。パームレストユニットと本体ユニットとが重ね合わされて、これらのネジ孔90、92にネジ孔90側からネジ93が螺着されている。ネジ93の上端は、パームレスト12’の表面よりネジ孔90の奥に位置している。ネジ孔90には、クッション部材94が埋設されている。クッション部材94は、ネジ孔90を目隠しする目隠し部材であると共に、本体部に対して表示部を閉じるときに生じる衝撃を緩衝するための緩衝部材である。
このような構成によれば、パームレスト12’とフレームパームレスト44’とをネジ93により連結することができると共に、クッション部材94により、ネジ孔90を目隠しすると共に表示部を閉じるときに生じる衝撃を緩衝することができる。従って、上記実施形態と同様に表面からネジ孔等が見えない状態にすることができるので、デザイン性に優れた電子機器3’を実現することができる。
本発明は、上記の実施形態に限定されない。本発明は、その技術思想の範囲内で様々に変形して実施することが可能である。その実施の範囲は、本発明の技術的範囲に属するものである。
上記実施形態では、フレームパームレスト44に放熱ユニット43やプリント基板42をマウントし、ボトム41にネジ止めした後に(ST1501−ST1503)、キーボード13とパームレスト12とを溶着する(ST1504)例を示した。しかし、ST1501−ST1503の前に、ST1504を行っても、同様に電子機器1を製造することができる。
パームレストユニット10の係合突部16、18と、フレームパームレスト44の係合孔61とはスライドすることで互いに係合可能であれば互いの形状は特に限定されない。
係合孔64の形状は、係合部25と係合可能な形状であれば特に限定されず適宜変更可能である。また、係合孔64の数もフレームパームレスト44のサイズに応じて適宜変更可能である。係合孔65の形状は、係合部28と係合可能な形状であれば特に限定されず適宜変更可能である。例えば各係合孔65の形状が異なっていてもよい。このような構成によっても上記実施形態と同様にパームレストユニット10と本体ユニット11とを組み合わせることができる。
本発明の一実施形態に係る電子機器の開いた状態の斜視図である。 図1に示す電子機器の本体部の分解斜視図である。 図2に示すパームレストユニットの分解斜視図である。 図2に示すパームレストユニットを底面側から見た斜視図である。 図4に示すキーボードの受け板に形成された係合突部の拡大斜視図である。 図4に示すキーボードの受け板に形成された係合突部の拡大斜視図である。 図4に示すパームレストの右側の端縁付近の拡大斜視図である。 図4に示すパームレストのA−A断面図である。 図2に示す本体ユニットの分解斜視図である。 図9に示すボトムの外装面とは反対側の内面側から見た斜視図である。 図2に示す本体ユニットの左側の側端付近の部分拡大斜視図である。 図2に示す本体ユニットの右側の側端付近の部分拡大斜視図である。 図2に示すフレームパームレストのB−B断面図である。 図1に示す本体部の横断面図である。 電子機器の製造工程を示すフローチャートである。 フレームパームレストに放熱ユニットをマウントした状態を示す斜視図である。 フレームパームレスト対してプリント基板を位置合わせした状態を示す斜視図である。 フレームパームレストに対してボトムを位置合わせした状態を示す斜視図である。 本体ユニットに表示部を連結した状態を示す斜視図である。 本体ユニットに対してパームレストユニットをずれた状態で重ね合わせた状態を示す平面図である。 図20に示すパームレストユニット及び本体ユニットのC−C断面図である。 本体ユニットに対してパームレストユニットをスライドさせて組み合わせた状態を示す平面図である。 図22に示すパームレストユニット及び本体ユニットのD−D断面図である。 変形例の電子機器の本体部のネジ止め部付近の断面図である。
符号の説明
1 電子機器
2 表示部
3 本体部
4 ヒンジ
1 電子機器
2 表示部
3 本体部
10 パームレストユニット
11 本体ユニット
12 パームレスト(第1の外装部材)
13 キーボード
16、18、70 係合突部
25、28、30 係合部
34 爪部
41 ボトム(第2の外装部材)
42 プリント基板
43 放熱ユニット
44 フレームパームレスト
45 外装面
46 内面
47、60 ボス
49、75 基板
61、64、65 係合孔
66、71 係合爪
72 ネジ
73 電子部品

Claims (8)

  1. 電子機器を構成する複数の部品のうち少なくともキーボード部品を除く複数の部品を収容する収容プレートと、
    前記キーボード部品を保持し、前記電子機器の第1の外装面を構成する第1の外装部材と、
    前記第1の外装面と表裏の関係にある第2の外装面を構成する第2の外装部材とを具備し、
    前記収容プレートは、前記第1の外装部材と前記第2の外装部材との間に配置される
    電子機器。
  2. 請求項1に記載の電子機器であって、
    前記収容プレートは、前記第1の外装部材に対応する平面形状を有する
    電子機器。
  3. 請求項1に記載の電子機器であって、
    前記収容プレートは、前記第1の外装部材及び第2の外装部材より曲げ剛性が高い
    電子機器。
  4. 請求項1に記載の電子機器であって、
    前記収容プレートは、マグネシウム合金からなる
    電子機器。
  5. 請求項1に記載の電子機器であって、
    前記複数の部品は発熱体部品を含み、
    当該電子機器は、前記発熱体及び前記収容プレートに接する熱伝達部品を有する放熱機構を更に具備する
    電子機器。
  6. 請求項1に記載の電子機器であって、
    前記キーボード部品は、前記収容プレートに対向する第1の面と、前記第1の面に設けられた第1の係合部とを有し、
    前記収容プレートは、前記キーボード部品の前記第1の面に対向する第2の面と、前記第2の面に設けられ、前記収容プレートの前記第2の面に沿って前記キーボード部品をスライドさせることで前記第1の係合部と係合する第2の係合部とを有する
    電子機器。
  7. 請求項2に記載の電子機器であって、
    前記第1の外装部品に設けられ、前記収容プレートに接続するための第1の孔と、
    前記収容プレートに設けられ、前記第1の孔に対応する第2の孔と、
    前記第1の外装部品と前記収容プレートとを連結するために、前記第1の孔及び前記第2の孔に前記第1の孔側より挿通されて前記第1の孔の端より奥に頭先端が位置するように螺合されたネジと、
    前記第1の孔の前記端と前記ネジの頭先端との間に埋設された目隠し部材とを更に具備する
    電子機器。
  8. 収容プレートに、電子機器を構成する複数の部品のうち少なくともキーボード部品を除く複数の部品を組み込み、
    前記電子機器の第1の外装面を構成する第1の外装部材と、前記第1の外装面と表裏の関係にある第2の外装面を構成する第2の外装部材を用意し、
    前記複数の部品が組み込まれた前記収容プレートと前記第2の外装部材とを連結し、
    前記第1の外装部材に前記キーボード部品を組み込み、
    前記第1の外装部材と前記第2の外装部材との間に前記収容プレートを配置した状態で前記第1の外装部材と前記第2の外装部材とを連結する
    電子機器の製造方法。
JP2008325762A 2008-12-22 2008-12-22 電子機器及び電子機器の製造方法 Pending JP2010146482A (ja)

Priority Applications (5)

Application Number Priority Date Filing Date Title
JP2008325762A JP2010146482A (ja) 2008-12-22 2008-12-22 電子機器及び電子機器の製造方法
RU2009146918/08A RU2533694C2 (ru) 2008-12-22 2009-12-16 Электронное устройство и способ производства электронного устройства
US12/639,444 US8279590B2 (en) 2008-12-22 2009-12-16 Electronic apparatus and method for producing an electronic apparatus
BRPI0905150-3A BRPI0905150A2 (pt) 2008-12-22 2009-12-18 aparelho eletrÈnico, e, método para produzir o mesmo
CN2009102622056A CN101763148B (zh) 2008-12-22 2009-12-22 电子设备和制造电子设备的方法

Applications Claiming Priority (1)

Application Number Priority Date Filing Date Title
JP2008325762A JP2010146482A (ja) 2008-12-22 2008-12-22 電子機器及び電子機器の製造方法

Related Child Applications (1)

Application Number Title Priority Date Filing Date
JP2013153055A Division JP2013225342A (ja) 2013-07-23 2013-07-23 電子機器

Publications (1)

Publication Number Publication Date
JP2010146482A true JP2010146482A (ja) 2010-07-01

Family

ID=42265732

Family Applications (1)

Application Number Title Priority Date Filing Date
JP2008325762A Pending JP2010146482A (ja) 2008-12-22 2008-12-22 電子機器及び電子機器の製造方法

Country Status (5)

Country Link
US (1) US8279590B2 (ja)
JP (1) JP2010146482A (ja)
CN (1) CN101763148B (ja)
BR (1) BRPI0905150A2 (ja)
RU (1) RU2533694C2 (ja)

Cited By (5)

* Cited by examiner, † Cited by third party
Publication number Priority date Publication date Assignee Title
JP2013098664A (ja) * 2011-10-28 2013-05-20 Toshiba Corp テレビジョン受像機および電子機器
JP2013118644A (ja) * 2012-12-11 2013-06-13 Toshiba Corp 電子機器
EP2752728A2 (en) 2013-01-04 2014-07-09 Sony Corporation Frame structure of electronic device
JP2015088038A (ja) * 2013-10-31 2015-05-07 富士通株式会社 電子機器
JP2024011426A (ja) * 2022-07-14 2024-01-25 パナソニックIpマネジメント株式会社 電子機器

Families Citing this family (10)

* Cited by examiner, † Cited by third party
Publication number Priority date Publication date Assignee Title
TW201135776A (en) * 2010-04-02 2011-10-16 Shuttle Inc Integral keyboard assembly
CN102222583B (zh) * 2010-04-13 2016-01-13 浩鑫股份有限公司 一体成型键盘组装结构
JP2013156965A (ja) * 2012-01-31 2013-08-15 Toshiba Corp テレビジョン受像機、及び電子機器
TWI486836B (zh) * 2012-12-26 2015-06-01 Asia Vital Components Co Ltd 觸控顯示裝置及其製造方法
US9366892B2 (en) 2013-01-22 2016-06-14 Asia Vital Components Co., Ltd. Touch display device
CN104112621A (zh) * 2013-04-19 2014-10-22 鸿富锦精密工业(深圳)有限公司 键盘
US20170131742A1 (en) * 2015-11-09 2017-05-11 Kabushiki Kaisha Toshiba Keyboard and electronic device
JP6700330B2 (ja) * 2018-04-02 2020-05-27 レノボ・シンガポール・プライベート・リミテッド 電子機器
JP6691934B2 (ja) * 2018-04-05 2020-05-13 レノボ・シンガポール・プライベート・リミテッド 連結構造体及び電子機器
US20260075748A1 (en) * 2024-09-10 2026-03-12 Dell Products L.P. Airflow intake vent located proximate to upper edge of keyboard

Citations (6)

* Cited by examiner, † Cited by third party
Publication number Priority date Publication date Assignee Title
JPH0981271A (ja) * 1995-09-19 1997-03-28 Toshiba Corp 携帯形電子機器
JP2002108505A (ja) * 2000-09-29 2002-04-12 Sony Corp 情報処理装置
JP2002290065A (ja) * 2001-03-27 2002-10-04 Toshiba Corp 移動通信端末装置
JP2004151610A (ja) * 2002-11-01 2004-05-27 Sony Corp 可搬型情報処理装置及び係止具
JP2004234506A (ja) * 2003-01-31 2004-08-19 Toshiba Corp 電子機器
US20050035950A1 (en) * 1999-10-19 2005-02-17 Ted Daniels Portable input device for computer

Family Cites Families (15)

* Cited by examiner, † Cited by third party
Publication number Priority date Publication date Assignee Title
CH680890A5 (ja) * 1990-08-29 1992-11-30 Dynalab Ag
US5510953A (en) * 1994-11-21 1996-04-23 Compaq Computer Corporation Concealed locking assembly for a removable portable computer keyboard
US6870730B2 (en) * 1995-09-26 2005-03-22 Psion-Computers Plc Computer with a pen or touch sensitive display
JP2002149305A (ja) * 2000-10-25 2002-05-24 Internatl Business Mach Corp <Ibm> 情報端末、そのキーボードユニット及びシステムユニット
TW507900U (en) * 2001-01-02 2002-10-21 Cirkitech Electronic Co Ltd Notebook computer with detachable keyboard
CN100367835C (zh) * 2003-02-10 2008-02-06 富士通株式会社 从外部遮蔽预定构件的遮蔽构件和具有该遮蔽构件的电子设备
JP4309732B2 (ja) * 2003-09-25 2009-08-05 株式会社東芝 情報機器
US20060002065A1 (en) * 2004-07-02 2006-01-05 Chung-Cheng Hua Notebook computer with an easily disassembled main board
CN2809703Y (zh) * 2005-06-13 2006-08-23 鸿富锦精密工业(深圳)有限公司 键盘固定装置
CN2909347Y (zh) * 2006-02-25 2007-06-06 鸿富锦精密工业(深圳)有限公司 笔记本电脑
JP2007305042A (ja) 2006-05-15 2007-11-22 Sony Corp 情報処理装置
JP2008003714A (ja) * 2006-06-20 2008-01-10 Toshiba Corp 部品結合構造および電子機器
TWM312103U (en) * 2006-11-24 2007-05-11 Quanta Comp Inc Connection strucutre
JP4550853B2 (ja) * 2007-03-30 2010-09-22 株式会社東芝 電子機器の製造方法、電子機器、およびサブ組立部品
JP2008287422A (ja) * 2007-05-16 2008-11-27 Sony Corp キーボードの結合構造及び電子機器

Patent Citations (6)

* Cited by examiner, † Cited by third party
Publication number Priority date Publication date Assignee Title
JPH0981271A (ja) * 1995-09-19 1997-03-28 Toshiba Corp 携帯形電子機器
US20050035950A1 (en) * 1999-10-19 2005-02-17 Ted Daniels Portable input device for computer
JP2002108505A (ja) * 2000-09-29 2002-04-12 Sony Corp 情報処理装置
JP2002290065A (ja) * 2001-03-27 2002-10-04 Toshiba Corp 移動通信端末装置
JP2004151610A (ja) * 2002-11-01 2004-05-27 Sony Corp 可搬型情報処理装置及び係止具
JP2004234506A (ja) * 2003-01-31 2004-08-19 Toshiba Corp 電子機器

Cited By (7)

* Cited by examiner, † Cited by third party
Publication number Priority date Publication date Assignee Title
JP2013098664A (ja) * 2011-10-28 2013-05-20 Toshiba Corp テレビジョン受像機および電子機器
JP2013118644A (ja) * 2012-12-11 2013-06-13 Toshiba Corp 電子機器
EP2752728A2 (en) 2013-01-04 2014-07-09 Sony Corporation Frame structure of electronic device
US9436227B2 (en) 2013-01-04 2016-09-06 Sony Corporation Frame structure of electronic device
JP2015088038A (ja) * 2013-10-31 2015-05-07 富士通株式会社 電子機器
JP2024011426A (ja) * 2022-07-14 2024-01-25 パナソニックIpマネジメント株式会社 電子機器
JP7792596B2 (ja) 2022-07-14 2025-12-26 パナソニックIpマネジメント株式会社 電子機器

Also Published As

Publication number Publication date
CN101763148B (zh) 2012-06-27
BRPI0905150A2 (pt) 2011-03-22
RU2009146918A (ru) 2011-06-27
RU2533694C2 (ru) 2014-11-20
CN101763148A (zh) 2010-06-30
US8279590B2 (en) 2012-10-02
US20100157523A1 (en) 2010-06-24

Similar Documents

Publication Publication Date Title
JP2010146482A (ja) 電子機器及び電子機器の製造方法
US8213166B2 (en) Electronic device
JP4607170B2 (ja) 電子機器
JP2014132388A (ja) 電子機器のフレーム構造
JP4952434B2 (ja) 電子部品取付用部品および電子機器
WO2014062721A1 (en) Track pad acoustic features related to a portable computer
US8040688B2 (en) Circuit board unit and electronic device
JP3576085B2 (ja) 電子機器
JP4533712B2 (ja) 電子機器
US20090268394A1 (en) Heat-radiating microcomputer case
US20090154087A1 (en) Display apparatus and electronic apparatus
US6769748B1 (en) Electronic device cabinet
US8520372B2 (en) Electronic apparatus display housing assembly
JP4921096B2 (ja) 電子機器および冷却部品
JP4309732B2 (ja) 情報機器
JP5161616B2 (ja) 筐体内部への電子装置の取り付け構造
JP4421011B2 (ja) 情報処理装置
JP5113363B2 (ja) 電子機器
JP2013225342A (ja) 電子機器
US8238088B2 (en) Electronic apparatus
JP2008152110A (ja) 表示装置および情報処理装置
JP4266838B2 (ja) 電子鍵盤楽器の電子部品取付構造
JP2010021379A (ja) 電子機器
JP2008276519A (ja) 電子機器
US20090154081A1 (en) Electronic apparatus

Legal Events

Date Code Title Description
A621 Written request for application examination

Free format text: JAPANESE INTERMEDIATE CODE: A621

Effective date: 20111116

A977 Report on retrieval

Free format text: JAPANESE INTERMEDIATE CODE: A971007

Effective date: 20120803

A131 Notification of reasons for refusal

Free format text: JAPANESE INTERMEDIATE CODE: A131

Effective date: 20120816

A521 Written amendment

Free format text: JAPANESE INTERMEDIATE CODE: A523

Effective date: 20121015

A02 Decision of refusal

Free format text: JAPANESE INTERMEDIATE CODE: A02

Effective date: 20130423