JP2010144592A - 内燃機関の点火制御装置,制御方法および点火装置 - Google Patents

内燃機関の点火制御装置,制御方法および点火装置 Download PDF

Info

Publication number
JP2010144592A
JP2010144592A JP2008321714A JP2008321714A JP2010144592A JP 2010144592 A JP2010144592 A JP 2010144592A JP 2008321714 A JP2008321714 A JP 2008321714A JP 2008321714 A JP2008321714 A JP 2008321714A JP 2010144592 A JP2010144592 A JP 2010144592A
Authority
JP
Japan
Prior art keywords
ignition
discharge
spark
internal combustion
combustion engine
Prior art date
Legal status (The legal status is an assumption and is not a legal conclusion. Google has not performed a legal analysis and makes no representation as to the accuracy of the status listed.)
Pending
Application number
JP2008321714A
Other languages
English (en)
Inventor
Takuya Shiraishi
拓也 白石
Takaki Itaya
隆樹 板谷
Current Assignee (The listed assignees may be inaccurate. Google has not performed a legal analysis and makes no representation or warranty as to the accuracy of the list.)
Hitachi Astemo Ltd
Original Assignee
Hitachi Automotive Systems Ltd
Priority date (The priority date is an assumption and is not a legal conclusion. Google has not performed a legal analysis and makes no representation as to the accuracy of the date listed.)
Filing date
Publication date
Application filed by Hitachi Automotive Systems Ltd filed Critical Hitachi Automotive Systems Ltd
Priority to JP2008321714A priority Critical patent/JP2010144592A/ja
Publication of JP2010144592A publication Critical patent/JP2010144592A/ja
Pending legal-status Critical Current

Links

Images

Landscapes

  • Ignition Installations For Internal Combustion Engines (AREA)
  • Spark Plugs (AREA)

Abstract

【課題】
本発明の目的は、プラズマ放電の吹き出し効果を利用して、火花放電(アーク)の放電経路を吹き出し着火性を向上させるとともに、着火点を燃焼室壁面から出来るだけ離し、火炎伝播を促進できる点火プラグ構成,回路構成および点火制御方法を提供することである。
【解決手段】
本発明の内燃機関の点火装置は1つの接地電極に対して2つの中心電極を有し、前記接地電極と一方の中心電極(A)間に火花放電を発生させ、前記接地電極と他方の中心電極(B)間にプラズマ放電を発生させ、前記火花放電の放電方向が前記プラズマ放電の放電方向とほぼ直交する構成となっている。
【選択図】図4

Description

本発明はエンジンの点火制御に関する。より具体的には火花放電経路を拡大して着火性を向上するための点火制御方法に関する。
火花点火式内燃機関の理想的な点火状態は燃焼室の中心付近で火種が発生し、混合気の中心から火炎が燃え拡がることである。これにより、燃焼室壁面への熱損失低減,燃焼期間(時間損失)の短縮,ノッキング抑制などに効果がある。通常の火花放電では、点火プラグ自体を長くすることで、この理想状態を模擬的に作り出しているが、プラグ突き出しによる耐久性悪化などの問題がある。
一方、特開2008−45449号公報で紹介されているようなプラズマ放電点火では、放電距離が長いという特徴があり近年注目されている。しかし、背圧の上昇に伴い放電距離が短くなるという欠点があり、エンジン燃焼室内の現象に関して言えば、種々に変化する運転環境下で、筒内圧力の上昇に伴い放電距離が短くなり、着火点が燃焼室の壁面近傍になってしまう。その結果、壁面からの熱損失が大きくなり、火炎伝播(初期燃焼)が遅くなるという問題がある。
また、エンジン燃焼室内の混合気への着火性向上手段として、火花放電経路(距離)を拡大して、空間的な着火機会を増加し着火性を向上させることが知られている。一例として、プラグギャップ(電極間隙間)を拡大する取り組みが行われているが、プラグギャップを拡大すると火花放電時に必要となる要求放電電圧が上がり飛火性が悪化する。さらに、スロットル弁が全開となる高負荷運転時には、要求放電電圧の上昇とともに燃焼室内の空気流動も強くなるために、火花放電が吹き流されて失火する恐れがあり、現実的には極端なワイドギャップ化は行われずに、通常は0.9〜1.3mm程度のギャップとなっている。別の例として、燃焼室内の空気流動を利用する方法も考えられている。これは点火プラグ近傍に流れる流動で、火花放電時のアークを吹き流し、放電距離を拡大する試みである。しかし、吸気工程中に発生した空気流動を圧縮工程後半の点火時期まで保存することは困難であり、空気流動を適切なタイミングで点火プラグ近傍に導くのも困難で、アークを制御しているとは言い難い状態であった。
特開2008−45449号公報 特開2007−32349号公報 特公昭60−52311号公報
背景技術で述べたように、燃焼室の中心付近で火種が発生し火炎伝播するという理想的な燃焼状態を実現するため、点火プラグ自体を長くしたり、プラズマ放電点火などが考案されているが、耐久性や運転状態によって着火点が変化してしまうなど、十分なエンジン性能を発揮できていない。また、エンジン燃焼室内の混合気への着火性向上手段として、ワイドギャップ化や空気流動を利用して火花放電経路(距離)を拡大して、空間的な着火機会を増加することが試されているが、要求放電電圧の上昇による飛火性悪化,圧縮工程後半での空気流動制御性の困難さなどが原因で、着火性向上によるエンジン性能の向上も十分に行われていない。
そこで本発明では、火花放電(アーク)の放電経路を拡大して、着火性を向上するとともに、着火点を燃焼室壁面から出来るだけ離し、火炎伝播を促進できる点火プラグ構成,回路構成および点火制御方法を提供することを目的とする。より具体的には、プラズマジェットの吹き出し効果を利用して、火花放電(アーク)の放電経路を拡大している。そのための火花放電とプラズマ放電を組み合わせたハイブリット型の点火プラグ形状も提案している。特開2007−32349号公報には、主電極と補助電極を有し火花放電(アーク)前にプラズマを放電して、点火プラグの放電領域にプラズマ雰囲気を生成させて、火花放電を起こしやすくすることが可能なハイブリット型点火プラグの例が提案されている。
本発明では、プラズマ放電の吹き出し効果を利用して、火花放電(アーク)の放電経路を吹き出し着火性を向上させる。そのために適切なタイミングで火花放電(アーク)とプラズマ放電を吹き出すためのプラグ構成,回路構成、および点火制御方法を提供することを目的とする。具体的なプラグ構造,回路構成は「発明の実施の形態」に記載する。
上記の目的を達するために、本発明の内燃機関の点火装置は、1つの接地電極に対して2つの中心電極を有し、前記接地電極と一方の中心電極(A)間に火花放電を発生させ、前記接地電極と他方の中心電極(B)間にプラズマ放電を発生させ、前記火花放電の放電方向が前記プラズマ放電の放電方向とほぼ直交する構成となっている。このハイブリット型点火プラグへの点火指令はエンジン制御ユニット(ECU)から行われ、ECUからは火花放電を起こすための点火信号とプラズマ放電を起こすための点火信号が出力される構成となっている。
本発明の内燃機関の点火装置および点火制御装置,制御方法によれば、エンジンの所謂“点火時期”直後に火花放電が起こり、それから所定のタイミングでプラズマ放電が起こり、両者の相乗効果により火花放電(アーク)の放電経路が長くなり着火性が向上するとともに、そのアークが燃焼室中心方向に吹き出されるため、着火点が燃焼室壁面から離れる結果、壁面への冷却損失が低減するとともに火炎伝播速度が向上し、理想的な燃焼状態を実現でき、燃費効率向上に寄与することが可能となる。
さらに、火花放電,プラズマ放電をそれぞれ単独で使用する場合に比べて、混合気への供給エネルギは増大し着火性が向上する。また、プラズマ放電を単独で使用する場合と比較して、メインの火炎核形成は火花放電で行い、アークの吹き出し効果に利用するだけのエネルギをプラズマ放電から供給すれば良いため、プラグの消耗を抑えることにも効果がある。
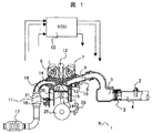
本発明の実施例を図を用いて説明する。図1は本発明を適用するエンジンシステムの構成例である。まず、エンジン1の基本動作について説明する。エンジン1に吸入される空気は図示しないエアクリーナを通り、吸気ダクトに取り付けられたエアフローセンサ2により吸入空気量が計測される。エンジン1に吸入される空気量はスロットル弁3で制御される。吸気コレクタ5は図示しない他気筒へ空気を分配するためのもので、その後、各気筒の吸気管に空気が分配され、燃焼室22に空気が吸入される。吸気管9の途中には、空気流に指向性を持たせるための空気流動制御弁6を用いても良い。ECU10はエンジン1に取り付けられた各種センサからの信号を基に、ECU10内部でエンジン1の運転状況を判定し、その運転状況に相応しい指令値を各種アクチュエータに出力する。ここで各種センサの例としては、エアフローセンサ2,吸気カム位相を検出するフェーズセンサ7,排気カム位相を検出するフェーズセンサ8,クランク軸25の回転数を検出するクランク角センサ26,エンジン冷却水温度を検出する水温センサ21,ノッキングを検出するノックセンサ16,排気管18内の排気ガス濃度を検出する(図示しない)排ガスセンサ、などである。また、各種アクチュエータの例としては、スロットル弁3,空気流動制御弁6,吸気および排気のカム位相を制御する(図示しない)位相制御弁,点火コイル12,燃料噴射弁19、などである。エアフローセンサ2により計測された空気量、および排気センサの出力に基づいて、ECU10は燃料噴射量を算出し、燃料噴射弁19に噴射信号を出力する。噴射信号は主に噴射時期,噴射回数,噴射期間で構成されている。燃焼室22に供給された空気と燃料は、ピストン23の上下動に伴い、燃焼室22内で気化,混合して混合気を形成する。その後ピストン23の圧縮動作により、温度と圧力が上昇する。ECU10はエンジン回転数,燃料噴射量などの情報から点火時期を算出し、点火コイル12に点火信号を出力する。点火信号は主に点火コイル12への通電開始時期,通電終了時期で構成されている。これにより、ピストン23の圧縮上死点の少し手前のタイミングで点火プラグ15により点火が行われ、燃焼室22内の混合気に着火し燃焼が起こる。燃焼により高まった圧力により、ピストン23を下方向に押し返す力が働き、膨張行程でエンジントルクとしてクランク軸25に伝達され、エンジン動力となる。燃焼終了後、燃焼室22に残留したガスは、排気弁14を通り排気管18に排出される。この排気ガスには人体に有害な成分が含まれることが多いので、排気管18の途中に配置された触媒11,17の作用により無害化され、大気中に排出される。
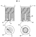
次に、点火プラグ15の先端部の形状を図2に示す。点火プラグ15はネジ部を有する外側接地電極30により、エンジンに取り付けられる。ここではエンジン本体が接地されていると仮定する。従って、外側接地電極30は図中に示すようにマイナス電位となる。一方、中心電極31は点火コイル12に接続されており、点火時期にプラス電位の高電圧が掛かり、外側接地電極30との間に火花放電が起こる。中心電極33はプラズマ放電用の電極で、外側接地電極30との間で絶縁破壊が起こり、その後の電力投入によりプラズマが放電される。中心電極31と33の間には絶縁部材32が挿入されており、中心電極間の接触,電位差によるリークを防止している。中心電極33と外側接地電極30の間にも絶縁部材34が挿入されており、中心電極と接地電極の接触,リークを防止するとともに、中心電極33,絶縁部材34,外側接地電極30で囲まれた閉空間35を形成しており、プラズマ放電する際のキャビティの役割を果たしている。
図3に火花放電,プラズマ放電の様子を模式的に示す。図3左の図は火花放電の様子を示したもので、図示しない点火コイル12の作用により、中心電極31にプラス電位の高電圧が掛かり、外側接地電極30との間で絶縁破壊が起こり、それに引き続いてアーク27が形成される。火花放電27は、外側接地電極30の特定の場所で発生する訳ではなく、毎回発生する場所が変化し、アーク発生中も移動しながら火花放電を継続する。従って、外側接地電極30の特定の場所だけが劣化して機能が損なわれることは無い。図3右の図はプラズマ放電の様子を示したもので、図示しないプラズマ放電用回路の作用により、中心電極33と外側接地電極30の間で絶縁破壊が起こり、それに引き続く電力投入で閉空間35内の温度が上昇し、それに伴い局所的に圧力が上昇しプラズマ放電28が生じる。閉空間35の形状から、プラズマ放電28の形状は環状となる。この2つ点火現象を組み合わせることで、アーク27の放電経路をプラズマ放電28により押し出し、放電経路を拡大し、混合気との着火機会を増大させる。
点火プラグの構成は、図2,図3に示した構造に限定されるものではなく、様々な改良が加えられるが、本発明の効果を十分に引き出すために、プラズマ放電方向とほぼ直交する方向に火花放電を行う点火プラグの構成とすることが望ましい。
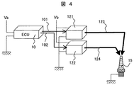
図4に回路構成例を示す。ECU10には図示しない各種センサからの入力信号と、バッテリ電源Vbおよび接地配線が施されている。点火プラグ15は火花放電用中心電極とプラズマ放電用中心電極を持つハイブリット型の構成となっている。火花放電用点火回路121は内部に1次コイル(巻線)と2次コイル(巻線)を有する構造で、ECU10からの点火信号101に基づき、通電開始時期に1次コイルに通電を開始し電気エネルギを充電する。通電終了時期に1次コイルへの通電が遮断されると、電磁誘導の作用により2次コイルに高電圧となった電気エネルギが発生し、点火プラグ15で火花放電が起こる。プラズマ放電用点火回路122は特公昭60−52311号の図1に記載される回路が一般的によく使用されている。これはECU10からの点火信号102に基づいて、最初にプラズマ放電用回路内に有する“スパーク点火用電源回路”から点火プラグ15内の中心電極33と外側接地電極30の間で絶縁破壊するためのエネルギを供給する。その間、プラズマ放電用回路内に有するコンデンサには電荷がチャージされている。絶縁破壊が起こり、中心電極33と接地電極30間が通電するとコンデンサにチャージされた電荷が一気に流れ、閉空間35内が高温,高圧になり、短時間でプラズマ放電が発生する。
このときの点火信号およびケーブル123,124に流れる電流の様子を図5に示す。図中IGNが所謂“点火時期”である。点火信号101は火花放電用の点火信号で、IGNよりT1前から1次コイルへの通電を開始し、IGNで1次コイルへの通電遮断により、2次コイルに高電圧となった電気エネルギが発生し、点火プラグ15の中心電極31と外側接地電極30間にアークが流れる。そのときケーブル123に流れる電流波形は、IGN直後にピークとなる三角形の波形となり、その放電時間はt1となる。t1は1次コイル,2次コイルの巻線比で変更することが可能である。一般的には、T1は2〜3ms、t1は50〜100ms程度の値となる。一方、点火信号102はプラズマ放電用の点火信号で、IGNをトリガーにして、プラズマ放電用回路内に有する“スパーク点火用電源回路”から供給されたエネルギで中心電極33と外側接地電極30間で絶縁破壊が生じ、それに引き続いてコンデンサにチャージされていた電荷がプラズマ放電する。そのときケーブル124に流れる電流はIGNからt2遅れて立ち上がり、t3で放電が終了する。t2およびt3はプラズマ放電用回路内の設定で変更可能であるが、t2は0.01ms,t3は0.05ms程度の値である。
以上の点火プラグおよび回路構成とすることで、プラズマ放電の吹き出し効果を利用して、火花放電(アーク)の放電経路を吹き出し着火性を向上させることが可能となる。火花放電(アーク)の吹き出し量,持続時間が適切な量,時間となるように、T1およびt1〜3で調整する。また、火花放電(アーク)の吹き出しが不要な運転条件では、プラズマ放電を停止することで、アークの吹き出しは無くなり通常の火花放電型の点火システムとして機能する。これによりプラズマ放電のためのエネルギ消費を削減でき、点火プラグの劣化防止,耐久性向上,燃費向上に効果がある。
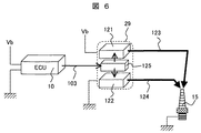
図6には別の回路構成例を示す。図4に示した回路構成に対して、点火信号制御装置125を追加した回路構成となっている。その他は図4の回路構成例と同じであるので説明は省略するが、ECU10が点火信号103のみを出力する点が異なっている。従って、1気筒当たりに使用するピン数,配線数などを半減することが可能となる。点火プラグ15は火花放電用中心電極とプラズマ放電用中心電極を持つハイブリット構成となっている。図7を用いて、点火信号制御装置125の機能を中心に説明する。点火信号103は火花放電用の点火信号で、それを受けた点火信号制御装置125は、火花放電用点火回路121に1次コイルへの通電を開始/終了する制御信号を出力する。点火信号制御装置125は、点火信号103の信号立下り位置をトリガーにして、プラズマ放電用点火回路122に信号を出力する。プラズマ放電用点火回路122内に有する“スパーク点火用電源回路”から供給されたエネルギで中心電極33と外側接地電極30間で絶縁破壊が生じ、それに引き続いてコンデンサにチャージされていた電荷がプラズマ放電する。そのときケーブル124に流れる電流はIGNからt2遅れて立ち上がり、t3で放電が終了する。t2およびt3はプラズマ放電用回路内の設定で変更可能であるが、t2は0.01ms,t3は0.05ms程度の値である。
以上の回路構成では、ECU10から出力される点火信号は1気筒当たり1本となるので、既存のエンジンシステムとの置き換えが容易となる。また、点火信号制御装置125を、火花放電用点火回路121,プラズマ放電用点火回路122とともに、一体化して点火制御装置29とした構成としても良い。
本発明を適用したエンジンシステム構成例。 ハイブリット構成の点火プラグ。 火花放電とプラズマ放電の様子を示す模式図。 本実施例の回路構成例。 点火信号と電流波形の関係を示す図。 本実施例の別の回路構成例。 点火信号と電流波形の関係を示す図。
符号の説明
1 エンジンシステム
2 エアフローセンサ
3 スロットル弁
4 吸気ダクト
5 吸気コレクタ
6 空気流動制御弁
7 吸気カムフェーズセンサ
8 排気カムフェーズセンサ
9 吸気管
10 ECU
11 排気ガス浄化触媒
12 点火コイル
13 吸気弁
14 排気弁
15 点火プラグ
16 ノックセンサ
17 床下触媒
18 排気管
19 燃料噴射弁
20 冷却水通路
21 水温センサ
22 燃焼室
23 ピストン
24 コンロッド
25 クランク軸
26 クランク角センサ
27 火花放電
28 プラズマ放電
29 点火制御装置
30 外側接地電極
31 火花放電用中心電極
32,34 絶縁部材
33 プラズマ放電用中心電極
35 閉空間
101 火花放電用点火信号
102 プラズマ放電用点火信号
103 点火信号
121 火花放電用点火回路
122 プラズマ放電用点火回路
123 火花放電用ケーブル
124 プラズマ放電用ケーブル
125 点火信号制御装置

Claims (7)

  1. 1つの接地電極に対して2つの中心電極を有し、前記接地電極と一方の中心電極(A)間と、前記接地電極と他方の中心電極(B)間に、2種類の放電を発生させる内燃機関の点火装置を1気筒毎に備え、前記点火装置に対して1気筒当たり2種類の点火信号を出力すること、
    を特徴とする内燃機関の点火制御装置。
  2. 請求項1に記載の2種類の点火信号のうち、一方は火花放電用点火信号であり、他方はプラズマ放電用点火信号であること、
    を特徴とする内燃機関の点火制御装置。
  3. 1つの接地電極に対して2つの中心電極を有し、前記接地電極と一方の中心電極(A)間と、前記接地電極と他方の中心電極(B)間に、2種類の放電を発生させる内燃機関の点火装置を1気筒毎に備え、前記点火装置に対して1気筒当たり1種類の点火信号を出力し、前記1種類の点火信号から2系統の点火信号を生成する点火信号制御装置を有すること、
    を特徴とする内燃機関の点火制御装置。
  4. 請求項3に記載の2系統の点火信号のうち、一方は火花放電用点火信号であり、他方はプラズマ放電用点火信号であること、
    を特徴とする内燃機関の点火制御装置。
  5. 接地電極と中心電極を内蔵する内燃機関の点火装置において、前記接地電極と前記中心電極間に、火花放電とプラズマ放電を発生させること、
    を特徴とする内燃機関の点火装置。
  6. 請求項5に記載の内燃機関の点火装置において、1つの接地電極に対して、2つの中心電極を有すること、を特徴とする内燃機関の点火装置。
  7. 1つの接地電極に対して2つの中心電極を有し、前記接地電極と一方の中心電極(A)間に火花放電を発生させ、前記接地電極と他方の中心電極(B)間にプラズマ放電を発生させ、前記火花放電の放電方向が前記プラズマ放電の放電方向とほぼ直交する構成となっていること、
    を特徴とする内燃機関の点火装置。
JP2008321714A 2008-12-18 2008-12-18 内燃機関の点火制御装置,制御方法および点火装置 Pending JP2010144592A (ja)

Priority Applications (1)

Application Number Priority Date Filing Date Title
JP2008321714A JP2010144592A (ja) 2008-12-18 2008-12-18 内燃機関の点火制御装置,制御方法および点火装置

Applications Claiming Priority (1)

Application Number Priority Date Filing Date Title
JP2008321714A JP2010144592A (ja) 2008-12-18 2008-12-18 内燃機関の点火制御装置,制御方法および点火装置

Publications (1)

Publication Number Publication Date
JP2010144592A true JP2010144592A (ja) 2010-07-01

Family

ID=42565280

Family Applications (1)

Application Number Title Priority Date Filing Date
JP2008321714A Pending JP2010144592A (ja) 2008-12-18 2008-12-18 内燃機関の点火制御装置,制御方法および点火装置

Country Status (1)

Country Link
JP (1) JP2010144592A (ja)

Cited By (3)

* Cited by examiner, † Cited by third party
Publication number Priority date Publication date Assignee Title
JP2013185557A (ja) * 2012-03-09 2013-09-19 Nippon Soken Inc 内燃機関用の点火装置
JP2015516051A (ja) * 2012-05-08 2015-06-04 ローゼンベルガー ホーフフレクベンツテクニーク ゲーエムベーハー ウント ツェーオー カーゲー 高周波プラズマ点火装置
CN114109614A (zh) * 2021-11-05 2022-03-01 苏州凯德航空科技有限公司 一种微型涡轮喷气发动机快速点火系统及其点火方法

Citations (6)

* Cited by examiner, † Cited by third party
Publication number Priority date Publication date Assignee Title
JPS50112632A (ja) * 1973-11-29 1975-09-04
JPH03264772A (ja) * 1989-11-21 1991-11-26 Cummins Engine Co Inc プラズマ電流の流通用の高導電性チャンネルを生成する方法及び装置
JPH11210607A (ja) * 1998-01-27 1999-08-03 Ngk Spark Plug Co Ltd 内燃機関用点火装置および内燃機関
JP2007032349A (ja) * 2005-07-25 2007-02-08 Denso Corp 内燃機関用点火装置
JP2008045449A (ja) * 2006-08-11 2008-02-28 Denso Corp 内燃機関用点火装置
JP2008218249A (ja) * 2007-03-06 2008-09-18 Denso Corp プラズマ式点火装置およびその製造方法

Patent Citations (6)

* Cited by examiner, † Cited by third party
Publication number Priority date Publication date Assignee Title
JPS50112632A (ja) * 1973-11-29 1975-09-04
JPH03264772A (ja) * 1989-11-21 1991-11-26 Cummins Engine Co Inc プラズマ電流の流通用の高導電性チャンネルを生成する方法及び装置
JPH11210607A (ja) * 1998-01-27 1999-08-03 Ngk Spark Plug Co Ltd 内燃機関用点火装置および内燃機関
JP2007032349A (ja) * 2005-07-25 2007-02-08 Denso Corp 内燃機関用点火装置
JP2008045449A (ja) * 2006-08-11 2008-02-28 Denso Corp 内燃機関用点火装置
JP2008218249A (ja) * 2007-03-06 2008-09-18 Denso Corp プラズマ式点火装置およびその製造方法

Cited By (4)

* Cited by examiner, † Cited by third party
Publication number Priority date Publication date Assignee Title
JP2013185557A (ja) * 2012-03-09 2013-09-19 Nippon Soken Inc 内燃機関用の点火装置
JP2015516051A (ja) * 2012-05-08 2015-06-04 ローゼンベルガー ホーフフレクベンツテクニーク ゲーエムベーハー ウント ツェーオー カーゲー 高周波プラズマ点火装置
CN114109614A (zh) * 2021-11-05 2022-03-01 苏州凯德航空科技有限公司 一种微型涡轮喷气发动机快速点火系统及其点火方法
CN114109614B (zh) * 2021-11-05 2024-06-07 苏州凯德航空科技有限公司 一种微型涡轮喷气发动机快速点火系统及其点火方法

Similar Documents

Publication Publication Date Title
JP4691373B2 (ja) 火花点火エンジン、当該エンジンに使用する制御装置、及び当該エンジンに使用する点火コイル
JP2008303841A (ja) 内燃機関及び内燃機関の制御装置
JP5765493B2 (ja) 内燃機関の点火装置および点火方法
JP5482692B2 (ja) 内燃機関の点火制御装置
JP6036771B2 (ja) 内燃機関の吸気装置
CN113825900A (zh) 内燃机用控制装置
US11939943B2 (en) Ignition apparatus for internal combustion engine
JP2010144592A (ja) 内燃機関の点火制御装置,制御方法および点火装置
JP6392535B2 (ja) 内燃機関の制御装置
JP4980807B2 (ja) 内燃機関の制御装置
JP5843047B2 (ja) 内燃機関の点火制御装置および点火制御方法
CN110073097B (zh) 点火控制系统及点火控制装置
WO2021157322A1 (ja) 副室式点火システム
KR20110105240A (ko) 다중 점화코일 및 점화플러그를 구비한 내연기관의 점화장치
WO2022030175A1 (ja) 点火システム
JP2013096289A (ja) 火花点火式内燃機関
JP2010116879A (ja) 内燃機関の点火制御装置または点火制御方法
JP4939629B2 (ja) 内燃機関の点火制御装置
JP6411951B2 (ja) 内燃機関の制御装置
JP2016114039A (ja) 内燃機関の点火装置
JP7412599B2 (ja) 内燃機関制御装置
WO2019235078A1 (ja) 内燃機関用制御装置
JP6531841B2 (ja) 点火装置
Lorenz et al. Advanced Ignition Systems: Technical Possibilities and Limitations
JP6217493B2 (ja) 直噴ガソリンエンジンの制御装置

Legal Events

Date Code Title Description
A621 Written request for application examination

Free format text: JAPANESE INTERMEDIATE CODE: A621

Effective date: 20100910

A521 Written amendment

Free format text: JAPANESE INTERMEDIATE CODE: A523

Effective date: 20100910

A977 Report on retrieval

Effective date: 20110816

Free format text: JAPANESE INTERMEDIATE CODE: A971007

A131 Notification of reasons for refusal

Effective date: 20110913

Free format text: JAPANESE INTERMEDIATE CODE: A131

A521 Written amendment

Effective date: 20111110

Free format text: JAPANESE INTERMEDIATE CODE: A523

A131 Notification of reasons for refusal

Free format text: JAPANESE INTERMEDIATE CODE: A131

Effective date: 20120228

A521 Written amendment

Effective date: 20120409

Free format text: JAPANESE INTERMEDIATE CODE: A523

A02 Decision of refusal

Free format text: JAPANESE INTERMEDIATE CODE: A02

Effective date: 20120612