JP2010143612A - キャップ部材 - Google Patents

キャップ部材 Download PDF

Info

Publication number
JP2010143612A
JP2010143612A JP2008322558A JP2008322558A JP2010143612A JP 2010143612 A JP2010143612 A JP 2010143612A JP 2008322558 A JP2008322558 A JP 2008322558A JP 2008322558 A JP2008322558 A JP 2008322558A JP 2010143612 A JP2010143612 A JP 2010143612A
Authority
JP
Japan
Prior art keywords
casing
ring
annular
cap
cap member
Prior art date
Legal status (The legal status is an assumption and is not a legal conclusion. Google has not performed a legal analysis and makes no representation as to the accuracy of the status listed.)
Pending
Application number
JP2008322558A
Other languages
English (en)
Inventor
Tokuyuki Tsuge
徳之 柘植
Current Assignee (The listed assignees may be inaccurate. Google has not performed a legal analysis and makes no representation or warranty as to the accuracy of the list.)
Toyota Motor Corp
Original Assignee
Toyota Motor Corp
Priority date (The priority date is an assumption and is not a legal conclusion. Google has not performed a legal analysis and makes no representation as to the accuracy of the date listed.)
Filing date
Publication date
Application filed by Toyota Motor Corp filed Critical Toyota Motor Corp
Priority to JP2008322558A priority Critical patent/JP2010143612A/ja
Publication of JP2010143612A publication Critical patent/JP2010143612A/ja
Pending legal-status Critical Current

Links

Images

Landscapes

  • Closures For Containers (AREA)
  • Lubrication Details And Ventilation Of Internal Combustion Engines (AREA)

Abstract

【課題】Oリングが切欠き部に挟み込まれてしまうのを防止することができ、Oリングの損傷や切断を防止して、キャップ本体およびケーシングの内部のシール性能が低下するのを防止することができるキャップ部材を提供すること。
【解決手段】キャップ本体34の環状ネジ部35aの周方向の所定箇所に形成された切欠き部38と、切欠き部38を挟んで環状ネジ部35aに形成され、環状ネジ部35aから環状凸部36に向かって突出する一対の突起部39a、39bとを設け、キャップ本体34がケーシング14に装着されたときに、キャップ本体34およびケーシング14の内部をOリング37によって液密状態に保持する。
【選択図】図5

Description

本発明は、キャップ部材に関し、特に、外周面にOリングが装着されることにより、キャップ部材およびケーシングの内部をOリングによって液密的に保持することができるキャップ部材に関する。
一般に、Oリングを介してケーシングに液密的に装着されるキャップ部材として、例えば、内燃機関を潤滑するオイルに混入した不純物等を濾過するエレメントを交換可能とするエレメント交換型フィルタを備えたキャップ部材が知られている。
従来のキャップ部材を備えたエレメント交換型フィルタとしては、図9に示すようなものが知られている(例えば、特許文献1参照)。図9において、筒状のケーシング1は、図示しないエレメントを収納するとともに、図示しない内燃機関のシリンダブロックに固定されており、ケーシング1の内周面には螺旋状に延在する雌ネジ2が形成されている。
このケーシング1にはキャップ部材3が装着されるようになっており、このキャップ部材3は、ケーシング1に対して着脱自在となっている。キャップ部材3は、有底筒状に形成されており、外周面に螺旋状の雄ネジ4が形成され、この雄ネジ4が雌ネジ2に螺合されることにより、キャップ部材3がケーシング1に締結される。
図10に示すように、キャップ部材3の外周面にはOリング5が嵌合されるようになっており、このOリング5は、キャップ部材3の底部側に設けられた環状凸部6と雄ネジ4の終端側(キャップ部材3の底部側)の環状ネジ部4aによって挟まれる環状溝7に嵌合されている。
また、ケーシング1にはドレン溝8が形成されており、このドレン溝8は、雌ネジ2の軸線方向と平行に延在している。また、キャップ部材3にはドレン溝9が形成されており、このドレン溝9は、雄ネジ4の回転軸に対して軸対称となる周方向に等間隔で設けられ、雄ネジ4の回転軸方向に平行な所定回転位置でドレン溝8と合致してドレン連通を構成するようになっている。
このような構成を有するエレメント交換型フィルタにあっては、エレメントを交換する場合に、ケーシング1に対してキャップ部材3を緩めてOリング5によるケーシング1とキャップ部材3の液密状態を解除した際に、所定回転位置でドレン溝8と一方のドレン溝9とを互いに合致させて連通させることによって、ケーシング1とキャップ部材3の内部に貯留されているオイルを外部に排出するようにしている。
ところで、Oリング5の交換時に、環状溝7にOリング5を容易に着脱することができるようにするために、環状ネジ部4aに作業者の指が入る程度の大きさの切欠き部4bを形成し、環状溝7に挿入されるOリング5が切欠き部4bを通して指で摘めることができるようにすることが考えられる。
特開2006−299870号公報
しかしながら、このような従来のエレメント交換型フィルタのキャップ部材3にあっては、環状ネジ部4aに作業者の指が入る程度の大きさの切欠き部4bが形成されているため、作業効率を向上させる観点からインパクトレンチ等の回転締結工具によってキャップ部材3をケーシング1に締結する際に、図11に示すように、Oリング5がケーシング1の内周面とキャップ部材3の外周面に挟圧されて環状溝7内で撓んでしまい、Oリング5の一部が切欠き部4bに挟み込まれてしまうことがあった。
このため、Oリング5が損傷したり、最悪の場合には切断されてしまい、ケーシング1およびキャップ部材3の内部のシール性能が低下してしまうおそれがあった。
本発明は、上述のような従来の問題を解決するためになされたもので、Oリングが切欠き部に挟み込まれてしまうのを防止することができ、Oリングの損傷や切断を防止して、キャップ本体およびケーシングの内部のシール性能が低下するのを防止することができるキャップ部材を提供することを目的とする。
本発明に係るキャップ部材は、上記目的を達成するため、(1)有底筒状のキャップ本体を有するとともに、前記キャップ本体の外周面の開口側から前記底部側に向かって螺旋状に延在する第1のネジ部がケーシングの内周面に形成された螺旋状の第2のネジ部に螺合することにより、前記キャップ本体が前記ケーシングに着脱自在に設けられ、前記キャップ本体の底部側の前記第1のネジ部の端部に位置する環状ネジ部および前記環状ネジ部から底部側に位置する環状凸部の間に挟み込まれるように、前記キャップ本体の外周面にOリングを嵌合自在なキャップ部材において、前記環状ネジ部の周方向の所定箇所に形成された切欠き部と、前記切欠き部を挟んで前記環状ネジ部に形成され、前記環状ネジ部から前記環状凸部に向かって突出する一対の突起部とを設け、前記キャップ本体が前記ケーシングに装着されたときに、前記キャップ本体および前記ケーシングの内部を前記Oリングによって液密状態に保持するものから構成されている。
この構成により、環状ネジ部の周方向の所定箇所に形成された切欠き部と、切欠き部を挟んで環状ネジ部に形成され、環状ネジ部から環状凸部に向かって突出する一対の突起部とを有するので、作業効率を向上させるために、インパクトレンチ等の回転締結工具によってキャップ本体をケーシングに締結する際に、Oリングがケーシングの内周面とキャップ本体の外周面に挟圧されて環状ネジと環状凸部との間で撓んでしまった場合に、Oリングが切欠き部に挟み込まれるようにするには、Oリングを突起部の厚み分だけさらに変形させる必要がある。
換言すれば、Oリングを突起部の厚み分だけさらに変形させなければ、Oリングが切欠き部に挟み込まれないようにすることができるので、キャップ本体をケーシングに締結する際にOリングが撓んだ場合であっても、Oリングが切欠き部に挟み込まれるのを防止することができる。
この結果、Oリングが損傷したり、切断されてしまうのを防止することができ、ケーシングおよびキャップ本体の内部のシール性能が低下してしまうのを防止することができる。
本発明によれば、Oリングが切欠き部に挟み込まれてしまうのを防止することができ、Oリングの損傷や切断を防止して、キャップ本体およびケーシングの内部のシール性能が低下するのを防止することができるキャップ部材を提供することができる。
以下、本発明に係るキャップ部材の実施の形態について、図面を用いて説明する。
図1〜図8は、本発明に係るキャップ部材の一実施の形態を示す図であり、キャップ部材をエレメント交換型フィルタのキャップ部材に適用した例を示している。
まず、構成を説明する。
図1において、内燃機関11のシリンダブロック12の下端部にはエレメント交換型フィルタ13が設けられており、このエレメント交換型フィルタ13は、シリンダブロック12の下端部に一体的に固定されたケーシング14と、このケーシング14に対して着脱可能に装着されるキャップ部材15とを備えている。
図2は、エレメント交換型フィルタ13の断面図である。エレメント交換型フィルタ13は、ケーシング14およびキャップ部材15に加えて、押え板16、ナット部材17およびフィルタエレメント18を含んで構成されている。
内燃機関11から送られてくるオイルは、入口部19からエレメント交換型フィルタ13の内部に流入する。オイルはケーシング14および押え板16に設けられた貫通孔20、21を通過した後に、フィルタエレメント18により濾過された後、中央空間22から接続管23を通って、再び内燃機関11に送り出されるようになっている。
内燃機関11のシリンダブロック12には、エレメント交換型フィルタ13を固定するためのブラケット24が設けられており、このブラケット24の上部端面24aは、エレメント交換型フィルタ13を設置するための取付け座となっている。
また、ブラケット24は、オイルをシリンダブロック12から導入するための入口部19と、フィルタエレメント18によって濾過されたオイルをシリンダブロック12に送出するための出口部25とを備えている。ブラケット24のオイルの出口部25には雌ネジが加工されており、この雌ネジに接続管23の一端の雄ネジが螺合されることにより、接続管23がブラケット24に締め付け固定されている。
また、ケーシング14の下部端面14aは、ブラケット24の上部端面24aに当接しており、ケーシング14は、ブラケット24の所定位置に配置されている。
ケーシング14は、筒状に形成されており、ブラケット24の上部端面24aの近傍が円筒形状であるため、ケーシング14がブラケット24に配置されると、ケーシング14とブラケット24の円筒形状が中心軸を共通にして接続された構造となる。
押え板16の中央には穴部16aが形成されており、この穴部16aの内周面には雌ネジが形成され、この雄ネジに接続管23の上端に形成された雄ネジに螺合されるようになっている。これにより、円盤形状の押え板16の周縁である押圧部16bがケーシング14の底面14bをブラケット24方向に押え付けることで、ケーシング14がブラケット24に固定される。
また、ナット部材17は、筒状に形成されており、ナット部材17の穴部17aに形成された雌ネジが、接続管23の上端の雄ネジに締め付けられることにより、ナット部材17の下面17bが押え板16の上面16cを下方に押え付けることで、押え板16のネジ締結の緩みが防止されるようになっている。
フィルタエレメント18は、濾紙を折曲げて円筒状に形成されたものから構成されており、フィルタエレメント18はケーシング14内に取付けられるようになっている。
キャップ部材15は、底部31、底部31と一体的に設けられた筒状部32、底部31から上方に突出し、作業者によって把持される把持部33とを備えた有底筒状のキャップ本体34を備えている。
また、キャップ本体34の底部31の背面には下方に突出する突出部31aが形成されており、ケーシング14内に取付けられたフィルタエレメント18の上下開放端から突出部31aおよびナット部材17が挿通されることで、フィルタエレメント18がケーシング14内に固定される。
図2、図3に示すように、ケーシング14の内周面の開口端側には第2のネジ部としての雌ネジ26が形成されており、この雌ネジ26は、ケーシング14の周方向に螺旋状に延在している。
また、キャップ本体34の筒状部32の外周面には第1のネジ部としての雄ネジ35が形成されており、この雄ネジ35は、筒状部32の周方向に螺旋状に延在している。
キャップ本体34は、ケーシング14に着脱自在になっており、雌ネジ26と雄ネジ35が螺合されることにより、キャップ本体34がケーシング14に締結される。また、キャップ本体34の把持部33には嵌合穴33aが形成されており、この嵌合穴33aにはインパクトレンチ等の回転締結工具の回転部の先端が嵌合されるようになっている。
また、図4に示すように、雄ネジ35は、筒状部32の開口32a側から底部31側に向かって螺旋状に形成されており、雌ネジ26に雄ネジ35が螺合して筒状部32の開口32aがケーシング14に最大限押し込まれたときに、雄ネジ35の端部は、筒状部32の底部31側の雄ネジ35の端部に位置する環状ネジ部35aに位置するようになっている。
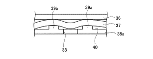
また、環状ネジ部35aに対して底部31側には環状凸部36が設けられており、図5に示すように、環状ネジ部35aおよび環状凸部36の間に挟み込まれるように筒状部32の外周面にOリング37が嵌合されるようになっている。
本実施の形態では、環状ネジ部35a、環状凸部36および筒状部32によって囲まれる環状溝40にOリング37が着脱自在となっている。
また、図4〜図6に示すように、環状ネジ部35aの周方向の所定箇所に切欠き部38が形成されており、この切欠き部38は、作業者が環状溝40に対してOリング37を着脱する際に、Oリング37を指で摘めるように環状溝40に指が入る程度の大きさに形成されている。
また、環状ネジ部35aには、一対の突起部39a、39bが形成されており、この突起部39a、39bは、切欠き部38を挟んで対向し、環状ネジ部35aから環状凸部36に向かって突出している。
図6に示すように、この突起部39a、39bの板厚Tは、環状ネジ部35aの板厚と同等若しくは、それ以下に設定されており、突起部39a、39bの長さは、5mm〜10mmの範囲に設定されている。
また、環状凸部36に対して筒状部32の底部31側にはフランジ部41が形成されており、このフランジ部41は、ケーシング14にキャップ本体34を装着したときに、ケーシング14の開口端14cに当接して、ケーシング14内に取付けられたフィルタエレメント18の上部開放端から突出部31aが適正な位置で挿通されるようにキャップ本体34をケーシング14に対して位置決めするようになっている。
また、ケーシング14に対してキャップ本体34を装着したときに、Oリング37がケーシング14とキャップ本体34の間に介装されることにより、キャップ本体34およびケーシング14の内部が液密状態に保持される。
また、図3に示すように、ケーシング14の内周面にはドレン溝部42が形成されており、このドレン溝部42は、ケーシング14の軸線方向(キャップ本体34の回転軸線)と同方向に延在している。
また、図3〜図5に示すように、キャップ本体34の筒状部32の外周面にはドレン溝43が形成されており、このドレン溝43は、キャップ本体34の回転軸線と平行に延在している。このドレン溝43は、例えば、筒状部32の円周方向に等間隔で4個形成されており、ケーシング14に対してキャップ本体34を緩めることにより、Oリング37によってケーシング14およびキャップ本体34の液密状態を解除した際に、ドレン溝43が所定回転位置でドレン溝42と合致するようになっている。
そして、キャップ本体34の所定回転位置でドレン溝42とドレン溝43とが合致したときに、ケーシング14およびキャップ本体34の間のオイルがドレン溝42、43によって画成されるドレン通路から外部に排出されるようになっている。
このような構成を有するエレメント交換型フィルタ13にあっては、Oリング37の交換時に、環状溝40からOリング37を取り外す必要がある。このとき、作業者は、切欠き部38を通してOリング37を摘むことにより、環状溝40からOリング37を容易に取り外すことができる。
次いで、環状溝40にOリング37を装着した後にキャップ本体34をケーシング14に装着する。このとき、嵌合穴33aにインパクトレンチ等の回転締結工具の回転部の先端を嵌合し、回転部を高速回転させることにより、キャップ本体34を高速回転させることにより、キャップ本体34をケーシング14に取付けることができ、キャップ本体34の取付け作業の作業性を向上させることができる。
このとき、雌ネジ26に雄ネジ35が螺合することにより、キャップ本体34の筒状部32にケーシング14に高速回転で押し込まれていくため、Oリング37がケーシング14の内周面と筒状部32の外周面に挟圧されて環状溝40内で撓んでしまい、Oリング37の切欠き部38に挟み込まれてしまうおそれがある。
本実施の形態では、環状ネジ部35aの周方向の所定箇所に形成された切欠き部38を挟んで環状ネジ部35aに形成され、環状ネジ部35aから環状凸部36に向かって突出する一対の突起部39a、39bを設けたので、上述したように作業効率を向上させるために、インパクトレンチ等の回転締結工具によってキャップ本体34をケーシング14に締結する際に、Oリング37がケーシング14の内周面と筒状部32の外周面に挟圧されて環状ネジ部35aと環状凸部36との間で撓んでしまった場合に、Oリング37が切欠き部38に挟み込まれるようにするには、Oリング37を突起部39a、39bの厚み分だけさらに変形させる必要がある。
換言すれば、Oリング37を突起部39a、39bの厚み分だけさらに変形させなければ、Oリング37が切欠き部38に挟み込まれないようにすることができるので、図7に示すように、キャップ本体34をケーシング14に締結する際にOリング37が撓んだ場合であっても、Oリング37が切欠き部38に挟み込まれるのを防止することができる。
この結果、Oリング37が損傷したり、切断されてしまうのを防止することができ、ケーシング14およびキャップ本体34の内部のシール性能が低下してしまうのを防止することができる。
なお、本実施の形態では、図6に示すように、突起部39a、39bの突出端を平面状にしているが、図8(a)に示すように、切欠き部38に位置する突起部51、52にテーパ部51a、52aを設けてもよい。
このようにすれば、キャップ本体34の装着時に、突起部51、52の切欠き部38側の角部を無くすことができ、Oリング37が切欠き部38側に撓んだ場合に、Oリング37がテーパ部51a、52aに当接させて、Oリング37が損傷するのを防止することができる。
また、図8(b)に示すように、突起部61、62の長さ方向(Oリング37の延在方向)の両端部にテーパ部61a、61b、62a、62bを設けてもよい。
このようにすれば、突起部61、62に角部を無くすことができるため、キャップ本体34の装着時にOリング37が切欠き部38側に撓んだ場合に、Oリング37をテーパ部61a、61b、62a、62bに当接させて、Oリング37が損傷するのを防止することができる。
なお、図8(a)、(b)においては、テーパ部51a、52aを除いた突起部51、52の突出端の長さと、テーパ部61a、61b、62a、62bを除いた突起部61、62の突出端の長さとが、それぞれ5mm〜10mmの範囲に設定されている。
また、本実施の形態では、環状凸部を、フランジ部41と環状ネジ部35aの間に設けられた環状凸部36から構成しているが、フランジ部41から構成してもよい。この場合には、環状凸部36を廃止して環状ネジ部35aをフランジ部41に近接させることにより、環状ネジ部35aおよびフランジ部41の間に挟み込まれるように筒状部32の外周面にOリング37を嵌合すればよい。
また、本実施の形態では、キャップ部材15をエレメント交換型フィルタ13に適用しているが、これに限らず、ケーシングとしてのリザーバタンクに着脱されるキャップ部材等に適用してもよい。要は、キャップ部材およびケーシングの内部をOリングによって液密状態に保持できるものであれば、どのようなキャップ部材にも適用することができる。
また、今回開示された実施の形態は、全ての点で例示であってこの実施の形態に制限されるものではない。本発明の範囲は、上記した実施の形態のみの説明ではなくて特許請求の範囲によって示され、特許請求の範囲と均等の意味および範囲内での全ての変更が含まれることが意図される。
以上のように、本発明に係るキャップ部材は、Oリングが切欠き部に挟み込まれてしまうのを防止することができ、Oリングの損傷や切断を防止して、キャップ本体およびケーシングの内部のシール性能が低下するのを防止することができるという効果を有し、外周面にOリングが装着されることにより、キャップ部材およびケーシングの内部をOリングによって液密的に保持することができるキャップ部材等として有用である。
本発明に係るキャップ部材の一実施の形態を示す図であり、内燃機関のシリンダブロックの下部付近の斜視図である。 本発明に係るキャップ部材の一実施の形態を示す図であり、エレメント交換型フィルタの断面図である。 本発明に係るキャップ部材の一実施の形態を示す図であり、キャップ部材とケーシングの分解斜視図である。 本発明に係るキャップ部材の一実施の形態を示す図であり、Oリングが装着されていない状態のキャップ部材の正面図である。 本発明に係るキャップ部材の一実施の形態を示す図であり、Oリングが取付けられた状態のキャップ部材の上面図である。 本発明に係るキャップ部材の一実施の形態を示す図であり、切欠き部および突起部が形成された部分のキャップ部材の要部拡大図である。 本発明に係るキャップ部材の一実施の形態を示す図であり、切欠き部および突起部が形成された部分でOリングが撓んだ状態のキャップ部材の要部拡大図である。 本発明に係るキャップ部材の一実施の形態を示す図であり、他の形状の突起部を有するキャップ部材の要部拡大図である。 従来のケーシングおよびキャップ部材の分解斜視図である。 従来のキャップ部材の正面図である。 切欠き部および突起部が形成された部分でOリングが撓んだ状態の従来のキャップ部の要部拡大図である。
符号の説明
14 ケーシング
15 キャップ部材
26 雌ネジ(第2のネジ部)
34 キャップ本体
35 雄ネジ(第1のネジ部)
35a 環状ネジ部
36 環状凸部
37 Oリング
38 切欠き部
39a、39b 突起部
51、52 突起部
61、62 突起部

Claims (1)

  1. 外周面の開口側から底部側に向かって螺旋状に延在する第1のネジ部が形成された有底筒状のキャップ本体を有し、前記第1のネジ部がケーシングの内周面に形成された螺旋状の第2のネジ部に螺合することにより、前記キャップ本体が前記ケーシングに着脱自在に設けられ、
    前記キャップ本体の底部側の前記第1のネジ部の端部に位置する環状ネジ部および前記環状ネジ部から前記底部側に位置する環状凸部の間に挟み込まれるように、前記キャップ本体の外周面にOリングを嵌合自在なキャップ部材において、
    前記環状ネジ部の周方向の所定箇所に形成された切欠き部と、前記切欠き部を挟んで前記環状ネジ部に形成され、前記環状ネジ部から前記環状凸部に向かって突出する一対の突起部とを設け、
    前記キャップ本体が前記ケーシングに装着されたときに、前記キャップ本体および前記ケーシングの内部を前記Oリングによって液密状態に保持することを特徴とするキャップ部材。
JP2008322558A 2008-12-18 2008-12-18 キャップ部材 Pending JP2010143612A (ja)

Priority Applications (1)

Application Number Priority Date Filing Date Title
JP2008322558A JP2010143612A (ja) 2008-12-18 2008-12-18 キャップ部材

Applications Claiming Priority (1)

Application Number Priority Date Filing Date Title
JP2008322558A JP2010143612A (ja) 2008-12-18 2008-12-18 キャップ部材

Publications (1)

Publication Number Publication Date
JP2010143612A true JP2010143612A (ja) 2010-07-01

Family

ID=42564454

Family Applications (1)

Application Number Title Priority Date Filing Date
JP2008322558A Pending JP2010143612A (ja) 2008-12-18 2008-12-18 キャップ部材

Country Status (1)

Country Link
JP (1) JP2010143612A (ja)

Cited By (2)

* Cited by examiner, † Cited by third party
Publication number Priority date Publication date Assignee Title
JP2013060824A (ja) * 2011-09-12 2013-04-04 Toyota Motor Corp オイルフィルタ
JP2018145900A (ja) * 2017-03-07 2018-09-20 本田技研工業株式会社 内燃機関のオイルフィルタ構造

Cited By (2)

* Cited by examiner, † Cited by third party
Publication number Priority date Publication date Assignee Title
JP2013060824A (ja) * 2011-09-12 2013-04-04 Toyota Motor Corp オイルフィルタ
JP2018145900A (ja) * 2017-03-07 2018-09-20 本田技研工業株式会社 内燃機関のオイルフィルタ構造

Similar Documents

Publication Publication Date Title
RU2615740C2 (ru) Режущий инструмент с внутренней системой подачи жидкости
EP2906328B1 (en) Upper end cap for filter
US20140110321A1 (en) Liquid Filter and Engine Subassembly Acting as a Support on which to Mount a Filter Canister
US11351484B2 (en) Spin-on filter for suction-side and pressure-side applications in filtration systems
KR102521405B1 (ko) 스핀온 유체 처리 장치 및 방법
US10201769B2 (en) Filter device
US7695618B2 (en) Filter cartridge and mounting system therefor having foolproofing means
US20200368653A1 (en) Adapter For A Filter Assembly
US20180111065A1 (en) Filter apparatus
JP2010143612A (ja) キャップ部材
CA2943170C (en) Filter assembly
JP2006082010A (ja) 流体濾過フィルタ
CN211734018U (zh) 一种叠加滤芯结构
CN108328760B (zh) 滤芯壳和滤芯
CN220609344U (zh) 滤芯组件和蛋液过滤器
CN214287050U (zh) 一种前置过滤器
CN214838574U (zh) 一种洗衣机用进水阀
CN218357888U (zh) 一种可拆卸式不锈钢外壳组件、滤芯及净水器
JP5668652B2 (ja) オイルフィルタ
CN213870090U (zh) 一种便于更换的柴油机滤清器
CN220168010U (zh) 快速组装式油滤
JP2000140525A (ja) オイルフィルタ及びそれに用いる弁体
KR200307504Y1 (ko) 보호캡을 갖는 정수기용 필터
JP2545835B2 (ja) 組合わせ式オイルフィルタ取付け用ユニオンボルトと組合わせ式オイルフィルタ装置
JP2006299870A (ja) エレメント交換型フィルタ