JP2010142435A - 展示物照明装置 - Google Patents

展示物照明装置 Download PDF

Info

Publication number
JP2010142435A
JP2010142435A JP2008323030A JP2008323030A JP2010142435A JP 2010142435 A JP2010142435 A JP 2010142435A JP 2008323030 A JP2008323030 A JP 2008323030A JP 2008323030 A JP2008323030 A JP 2008323030A JP 2010142435 A JP2010142435 A JP 2010142435A
Authority
JP
Japan
Prior art keywords
lamp
angle
wall surface
holding member
fixing portion
Prior art date
Legal status (The legal status is an assumption and is not a legal conclusion. Google has not performed a legal analysis and makes no representation as to the accuracy of the status listed.)
Pending
Application number
JP2008323030A
Other languages
English (en)
Inventor
Hisao Kitagawa
比佐雄 北川
Current Assignee (The listed assignees may be inaccurate. Google has not performed a legal analysis and makes no representation or warranty as to the accuracy of the list.)
Panasonic Electric Works Co Ltd
Original Assignee
Panasonic Electric Works Co Ltd
Priority date (The priority date is an assumption and is not a legal conclusion. Google has not performed a legal analysis and makes no representation as to the accuracy of the date listed.)
Filing date
Publication date
Application filed by Panasonic Electric Works Co Ltd filed Critical Panasonic Electric Works Co Ltd
Priority to JP2008323030A priority Critical patent/JP2010142435A/ja
Publication of JP2010142435A publication Critical patent/JP2010142435A/ja
Pending legal-status Critical Current

Links

Images

Landscapes

  • Freezers Or Refrigerated Showcases (AREA)
  • Securing Globes, Refractors, Reflectors Or The Like (AREA)

Abstract

【課題】展示物の寸法、形状に応じて照明角度を任意に調整することができ、かつ通路に沿って常に均一な明るさで照明可能な展示物照明装置を提供する。
【解決手段】光源3を有する灯具2が取り付け保持される灯具保持部材4と、灯具2の照明角度調整用の角度調整部材5とを備え、両者4,5とは共に灯具2の長手方向の全長よりも短尺であり、かつ、灯具保持部材4は灯具2が固定される灯具固定アーム部41と、展示ケース1の壁面に固定される壁面固定部42とを有し、両者41,42間がヒンジ43を介して揺動可能に連結される一方、角度調整部材5は壁面固定部42に対して摺動可能に取り付けられる摺動固定部51と、この摺動固定部51から一体に延設されて灯具2に当接する灯具当接部52とを有する。
【選択図】図1

Description

本発明は、例えば美術館や博物館などの展示室において、観察用の透明パネルが前面に設けられた展示ケース内に配置される美術工芸品や絵画などの展示物を、展示ケース内の斜め上方から照明するための展示物照明装置に関する。
美術館や博物館などの展示室においては、図8に示すように、通路aに沿って展示ケースbが設けられ、この展示ケースbの前面に観察用のガラス等でできた透明パネルcが取り付けられている。そして、この展示ケースb内に美術工芸品や絵画などの展示物dが陳列される。
その場合、陳列された展示物dを十分に観察、鑑賞できるように、従来から展示ケースbの天井近傍に展示物照明装置eを設け、上方から斜め下方に向けて展示物dを照明するようにしている。なお、fは展示ケースbの天井側に傾斜して設けられた内装材である。
ここで、展示ケースb内に陳列される展示物dは、大小様々な形状のものがあるので、展示物照明装置eは、展示物dの寸法、形状に応じて照明角度を任意に調整できる必要があるだけでなく、通路aに沿って常に均一な明るさで照明できることが要求される。例えば、屏風や絵巻物などのように展示物dが長尺のものでは、通路aに沿って長く配置されるので、その照明も通路に沿ってできるだけ均一に照射されることが望まれる。
ところで、蛍光灯など照明用の光源は、製造上および取り扱い上、一定長さの寸法のものに限られるので、上記のように長尺の展示物dを照明するためには、展示ケースb内において、照明用の光源を通路aに沿って順次配列することになる。しかも、照明角度も任意に調整できる必要がある。そのため、従来の展示物照明装置には、例えば、図9および図10に示すような構成を採用したものがある。
すなわち、従来の展示物照明装置eは、展示ケースbの天井側の内装材fに複数の逆U字状のアングルgを通路aに沿う方向に順次配列固定し、各アングルgの左右のアーム部g1の間に光源を有する灯具hをボルトiとナットj等を適用して回動可能に取り付けて構成されている。
ところが、このような構成を採用すると、灯具hを回動させて照明角度を調整したり、光源の交換等で灯具hをアングルgから取り外したりする際に、ボルトiを緩める必要が生じるため、互いに隣接するアングルgのアーム部g1相互間には自ずと一定の隙間L1を確保することが必要となる。そして、このような隙間L1を確保する必要があると、灯具hの配置が途切れ途切れとなり、灯具hの配列方向において明暗のむらが生じ、展示物dを通路aに沿って常に均一な明るさで照明することが難しい。
灯具の複数台を一列に配列する場合において、このような明暗のむらが生じるのを回避するため、従来技術では、互いに隣接する灯具同士の間の境界部背面側に凹面状の反射体を設け、光源の端部近傍から出射された光をこの反射体で反射するようにして、配列方向において均一な明るさを確保できるようにしたものが提案されている(例えば、下記の特許文献1参照)。
特開平7−151454号公報
上記の特許文献1記載の従来技術では、互いに隣接する灯具同士の間の境界部背面側に凹面状の反射体を設けているので、通路に沿う方向において展示物を有る程度まで均一な明るさで照明することが可能である。
しかし、この特許文献1記載の従来技術の場合、灯具が展示ケースの壁面にそのまま固定された構造であるため、照明角度を任意に調整することができず、様々な展示物の寸法、形状に応じて適切な角度で照明を行うことが難しい。
本発明は、上記の課題を解決するためになされたもので、比較的簡単な構成でもって、展示物の寸法、形状に応じて照明角度を任意に調整することができ、かつ、通路に沿って常に均一な明るさで照明することが可能な展示物照明装置を提供することを目的とする。
上記の目的を達成するために、観察用の透明パネルが前面に設けられた展示ケース内に配置される展示物を前記展示ケース内の斜め上方から照明するための展示物照明装置において、次の構成を採用している。
すなわち、請求項1記載の発明に係る展示物照明装置は、光源を有する灯具と、この灯具が取り付け保持される灯具保持部材と、前記灯具の照明角度調整用の角度調整部材とを備え、前記灯具保持部材と前記角度調整部材とは、共に前記灯具の長手方向の全長よりも短尺であり、かつ、前記灯具保持部材は、前記灯具が固定される灯具固定アーム部と、前記展示ケースの壁面に固定される壁面固定部とを有し、前記灯具固定アーム部が前記壁面固定部にヒンジを介して揺動可能に連結される一方、前記角度調整部材は、前記壁面固定部に対して摺動可能に取り付けられる摺動固定部と、この摺動固定部から一体に延設されて前記灯具に当接する灯具当接部とを有することを特徴としている。
また、請求項2記載の発明に係る展示物照明装置は、請求項1記載の発明の構成において、前記灯具保持部材の前記壁面固定部には、前記角度調整部材の摺動量に対する前記灯具の傾斜角度に関連付けた傾斜角度読取部が設けられていることを特徴としている。
また、請求項3記載の発明に係る展示物照明装置は、請求項2記載の発明の構成において、前記角度調整部材は前記展示ケースの天井側において内外を仕切る内装材の内側に設けられる一方、前記灯具は前記内装材に形成された照明孔に対してその外側から内側に向けて臨むように配設されていることを特徴としている。
請求項1記載の発明によれば、灯具を灯具保持部材の灯具固定アーム部に取り付けるとともに、壁面固定部を展示ケースの壁面に固定した上で、角度調整部材の摺動固定部を壁面固定部に対して摺動すると、灯具当接部が灯具に当接して押圧するので、これによって、灯具が灯具固定アーム部と共にヒンジを中心にして回転し、灯具による照明角度を任意に調整することができる。しかも、灯具保持部材と角度調整部材とは、共に灯具の長手方向の全長よりも短尺になるように形成されているので、複数の灯具を通路に沿う方向に一列に配列した場合でも灯具保持部材と角度調整部材が隣接する灯具に対して干渉することがない。そのため、互いに隣接する灯具相互間の隙間を極めて狭くすることができ、通路に沿って常に均一な明るさで照明することが可能になる。
また、請求項2記載の発明によれば、灯具保持部材の壁面固定部には、角度調整部材の摺動量に対する灯具の傾斜角度に関連付けた傾斜角度読取部が設けられているので、角度調整部材の摺動位置から容易に灯具の傾斜角度を読み取ることができ、灯具の照明角度の調整を簡単に行うことができる。
また、請求項3記載の発明によれば、角度調整部材は展示ケースの天井側において内外を仕切る内装材の内側に設けられるので、展示ケースの内側から傾斜角度読取部を容易に視認することができ、灯具の照明角度の調整が簡単であるとともに、灯具は展示ケースの内側にそのまま露出しないので、見た目が良く、展示物の観察、鑑賞の邪魔になることがない。
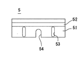
以下、本発明の実施の形態について、図面を参照して詳しく説明する。図1は本発明の実施の形態における展示物照明装置を展示ケースに設置した状態を拡大して示す側面断面図、図2は同装置を構成する灯具を一列に配列した状態を示す正面図、図3は同装置を構成する灯具保持部材の正面図、図4はその側面図、図5は同装置を構成する角度調整部材の正面図、図6はその側面図、図7は灯具保持部材に角度調整部材を組み付けた状態を示す正面図である。
この実施の形態の展示物照明装置は、展示ケース1内の天井近傍の通路側の位置に複数台の灯具2が通路に沿うように一列に配列されている。そして、各灯具2の内部には光源となる蛍光灯や白熱灯などの直管型のランプ3が設けられている。また、各々の灯具2に対しては、灯具2が取り付け保持される灯具保持部材4と、灯具2の照明角度調整用の角度調整部材5とが配設されている。
この場合、灯具保持部材4と角度調整部材5とは共に、各灯具2の長手方向の全長の寸法よりも短尺になるように形成されている。そして、灯具保持部材4の後述する壁面固定部42と角度調整部材5の後述する摺動固定部51とは展示ケース1の天井側の内外を仕切る内装材6よりも内側に位置するように設けられる一方、灯具2は内装材6に形成された照明孔61に対してその外側から内側に向けて臨むように配設されている。これにより、各灯具2によって展示ケース1内の図示しない展示物が斜め上方から照明される。
上記の灯具保持部材4は、灯具2が固定される平板状の灯具固定アーム部41と、展示ケース1の通路側の垂直な壁面に固定される平板状の壁面固定部42とを有し、灯具固定アーム部41が壁面固定部42に対して蝶番等からなるヒンジ43を介して揺動可能に連結されている。また、この灯具保持部材4の壁面固定部42の左右位置には角度調整部材5を取り付けるための蝶ナット7が螺合されるネジ部44が突設され、また、左右のネジ部44の間の位置には角度調整部材5の摺動量に対する灯具2の傾斜角度に関連付けた傾斜角度読取部45が角度目盛として形成されている。
一方、角度調整部材5は、壁面固定部42に対して摺動可能に取り付けられる摺動固定部51と、この摺動固定部51から一体に延設された灯具当接部52とを有し、灯具当接部52の灯具2に当接する先端部分は略ヘの字状に屈曲されている。また、摺動固定部51には、その左右位置に灯具保持部材4のネジ部44が挿通される取付位置調整用の長穴53が形成され、また、左右の長穴53の間には傾斜角度読取部45を露出させるための切欠部54が形成されている。
上記構成において、展示物照明装置を展示ケース1に装備する際には、灯具2を灯具保持部材4の灯具固定アーム部41にネジ等で固定するとともに、灯具2が内装材6の照明孔61に対してその外側から内側に向けて臨むようにして壁面固定部42を展示ケース1内の通路側の内装材6よりも内側の垂直な壁面にネジ等で固定する。
次に、角度調整部材5の摺動固定部51に設けられている長穴53を灯具保持部材4のネジ部44に挿入してから、このネジ部44に蝶ナット7を螺合した上で、角度調整部材5を長穴53に沿って上下に摺動する。すると、角度調整部材5の灯具当接部52の先端部分が灯具2に当接してこれを押圧することになるので、これによって、灯具2が灯具固定アーム部41と共にヒンジ43を中心にして回転するため、灯具2による展示物に対する照明角度を任意に調整することができる。
その際、角度調整部材5に形成された切欠部54によって傾斜角度読取部45が展示ケース1の内側に向けて露出しているので、傾斜角度読取部45の目盛を目安にして容易に灯具2の傾斜角度を設定することができ、灯具2の照明角度の調整を一層簡単に行うことができる。
そして、灯具2の照明角度が適切になるように調整した後は、蝶ナット7を確実に締結することで、灯具2が所定の照明角度に固定される。また、展示物が交換されて照明角度を変更する必要が生じたときには、蝶ナット7を緩めて角度調整部材5を切欠部54に沿って摺動させることで灯具2の角度をθ1〜θ2の範囲で任意に調整することができる。
しかも、この実施の形態の場合、灯具保持部材4と角度調整部材5は共に灯具2の長手方向の全長の寸法よりも短尺になるように形成されているので、図2に示すように、複数の灯具2を通路に沿う方向に一列に配列した場合でも、灯具保持部材4と角度調整部材5が隣接する灯具2に干渉することがない。そのため、互いに隣接する灯具2の相互間の隙間L0を極めて狭くすることができ、その結果、通路に沿って常に均一な明るさで照明することが可能になる。
なお、上記の実施の形態では、美術館や博物館などの展示室に陳列された美術工芸品や絵画などの展示物を照明する場合について説明したが、本発明はこれに限定されるものではなく、食品、衣類、宝石等の販売商品が展示物として配置された展示ケース内を照明する場合にも適用することが可能である。
本発明の実施の形態における展示物照明装置を展示ケースに設置した状態を拡大して示す側面断面図である。 同装置を構成する灯具を一列に配列した状態を示す正面図である。 同装置を構成する灯具保持部材の正面図である。 図3の灯具保持部材の側面図である。 同装置を構成する角度調整部材の正面図である。 図5の角度調整部材の側面図である。 灯具保持部材に角度調整部材を組み付けた状態を示す正面図である。 展示ケース内に設置された展示物を照明する場合の状況を示す説明図である。 展示ケース内に設けられた従来の展示物照明装置の配置状態を示す正面図である。 図9の符号Xで示す部分を拡大して示す正面図である。
符号の説明
1 展示ケース
2 灯具
3 光源(ランプ)
4 灯具保持部材
41 灯具固定アーム部
42 壁面固定部
43 ヒンジ
45 傾斜角度読取部
5 角度調整部材
51 摺動固定部
52 灯具当接部
6 内装材
61 照明孔

Claims (3)

  1. 観察用の透明パネルが前面に設けられた展示ケース内に配置される展示物を前記展示ケースの斜め上方から照明するための展示物照明装置であって、光源を有する灯具と、この灯具が取り付け保持される灯具保持部材と、前記灯具の照明角度調整用の角度調整部材とを備え、前記灯具保持部材と前記角度調整部材とは、共に前記灯具の長手方向の全長よりも短尺であり、かつ、前記灯具保持部材は、前記灯具が固定される灯具固定アーム部と、前記展示ケースの壁面に固定される壁面固定部とを有し、前記灯具固定アーム部が前記壁面固定部にヒンジを介して揺動可能に連結され一方、前記角度調整部材は、前記壁面固定部に対して摺動可能に取り付けられる摺動固定部と、この摺動固定部から一体に延設されて前記灯具に当接する灯具当接部とを有することを特徴とする展示物照明装置。
  2. 前記灯具保持部材の前記壁面固定部には、前記角度調整部材の摺動量に対する前記灯具の傾斜角度に関連付けた傾斜角度読取部が設けられていることを特徴とする請求項1記載の展示物照明装置。
  3. 前記角度調整部材は前記展示ケースの天井側において内外を仕切る内装材の内側に設けられる一方、前記灯具は前記内装材に形成された照明孔に対してその外側から内側に向けて臨むように配設されていることを特徴とする請求項2に記載の展示物照明装置。
JP2008323030A 2008-12-19 2008-12-19 展示物照明装置 Pending JP2010142435A (ja)

Priority Applications (1)

Application Number Priority Date Filing Date Title
JP2008323030A JP2010142435A (ja) 2008-12-19 2008-12-19 展示物照明装置

Applications Claiming Priority (1)

Application Number Priority Date Filing Date Title
JP2008323030A JP2010142435A (ja) 2008-12-19 2008-12-19 展示物照明装置

Publications (1)

Publication Number Publication Date
JP2010142435A true JP2010142435A (ja) 2010-07-01

Family

ID=42563476

Family Applications (1)

Application Number Title Priority Date Filing Date
JP2008323030A Pending JP2010142435A (ja) 2008-12-19 2008-12-19 展示物照明装置

Country Status (1)

Country Link
JP (1) JP2010142435A (ja)

Cited By (3)

* Cited by examiner, † Cited by third party
Publication number Priority date Publication date Assignee Title
CN103343909A (zh) * 2013-07-24 2013-10-09 瑞仪光电股份有限公司 可改变出光方向的灯具系统及其灯具与灯座
US9341352B2 (en) 2013-07-24 2016-05-17 Radiant Opto-Electronics Corporation Lighting system that can change light emitting characteristic and lighting device and lamp holder of the lighting system
CN110762422A (zh) * 2019-07-03 2020-02-07 上海朗尤光电科技有限公司 一种展示灯

Citations (7)

* Cited by examiner, † Cited by third party
Publication number Priority date Publication date Assignee Title
JPS5492870A (en) * 1977-12-29 1979-07-23 Matsushita Electric Works Ltd Shelf for household articles
JPS6259472U (ja) * 1985-10-03 1987-04-13
JPH0917227A (ja) * 1995-06-29 1997-01-17 Iwasaki Electric Co Ltd 照明器具の角度調整構造
JP3064246U (ja) * 1999-05-25 2000-01-07 株式会社キジマ 角度調節できるテ―ルランプベ―ス
JP2001299529A (ja) * 2000-04-27 2001-10-30 Matsushita Electric Works Ltd 照明装置およびショーケース
JP2002177103A (ja) * 2000-12-12 2002-06-25 Takenaka Komuten Co Ltd 空気調整機能を有する展示用架台
JP3086550U (ja) * 2001-12-10 2002-06-28 株式会社彩ユニオン 照明灯取付器具

Patent Citations (7)

* Cited by examiner, † Cited by third party
Publication number Priority date Publication date Assignee Title
JPS5492870A (en) * 1977-12-29 1979-07-23 Matsushita Electric Works Ltd Shelf for household articles
JPS6259472U (ja) * 1985-10-03 1987-04-13
JPH0917227A (ja) * 1995-06-29 1997-01-17 Iwasaki Electric Co Ltd 照明器具の角度調整構造
JP3064246U (ja) * 1999-05-25 2000-01-07 株式会社キジマ 角度調節できるテ―ルランプベ―ス
JP2001299529A (ja) * 2000-04-27 2001-10-30 Matsushita Electric Works Ltd 照明装置およびショーケース
JP2002177103A (ja) * 2000-12-12 2002-06-25 Takenaka Komuten Co Ltd 空気調整機能を有する展示用架台
JP3086550U (ja) * 2001-12-10 2002-06-28 株式会社彩ユニオン 照明灯取付器具

Cited By (4)

* Cited by examiner, † Cited by third party
Publication number Priority date Publication date Assignee Title
CN103343909A (zh) * 2013-07-24 2013-10-09 瑞仪光电股份有限公司 可改变出光方向的灯具系统及其灯具与灯座
CN103343909B (zh) * 2013-07-24 2015-06-03 瑞仪光电股份有限公司 可改变出光方向的灯具系统及其灯具与灯座
US9341352B2 (en) 2013-07-24 2016-05-17 Radiant Opto-Electronics Corporation Lighting system that can change light emitting characteristic and lighting device and lamp holder of the lighting system
CN110762422A (zh) * 2019-07-03 2020-02-07 上海朗尤光电科技有限公司 一种展示灯

Similar Documents

Publication Publication Date Title
US20190049100A1 (en) Adjustable light fixture and lighting system
WO2008146229A3 (en) Illumination system, luminaire and backlighting unit
JP5144590B2 (ja) 反射笠
JP2010272358A5 (ja)
JP2010142435A (ja) 展示物照明装置
JP6037265B2 (ja) 照明器具
JP5749863B1 (ja) フラップ式ledランプ
CN109073210B (zh) 用于照亮控制柜内部的控制柜灯
KR101660010B1 (ko) 도광판을 이용한 조명장치
KR200425784Y1 (ko) 진열장용 조명장치
JP3138788U (ja) 照明器具接続部品
JP4639716B2 (ja) 表示用照明装置
KR200425571Y1 (ko) 진열장 조명장치
JP3046926U (ja) 埋込型反射式照明器具
JP4102271B2 (ja) 外照式照明装置
KR100783076B1 (ko) 진열장 조명장치
JP5733918B2 (ja) 内照式表示体
JP2007273223A (ja) 面状光源
CN101542190B (zh) 用于检测物体的表面品质的照明装置
KR20090067268A (ko) 벽면형 조명기구
EP4085220B1 (en) Illumination device, luminaire and refrigerator
JP3086550U (ja) 照明灯取付器具
JP2003068128A (ja) 照明器具
JP2007122955A (ja) 舞台用照明装置
KR200420691Y1 (ko) 진열장 조명장치

Legal Events

Date Code Title Description
A621 Written request for application examination

Free format text: JAPANESE INTERMEDIATE CODE: A621

Effective date: 20111118

A711 Notification of change in applicant

Free format text: JAPANESE INTERMEDIATE CODE: A712

Effective date: 20120111

RD01 Notification of change of attorney

Effective date: 20121214

Free format text: JAPANESE INTERMEDIATE CODE: A7421

A977 Report on retrieval

Free format text: JAPANESE INTERMEDIATE CODE: A971007

Effective date: 20130510

A131 Notification of reasons for refusal

Free format text: JAPANESE INTERMEDIATE CODE: A131

Effective date: 20130514

A02 Decision of refusal

Free format text: JAPANESE INTERMEDIATE CODE: A02

Effective date: 20130917