JP2010142284A - 遊技機 - Google Patents
遊技機 Download PDFInfo
- Publication number
- JP2010142284A JP2010142284A JP2008319947A JP2008319947A JP2010142284A JP 2010142284 A JP2010142284 A JP 2010142284A JP 2008319947 A JP2008319947 A JP 2008319947A JP 2008319947 A JP2008319947 A JP 2008319947A JP 2010142284 A JP2010142284 A JP 2010142284A
- Authority
- JP
- Japan
- Prior art keywords
- projector
- game board
- game
- gaming machine
- gaming
- Prior art date
- Legal status (The legal status is an assumption and is not a legal conclusion. Google has not performed a legal analysis and makes no representation as to the accuracy of the status listed.)
- Withdrawn
Links
- 238000012937 correction Methods 0.000 claims description 31
- 238000003860 storage Methods 0.000 claims description 9
- 238000000034 method Methods 0.000 description 13
- 239000000463 material Substances 0.000 description 11
- 238000010586 diagram Methods 0.000 description 7
- 238000012545 processing Methods 0.000 description 6
- 230000006870 function Effects 0.000 description 5
- 230000000694 effects Effects 0.000 description 4
- 238000004519 manufacturing process Methods 0.000 description 4
- 238000013461 design Methods 0.000 description 3
- 230000003287 optical effect Effects 0.000 description 3
- 230000008569 process Effects 0.000 description 3
- NIXOWILDQLNWCW-UHFFFAOYSA-N acrylic acid group Chemical group C(C=C)(=O)O NIXOWILDQLNWCW-UHFFFAOYSA-N 0.000 description 2
- 230000009467 reduction Effects 0.000 description 2
- 239000012780 transparent material Substances 0.000 description 2
- 230000005540 biological transmission Effects 0.000 description 1
- 230000008859 change Effects 0.000 description 1
- 238000005034 decoration Methods 0.000 description 1
- 238000009826 distribution Methods 0.000 description 1
- 230000004048 modification Effects 0.000 description 1
- 238000012986 modification Methods 0.000 description 1
- 230000000007 visual effect Effects 0.000 description 1
- 239000002023 wood Substances 0.000 description 1
Images
Landscapes
- Pinball Game Machines (AREA)
Abstract
【課題】リアプロジェクション方式の制限を解決することのできる遊技機を提供する。
【解決手段】本発明に係る遊技機100は、遊技盤110と、遊技盤110の遊技面に対して斜め前方から映像を投射するプロジェクター120と、を備えている。
【選択図】図1
【解決手段】本発明に係る遊技機100は、遊技盤110と、遊技盤110の遊技面に対して斜め前方から映像を投射するプロジェクター120と、を備えている。
【選択図】図1
Description
本発明は、遊技機に関するものである。
従来、プロジェクションシステムに関し、特許文献1に、「投影画像に視覚的な効果を付加しつつ投影画像を良好に表示できるとともに、小型化が図れかつ製造を容易とするリアプロジェクションシステムを提供する。」ことを目的とした技術として「リアプロジェクションシステム5は、投射レンズ518を有するプロジェクタユニット51と、プロジェクタユニット51にて拡大投射された画像光Lを投影する透過型スクリーン53とを備える。透過型スクリーン53は、平面部531と、平面部の面外方向に突出し立体的な装飾が施された立体面部532とを備える。透過型スクリーン53およびプロジェクタユニット51の光路間には、投射レンズ518の投射中心点Oに焦点位置fが位置し、画像光Lを平行化して平面部531に垂直となるように透過型スクリーン53に入射させる平行化レンズ54が配設されている。平行化レンズ54は、透過型スクリーン53に対して少なくとも一部が離間するように配設されている。」というものが提案されている(要約)。
また、リアプロジェクション表示装置に関し、特許文献2に、「下側の突出部を解消し、小型化、薄型化を実現したリアプロジェクション表示装置等を提供する。」ことを目的とした技術として「映像光を出射するプロジェクター3と、プロジェクター3から出射された映像光を水平方向に拡散させる第1曲面ミラー4と、第1曲面ミラー4で反射された映像光を、鉛直方向に拡散させる第2曲面ミラー5と、第2曲面ミラー5で反射された映像光を平行化するフレネルレンズ7と、フレネルレンズ7で平行化された映像光を表示するスクリーン8とを備える表示装置1。プロジェクター3と、第1及び第2曲面ミラー4、5とを収容し、前面にフレネルレンズ7及びスクリーン8を有する筐体2を備え、筐体2内の中央部に、プロジェクター3と、第1及び第2曲面ミラー4、5とを配置することが好適である。パチンコ台等の表示装置の実装スペースが中央部に限定される場合でも設置することができる。」というものが提案されている(要約)。
また、近年、フロント投写型のプロジェクターにより近接投写を行う技術が提案されている。近接投写を行うプロジェクターには、超短焦点の光学系が採用される。例えば特許文献3にて提案されている技術では、非球面ミラーのみの組み合わせによって超短焦点を実現している。
上記特許文献1や特許文献2に記載のようなリアプロジェクション装置は、パチンコ台等の遊技機の映像表示装置として用いることができる。しかし、こうしたリアプロジェクション方式のプロジェクターを遊技機の映像表示装置として用いると、例えば以下の(1)〜(3)のような課題が生じる可能性がある。
(1)リアプロジェクション方式のプロジェクターを用いる場合、遊技機の遊技盤の背面にプロジェクターを配置し、遊技盤の後方から遊技者に向かう方向に映像を投射する。
そのため、投射光が透過する透明な材質で遊技盤を形成する必要があり、使用可能な材質に制限が生じる。
また、遊技盤を形成する材質として、例えばアクリル板が考えられるが、投射光を透過させることができる反面、木材などの材質と比較して加工がしにくい。例えばパチンコ台の場合、遊技盤に釘を打ち込む必要があるが、あまり強く打ち込むとアクリル板が割れる可能性もある。
そのため、投射光が透過する透明な材質で遊技盤を形成する必要があり、使用可能な材質に制限が生じる。
また、遊技盤を形成する材質として、例えばアクリル板が考えられるが、投射光を透過させることができる反面、木材などの材質と比較して加工がしにくい。例えばパチンコ台の場合、遊技盤に釘を打ち込む必要があるが、あまり強く打ち込むとアクリル板が割れる可能性もある。
(2)遊技機の遊技盤の背面には様々な機器を配置する必要がある。プロジェクターを遊技盤の背面に配置すると、これらの機器の配置に制限が生じてしまう。
(3)プロジェクターと遊技者が比較的近い位置で相対することになるため、安全等の観点から、投射光の強度などを厳密に調整する必要がある。
本発明は、上記のような課題を解決するためになされたものであり、リアプロジェクション方式の制限を解決することのできる遊技機を提供することを目的とする。
本発明に係る遊技機は、遊技盤と、前記遊技盤の遊技面に対して斜め前方から映像を投射するプロジェクターと、を備えている。
そのため、遊技盤を透過性のある材質で構成する必要がなく、材質の制約が緩和されるので、設計・製造のし易さの観点から有利である。
そのため、遊技盤を透過性のある材質で構成する必要がなく、材質の制約が緩和されるので、設計・製造のし易さの観点から有利である。
また、本発明に係る遊技機において、前記プロジェクターは、前記遊技盤に隣接して配置されている。そのため、遊技機をコンパクトに構成することができる。
また、本発明に係る遊技機において、前記プロジェクターは、投射映像の台形歪みを補正する台形補正部と、前記台形補正部の補正量を指定する情報を格納した記憶部と、備え、前記台形補正部は、前記遊技盤の遊技面に投射される映像を前記情報に基づき所定量補正する。
そのため、遊技面の斜方から映像を投射しても、遊技面上に投射される映像が歪まないように映像投射を行うことができる。
そのため、遊技面の斜方から映像を投射しても、遊技面上に投射される映像が歪まないように映像投射を行うことができる。
また、本発明に係る遊技機において、前記遊技盤の遊技面は、前記プロジェクターの投射光を当該遊技面の略法線方向に反射する反射手段を備えている。
そのため、遊技者は投射映像を明瞭に視認することができる。
そのため、遊技者は投射映像を明瞭に視認することができる。
また、本発明に係る遊技機は、当該遊技機の外部から前記プロジェクターの配置位置を手動調整する手段を備えている。
そのため、遊技機の所有者等が自らプロジェクターの配置位置の調整を行うことができるので、所有者等にとって便宜である。
そのため、遊技機の所有者等が自らプロジェクターの配置位置の調整を行うことができるので、所有者等にとって便宜である。
実施の形態1.
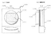
図1は、本発明の実施の形態1に係るパチンコ台100の構成図である。図1(a)はパチンコ台100の正面図、図1(b)は側断面図を示す。
パチンコ台100は、本発明における「遊技機」に相当し、遊技盤110、プロジェクター120、フロントガラス130、制御装置140を備える。
図1は、本発明の実施の形態1に係るパチンコ台100の構成図である。図1(a)はパチンコ台100の正面図、図1(b)は側断面図を示す。
パチンコ台100は、本発明における「遊技機」に相当し、遊技盤110、プロジェクター120、フロントガラス130、制御装置140を備える。
遊技盤110の遊技面(遊技者がパチンコ台100の前方から視認する側の面)には釘が打ち込まれており、打ち出されたパチンコ玉はこの釘に当たりながら下方に落下する。
また、遊技盤110の全部または一部には、アニメーション映像やスロットの数字映像などを画面表示する表示部111が設けられている。
また、遊技盤110の全部または一部には、アニメーション映像やスロットの数字映像などを画面表示する表示部111が設けられている。
プロジェクター120は、フロントプロジェクション方式の映像プロジェクターであり、遊技盤110およびフロントガラス130の上方に、これらと隣接して配置されている。
プロジェクター120は、映像を投射する投射部121を備える。投射部121は、制御装置140から供給される映像データに基づき、遊技盤110上の表示部111にその映像を投射する。
投射部121が備える光学レンズなどの機能部は、投射光の焦点が表示部111の位置で合うようにあらかじめ調整されている。
プロジェクター120は、映像を投射する投射部121を備える。投射部121は、制御装置140から供給される映像データに基づき、遊技盤110上の表示部111にその映像を投射する。
投射部121が備える光学レンズなどの機能部は、投射光の焦点が表示部111の位置で合うようにあらかじめ調整されている。
フロントガラス130は、遊技盤110の前方(遊技面がある側)に、遊技盤110から所定の間隔を介して配置されている。プロジェクター120の投射光は、遊技盤110とフロントガラス130の間の空間を進行することになる。
フロントガラス130は、遊技者が前方から遊技盤110を視認できるように、透過性を有する材質で構成されている。
必ずしもフロントガラス130の全面を透過的に構成する必要はなく、例えば図1(a)に示すように遊技面の形状が円形である場合は、その円形部分のみ透過的に構成し、他の部位を着色したり、透過性のない材質で構成したりしてもよい。
フロントガラス130は、遊技者が前方から遊技盤110を視認できるように、透過性を有する材質で構成されている。
必ずしもフロントガラス130の全面を透過的に構成する必要はなく、例えば図1(a)に示すように遊技面の形状が円形である場合は、その円形部分のみ透過的に構成し、他の部位を着色したり、透過性のない材質で構成したりしてもよい。
制御装置140は、パチンコ台100の全体動作を制御する。例えば、パチンコゲームの進行状況の管理や、各機能部、機器等の動作制御などを実行する。
また、制御装置140は、プロジェクター120に投射させる映像の元となる映像データを生成し、適当なインターフェースを介してプロジェクター120に出力する。プロジェクター120は、その映像データに適当な信号処理を施すなどして投射映像を生成し、投射部121より遊技盤110に向けて投射する。
また、制御装置140は、プロジェクター120に投射させる映像の元となる映像データを生成し、適当なインターフェースを介してプロジェクター120に出力する。プロジェクター120は、その映像データに適当な信号処理を施すなどして投射映像を生成し、投射部121より遊技盤110に向けて投射する。
以上、本実施の形態1に係るパチンコ台100の構成を説明した。
次に、上記構成が発揮する効果について説明する。
次に、上記構成が発揮する効果について説明する。
(1)遊技盤110の材質について
プロジェクター120は、図1(b)に示すように、遊技盤110の遊技面の斜め前方から映像を投射する。そのため、リアプロジェクション方式を採用するパチンコ台とは異なり、遊技盤110を透過性のある材質で構成する必要がない。
そのため、遊技盤110の材質制約が緩和され、自由度が増して設計・製造のし易さの観点から有利である。
また、遊技盤110の材質として加工のし易い材質を選択すれば、遊技面に釘を打ち込む際の加工などがし易くなるので、製造コストの低減等の効果を発揮することができる。
プロジェクター120は、図1(b)に示すように、遊技盤110の遊技面の斜め前方から映像を投射する。そのため、リアプロジェクション方式を採用するパチンコ台とは異なり、遊技盤110を透過性のある材質で構成する必要がない。
そのため、遊技盤110の材質制約が緩和され、自由度が増して設計・製造のし易さの観点から有利である。
また、遊技盤110の材質として加工のし易い材質を選択すれば、遊技面に釘を打ち込む際の加工などがし易くなるので、製造コストの低減等の効果を発揮することができる。
(2)各機器の配置について
(2.1)遊技機に課せられる制約について
一般に、パチンコ台のような遊技機は、形状やサイズに制限がある場合がある。例えば遊技場で多数の遊技機を併設するような環境下では、スペースの有効利用や美感の観点から、各遊技機の形状やサイズを均一に揃える必要がある。したがって、これらには一定の制約が課せられる。
そのため、遊技機の制御装置や各種配線などの機器や部品は、配置スペースの観点から比較的余裕のある背面に配置される傾向がある。
リアプロジェクション方式のプロジェクターを採用した場合、背面にプロジェクターを配置することになるため、これらの機器や部品を配置すべきスペースを占有してしまう。また、投射光の通る範囲に影ができてしまうため、この範囲には機器や部品を配置することが難しい。
これらの事項は、リアプロジェクション方式のプロジェクターを採用した場合の課題となっていた。
(2.1)遊技機に課せられる制約について
一般に、パチンコ台のような遊技機は、形状やサイズに制限がある場合がある。例えば遊技場で多数の遊技機を併設するような環境下では、スペースの有効利用や美感の観点から、各遊技機の形状やサイズを均一に揃える必要がある。したがって、これらには一定の制約が課せられる。
そのため、遊技機の制御装置や各種配線などの機器や部品は、配置スペースの観点から比較的余裕のある背面に配置される傾向がある。
リアプロジェクション方式のプロジェクターを採用した場合、背面にプロジェクターを配置することになるため、これらの機器や部品を配置すべきスペースを占有してしまう。また、投射光の通る範囲に影ができてしまうため、この範囲には機器や部品を配置することが難しい。
これらの事項は、リアプロジェクション方式のプロジェクターを採用した場合の課題となっていた。
(2.2)本発明に係る遊技機の利点
プロジェクター120はフロントプロジェクション方式のプロジェクターであるため、必ずしも遊技盤110の背面に配置する必要はなく、制御装置や各種配線などの機器や部品の配置スペースを占有してしまう心配はない。
また、遊技盤110に対して直接映像を投射するフロントプロジェクション方式を用いているため、上記特許文献2にように、投射光を遊技面に向けて反射させるミラーなどの反射デバイスを別途設ける必要はなく、部品点数の観点から有利である。
プロジェクター120はフロントプロジェクション方式のプロジェクターであるため、必ずしも遊技盤110の背面に配置する必要はなく、制御装置や各種配線などの機器や部品の配置スペースを占有してしまう心配はない。
また、遊技盤110に対して直接映像を投射するフロントプロジェクション方式を用いているため、上記特許文献2にように、投射光を遊技面に向けて反射させるミラーなどの反射デバイスを別途設ける必要はなく、部品点数の観点から有利である。
(3)投射光の直接投射について
遊技者は、遊技盤110の遊技面を介して投射映像を視認することになるため、リアプロジェクション方式のプロジェクターを用いる場合と異なり、投射光が遊技者の目に直接投射されることはない。
したがって、プロジェクター120の投射光強度などは、一般的なフロントプロジェクターと同様に調整すればよく、事前調整が容易である。
遊技者は、遊技盤110の遊技面を介して投射映像を視認することになるため、リアプロジェクション方式のプロジェクターを用いる場合と異なり、投射光が遊技者の目に直接投射されることはない。
したがって、プロジェクター120の投射光強度などは、一般的なフロントプロジェクターと同様に調整すればよく、事前調整が容易である。
以上、本実施の形態1に係る遊技機100が発揮する効果について説明した。
本実施の形態1では、プロジェクター120を遊技盤110とフロントガラス130の上方に配置したが、配置位置は必ずしもこれらの上方でなくともよく、遊技盤110の遊技面の斜め前方であれば任意の位置でよい。
例えば、配置スペースの観点から許容されるのであれば、パチンコ台100の下部や側部、斜め下部などに配置してもよい。一般的には、パチンコ台100の上方は、配置スペースに余裕がある場合が多いと考えられる。
例えば、配置スペースの観点から許容されるのであれば、パチンコ台100の下部や側部、斜め下部などに配置してもよい。一般的には、パチンコ台100の上方は、配置スペースに余裕がある場合が多いと考えられる。
なお、本実施の形態1において、プロジェクター120の焦点は、一般的なフロントプロジェクターと比較して短くする必要がある。このようなプロジェクターは、例えば特許文献3に記載されている技術など、近年開発されている短焦点プロジェクターに採用することのできる技術を用いて構成可能であることを付言しておく。
実施の形態2.
実施の形態1において、プロジェクター120は、遊技盤110の遊技面の斜め前方から映像を投射するため、投射角度や投射距離によっては、投射映像が遊技面上で台形に歪む場合がある。この台形歪みを解消する手法として、例えば以下の(1)(2)のようなものが考えられる。
実施の形態1において、プロジェクター120は、遊技盤110の遊技面の斜め前方から映像を投射するため、投射角度や投射距離によっては、投射映像が遊技面上で台形に歪む場合がある。この台形歪みを解消する手法として、例えば以下の(1)(2)のようなものが考えられる。
(1)制御装置140からプロジェクター120に映像データを渡す際に、台形歪みが生じることを見込んで、逆方向に意図的に歪ませた映像データを渡すようにする。
(2)プロジェクター120が、映像の台形歪みの補正を行う。
(2)プロジェクター120が、映像の台形歪みの補正を行う。
本発明の実施の形態2では、上記(2)を行う構成について説明する。なお、プロジェクター120以外の構成は、実施の形態1と同様である。
図2は、本実施の形態2におけるプロジェクター120の機能ブロック図である。
プロジェクター120は、投射部121、制御部122、台形補正部123、記憶部124を備える。
パチンコ台100は、各機器を一旦封止した後は、改変防止の観点から内部機器を取り出したり設定変更したりすることができないように構成される場合があるため、操作キー等の操作入力部は必ずしも備えていなくともよい。
プロジェクター120は、投射部121、制御部122、台形補正部123、記憶部124を備える。
パチンコ台100は、各機器を一旦封止した後は、改変防止の観点から内部機器を取り出したり設定変更したりすることができないように構成される場合があるため、操作キー等の操作入力部は必ずしも備えていなくともよい。
投射部121は、光源、投射光学系、映像信号処理部などの映像投射に必要な構成を適宜備え、制御部122を介して入力映像信号を受け取り、その信号に対応した映像を投射する。
制御部122は、適当なインターフェースを介して、投射映像の元となる映像データを入力映像信号として制御装置140から受け取り、投射部121を制御してその映像を投射させる。
台形補正部123は、プロジェクターー120を斜めに設置して映像を投射したような場合に生じる台形歪みを補正するため、入力映像信号または出力映像信号を補正する。
台形補正部123は、独立した機能部として構成することもできるし、図2に示すように制御部122の一機能として構成することもできる。また、台形補正を実施する信号処理などの手法は、任意の公知技術を用いることができる。
台形補正部123は、独立した機能部として構成することもできるし、図2に示すように制御部122の一機能として構成することもできる。また、台形補正を実施する信号処理などの手法は、任意の公知技術を用いることができる。
記憶部124は、例えばROM(Read Only Memory)などの不揮発性記憶装置で構成され、台形補正部123が実行する台形補正の補正量や補正の向きなど、台形補正の内容を規定する情報をあらかじめ格納している。
制御部122と台形補正部123は、その機能を実現する回路デバイスのようなハードウェアで構成することもできるし、マイコンやCPU(Central Processing Unit)のような演算装置とその動作を規定するソフトウェアで構成することもできる。
以上、プロジェクター120の構成について説明した。
次に、台形補正部123の動作について説明する。
次に、台形補正部123の動作について説明する。
実施の形態1の図1で説明した構成の下では、プロジェクター120は遊技面の斜め上方から映像を投射するため、投射映像を遊技盤110の正面から見ると、底辺が上辺よりも長い台形状に歪む可能性がある。
そこで、記憶部124には、入力映像信号または出力映像信号を、上辺が底辺より長い逆台形状に歪ませるよう規定した台形補正処理の内容を、上述の情報としてあらかじめ格納しておく。補正量は、パチンコ台100の各部のサイズなどに応じて、適切な値をあらかじめ設定しておく。
そこで、記憶部124には、入力映像信号または出力映像信号を、上辺が底辺より長い逆台形状に歪ませるよう規定した台形補正処理の内容を、上述の情報としてあらかじめ格納しておく。補正量は、パチンコ台100の各部のサイズなどに応じて、適切な値をあらかじめ設定しておく。
台形補正部123は、制御装置140から出力された入力映像信号を受け取ると、記憶部124に格納されている上述の台形補正内容を規定した情報を読み取り、その内容にしたがって台形補正を実行する。
制御部122は、台形補正部123が台形補正を実行した後の映像信号を投射部121に出力し、その信号に基づき遊技面に映像を投射させる。
制御部122は、台形補正部123が台形補正を実行した後の映像信号を投射部121に出力し、その信号に基づき遊技面に映像を投射させる。
以上のように、本実施の形態2によれば、プロジェクター120が備える台形補正部123は、記憶部124に格納されている情報に基づき台形補正を実行する。
そのため、遊技面の斜め上方から映像を投射しても、遊技面上に投射される映像が歪まないように映像投射を行うことができる。
そのため、遊技面の斜め上方から映像を投射しても、遊技面上に投射される映像が歪まないように映像投射を行うことができる。
また、本実施の形態2によれば、プロジェクター120自体が台形補正機能を備えているので、制御装置140があらかじめ逆方向に歪ませた映像データを生成しなくともよい。
そのため、制御装置140の処理負荷が低減され、負荷分散の観点から好ましい。
そのため、制御装置140の処理負荷が低減され、負荷分散の観点から好ましい。
実施の形態3.
実施の形態1〜2で説明した構成では、プロジェクター120は遊技盤110の斜め上方から映像を投射する。投射光が遊技盤110の遊技面に当たると、その反射光の多くは遊技者に向かって直進せず、遊技盤110の下方に向かって進行するものと想定される。
遊技者が投射映像を明瞭に視認するためには、反射光の多くが遊技者に直接的に向かう方向に進行することが望ましい。
実施の形態1〜2で説明した構成では、プロジェクター120は遊技盤110の斜め上方から映像を投射する。投射光が遊技盤110の遊技面に当たると、その反射光の多くは遊技者に向かって直進せず、遊技盤110の下方に向かって進行するものと想定される。
遊技者が投射映像を明瞭に視認するためには、反射光の多くが遊技者に直接的に向かう方向に進行することが望ましい。
そこで、本発明の実施の形態3では、遊技盤110に当たった投射光が遊技者に直接向かう方向に反射し易くする構成について説明する。
図3は、本実施の形態3における遊技盤110の構成を示す図である。図3(a)は図1(b)と同様の側断面図、図3(b)は投射光が遊技面に当たる部分の拡大図である。
本実施の形態3において、遊技盤110の表示部111に相当する領域には、図3(b)に示すような微小隆起部112が複数設けられている。
パチンコ台100のその他の構成は、実施の形態1〜2と同様である。
本実施の形態3において、遊技盤110の表示部111に相当する領域には、図3(b)に示すような微小隆起部112が複数設けられている。
パチンコ台100のその他の構成は、実施の形態1〜2と同様である。
微小隆起部112は、遊技盤110の遊技面から前方に向かって僅かに盛り上がった形状で形成されており、プロジェクター120の投射光がこの微小隆起部112に当たると、投射光が遊技面に対して略直角(略法線方向)に反射するように構成されている。
この微小隆起部112は、映像の見易さ等の観点から、遊技者が視認できない程度の大きさに形成しておくことが好ましい。
この微小隆起部112は、映像の見易さ等の観点から、遊技者が視認できない程度の大きさに形成しておくことが好ましい。
本実施の形態3における「反射手段」は、微小隆起部112が相当する。
なお、その他の手段を用いて、投射光を遊技面に対して略直角に反射させるように構成してもよい。例えば、微小ミラーアレイを表示部111に相当する領域に配置する、といった手法が考えられる。
なお、その他の手段を用いて、投射光を遊技面に対して略直角に反射させるように構成してもよい。例えば、微小ミラーアレイを表示部111に相当する領域に配置する、といった手法が考えられる。
以上のように、本実施の形態3によれば、遊技盤110の遊技面は、プロジェクター120の投射光を遊技面の略法線方向に反射する手段を備えているので、遊技者は投射映像を明瞭に視認することができ、使用感のよいパチンコ台100を提供することができる。
実施の形態4.
図4は、本発明の実施の形態4に係るパチンコ台100の構成図である。
本実施の形態4に係るパチンコ台100は、位置調整ネジ150を備える。その他の構成は、実施の形態1〜3と同様である。
図4は、本発明の実施の形態4に係るパチンコ台100の構成図である。
本実施の形態4に係るパチンコ台100は、位置調整ネジ150を備える。その他の構成は、実施の形態1〜3と同様である。
位置調整ネジ150は、プロジェクター120の左右方向と前後方向の少なくともいずれかの配置位置を調整するための手段として機能する。位置調整ネジ150を回すと、プロジェクター120の取付部と機構的に連動するシャフト等の部材が動作し、プロジェクター120の配置位置を微調整するように構成されている。
位置調整ネジ150を用いてプロジェクター120の配置位置を調整可能な量は、例えば数mm程度でよい。
これは、一般に遊技機は、設計の際に、所定位置に映像が投射されるように配慮されていることによる。したがって、パチンコ台100自体の位置変更や地震等の影響によりやむを得ずプロジェクター120の配置位置を微調整する必要があるような場合を除き、プロジェクター120の配置位置を自由に調整できるようにしておく必要性は少ないのである。
これは、一般に遊技機は、設計の際に、所定位置に映像が投射されるように配慮されていることによる。したがって、パチンコ台100自体の位置変更や地震等の影響によりやむを得ずプロジェクター120の配置位置を微調整する必要があるような場合を除き、プロジェクター120の配置位置を自由に調整できるようにしておく必要性は少ないのである。
同様の観点から、位置調整ネジ150は例えば制御装置140の背面など、遊技者が自由に触れることのできない位置に配置しておくことが好ましい。パチンコ台100の所有者等が必要に応じて調整を行うことができれば足りる。
以上のように、本実施の形態4によれば、パチンコ台100の所有者等は、位置調整ネジ150を用いてプロジェクター120の配置位置を微調整することができる。
そのため、やむを得ずプロジェクター120を動かさなければならない場合でも、パチンコ台100の製造業者などに依頼することなく、所有者が自ら微調整を行うことができるので、所有者にとって便宜である。
また、パチンコ台の製造、組み立ての際に部材の公差によって生じるばらつきを調整する際に、位置調整ネジ150を使用することができる。
そのため、やむを得ずプロジェクター120を動かさなければならない場合でも、パチンコ台100の製造業者などに依頼することなく、所有者が自ら微調整を行うことができるので、所有者にとって便宜である。
また、パチンコ台の製造、組み立ての際に部材の公差によって生じるばらつきを調整する際に、位置調整ネジ150を使用することができる。
実施の形態5.
実施の形態1〜4では、プロジェクター120は遊技盤110とフロントガラス130に隣接して配置することを説明したが、必ずしも密着して配置する必要はなく、配置スペースが許容する範囲内で、これらの間に適当な間隔を設けてもよい。
実施の形態1〜4では、プロジェクター120は遊技盤110とフロントガラス130に隣接して配置することを説明したが、必ずしも密着して配置する必要はなく、配置スペースが許容する範囲内で、これらの間に適当な間隔を設けてもよい。
また、プロジェクター120は、パチンコ台100と必ずしも一体的に構成する必要はなく、例えばパチンコ台100から数m程度離れた位置の斜め前方などから遊技面に向かって映像を投射するように構成することもできる。
ただし、パチンコ台100を配置する空間に、プロジェクター120を別途配置するスペースが必要である。
この点、プロジェクター120を一体的に構成すれば、パチンコ台100をコンパクトに構成することができるので、パチンコ台100を配置する空間のスペース節約の観点からは有利である。
ただし、パチンコ台100を配置する空間に、プロジェクター120を別途配置するスペースが必要である。
この点、プロジェクター120を一体的に構成すれば、パチンコ台100をコンパクトに構成することができるので、パチンコ台100を配置する空間のスペース節約の観点からは有利である。
実施の形態6.
以上の実施の形態1〜5では、遊技機の1例としてパチンコ台を取り上げたが、同様の構成を他の遊技機に採用して同様の効果を発揮することもできる。例えば、映像を表示するスロットマシンなどが例として考えられる。
以上の実施の形態1〜5では、遊技機の1例としてパチンコ台を取り上げたが、同様の構成を他の遊技機に採用して同様の効果を発揮することもできる。例えば、映像を表示するスロットマシンなどが例として考えられる。
100 パチンコ台、110 遊技盤、111 表示部、112 微小隆起部、120 プロジェクター、121 投射部、122 制御部、123 台形補正部、124 記憶部、130 フロントガラス、140 制御装置、150 位置調整ネジ。
Claims (5)
- 遊技盤と、
前記遊技盤の遊技面に対して斜め前方から映像を投射するプロジェクターと、
を備えたことを特徴とする遊技機。 - 前記プロジェクターは、前記遊技盤に隣接して配置されている
ことを特徴とする請求項1記載の遊技機。 - 前記プロジェクターは、
投射映像の台形歪みを補正する台形補正部と、
前記台形補正部の補正量を指定する情報を格納した記憶部と、
備え、
前記台形補正部は、
前記遊技盤の遊技面に投射される映像を前記情報に基づき所定量補正する
ことを特徴とする請求項1または請求項2記載の遊技機。 - 前記遊技盤の遊技面は、
前記プロジェクターの投射光を当該遊技面の略法線方向に反射する反射手段を備えている
ことを特徴とする請求項1ないし請求項3のいずれかに記載の遊技機。 - 当該遊技機の外部から前記プロジェクターの配置位置を手動調整する手段を備えた
ことを特徴とする請求項1ないし請求項4のいずれかに記載の遊技機。
Priority Applications (1)
| Application Number | Priority Date | Filing Date | Title |
|---|---|---|---|
| JP2008319947A JP2010142284A (ja) | 2008-12-16 | 2008-12-16 | 遊技機 |
Applications Claiming Priority (1)
| Application Number | Priority Date | Filing Date | Title |
|---|---|---|---|
| JP2008319947A JP2010142284A (ja) | 2008-12-16 | 2008-12-16 | 遊技機 |
Publications (1)
| Publication Number | Publication Date |
|---|---|
| JP2010142284A true JP2010142284A (ja) | 2010-07-01 |
Family
ID=42563347
Family Applications (1)
| Application Number | Title | Priority Date | Filing Date |
|---|---|---|---|
| JP2008319947A Withdrawn JP2010142284A (ja) | 2008-12-16 | 2008-12-16 | 遊技機 |
Country Status (1)
| Country | Link |
|---|---|
| JP (1) | JP2010142284A (ja) |
Cited By (3)
| Publication number | Priority date | Publication date | Assignee | Title |
|---|---|---|---|---|
| JP2016054979A (ja) * | 2014-09-10 | 2016-04-21 | 株式会社大一商会 | 遊技機 |
| JP2016214756A (ja) * | 2015-05-25 | 2016-12-22 | 株式会社三共 | 遊技機 |
| JP2018082871A (ja) * | 2016-11-24 | 2018-05-31 | 株式会社ユニバーサルエンターテインメント | 遊技機 |
-
2008
- 2008-12-16 JP JP2008319947A patent/JP2010142284A/ja not_active Withdrawn
Cited By (3)
| Publication number | Priority date | Publication date | Assignee | Title |
|---|---|---|---|---|
| JP2016054979A (ja) * | 2014-09-10 | 2016-04-21 | 株式会社大一商会 | 遊技機 |
| JP2016214756A (ja) * | 2015-05-25 | 2016-12-22 | 株式会社三共 | 遊技機 |
| JP2018082871A (ja) * | 2016-11-24 | 2018-05-31 | 株式会社ユニバーサルエンターテインメント | 遊技機 |
Similar Documents
| Publication | Publication Date | Title |
|---|---|---|
| JP6248473B2 (ja) | ヘッドアップディスプレイ装置 | |
| JP2010142330A (ja) | 遊技機 | |
| JP6465353B2 (ja) | ヘッドアップディスプレイ装置 | |
| JP2008107801A (ja) | 投写型映像表示装置及び投写型表示システム | |
| JP2020016675A (ja) | 虚像表示装置 | |
| KR20210027263A (ko) | 입체 디스플레이 장치 | |
| JP2021110894A (ja) | ヘッドアップディスプレイ装置 | |
| JP2010142284A (ja) | 遊技機 | |
| JP5862752B2 (ja) | プロンプター | |
| JP6296862B2 (ja) | 画像表示装置 | |
| JP6646614B2 (ja) | 車両用表示装置 | |
| WO2023228530A1 (ja) | 空間浮遊映像情報表示システム | |
| JPWO2020004093A1 (ja) | ヘッドアップディスプレイ装置 | |
| JP2006065092A (ja) | ヘッドアップディスプレイ | |
| JP4739421B2 (ja) | 遊技機 | |
| JPH04181283A (ja) | 車両用表示装置 | |
| JP2017058474A (ja) | 投影装置 | |
| JP2008242090A (ja) | 反射スクリーン | |
| JP5732939B2 (ja) | プロンプター | |
| JP5162570B2 (ja) | 投写型映像表示装置 | |
| WO2021145374A1 (ja) | ヘッドアップディスプレイ装置 | |
| JP2018025620A (ja) | 透過型スクリーン、映像表示装置 | |
| CN116157291B (zh) | 图像投影装置 | |
| JP2020073963A (ja) | 虚像表示装置 | |
| JP2009236957A (ja) | 背面投射型表示装置及び遊技機 |
Legal Events
| Date | Code | Title | Description |
|---|---|---|---|
| A300 | Withdrawal of application because of no request for examination |
Free format text: JAPANESE INTERMEDIATE CODE: A300 Effective date: 20120306 |