JP2010141964A - 回転電機および回転電機の製造方法 - Google Patents

回転電機および回転電機の製造方法 Download PDF

Info

Publication number
JP2010141964A
JP2010141964A JP2008313460A JP2008313460A JP2010141964A JP 2010141964 A JP2010141964 A JP 2010141964A JP 2008313460 A JP2008313460 A JP 2008313460A JP 2008313460 A JP2008313460 A JP 2008313460A JP 2010141964 A JP2010141964 A JP 2010141964A
Authority
JP
Japan
Prior art keywords
coil
stator
connection wiring
support member
coils
Prior art date
Legal status (The legal status is an assumption and is not a legal conclusion. Google has not performed a legal analysis and makes no representation as to the accuracy of the status listed.)
Granted
Application number
JP2008313460A
Other languages
English (en)
Other versions
JP5245781B2 (ja
Inventor
Yasuhiro Endo
康浩 遠藤
Eiji Yamada
英治 山田
Hiroaki Urano
広暁 浦野
Kazutaka Tatematsu
和高 立松
Kenji Honda
健二 本多
Yasuaki Tawara
安晃 田原
Akihiro Tanaka
章博 田中
Current Assignee (The listed assignees may be inaccurate. Google has not performed a legal analysis and makes no representation or warranty as to the accuracy of the list.)
Toyota Motor Corp
Original Assignee
Toyota Motor Corp
Priority date (The priority date is an assumption and is not a legal conclusion. Google has not performed a legal analysis and makes no representation as to the accuracy of the date listed.)
Filing date
Publication date
Application filed by Toyota Motor Corp filed Critical Toyota Motor Corp
Priority to JP2008313460A priority Critical patent/JP5245781B2/ja
Publication of JP2010141964A publication Critical patent/JP2010141964A/ja
Application granted granted Critical
Publication of JP5245781B2 publication Critical patent/JP5245781B2/ja
Active legal-status Critical Current
Anticipated expiration legal-status Critical

Links

Images

Classifications

    • YGENERAL TAGGING OF NEW TECHNOLOGICAL DEVELOPMENTS; GENERAL TAGGING OF CROSS-SECTIONAL TECHNOLOGIES SPANNING OVER SEVERAL SECTIONS OF THE IPC; TECHNICAL SUBJECTS COVERED BY FORMER USPC CROSS-REFERENCE ART COLLECTIONS [XRACs] AND DIGESTS
    • Y02TECHNOLOGIES OR APPLICATIONS FOR MITIGATION OR ADAPTATION AGAINST CLIMATE CHANGE
    • Y02TCLIMATE CHANGE MITIGATION TECHNOLOGIES RELATED TO TRANSPORTATION
    • Y02T10/00Road transport of goods or passengers
    • Y02T10/60Other road transportation technologies with climate change mitigation effect
    • Y02T10/64Electric machine technologies in electromobility

Landscapes

  • Windings For Motors And Generators (AREA)
  • Insulation, Fastening Of Motor, Generator Windings (AREA)
  • Manufacture Of Motors, Generators (AREA)

Abstract

【課題】渡り線等の接続配線とコイル端部との位置決めを容易に行うことができ、接続配線と渡り線との接合作業を容易に行うことができる回転電機および回転電機の製造方法を提供する。
【解決手段】回転電機は、環状に形成されたステータコア141、およびステータコア141に装着され、ステータコア141の周方向に配列する複数のU相コイル180U,180V,180Wを含むステータ140と、ステータ140の中心軸方向に位置するU相コイル180U,180V,180Wの一方の端面上を延び、U相コイル180U,180V,180W同士を接続する渡線154U,154V,154Wと、渡線154U,154V,154Wを支持して渡線154U,154V,154Wを位置決めする支持部材250とを備える。
【選択図】図2

Description

本発明は、回転電機および回転電機の製造方法に関する。
従来から、ステータコアと、このステータコアに装着されたコイルとを含むステータを備えた回転電機や回転電機の製造方法等が各種提案されている。
たとえば、特開2005−160143号公報に記載された回転電機は、固定子と、回転子とを備えている。そして、固定子には、複数のスロットが形成されており、このスロット内には、プレス加工で予め定められた形状とされたコイルが挿入されている。そして、各コイルは、渡り線によって接続されている。
特開2000−262021号公報には、回転電機等の電機子コイルの接合部構造が記載されている。この電機子コイルの接合部構造において、電機子鉄心に組み立てられるコイル素材は、一方の端部に凹部、他方の端部に凸部が形成されている。そして、異なるコイル素材同士を接合する際には、互いの凹部と凸部が嵌合され、この嵌合部に対して、高エネルギのビーム等により接合する。
特開2006−33964号公報に記載された回転電機は、複数のスロットが形成された固定子鉄心と、スロットに挿通されて、固定子鉄心に組み付けられる複数のコイルセグメントとを備えている。各接合用端部と、コイル端部とを接合している。
特開2005−160143号公報 特開2000−262021号公報 特開2006−33964号公報
しかし、上記従来の回転電機においては、各コイルと渡り線とを接合する際に、渡り線とコイル端部とが互いに離れて互いに接合し難く、接合作業に非常に手間を要するという問題があった。
本発明は、上記のような課題に鑑みてなされたものであって、その目的は、渡り線等の接続配線とコイル端部との位置決めを容易に行うことができ、接続配線と渡り線との接合作業を容易に行うことができる回転電機および回転電機の製造方法を提供することである。
本発明に係る回転電機は、環状に形成されたステータコア、およびステータコアに装着され、ステータコアの周方向に配列する複数のコイルを含むステータと、ステータの中心軸方向に位置するコイルの一方の端面上を延び、コイル同士を接続する接続配線と、接続配線を支持して、接続配線を位置決めする支持部材とを備える。
好ましくは、上記支持部材は、接続配線を受け入れる受入部を有し、該受入部を規定する支持部材の内表面は、コイルの一方の端面から中心軸方向に離れるにしたがって、ステータの径方向内方に向けて延びるように傾斜する。好ましくは、上記支持部材は、コイルの一方の端面上に配置されると共に、絶縁材料によって構成され、コイルと接続配線とを絶縁可能とする。
好ましくは、上記支持部材は、ステータの周方向に隣り合うコイル間に配置され、コイル同士を絶縁するコイル絶縁部を含む。
好ましくは、上記コイルは、第1位相の電力が供給される複数の第1コイルと、第2位相の電力が供給される複数の第2コイルとを含む。そして、上記第2コイルの両端部は、第1コイルの両端部よりも、第2コイルの一方の端面からステータの中心軸方向に離れた位置にまで達する。そして、上記接続配線は、第1コイル同士を接続する第1接続配線と、第2コイル同士を接続し、第1接続配線よりもコイルの一方の端面からステータの中心軸方向に離れた位置に配置された第2接続配線とを含む。さらに、上記支持部材の受入部は、第1接続配線を受け入れ可能な第1受入部と、第1受入部よりもステータの中心軸方向に離れた第2接続配線を受け入れ可能な第2受入部とを含む。
本発明に係る回転電機は、環状に形成されたステータコア、およびステータコアに装着され、ステータコアの周方向に配列する複数のコイルを含むステータと、ステータの中心軸方向に配列するコイルの一方の端面上を延び、コイル同士を接続する接続配線とを備える。そして、上記コイルのうち、接続配線が接続される接続部に設けられ、接続配線を受け入れ可能なコイル受入部と、接続配線のうち、コイルの接続部を受け入れ可能な配線受入部との少なくとも一方を含む。
好ましくは、上記コイルは、ステータ中心軸方向に延びる第1軸方向延在部と、該第1軸方向延在部に対して、該コイルの先端部側に位置し、ステータの径方向に向けて屈曲する第1屈曲部と、該第1屈曲部に対して、該コイルの先端部側に位置し、中心軸方向に延びる第2軸方向延在部とを含む。そして、上記コイル受入部は、第1、第2軸方向延在部および第1屈曲部によって規定される段差部とされる。さらに、上記接続配線は、ステータの周方向に延びる第1周方向延在部と、該第1周方向延在部に対して先端部側に位置し、ステータの径方向に向けて屈曲する第2屈曲部と、該第2屈曲部に対して先端部側に位置し、ステータの周方向に延びる第2周方向延在部とを含む。また、上記配線受入部は、第1、第2周方向延在部および第2屈曲部によって規定された段差部とされる。
好ましくは、上記接続配線は、コイルを構成するコイル線の一方の端部を延出させて形成される。
好ましくは、環状に形成されたステータコア、およびステータコアに装着され、ステータコアの周方向に配列する複数のコイルを含むステータと、ステータの中心軸方向に位置するコイルの一方の端面上を延び、コイル同士を接続する接続配線とを備えた回転電機の製造方法である。そして、上記支持部材で接続配線を支持した状態で、コイルと接続配線とを接合する。
本発明に係る回転電機および回転電機の製造方法によれば、接続配線とコイル端部との位置決めを容易に行うことができ、接続配線と渡り線との接合作業を容易に行うことができる。
本発明の実施の形態に係る回転電機、回転電機の製造方法について、図1から図19を用いて説明する。
なお、以下に説明する実施の形態において、個数、量などに言及する場合、特に記載がある場合を除き、本発明の範囲は必ずしもその個数、量などに限定されない。また、以下の実施の形態において、各々の構成要素は、特に記載がある場合を除き、本発明にとって必ずしも必須のものではない。また、以下に複数の実施の形態が存在する場合、特に記載がある場合を除き、各々の実施の形態の特徴部分を適宜組合わせることは、当初から予定されている。
(実施の形態1)
図1を用いて、本発明の実施の形態1に係る回転電機について説明する。
図1は、本発明の実施の形態1に係る回転電機の概略構成を示す側断面図である。この図1に示すように、回転電機100は、回転中心線Oを中心に回転可能に支持された回転シャフト110と、この回転シャフト110に固設され、回転シャフト110と共に回転可能に設けられたロータ120と、このロータ120の周囲に設けられた環状のステータ140とを備えている。この回転電機100は、典型的には、ハイブリッド車両に搭載され、車輪を駆動する駆動源やエンジン等の動力によって電気を発電する発電機として機能する。さらには、電気自動車等にも搭載可能であり、車輪を駆動する駆動源としても利用される。
ロータ120は、複数の電磁鋼板等を積層して構成されたロータコア125と、ロータコア125に形成された磁石挿入孔126内に挿入された永久磁石123と、ロータコア125の軸方向の端面に設けられたエンドプレート122とを備えている。永久磁石123は、磁石挿入孔126内に充填された樹脂124によって固定されている。
ステータ140は、環状に形成されており、ロータ120の周囲を取り囲むように環状に形成されたステータコア141と、このステータコア141に装着されたU相コイル180U,V相コイル180V,W相コイル180Wとを備えている。このステータ140(ステータコア141)の軸方向端面177,178には、絶縁性のモールド樹脂172が形成されている。このモールド樹脂172は、たとえばBMC(Bulk Molding Compound)、エポキシ樹脂といった熱硬化性樹脂やPPS(Polyphenylene Sulfide)、PBT(Polybutylene Terephthalate)などの熱可塑性樹脂等により構成されている。
図2は、回転中心線O方向から平面視したステータ140の平面図である。なお、この図2においては、モールド樹脂172が省略されている。
この図2に示すように、ステータコア141は、回転中心線Oを中心に環状に複数配列された分割ステータコア175を備えており、各分割ステータコア175には、それぞれ、U相コイル180U、V相コイル180V,W相コイル180Wのいずれかのコイルが装着されている。そして、ステータ140の周方向に沿って、U相コイル180U、V相コイル180V,W相コイル180Wが順次配列しており、各U相コイル180U同士、V相コイル180V同士、W相コイル180W同士は、それぞれ、間隔を隔て配置されている。
ここで、隣り合うU相コイル180U同士は、渡線154Uによって接続されており、V相コイル180V同士は、渡線154Vによって接続され、さらに、W相コイル180W同士は、渡線154Wによって接続されている。
そして、渡線154Uは、1つのU相コイル180U(180U1)の径方向内方側の端部から隣り合う他のU相コイル180U(180U2)に向かうにしたがって、ステータ140の径方向外方側に向けて変位し、他のU相コイル180Uの径方向外方側に位置する端部に接続されている。
また、同様に、渡線154Vも、1つのV相コイル180V(180V1)から隣り合うV相コイル180V(180V2)に向かうにしたがって、ステータ140の径方向外方側に向けて変位し、さらに、154Wも、1つのW相コイル180W(180W1)から他のW相コイル180W(180W2)に向かうに従って、径方向外方側に向けて変位する。
そして、たとえば、渡線154Uのうち、V相コイル180V1上に位置する部分は、渡線154Vよりも径方向外方側に位置する。さらに、W相コイル180W1が位置する部分では、渡線154Uの径方向内方側に、渡線154V,154Wが順次位置することになる。
ここで、ステータ140の径方向内方側に位置するW相コイル180W6の端部と、U相コイル180U6の端部と、V相コイル180V6の端部とをそれぞれ接続することで、中性点を構成する。さらに、ステータ140の径方向外方側に位置するU相コイル180U1の端部と、W相コイル180W1の端部と、V相コイル180V1の端部には、それぞれ、外部配線が接続される。
ここで、各外部配線は、コンバータやインバータを介して、バッテリに接続されている。そして、バッテリからの直流電力は、コンバータによって昇圧され、インバータによって交流電力に変換される。そして、U相コイル180U1に接続された外部配線と、V相コイル180V1およびW相コイル180W1に接続された外部配線には、それぞれ、位相の異なる交流電力が供給される。なお、ステータ140の径方向内方側に位置するW相コイル180W6の端部と、U相コイル180U6の端部と、V相コイル180V6の端部とにそれぞれ外部配線を接続し、他方、ステータ140の径方向外方側に位置するU相コイル180U1の端部と、W相コイル180W1の端部と、V相コイル180V1の端部とを互いに接続して中性点を構成してもよい。
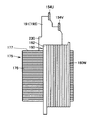
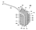
ここで、各コイル180間には、絶縁性の支持部材250が挿入されている。そして、この支持部材250は、各コイル180間上に位置する各渡線154を支持している。
具体的には、支持部材250は、W相コイル180WとU相コイル180Uとの間に配置され、渡線154Uと渡線154Vとを支持するU−V配線支持部材256と、U相コイル180UとV相コイル180Vとの間に配置され、渡線154Vと渡線154Wとを支持するV−W配線支持部材254と、U相コイル180UとV相コイル180Vとの間に配置され、渡線154Wと渡線154Uとを支持するW−U配線支持部材255とを備えている。
図3は、コイル180と、インシュレータ160とが装着された分割ステータコア175の斜視図である。この図3に示すように、各分割ステータコア175は、ステータ140の周方向延びるヨーク部176と、このヨーク部176から突出するステータティース171とを備えている。
そして、このステータティース171には、PPS(ポリフェニレンサルファイド)樹脂やLCP(液晶ポリマー)樹脂などから形成された絶縁性のインシュレータ160が装着されている。
このインシュレータ160は、ステータティース171を受入れ可能な筒状のティース受入部161と、このティース受入部161の端部に形成され、ヨーク部176の内周面に沿って延び、ヨーク部176の内周面に支持される張出部162とを備えている。ティース受入部161の周面のうち、回転中心線O方向に位置する軸方向端面には、回転中心線O方向に向けて突出する突出部163,164が形成されている。
このように形成されたインシュレータ160には、コイル180が装着されている。この図3中において、端部152に示されるように、コイル180は、延在方向に対して垂直な断面の形状が、方形形状とされたコイル線280を巻回することで構成されている。コイル180は、コイル線280を環状に巻回しつつ、積層することで形成された巻回部151を備えている。そして、コイル線の一方の端部152は、コイル線の積層方向に位置する巻回部151の径方向端面145に設けられており、回転中心線O方向に配列するコイル180の軸方向端面131より回転中心線O方向に突出するように延びている。なお、この端部152は、径方向端面145において、軸方向端面132側から軸方向端面131に向けて延びる引出部150の上端部に位置しており、軸方向端面131より上方に位置している。
そして、コイル線280の積層方向に配列する径方向端面のうち、端部152が位置する径方向端面145と反対側に位置する径方向端面135には、回転中心線O方向に向けて延び、軸方向端面131よりも上方に延びる引出部153が形成されている。そして、この引出部153の上端部には、渡線154が連設されている。さらに、この引出部153の先端部には、他のコイル180の端部152に接続される端部155が形成されている。
このように、各渡線154は、コイル180を形成するコイル線280の一部が延出することで構成されている。ここで、上記のようにコイル180を構成するコイル線は、具体的には、エッジワイズコイル(Edge Width Coil)等の平角線が採用されており、断面形状が円形状の従来の一般的なコイル線よりも剛性が高いコイル線が採用されている。そして、コイル線280のうち、渡線154が位置する部分においては、回転中心線O方向の高さの方が、ステータ140の径方向の幅よりも長くなっている。
図4は、各コイル180間に配置される支持部材250の側面図である。この図4に示されるように、支持部材250は、各コイル180間に配置されるコイル間絶縁部251と、各コイル180の軸方向端面から突出するように配置される突出部257および突出部258とを備えている。この支持部材250は、PPS(ポリフェニレンサルファイド)樹脂やLCP(液晶ポリマー)樹脂等の絶縁材料から構成されている。
ここで、支持部材250は、長尺に形成されている。支持部材250は、図1に示す
ステータ140の軸方向端面178側に配置される底辺262と、ステータ140の径方向外方側に配置される内辺部260と、径方向外方側に配置される外辺部261と、底辺262に対して反対側に位置する突出部257および突出部258とを備えている。
支持部材250のうち、突出部257および突出部258に対して、底辺262側に位置する部分は、コイル180間に配置され、隣り合うコイル180同士を絶縁するコイル間絶縁部251を含む。
突出部257と突出部258は、内辺部260から外辺部261に向けて間隔をあけて形成されている。
ここで、突出部257と突出部258との間には、凹部状の接続配線受入部253が形成されており、突出部258に対して外辺部261側に位置する部分にも、凹部状の接続配線受入部254が形成されている。
接続配線受入部253は、突出部257を規定する支持部材250の外周縁部であって、外辺部261側に位置する傾斜部263と、突出部258を規定する外周縁部のうち、内辺部260側に位置する前辺部265とによって規定されている。
傾斜部263は、底辺262から離れるにしたがって、内辺部260側に向けて傾斜する傾斜面とされており、前辺部265は、支持部材250の長手方向に延びている。
そして、外辺部261側に位置する接続配線受入部253は、突出部258を規定する外周縁部のうち、外辺部261側に位置する傾斜部264によって規定されている。傾斜部264は、底辺262から離れるにしたがって、外辺部261側から内辺部260側に向けて傾斜するように延びている。
図5は、V相コイル180Vが装着された分割ステータコア175の側面図である。この図5に示すように、V相コイル180Vの側面には、U相コイル180Uとの間に配置されるV−W配線支持部材254が設けられている。
このV−W配線支持部材254のW相接続配線受入部252W(接続配線受入部253)には、渡線154Wが受け入れられており、V相接続配線受入部252V(接続配線受入部254)には、渡線154Vが受け入れられている。
そして、V相接続配線受入部252V内に受け入れられた渡線154Vの端部155は、V相コイル180Vの端部152に接続されている。ここで、渡線154Vの端部155は、V相接続配線受入部252Vの傾斜部264によって、ステータ140の径方向外方に向けて押圧されている。このため、渡線154Vの端部155と、V相コイル180Vの端部152との接合状態が良好に維持されている。
特に、渡線154Vの端部155は、端部152に対して、ステータ140の径方向内方側から端部152に接合されており、V相接続配線受入部252Vの傾斜部264が径方向外方側に向けて渡線154Vを押圧することで、渡線154Vの端部155と、V相コイル180Vの端部152との接合状態を向上させることができる。
W相接続配線受入部252Wは、V相接続配線受入部252Vに対して、ステータ140の径方向内方側に位置する。このW相接続配線受入部252W内には、渡線154Wが受け入れられており、渡線154Wは、W相接続配線受入部252Wの傾斜部263と接触しており、ステータ140の径方向外方に向けて押圧されている。このように、渡線154Wも、W相接続配線受入部252Wによって位置決めされている。このため、渡線154Wの端部155と、W相コイル180Wの端部152とが正確に位置決めされ、端部155と端部152の接合状態を良好に維持することができる。
なお、図5においては、V−W配線支持部材254について説明したが、U−V配線支持部材256およびW−U配線支持部材255も同様に構成されている。
W−U配線支持部材255は、渡線154Wと、渡線154Uとを支持すると共に、渡線154Wの端部155をW相コイル180Wの端部152に向けて押圧して接合している。U−V配線支持部材256は、渡線154Uと渡線154Vとを支持すると共に、渡線154Uの端部155をU相コイル180Uの端部152に向けて押圧して、接合している。
このため、発明の実施の形態1に係る回転電機100においては、U相コイル180Uと渡線154Uとの接合状態、さらに、V相コイル180Vと渡線154Vとの接合状態、およびW相コイル180Wと渡線154Wとの接合状態を良好に維持することができる。なお、各コイル180の端部と渡線154との接合部は、レザー溶接等によって接合されている。
上記のように構成された回転電機100のステータ140を構成する際には、まず、図3に示す各分割ステータコア175のステータティース171にインシュレータ160を装着する。そして、このインシュレータ160にコイル180を装着する。
その後に、このインシュレータ160、コイル180が装着された複数の分割ステータコア175を環状に配列する。
そして、U相コイル180UとV相コイル180Vとの間に、V−W配線支持部材254を挿入して、V相コイル180VとW相コイル180Wとの間にW−U配線支持部材255を挿入する。さらに、W相コイル180WとU相コイル180Uとの間に、U−V配線支持部材256を挿入する。
図6は、各分割ステータコア175を環状に配列したときにおける、V相コイル180Vが装着された分割ステータコア175の側面図である。この図6に示すように、渡線154Vの端部155と、V相コイル180Vの端部152とは、互いに離間している。
図7は、V相コイル180VとU相コイル180Uとの間に、U相コイル180Uを挿入し始めたときの、分割ステータコア175の側面図である。
V−W配線支持部材254は、渡線154が位置する軸方向端面177と反対側の軸方向端面178側から、軸方向端面177に向けて挿入される。
この際、図4に示す突出部257および突出部258側から順次U相コイル180UおよびV相コイル180V間に挿入する。また、外辺部261がインシュレータ160の張出部162に当接するように挿入し、インシュレータ160とV−W配線支持部材254との位置決めを行う。
そして、順次V−W配線支持部材254をU相コイル180UとV相コイル180Vとの間に挿入すると、突出部257,258がU相コイル180UおよびV相コイル180Vの端面から突出し、渡線154V,154Wを支持し始める。
ここで、V相接続配線受入部252VおよびW相接続配線受入部252Wが、渡線154Vおよび渡線154Wを受け入れ始めると、渡線154Vおよび渡線154Wは、それぞれ、傾斜部263および傾斜部264によってステータ140の径方向外方に向けて押圧される。
これにより、渡線154Wおよび渡線154Vは、所定の位置にそれぞれ位置決めされる。そして、渡線154Vの端部155は、V相コイル180Vの端部152に接触または近接する。このように、各端部155と端部152とが互いに接触または近接した状態で、各端部同士を溶接接合することができ、接合作業を容易に行うことができると共に、良好に各端部同士を接合することができる。
なお、図6および図7においては、V−W配線支持部材254について説明したが、他のW−U配線支持部材255およびU−V配線支持部材256についても同様に各コイル間に挿入する。
これにより、たとえば、W−U配線支持部材255が挿入されることで、渡線154Wおよび渡線154Uを正確に位置決めすることができると共に、渡線154Vの端部155と、W相コイル180Wの端部152とを接触させることができ、接合作業を容易に行うことができる。また、同様に、U−V配線支持部材256においても、渡線154Uの端部155と、U相コイル180Uの端部152とを接触または近接させることができ、接合作業を容易に行うことができる。
このように、渡線154で各コイル同士が接続された複数の分割ステータコア175を、金型内に挿入して、モールド樹脂172を形成して、ステータ140を形成する。
そして、このステータ140を図示されない収容ケース内に収容して、固定する。その後、ロータ120をステータ140内に挿入する。このようにして、本発明の実施の形態1に係る回転電機100を製造することができる。
(実施の形態2)
図8から図16を用いて、本発明の実施の形態2に係る回転電機100について説明する。なお、図8から図16において、上記図1から図7に示された構成と同一または相当する構成については、同一の符号を付して、その説明を省略する。
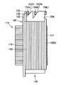
図8は、本発明の実施の形態2に係る回転電機のステータの平面図である。この図8に示されるように、ステータ140は、各コイル180の上端面上に配置された渡線154U,154V,154Wの少なくともいずれかを支持する支持部材250を複数備えている。
そして、支持部材250は、W相コイル180W上に配置され、渡線154Uと渡線154Vを支持するU−V支持部材191と、U相コイル180U上に配置され、渡線154Vと渡線154Wとを支持するV−W支持部材192と、U相コイル180U上に配置され、渡線154Wと渡線154Uとを支持するW−U支持部材193とを備えている。
ここで、図9は、U−V支持部材191およびこのU−V支持部材191が設けられた分割ステータコア175の側面図であり、図10は、V−W支持部材192およびV−W支持部材192が配置された分割ステータコア175の側面図である。さらに、図11は、W−U支持部材193およびW−U支持部材193が配置された分割ステータコア175の側面図である。
これら図9から図11に示されるように、渡線154Uは、他の渡線154V,154Wよりも、ステータ140の軸方向端面177から離れた位置に設けられている。さらに、渡線154Vは、渡線154Wよりも、軸方向端面177から離れた位置に設けられている。このように、各渡線154U,154V,154Wは、いずれも回転中心線O方向の高さが異なるように配置されている。
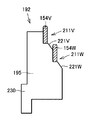
ここで、図12は、U−V支持部材191の拡大断面図である。この図12に示されるように、U−V支持部材191は、渡線154Uを受け入れ可能な受入部210Uと、この受入部210Uに対して、ステータ140の径方向内方側に位置すると共に軸方向端面177側に位置し、渡線154Vを受け入れ可能な受入部210Vと形成された本体部194と、この本体部194に連設された係止部230とを備えている。
そして、U−V支持部材191のうち、受入部210Uと受入部210Vとの間に位置する部分には、傾斜面220Uが形成されている。また、受入部210Vに対して、ステータ140の径方向内方側に位置する部分には、傾斜面220Vが形成されている。
ここで、傾斜面220Uおよび傾斜面220Vは、ステータ140の径方向外方側に向かうにしたがって、軸方向端面177から離れるように傾斜する。係止部230は、本体部194のうち、ステータ140の径方向外方側に位置する周面に連設されている。
図13は、V−W支持部材192の拡大断面図である。この図13に示されるように、V−W支持部材192は、渡線154Vを受け入れ可能な受入部211Vと、この受入部211Vに対して、ステータ140の径方向内方側に位置すると共に、軸方向端面177側に位置する受入部211Wとが形成された本体部195と、この本体部195に連設された係止部230とを備えている。
そして、V−W支持部材192のうち、受入部211Vと受入部211Wとの間に位置する部分には、受入部211Vが形成されており、受入部211Wに対して、ステータ140の径方向内方側にも、傾斜面221Wが形成されている。
ここで、傾斜面221Vおよび傾斜面221Wは、ステータ140の径方向外方側に向かうにしたがって、軸方向端面177から離れるように傾斜している。
図14は、W−U支持部材193の拡大断面図である。この図14に示すように、W−U支持部材193は、渡線154Uを受け入れ可能な受入部212Uと、この受入部212Uに対して、軸方向端面177側に位置し、ステータ140の径方向外方側に形成された受入部212Wとが形成された本体部196と、この本体部196に形成された係止部230とを備えている。
そして、受入部212Uを規定するW−U支持部材193の外周縁部のうち、ステータ140の径方向内方側には、傾斜面222Uが形成されている。さらに、受入部212Wを規定するW−U支持部材193の外周縁部のうち、受入部212Wに対して、ステータ140の径方向内方側に隣り合う部分には、傾斜面222Wが形成されている。この傾斜面222Uおよび傾斜面222Wは、いずれも、ステータ140の径方向外方側に向かうにしたがって、軸方向端面177から離れるように傾斜している。なお、このW−U支持部材193にも、インシュレータ160の張出部162と係合可能な係止部230が形成されている。
このように、各渡線154U,154V,154Wは、支持部材190によって支持されているため、各渡線154U,154V,154Wが位置ずれすることが抑制されている。これにより、渡線154UとU相コイル180Uとの接合部、渡線154VとV相コイル180Vとの接合部、および渡線154VとV相コイル180Vとの接合部における各接合状態を良好に維持することができる。
図15は、インシュレータ160およびコイル180が装着された分割ステータコア175を背面側から見たときの斜視図である。この図15に示すように、インシュレータ160の張出部162には、凹部165が形成されている。
そして、上記図12から図14に示された本体部194、本体部195および本体部196は、この凹部165を通して、コイル180の上面上に配置され、各U−V支持部材191,V−W支持部材192,W−U支持部材193の係止部230は、張出部162のうち、凹部165に対して回転中心線O方向に隣り合う部分と係合可能となっている。
このように、各渡線154U,154V,154Wは、支持部材250によって支持されているので、位置ずれすることが抑制されている。これに伴い、渡線154Uの端部155と、U相コイル180Uの端部との接合部、渡線154Vの端部155とV相コイル180Vの端部との接合部、およびW相コイル180Wの端部155とW相コイル180Wの端部との接合状態を良好に維持することができる。なお、支持部材250は、いずれも、PPS(ポリフェニレンサルファイド)樹脂やLCP(液晶ポリマー)樹脂などの絶縁材料から構成されている。
上記のように構成された回転電機100の製造方法について説明する。ステータ140を製造する際には、まず、分割ステータコア175のステータティース171にインシュレータ160を装着する。そして、このインシュレータ160にコイル180を装着する。そして、インシュレータ160およびコイル180が装着された分割ステータコア175を環状に配列する。その後、上記の図15に示された凹部165からU−V支持部材191,V−W支持部材192,W−U支持部材193を挿入する。
ここで、支持部材250を挿入する際において、各渡線154U,154V,154Wは、それぞれ、自重によって、端部155に向かうにしたがって、下方に垂れ下がるように傾斜している。
図16は、U−V支持部材191をW相コイル180Wの上面上に配置するときの断面図である。この図16に示すように、渡線154Uおよび渡線154Vは、所定の位置から下方に位置している。
このため、図15に示す凹部165からU−V支持部材191を挿入すると、渡線154Uは、傾斜面220Uと当接し、さらに、渡線154Vは、傾斜面220Vと当接する。そして、さらに、U−V支持部材191をステータ140の径方向内方に向けて挿入すると、傾斜面220Uによって渡線154Uが上方に押し上げられ、また、渡線154Vも傾斜面220Vによって、上方に押し上げられる。これにより、渡線154Uは、受入部210U内に受け入れられると共に、渡線154Wは、受入部210W内に受け入れられる。そして、係止部230が張出部162と係合することで、ステータ140の径方向の位置決めが正確になされ、さらに、U−V支持部材191の底部がW相コイル180Wの上面と当接することで、回転中心線O方向の位置も正確に位置決めされる。
このように、渡線154Uは、位置決めされたU−V支持部材191の受入部210U内に受け入れられることで、正確に位置決めされ、さらに、渡線154Wも同様に、受入部210W内に受け入れられることで、正確に位置決めされる。
さらに、同様に、V−W支持部材192を、凹部165からU相コイル180Uの上面上に挿入し、さらに、W−U支持部材193を凹部165からV相コイル180Vの上面上に挿入することで、各渡線154を正確に位置決めすることができる。
これにより、各コイル180の端部と各渡線154の端部とを接触または少なくとも近接させることができ、コイル180の端部と渡線154の端部とを容易に接合することができる。さらに、各渡線154を支持部材250で支持することで、コイル180の接合部と渡線154との接合部に負荷がかかることを抑制することができ、接合状態を長期間良好に維持することができる。
(実施の形態3)
本発明の実施の形態3に係る回転電機について、図17から図19を用いて、説明する。なお、上記図1から図16に示された構成と同一または相当する構成については、同一の符号を付してその説明を省略する。
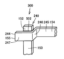
図17は、本発明の実施の形態3に係る回転電機の接合部300の斜視図である。この図17に示す例においては、コイル180の端部152に、渡線154を受け入れ可能な、受入部248が形成されており、この受入部248に、渡線154の端部155が受け入れられ、端部155と端部152とが互いに溶接等で接合されている。
引出部150には、回転中心線O方向に延びる軸方向延在部240と、この軸方向延在部240の先端部に連設され、ステータ140の径方向外方側に向けて屈曲する屈曲部241と、この屈曲部241の先端部に形成され、回転中心線O方向に延びる軸方向延在部242とが形成されている。
受入部248は、軸方向延在部240と屈曲部241と軸方向延在部242とによって規定された段差部とされている。そして、屈曲部241上に、渡線154の端部155が配置されている。そして、渡線154の端部155と、コイル180の端部152とは、溶接部501によって互いに固定されている。
このような接合部300を備えた回転電機において、各コイル180の端部152と、渡線154の端部155とを接合する際には、たとえば、まず、当該受入部248が形成されたコイル180が装着された分割ステータコア175を配置する。その後に、この
受入部248に受け入れられる渡線154を含むコイル180が装着された分割ステータコア175を、上方から配置する。
これにより、渡線154の端部155が、受入部248内に受け入れられると共に、屈曲部241によって支持される。このため、渡線154の端部155が自重によって下方に傾斜することが抑制されており、渡線154の端部155とコイル180の端部152とを接触または近接させることができる。
このように、順次分割ステータコア175を環状に配置した後、各受入部248内に受け入れられた渡線154の端部155と、コイル180の端部152とを溶接する。
この溶接作業の際においては、上記のように渡線154は、屈曲部241によって支持されているため、容易に溶接作業を行うことができる。
さらに、軸方向延在部242は、渡線154に対してステータ140の径方向外方側に位置している。このため、渡線154の端部155とコイル180の端部152とを溶接して、溶接部501で接合する際に、渡線154が熱膨張して、渡線154がステータ140の径方向外方側に変位しようとしても、軸方向延在部242で良好に支持することができる。さらに、回転電機100の駆動中に渡線154の温度が上昇して、ステータ140の径方向外方側に向けて渡線154が変位しようとしても、軸方向延在部242との間の面圧が上昇し、互いの接合状態を向上させることができる。
図18は、本発明の実施の形態3に係る回転電機における接合部300の第1変形例を示す斜視図である。この図13に示すように、コイル180の端部152は、渡線154に形成された受入部249によって受け入れられている。
渡線154は、ステータ140の周方向に向けて延びる周方向延在部245と、この245の先端部に連設され、ステータ140の径方向内方に向けて屈曲する屈曲部246と、この屈曲部246の先端部に連設され、ステータ140の周方向に延びる周方向延在部247とを備えている。
そして、上記受入部249は、周方向延在部245と屈曲部246と周方向延在部247とによって規定された段差部とされている。
そして、この渡線154の端部155と、コイル180の端部152とは、互いに
溶接部502によって接合されている。ここで、屈曲部246は、ステータ140の周方向からコイル180の端部152に当接しており、たとえば、回転電機100の駆動によって、渡線154が熱膨張して、渡線154の長さが伸びようとしても、コイル180の端部152と渡線154との接合状態は良好に保たれる。
この図18に示す接合部300をを備えた回転電機において、接合部300を接合するには、まず、当該接合部300の端部152を備えたコイル180が装着された分割ステータコア175を配置する。その後、当該接合部300の渡線154を含むコイル180が装着された分割ステータコア175を配置する。
この際、渡線154の受入部249内に、コイル180の端部152を受け入れることで、容易に、コイル180の端部152と、渡線154の端部155との位置決めを行うことができる。
このため、端部152と端部155とを溶接して、溶接部502によって、端部152と端部155とを接合する際において、容易に互いを接合することができる。
さらに、当該溶接作業によって、渡線154がステータ140の周方向に延びようしても、コイル180の端部152によって支持され、端部152と端部155との接合状態を良好に維持することができる。
図19は、本発明の実施の形態3に係る回転電機の接合部300の第2変形例を示す斜視図である。
この図19に示すように、コイル180の端部152および渡線154の端部155にそれぞれ、受入部248および受入部249を形成してもよい。
以上のように本発明の実施の形態について説明を行なったが、今回開示された実施の形態はすべての点で例示であって制限的なものではないと考えられるべきである。本発明の範囲は特許請求の範囲によって示され、特許請求の範囲と均等の意味および範囲内でのすべての変更が含まれることが意図される。さらに、上記数値などは、例示であり、上記数値および範囲にかぎられない。
本発明は、回転電機および回転電機の製造方法に好適である。
本発明の実施の形態1に係る回転電機の概略構成を示す側断面図である。 回転中心線方向から平面視したステータの平面図である。 コイルと、インシュレータとが装着された分割ステータコアの斜視図である。 各コイル間に配置される支持部材の側面図である。 V相コイルが装着された分割ステータコアの側面図である。 各分割ステータコア1を環状に配列したときにおける、V相コイルが装着された分割ステータコアの側面図である。 V相コイルとU相コイルとの間に、U相コイルを挿入し始めたときの、分割ステータコアの側面図である。 本発明の実施の形態2に係る回転電機のステータの平面図である。 U−V支持部材およびこのU−V支持部材が設けられた分割ステータコアの側面図である。 V−W支持部材およびV−W支持部材が配置された分割ステータコアの側面図である。 W−U支持部材およびW−U支持部材が配置された分割ステータコアの側面図である。 U−V支持部材の拡大断面図である。 V−W支持部材の拡大断面図である。 W−U支持部材の拡大断面図である。 インシュレータおよびコイルが装着された分割ステータコアを背面側から見たときの斜視図である。 U−V支持部材をW相コイルの上面上に配置するときの断面図である。 本発明の実施の形態3に係る回転電機の接合部の斜視図である。 本発明の実施の形態3に係る回転電機における接合部の第1変形例を示す斜視図である。 本発明の実施の形態3に係る回転電機における接合部の第2変形例を示す斜視図である。
符号の説明
100 回転電機、110 回転シャフト、120 ロータ、122 エンドプレート、123 永久磁石、124 樹脂、125 ロータコア、126 磁石挿入孔、131 軸方向端面、132 軸方向端面、135 径方向端面、140 ステータ、141 ステータコア、145 径方向端面、150 引出部、151 巻回部、152 端部、153 引出部、154 各渡線、154U,154V,154W 各渡線、155 端部、160 インシュレータ、161 ティース受入部、162 張出部、165 凹部、171 ステータティース、172 モールド樹脂、175 分割ステータコア、176 ヨーク部、177,178 軸方向端面、180 コイル、190 支持部材、191 支持部材、230 係止部、250 支持部材、251 コイル間絶縁部。

Claims (9)

  1. 環状に形成されたステータコア、および前記ステータコアに装着され、前記ステータコアの周方向に配列する複数のコイルを含むステータと、
    前記ステータの中心軸方向に位置する前記コイルの一方の端面上を延び、前記コイル同士を接続する接続配線と、
    前記接続配線を支持して、前記接続配線を位置決めする支持部材と、
    を備えた、回転電機。
  2. 前記支持部材は、前記接続配線を受け入れる受入部を有し、該受入部を規定する前記支持部材の内表面は、前記コイルの前記一方の端面から前記中心軸方向に離れるにしたがって、前記ステータの径方向内方に向けて延びるように傾斜する、請求項1に記載の回転電機。
  3. 前記支持部材は、前記コイルの前記一方の端面上に配置されると共に、絶縁材料によって構成され、前記コイルと前記接続配線とを絶縁可能とされた、請求項1または請求項2に記載の回転電機。
  4. 前記支持部材は、前記ステータの周方向に隣り合う前記コイル間に配置され、前記コイル同士を絶縁するコイル絶縁部を含む、請求項1または請求項2に記載の回転電機。
  5. 前記コイルは、第1位相の電力が供給される複数の第1コイルと、第2位相の電力が供給される複数の第2コイルとを含み、
    前記第2コイルの両端部は、前記第1コイルの両端部よりも、前記第2コイルの前記一方の端面から前記ステータの中心軸方向に離れた位置にまで達し、
    前記接続配線は、前記第1コイル同士を接続する第1接続配線と、前記第2コイル同士を接続し、前記第1接続配線よりも前記コイルの前記一方の端面から前記ステータの中心軸方向に離れた位置に配置された第2接続配線とを含み、
    前記支持部材の前記受入部は、前記第1接続配線を受け入れ可能な第1受入部と、前記第1受入部よりも前記ステータの中心軸方向に離れた前記第2接続配線を受け入れ可能な第2受入部とを含む、請求項2に記載の回転電機。
  6. 環状に形成されたステータコア、および前記ステータコアに装着され、前記ステータコアの周方向に配列する複数のコイルを含むステータと、
    前記ステータの中心軸方向に配列する前記コイルの一方の端面上を延び、コイル同士を接続する接続配線とを備え、
    前記コイルのうち、前記接続配線が接続される接続部に設けられ、前記接続配線を受け入れ可能なコイル受入部と、前記接続配線のうち、前記コイルの前記接続部を受け入れ可能な配線受入部との少なくとも一方を含む、回転電機。
  7. 前記コイルは、前記ステータ中心軸方向に延びる第1軸方向延在部と、該第1軸方向延在部に対して、該コイルの先端部側に位置し、前記ステータの径方向に向けて屈曲する第1屈曲部と、該第1屈曲部に対して、該コイルの先端部側に位置し、前記中心軸方向に延びる第2軸方向延在部とを含み、
    前記コイル受入部は、前記第1、第2軸方向延在部および前記第1屈曲部によって規定される段差部とされ、
    前記接続配線は、前記ステータの周方向に延びる第1周方向延在部と、該第1周方向延在部に対して先端部側に位置し、前記ステータの径方向に向けて屈曲する第2屈曲部と、該第2屈曲部に対して先端部側に位置し、前記ステータの周方向に延びる第2周方向延在部とを含み、
    前記配線受入部は、前記第1、第2周方向延在部および前記第2屈曲部によって規定された段差部とされた、請求項6に記載の回転電機。
  8. 前記接続配線は、前記コイルを構成するコイル線の一方の端部を延出させて形成された、請求項1から請求項7のいずれかに記載の回転電機。
  9. 環状に形成されたステータコア、および前記ステータコアに装着され、前記ステータコアの周方向に配列する複数のコイルを含むステータと、
    前記ステータの中心軸方向に位置する前記コイルの一方の端面上を延び、コイル同士を接続する接続配線とを備えた回転電機の製造方法であって、
    支持部材で前記接続配線を支持した状態で、前記コイルと前記接続配線とを接合する、回転電機の製造方法。
JP2008313460A 2008-12-09 2008-12-09 回転電機および回転電機の製造方法 Active JP5245781B2 (ja)

Priority Applications (1)

Application Number Priority Date Filing Date Title
JP2008313460A JP5245781B2 (ja) 2008-12-09 2008-12-09 回転電機および回転電機の製造方法

Applications Claiming Priority (1)

Application Number Priority Date Filing Date Title
JP2008313460A JP5245781B2 (ja) 2008-12-09 2008-12-09 回転電機および回転電機の製造方法

Related Child Applications (1)

Application Number Title Priority Date Filing Date
JP2013029205A Division JP5549753B2 (ja) 2013-02-18 2013-02-18 回転電機

Publications (2)

Publication Number Publication Date
JP2010141964A true JP2010141964A (ja) 2010-06-24
JP5245781B2 JP5245781B2 (ja) 2013-07-24

Family

ID=42351588

Family Applications (1)

Application Number Title Priority Date Filing Date
JP2008313460A Active JP5245781B2 (ja) 2008-12-09 2008-12-09 回転電機および回転電機の製造方法

Country Status (1)

Country Link
JP (1) JP5245781B2 (ja)

Cited By (5)

* Cited by examiner, † Cited by third party
Publication number Priority date Publication date Assignee Title
JP2012115015A (ja) * 2010-11-24 2012-06-14 Toyota Motor Corp 回転電機
JP2014128049A (ja) * 2012-12-25 2014-07-07 Mitsubishi Electric Corp 電動機用固定子及び電動機用固定子の製造方法
JP2015061410A (ja) * 2013-09-19 2015-03-30 株式会社デンソー 回転電機の固定子
CN107431405A (zh) * 2015-03-31 2017-12-01 爱信艾达株式会社 定子
CN107453509A (zh) * 2017-08-21 2017-12-08 珠海格力节能环保制冷技术研究中心有限公司 一种绝缘块、具有该绝缘块的电机及电机的安装方法

Citations (14)

* Cited by examiner, † Cited by third party
Publication number Priority date Publication date Assignee Title
JPS5320401U (ja) * 1976-07-31 1978-02-21
JPH05300687A (ja) * 1992-04-16 1993-11-12 Seiko Epson Corp モータ及びモータの製造方法
JP2000262021A (ja) * 1999-03-11 2000-09-22 Denso Corp 電機子コイルの接合構造及び接合方法
JP2003158845A (ja) * 2001-11-16 2003-05-30 Hitachi Ltd 回転電機用固定子及び回転電機
JP2004072857A (ja) * 2002-08-05 2004-03-04 Aichi Elec Co 電動機の固定子
JP2005051999A (ja) * 2004-10-12 2005-02-24 Honda Motor Co Ltd 回転電機のステータ
JP2005160143A (ja) * 2003-11-20 2005-06-16 Toyota Motor Corp 回転電機の固定子
JP2005312221A (ja) * 2004-04-23 2005-11-04 Mitsubishi Electric Corp 回転電機
JP2006033964A (ja) * 2004-07-14 2006-02-02 Denso Corp 回転電機および回転電機の製造方法
JP2006288017A (ja) * 2005-03-31 2006-10-19 Denso Corp 回転電機用界磁装置
JP2007174869A (ja) * 2005-12-26 2007-07-05 Sumitomo Electric Ind Ltd インシュレータ、ステータアセンブリ、セグメントステータ、及び回転電機用ステータ
JP2007259555A (ja) * 2006-03-22 2007-10-04 Toyota Motor Corp 回転電機の固定子、固定子に用いられる部品および回転電機の固定子の製造方法
JP2008187779A (ja) * 2007-01-29 2008-08-14 Mitsubishi Electric Corp 電動機の固定子及び電動機及び空気調和機及び電動機の製造方法
JP2008278703A (ja) * 2007-05-02 2008-11-13 Sumitomo Electric Ind Ltd 回転電機用ステータ、それに使用するバスバーユニット及びそのバスバー用端子とコイル端末との接続構造

Patent Citations (14)

* Cited by examiner, † Cited by third party
Publication number Priority date Publication date Assignee Title
JPS5320401U (ja) * 1976-07-31 1978-02-21
JPH05300687A (ja) * 1992-04-16 1993-11-12 Seiko Epson Corp モータ及びモータの製造方法
JP2000262021A (ja) * 1999-03-11 2000-09-22 Denso Corp 電機子コイルの接合構造及び接合方法
JP2003158845A (ja) * 2001-11-16 2003-05-30 Hitachi Ltd 回転電機用固定子及び回転電機
JP2004072857A (ja) * 2002-08-05 2004-03-04 Aichi Elec Co 電動機の固定子
JP2005160143A (ja) * 2003-11-20 2005-06-16 Toyota Motor Corp 回転電機の固定子
JP2005312221A (ja) * 2004-04-23 2005-11-04 Mitsubishi Electric Corp 回転電機
JP2006033964A (ja) * 2004-07-14 2006-02-02 Denso Corp 回転電機および回転電機の製造方法
JP2005051999A (ja) * 2004-10-12 2005-02-24 Honda Motor Co Ltd 回転電機のステータ
JP2006288017A (ja) * 2005-03-31 2006-10-19 Denso Corp 回転電機用界磁装置
JP2007174869A (ja) * 2005-12-26 2007-07-05 Sumitomo Electric Ind Ltd インシュレータ、ステータアセンブリ、セグメントステータ、及び回転電機用ステータ
JP2007259555A (ja) * 2006-03-22 2007-10-04 Toyota Motor Corp 回転電機の固定子、固定子に用いられる部品および回転電機の固定子の製造方法
JP2008187779A (ja) * 2007-01-29 2008-08-14 Mitsubishi Electric Corp 電動機の固定子及び電動機及び空気調和機及び電動機の製造方法
JP2008278703A (ja) * 2007-05-02 2008-11-13 Sumitomo Electric Ind Ltd 回転電機用ステータ、それに使用するバスバーユニット及びそのバスバー用端子とコイル端末との接続構造

Cited By (7)

* Cited by examiner, † Cited by third party
Publication number Priority date Publication date Assignee Title
JP2012115015A (ja) * 2010-11-24 2012-06-14 Toyota Motor Corp 回転電機
JP2014128049A (ja) * 2012-12-25 2014-07-07 Mitsubishi Electric Corp 電動機用固定子及び電動機用固定子の製造方法
JP2015061410A (ja) * 2013-09-19 2015-03-30 株式会社デンソー 回転電機の固定子
CN107431405A (zh) * 2015-03-31 2017-12-01 爱信艾达株式会社 定子
CN107431405B (zh) * 2015-03-31 2019-10-15 爱信艾达株式会社 定子
CN107453509A (zh) * 2017-08-21 2017-12-08 珠海格力节能环保制冷技术研究中心有限公司 一种绝缘块、具有该绝缘块的电机及电机的安装方法
CN107453509B (zh) * 2017-08-21 2023-06-27 珠海格力节能环保制冷技术研究中心有限公司 一种绝缘块、具有该绝缘块的电机及电机的安装方法

Also Published As

Publication number Publication date
JP5245781B2 (ja) 2013-07-24

Similar Documents

Publication Publication Date Title
KR101080768B1 (ko) 하이브리드 차량용 구동모터의 집중권 코일 결합 구조물
US8269387B2 (en) Coil for rotating electric machine having bent drawn-out ends
JP5554383B2 (ja) 回転電機の固定子、及びその固定子の製造方法
JP6139723B1 (ja) 回転電機、及びその製造方法
JP5309897B2 (ja) 回転電機
US8590137B2 (en) Method of manufacturing a stator
CN103733481A (zh) 旋转电机和旋转电机的制造方法
JPWO2018142845A1 (ja) ステータの製造方法、モータ
JP2011135640A (ja) インシュレータ、回転電機および回転電機の製造方法
JP2010154701A (ja) 回転電機用ターミナル
US8256100B2 (en) Stator manufacturing apparatus
JP5245781B2 (ja) 回転電機および回転電機の製造方法
JP4502041B2 (ja) 回転電機の固定子およびその製造方法
JP2016116417A (ja) コイル巻回部品、コイル巻回部品の製造方法、ステータ、及び回転電機
JP5181627B2 (ja) 回転電機および回転電機の製造方法
JP5233630B2 (ja) ステータ、回転電機、ステータの製造方法および回転電機の製造方法
CN103296791B (zh) 旋转电机
US8225484B2 (en) Method of manufacturing stator for electric rotating machine
JP7691374B2 (ja) バスバーユニット
EP2940836B1 (en) Rotating machine
JP5773963B2 (ja) 電動機のステータ及び電動機
JP5387604B2 (ja) 回転電機用端末モジュールおよび回転電機
JP5549753B2 (ja) 回転電機
JP2009148134A (ja) 分割ステータ
JP5445033B2 (ja) 回転電機の固定子

Legal Events

Date Code Title Description
A621 Written request for application examination

Free format text: JAPANESE INTERMEDIATE CODE: A621

Effective date: 20110613

A977 Report on retrieval

Free format text: JAPANESE INTERMEDIATE CODE: A971007

Effective date: 20121212

A131 Notification of reasons for refusal

Free format text: JAPANESE INTERMEDIATE CODE: A131

Effective date: 20121225

A521 Request for written amendment filed

Free format text: JAPANESE INTERMEDIATE CODE: A523

Effective date: 20130218

TRDD Decision of grant or rejection written
A01 Written decision to grant a patent or to grant a registration (utility model)

Free format text: JAPANESE INTERMEDIATE CODE: A01

Effective date: 20130312

A61 First payment of annual fees (during grant procedure)

Free format text: JAPANESE INTERMEDIATE CODE: A61

Effective date: 20130325

R151 Written notification of patent or utility model registration

Ref document number: 5245781

Country of ref document: JP

Free format text: JAPANESE INTERMEDIATE CODE: R151

FPAY Renewal fee payment (event date is renewal date of database)

Free format text: PAYMENT UNTIL: 20160419

Year of fee payment: 3