JP2010101556A - 燃焼灰等のホッパー灰詰り解消装置及びその灰詰り解消方法 - Google Patents

燃焼灰等のホッパー灰詰り解消装置及びその灰詰り解消方法 Download PDF

Info

Publication number
JP2010101556A
JP2010101556A JP2008273012A JP2008273012A JP2010101556A JP 2010101556 A JP2010101556 A JP 2010101556A JP 2008273012 A JP2008273012 A JP 2008273012A JP 2008273012 A JP2008273012 A JP 2008273012A JP 2010101556 A JP2010101556 A JP 2010101556A
Authority
JP
Japan
Prior art keywords
ash
hopper
combustion
combustion ash
compressed air
Prior art date
Legal status (The legal status is an assumption and is not a legal conclusion. Google has not performed a legal analysis and makes no representation as to the accuracy of the status listed.)
Granted
Application number
JP2008273012A
Other languages
English (en)
Other versions
JP5408958B2 (ja
Inventor
Masanori Sada
昌則 佐田
Current Assignee (The listed assignees may be inaccurate. Google has not performed a legal analysis and makes no representation or warranty as to the accuracy of the list.)
Chugoku Electric Power Co Inc
Original Assignee
Chugoku Electric Power Co Inc
Priority date (The priority date is an assumption and is not a legal conclusion. Google has not performed a legal analysis and makes no representation as to the accuracy of the date listed.)
Filing date
Publication date
Application filed by Chugoku Electric Power Co Inc filed Critical Chugoku Electric Power Co Inc
Priority to JP2008273012A priority Critical patent/JP5408958B2/ja
Publication of JP2010101556A publication Critical patent/JP2010101556A/ja
Application granted granted Critical
Publication of JP5408958B2 publication Critical patent/JP5408958B2/ja
Expired - Fee Related legal-status Critical Current
Anticipated expiration legal-status Critical

Links

Images

Landscapes

  • Gasification And Melting Of Waste (AREA)

Abstract

【課題】ホッパーに簡単な設備を設けることで、このホッパー内に堆積して詰った燃焼灰を崩し、又は燃焼灰の堆積を防止することにより、閉塞状態を回避して、燃焼灰を円滑に吸引輸送する。
【解決手段】集塵器で捕捉した燃焼灰Aを蓄積するホッパー1と、ホッパー1の下端に接続し、ホッパー1から落下した燃焼灰Aを吸引して灰処理装置4に輸送する灰輸送管2と、を備えた灰輸送装置において、ホッパー1内に詰まった燃焼灰Aに向けて圧縮空気を噴射し、燃焼灰Aの塊りを崩し、灰輸送管2で輸送するように構成した。
【選択図】図5

Description

本発明は、発電所等のボイラで発生し、ホッパーに蓄積された燃焼灰等について灰輸送管を通して灰処理装置へ吸引輸送する際に、このホッパー内に詰った燃焼灰等を崩して円滑に吸引輸送する燃焼灰等のホッパー灰詰り解消装置及びその灰詰り解消方法に関する。
発電所等の大型施設のボイラ等で発生した燃焼灰は、燃焼排ガスと共に脱硝装置及び空気予熱器を経て電気集塵器に導入し、電気集塵器でその大半を捕捉する。電気集塵器の底部に、逆円錐形状のホッパーを複数個設置し、捕捉した燃焼灰(EP灰)をこのホッパー内に蓄積する。
図10に示すように、各ホッパー1内に蓄積した燃焼灰は、灰輸送管2を通じて真空ポンプ5で吸引され灰処理装置4に輸送される。灰輸送管2の一端には大気吸込口が設けられており、この大気吸込口を開き真空ポンプ5を作動させると、灰輸送管2内にはサイロに向けた気流が生じるため、ホッパー1下端のアッシュインテーク弁(排出弁)3を開くとホッパー1内の燃焼灰が灰輸送管2に吸引されて輸送される。複数のホッパー1からの燃焼灰の輸送は、1基ずつ順次アッシュインテーク弁3を開いて燃焼灰を吸引することによって行われる。
例えば、このようなホッパー1のアッシュインテーク弁3を開閉することにより、ホッパー1内の重油灰のような燃焼灰が灰輸送管2内に落下し真空引きにより温風と共に燃焼灰を輸送する。燃焼灰特に重油灰は粘性が高いので、ホッパー1内に灰塊が発生するとホッパー1の出口が灰詰まりを起こす。そのため従来から灰輸送管2等の詰まりを防止するために、排出弁を開く前にはホッパー1の漏斗部に形成した開閉式のホッパマンホール7から予め一定量の燃焼灰等を掻き出してフロア上に排出していた。また灰輸送管2に詰まりが生じた場合には、ホッパー1との接続個所の灰輸送管2に形成した開閉式の灰輸送管マンホールから燃焼灰等を掻き出してフロア上に灰出し、清掃している。
このような燃焼灰などの詰りを防止する技術として、例えば特許文献1の特開2001−208331号公報「燃焼装置とその煙道灰堆積防止方法」に示すように、燃料を燃焼させるための火炉と、火炉上流側に設けた煙道に設置される火炉に燃料を供給するための燃料搬送用空気を供給する押込通風機及び一次空気搬送用の一次空気通風機と、火炉の上流側の煙道内の空気と火炉の下流側の間に設けられ、煙道内の燃焼排ガスとの熱交換により一次空気と燃料搬送用空気を予熱する空気予熱器と、火炉の下流側の煙道に設けられる火炉からの燃料燃焼排ガス中の除塵をする電気集塵器と、該電気集塵器の上流側のガス流れに沿って登り勾配の傾斜がついた斜行煙道と、該斜行煙道の底部に堆積した灰等を吹き飛ばすため斜行煙道内にパージ媒体を吹き出すノズル及びパージ弁を設置するパージ系統を備えた燃焼装置の煙道灰堆積防止方法において、前記パージ系統に一次空気通風機あるいは押込通風機の下流側煙道から取り出した冷空気に空気予熱器の下流側の煙道より取り出した熱空気を合流させて得られる昇温した空気を用いる燃焼装置の煙道灰堆積防止方法が提案されている。
特開2001−208331号公報
従来の灰輸送装置は、ホッパー1の灰詰まり頻度が多く、ホッパー1の灰詰まりによる特別な対策を講じていなかった。そのホッパー1の灰詰まりが発生したときにその都度灰出しと清掃作業をしていた。しかし、この灰の掻き出し作業は多くの労力と費用が必要であった。また、ホッパー1の灰詰まりの掻き出し作業は、灰処理装置4を停止する必要があるという問題を有していた。
特許文献1の「燃焼装置とその煙道灰堆積防止方法」は、煙道内に灰が堆積することを防止する技術である。ホッパーから灰輸送管に移し、このホッパー内に堆積して詰った燃焼灰の詰りを防止する技術ではなかった。
本発明は、かかる問題点を解決するために創案されたものである。すなわち、本発明の目的は、ホッパーに簡単な設備を設けることで、このホッパー内に堆積して詰った燃焼灰を崩し、又は燃焼灰の堆積を防止することにより、閉塞状態を回避して、燃焼灰を円滑に吸引輸送することができ、灰処理装置を停止する必要がない燃焼灰等のホッパー灰詰り解消装置及びその灰詰り解消方法を提供することにある。
本発明の解消装置によれば、集塵器で捕捉した燃焼灰等Aを蓄積するホッパー1と、該ホッパー1の下端に接続し、ホッパー1から落下した燃焼灰等Aを吸引して灰処理装置4に輸送する灰輸送管2と、を備えた灰輸送装置において、前記ホッパー1内に詰まった燃焼灰等Aに向けて圧縮空気を噴射し、燃焼灰等Aの塊りを崩し、灰輸送管2で輸送するように構成した、ことを特徴とする燃焼灰等のホッパー灰詰り解消装置が提供される。
例えば、前記ホッパー1の漏斗部に、圧縮空気を吹き込む噴射管9を、その噴射口10が前記灰輸送管2側に向くように取り付ける。
前記噴射管9の噴射口10は首振り可能に構成することが好ましい。
前記ホッパー1に開けたホッパーマンホール7の開閉蓋6に、上方に向く噴射口21を取り付け、該噴射口21に噴射管9を連結することができる。
前記ホッパー1の漏斗部に、圧縮空気を吹き込む噴射管9を、その噴射口10が前記灰輸送管2側に向くように取り付け、更に該ホッパー1に開けたホッパーマンホール7の開閉蓋6に、上方に向く噴射口21を取り付け、該噴射口21に噴射管9を連結することができる。
本発明の解消方法によれば、集塵器で捕捉した燃焼灰等Aを蓄積するホッパー1と、該ホッパー1の下端に接続し、ホッパー1から落下した燃焼灰等Aを吸引して灰処理装置4に輸送するための灰輸送管2とを備えた灰輸送装置において、該ホッパー1内に詰まった燃焼灰等Aに、圧縮空気を噴射することにより、燃焼灰等Aの塊りを崩して、閉塞状態のホッパー1内に通気穴を開け、そこに空気が通るようにして再び燃焼灰等Aを吸引し、灰輸送管2で輸送する燃焼灰等のホッパーの灰詰り解消方法であって、前記ホッパー1下部のアッシュインテーク弁3を「開」操作すると同時に、圧縮空気の噴射管9の電磁弁11も「開」操作して圧縮空気を吹込む、ことを特徴とする燃焼灰等のホッパーの灰詰り解消方法が提供される。
例えば、前記燃焼灰等Aの上部から前記圧縮空気を下方に向けて吹込み、または燃焼灰等Aの下部から前記圧縮空気を上方に向けて吹込む。
前記燃焼灰等Aの上部から圧縮空気を下方に向けて吹き込み、次に前記燃焼灰等Aの下部から圧縮空気を上方に向けて吹き込むことができる。
逆に、前記燃焼灰等Aの上部から圧縮空気を上方に向けて吹き込み、次に前記燃焼灰等Aの下部から圧縮空気を下方に向けて吹き込むことも可能である。
前記ホッパー1内に詰まった燃焼灰等Aに向けて、噴射口10,21から圧縮空気を所定時間毎に定期的に噴射することが好ましい。
上記構成の発明では、ホッパー1内に詰まった燃焼灰等Aに向けて圧縮空気を噴射すれば、ホッパー1内の下部位置で堆積してホッパー1内部を閉塞していた燃焼灰等Aを容易に崩すことができる。従来のように、ホッパー1のホッパーマンホール7から燃焼灰等Aを掻き出すことなく、燃焼灰等Aの詰りを解消することができる。このように閉塞状態のホッパー1内に通気穴が開けば、そこに空気が通るようになり、負圧にした灰輸送管2へ燃焼灰等Aが吸引輸送されるようになる。ホッパー1内が、閉塞した状態から通風状態が一旦形成されると、燃焼灰等Aを容易に吸引輸送することができる。
ホッパー1に噴射口10,21を2箇所取り付けたものでは、燃焼灰等Aの塊りに向けてその上方と下方から圧縮空気を噴射できるので、大きな燃焼灰等Aの塊りであっても迅速にその塊りを崩すことができる。
本発明の解消方法では、ホッパー1内に詰まった燃焼灰等Aに向けて、噴射口10から圧縮空気を所定時間毎に定期的に噴射することにより、ホッパー1内の灰詰まりを防止することができ、ホッパー1の点検・清掃にかかる費用・手間を低減することができる。ホッパー1の点検・清掃時における、外部への燃焼灰等Aの飛散を防止することができる。ホッパー1の修繕費用を削減でき、その作業頻度を減少することができる。しかも、従来の掻きだし作業が減少し、灰処理装置4を停止する時間を減少させることができ、灰処理装置4の高効率運転が可能になる。
燃焼灰等Aの上部と下部の2箇所から圧縮空気を吹き込むことにより、燃焼灰等Aの塊りの性状に応じて圧縮空気を吹き込む向きを使い分けて確実に塊りを崩すことができる。例えば、塊りが小さいときは下方に向けて圧縮空気を一気に吹き込んで塊りを崩す。逆に、塊りが比較的に大きいときは、下部から圧縮空気を上方に向けて吹き込み、塊りをある程度崩し、その塊りが薄くなった部分に上部から下方に向けて吹き込んで塊りを崩す。
本発明の燃焼灰等のホッパー灰詰り解消装置は、ホッパー内に詰まった燃焼灰に、燃焼灰へ噴射口で圧縮空気を噴射し、燃焼灰の塊りを崩して、灰輸送管で輸送することができる。
以下、本発明の好ましい実施の形態を図面を参照して説明する。
図1は実施例1の燃焼灰等のホッパー灰詰り解消装置を実施する灰輸送装置の概略図である。
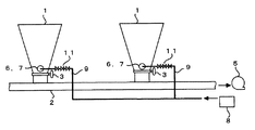
ボイラの煙道に配置された電気集塵器で捕捉したEP灰等の燃焼灰Aを蓄積するホッパー1は、上端側が広く下端側が狭くなるように形成された漏斗形状をしており、その上部からホッパー1内に粉末状の燃焼灰Aが投入される。ホッパー1の下端近傍には、蓄積した燃焼灰等Aの蓄積物が灰輸送管2への吸引を許容するためのアッシュインテーク弁(排出弁)3が設けられている。なお、このホッパー1は、電気集塵器の下部に複数個複数列に並べて配置されている。
灰輸送管2は、例えば列をなして配置された複数のホッパー1の下端を連結する水平方向に伸長する内径30cm程度の配管であり、その一端は吸気弁が設けられた大気吸入口となっている。また灰輸送管2の他端は図10に示したように、灰処理装置4に接続されており、ホッパー1と灰処理装置4とをつなぐ灰輸送管2の経路には、ホッパー1内から燃焼灰等Aを吸引するための真空ポンプ5が設けられている。即ち、真空ポンプ5が作動すると灰輸送管2には負圧が生じ、大気吸入口からの空気の流入によって、ホッパー1内からは燃焼灰等Aが吸引される。吸引された燃焼灰等Aは、灰輸送管2内を通って灰処理装置4に輸送されるようになっている。
なお、ホッパー1には、その点検や清掃を行うため着脱自在な開閉蓋6が取り付けられた内径15cm程度のマンホール7が開けられている。
図2は実施例1の灰詰り解消装置を示すホッパー部分の断面図である。
実施例1の燃焼灰等のホッパー灰詰り解消装置は、ホッパー1内に詰まった燃焼灰等Aに向けて、コンプレッサー8からの圧縮空気を噴射し、燃焼灰等Aの塊りを崩し、灰輸送管2で輸送するように構成した装置である。実施例1の灰詰り解消装置では、ホッパー1の漏斗部に、圧縮空気を吹き込む噴射管9を、その噴射口10が灰輸送管2側に向くように取り付けた。
図3は実施例1の解消装置の動作状態を示すホッパー内の説明断面図であり、(a)は灰が閉塞している状態、(b)は灰の詰りを崩した状態、(c)は灰の詰りが解消された状態である。
このホッパー1内に詰まった燃焼灰等Aに、コンプレッサー8からの圧縮空気を噴射口10から噴射すると、燃焼灰等Aの一部が吹き飛び、燃焼灰等Aの塊りに凹みができる(図3(a))。そのまま噴射口10から圧縮空気を噴射し続けることにより、燃焼灰等Aの塊りを崩れ、燃焼灰等Aの塊りに大きな凹みができる(図3(b))。最後に、ホッパー1の内部で閉塞状態にある燃焼灰等Aに通気穴が開くと、そこに空気が通るようになる(図3(c))。再び燃焼灰等Aを吸引し、灰輸送管2で輸送する燃焼灰等のホッパー1の灰詰りを解消することができる。そこで、本発明ではホッパー1下部のアッシュインテーク弁3を「開」操作すると同時に、圧縮空気の噴射管9の電磁弁11も「開」操作して圧縮空気を吹込む。噴射管9から圧縮空気を吹き込むと同時にアッシュインテーク弁3を開けることによって、燃焼灰等Aの塊りに強い風圧をかけることができる。即ち、負圧の状態で圧縮空気を吹込んでも、圧縮空気が分散して燃焼灰等Aを効率良く崩すことができないからである。
このように、ホッパー1内に詰まった燃焼灰等Aに向けて圧縮空気を噴射すれば、ホッパー1内の下部位置で堆積して内部を閉塞していた燃焼灰等Aを容易に崩すことができる。従来のように、ホッパー1のホッパーマンホール7から燃焼灰等Aを掻き出すことなく、燃焼灰等Aの詰りを解消することができる。このように閉塞状態のホッパー1内に通気穴が開けば、そこに空気が通るようになり、負圧にした灰輸送管2へ燃焼灰等Aが吸引輸送されるようになる。一旦閉塞した状態から通風状態が形成されると、燃焼灰等Aを容易に吸引輸送することができる。
ホッパー1内に詰まった燃焼灰等Aに向けて、噴射口10で圧縮空気を所定時間毎に定期的に噴射する。本発明では、ホッパー1内の灰詰まりを防止することができ、ホッパー1の点検・清掃にかかる費用・手間を低減することができる。
更に、噴射管9の噴射口10は首振り可能に構成することができる(図示していない)。ホッパー1内で広範囲に圧縮空気を噴射することで、ホッパー1内壁面に付着し始めた燃焼灰等Aを吹き落すことができ、ホッパー1内での燃焼灰等Aの詰まりを未然に防止することができる。
図4は実施例2の燃焼灰等のホッパー灰詰り解消装置を実施する灰輸送装置の概略図である。図5は実施例2の灰詰り解消装置を示し、(a)はホッパー部分の断面図、(b)は開閉蓋の拡大断面図である。
実施例2の燃焼灰等のホッパー灰詰り解消装置は、ホッパー1のホッパーマンホール7の開閉蓋6に、上方に向く噴射口21を取り付けた。この噴射口21に噴射管9を連結した。この開閉蓋6は、ホッパーマンホール7に着脱自在に取り付けることができる。
図6は実施例2の灰詰り解消装置の動作状態を示すホッパー内の説明断面図であり、(a)は灰が閉塞している状態、(b)は灰の詰りを崩した状態、(c)は灰の詰りが解消された状態である。
この実施例2の燃焼灰等のホッパー灰詰り解消装置では、ホッパー1内に詰まった燃焼灰等Aに、実施例1と同様に、コンプレッサー8からの圧縮空気を噴射口21から上方に噴射すると、燃焼灰等Aの一部が吹き飛び、燃焼灰等Aの塊りに穴ができる(図6(a))。そのまま噴射口21から圧縮空気を噴射し続けることにより、燃焼灰等Aの塊りを崩しながら吸引すると、燃焼灰等Aの塊りにできた穴が大きくなる(図6(b))。最後に、ホッパー1内で閉塞状態にある燃焼灰等Aに通気穴が開くと、そこに空気が通るようになる(図6(c))。再び燃焼灰等Aを吸引し、灰輸送管2で輸送する燃焼灰等のホッパー1の灰詰りを解消することができる。
このように、噴射口21を設けた開閉蓋6をホッパーマンホール7に着脱自在に取り付けることにより、異なる向きの噴射口21を容易に構成することができるので、圧縮空気を燃焼灰等Aの上部から下方に向けて吹込み、または圧縮空気を燃焼灰等Aの下部から上方に向けて吹込むことも簡単に実施することができる。そこで、ホッパー1内の燃焼灰等Aの詰まった状態に応じて噴射口21を変えることができる。
図7は実施例3の燃焼灰等のホッパー灰詰り解消装置を実施する灰輸送装置の概略図である。図8は実施例3の灰詰り解消装置により灰の詰りを下方から崩した状態を示すホッパー内の説明断面図である。図9は実施例3の灰詰り解消装置により灰の詰りを上方からも崩した状態を示すホッパー内の説明断面図である。
実施例3の燃焼灰等のホッパー灰詰り解消装置は、1基のホッパー1に、2箇所の噴射口10,21を設けた。ホッパー1の漏斗部に圧縮空気を吹き込む噴射管9を、その噴射口10が下方に向くように取り付け、更にホッパーホール7の開閉蓋6にも、上方に向く噴射口21を取り付け、この噴射口21に噴射管9を連結した。
実施例3の燃焼灰等のホッパー灰詰り解消装置では、図8に示すように、燃焼灰等Aの上部の噴射口10から圧縮空気を下方に向けて吹き込み。次に図9に示すように、この燃焼灰等Aの下部の噴射口21から圧縮空気を上方に向けて吹き込む。このように燃焼灰等Aの塊りに向けてその上方と下方から圧縮空気を噴射することにより、大きな燃焼灰等Aの塊りであっても迅速にその塊りを崩すことができる。
逆に、燃焼灰等Aの上部から圧縮空気を上方に向けて吹き込み、次に燃焼灰等Aの下部から圧縮空気を下方に向けて吹き込むことも可能である。燃焼灰等Aの上部と下部の2箇所から圧縮空気を吹き込むことにより、燃焼灰等Aの塊りの性状に応じて圧縮空気を吹き込む向きを使い分けて確実に塊りを崩すことができる。例えば、塊りが小さいときは下方に向けて圧縮空気を一気に吹き込んで塊りを崩す。塊りが比較的に大きいときは、下部から圧縮空気を上方に向けて吹き込み、塊りをある程度崩し、その塊りが薄くなった部分に上部から下方に向けて吹き込んで塊りを崩すことができる。
なお、本発明は、ホッパー1に簡単な設備を設けることで、このホッパー1内に堆積して詰った燃焼灰等Aを崩し、又は燃焼灰等Aの堆積を防止することにより、閉塞状態を回避して、燃焼灰等Aを円滑に吸引輸送することができれば、上述した実施例に限定されず、本発明の要旨を逸脱しない範囲で種々変更できることは勿論である。
本発明の燃焼灰等のホッパー灰詰り解消装置及びその灰詰り解消方法は、燃焼灰を崩して吸引輸送するとき以外に、その他の粘性が高く管内で詰まりやすい粉体を吸引輸送する様々な装置にも利用することができる。
実施例1の燃焼灰等のホッパー灰詰り解消装置を実施する灰輸送装置の概略図である。 実施例1の灰詰り解消装置を示すホッパー部分の断面図である。 実施例1の解消装置の動作状態を示すホッパー内の説明断面図であり、(a)は灰が閉塞している状態、(b)は灰の詰りを崩した状態、(c)は灰の詰りが解消された状態である。 実施例2の燃焼灰等のホッパー灰詰り解消装置を実施する灰輸送装置の概略図である。 実施例2の灰詰り解消装置を示し、(a)はホッパー部分の断面図、(b)は開閉蓋の拡大断面図である。 実施例2の灰詰り解消装置の動作状態を示すホッパー内の説明断面図であり、(a)は灰が閉塞している状態、(b)は灰の詰りを崩した状態、(c)は灰の詰りが解消された状態である。 実施例3の燃焼灰等のホッパー灰詰り解消装置を実施する灰輸送装置の概略図である。 実施例3の灰詰り解消装置により灰の詰りを下方から崩した状態を示すホッパー内の説明断面図である 実施例3の灰詰り解消装置により灰の詰りを上方から崩した状態を示すホッパー内の説明断面図である 従来の燃焼灰等の灰輸送装置を示す概略図である。
符号の説明
1 ホッパー
2 灰輸送管
3 アッシュインテーク弁(排出弁)
4 灰処理装置
6 開閉蓋
7 ホッパーマンホール
9 噴射管
10 噴射口
11 噴射管の電磁弁
21 噴射口
A 燃焼灰等

Claims (11)

  1. 集塵器で捕捉した燃焼灰等Aを蓄積するホッパー1と、該ホッパー1の下端に接続し、ホッパー1から落下した燃焼灰等Aを吸引して灰処理装置4に輸送する灰輸送管2と、を備えた灰輸送装置において、
    前記ホッパー1内に詰まった燃焼灰等Aに向けて圧縮空気を噴射し、燃焼灰等Aの塊りを崩し、灰輸送管2で輸送するように構成した、ことを特徴とする燃焼灰等のホッパー灰詰り解消装置。
  2. 前記ホッパー1の漏斗部に、圧縮空気を吹き込む噴射管9を、その噴射口10が前記灰輸送管2側に向くように取り付けた、ことを特徴とする請求項1の燃焼灰等のホッパー灰詰り解消装置。
  3. 前記噴射管9の噴射口10は首振り可能に構成したものである、ことを特徴とする請求項2の燃焼灰等のホッパー灰詰り解消装置。
  4. 前記ホッパー1に開けたホッパーマンホール7の開閉蓋6に、上方に向く噴射口21を取り付け、該噴射口21に噴射管9を連結した、ことを特徴とする請求項1の燃焼灰等のホッパー灰詰り解消装置。
  5. 前記ホッパー1の漏斗部に、圧縮空気を吹き込む噴射管9を、その噴射口10が前記灰輸送管2側に向くように取り付け、更にホッパー1に開けたホッパーマンホール7の開閉蓋6に、上方に向く噴射口21を取り付け、該噴射口21に噴射管9を連結した、ことを特徴とする請求項1の燃焼灰等のホッパー灰詰り解消装置。
  6. 集塵器で捕捉した燃焼灰等Aを蓄積するホッパー1と、該ホッパー1の下端に接続し、ホッパー1から落下した燃焼灰等Aを吸引して灰処理装置4に輸送するための灰輸送管2とを備えた灰輸送装置において、該ホッパー1内に詰まった燃焼灰等Aに、圧縮空気を噴射することにより、燃焼灰等Aの塊りを崩して、閉塞状態のホッパー1内に通気穴を開け、そこに空気が通るようにして再び燃焼灰等Aを吸引し、灰輸送管2で輸送する燃焼灰等のホッパーの灰詰り解消方法であって、
    前記ホッパー1下部のアッシュインテーク弁3を「開」操作すると同時に、圧縮空気の噴射管9の電磁弁11も「開」操作して圧縮空気を吹込む、ことを特徴とする燃焼灰等のホッパーの灰詰り解消方法。
  7. 前記燃焼灰等Aの上部から前記圧縮空気を下方に向けて吹込む、ことを特徴とする請求項6の燃焼灰等のホッパーの灰詰り解消方法。
  8. 前記燃焼灰等Aの下部から前記圧縮空気を上方に向けて吹込む、ことを特徴とする請求項6の燃焼灰等のホッパーの灰詰り解消方法。
  9. 前記燃焼灰等Aの上部から圧縮空気を下方に向けて吹込み、次に前記燃焼灰等Aの下部から記圧縮空気を上方に向けて吹き込む、ことを特徴とする請求項6の燃焼灰等のホッパーの灰詰り解消方法。
  10. 前記燃焼灰等Aの上部から圧縮空気を上方に向けて吹き込み、次に前記燃焼灰等Aの下部から圧縮空気を下方に向けて吹き込む、ことを特徴とする請求項6の燃焼灰等のホッパーの灰詰り解消方法。
  11. 前記ホッパー1内に詰まった燃焼灰等Aに向けて、圧縮空気を所定時間毎に定期的に噴射する、ことを特徴とする請求項6,7,8,9又は10の燃焼灰等のホッパーの灰詰り解消方法。
JP2008273012A 2008-10-23 2008-10-23 燃焼灰のホッパー灰詰り解消装置及びその灰詰り解消方法 Expired - Fee Related JP5408958B2 (ja)

Priority Applications (1)

Application Number Priority Date Filing Date Title
JP2008273012A JP5408958B2 (ja) 2008-10-23 2008-10-23 燃焼灰のホッパー灰詰り解消装置及びその灰詰り解消方法

Applications Claiming Priority (1)

Application Number Priority Date Filing Date Title
JP2008273012A JP5408958B2 (ja) 2008-10-23 2008-10-23 燃焼灰のホッパー灰詰り解消装置及びその灰詰り解消方法

Publications (2)

Publication Number Publication Date
JP2010101556A true JP2010101556A (ja) 2010-05-06
JP5408958B2 JP5408958B2 (ja) 2014-02-05

Family

ID=42292349

Family Applications (1)

Application Number Title Priority Date Filing Date
JP2008273012A Expired - Fee Related JP5408958B2 (ja) 2008-10-23 2008-10-23 燃焼灰のホッパー灰詰り解消装置及びその灰詰り解消方法

Country Status (1)

Country Link
JP (1) JP5408958B2 (ja)

Cited By (1)

* Cited by examiner, † Cited by third party
Publication number Priority date Publication date Assignee Title
CN115325552A (zh) * 2022-07-18 2022-11-11 华能国际电力股份有限公司上安电厂 一种燃煤锅炉底灰斗自动化捅焦系统及方法

Families Citing this family (1)

* Cited by examiner, † Cited by third party
Publication number Priority date Publication date Assignee Title
KR101929269B1 (ko) * 2018-04-09 2018-12-14 (주)티에스케이코퍼레이션 복합 오염토양 정화시스템용 침적물분쇄장치

Citations (4)

* Cited by examiner, † Cited by third party
Publication number Priority date Publication date Assignee Title
JPS6227054A (ja) * 1985-07-26 1987-02-05 Mitsubishi Heavy Ind Ltd ダスト排出装置
JPH0549692U (ja) * 1991-12-07 1993-06-29 荏原インフィルコ株式会社 ホッパ等の供給装置におけるブリッジング排除装置
JPH08258980A (ja) * 1995-03-27 1996-10-08 Nippon Steel Corp ホッパ内粉粒体の搬送状況判定方法および装置
JP2005335718A (ja) * 2004-05-24 2005-12-08 Eishin:Kk 粉粒体のブリッジ又はラットホールの破壊装置

Patent Citations (4)

* Cited by examiner, † Cited by third party
Publication number Priority date Publication date Assignee Title
JPS6227054A (ja) * 1985-07-26 1987-02-05 Mitsubishi Heavy Ind Ltd ダスト排出装置
JPH0549692U (ja) * 1991-12-07 1993-06-29 荏原インフィルコ株式会社 ホッパ等の供給装置におけるブリッジング排除装置
JPH08258980A (ja) * 1995-03-27 1996-10-08 Nippon Steel Corp ホッパ内粉粒体の搬送状況判定方法および装置
JP2005335718A (ja) * 2004-05-24 2005-12-08 Eishin:Kk 粉粒体のブリッジ又はラットホールの破壊装置

Cited By (1)

* Cited by examiner, † Cited by third party
Publication number Priority date Publication date Assignee Title
CN115325552A (zh) * 2022-07-18 2022-11-11 华能国际电力股份有限公司上安电厂 一种燃煤锅炉底灰斗自动化捅焦系统及方法

Also Published As

Publication number Publication date
JP5408958B2 (ja) 2014-02-05

Similar Documents

Publication Publication Date Title
CN102985154B (zh) 用于反向脉冲过滤器清洁的自动流动阻断系统
US10464004B2 (en) Bag filter filtration and dust collecting apparatus for preventing dust accumulation
CN103282098B (zh) 过滤设备和过滤方法
CN101351395B (zh) 用于输送材料的方法和设备以及喷射器设备
TWI676506B (zh) 粉體排出系統及廢氣處理裝置
CN102438928A (zh) 用于回收和气动输送来自过滤系统的灰尘的设备和相关方法
JP5408958B2 (ja) 燃焼灰のホッパー灰詰り解消装置及びその灰詰り解消方法
JP2010143659A (ja) 燃焼灰等のホッパー灰詰り解消装置及びその灰詰り解消方法
JP4858727B2 (ja) 排煙脱硝装置
CN104069696B (zh) 具有布袋去尘装置的布袋除尘器
CN107019974A (zh) 过滤介质清灰装置和高温气体过滤除尘系统
CN107019978A (zh) 移动颗粒层过滤器、高温气体过滤除尘系统和方法
JP4331710B2 (ja) 集塵装置及びダストの排出方法
JP6123698B2 (ja) 焼結機の排気ダクトのダスト堆積防止方法
JP4942492B2 (ja) 燃焼灰等の灰輸送管詰り防止装置
KR20190139581A (ko) 분진 포집 장치
TWI704953B (zh) 排氣淨化裝置以及使用此裝置之排氣除害裝置
JP5240906B2 (ja) ダブル・ダンパー型の連続吸引式空気輸送装置
CN205463096U (zh) 骨料、粉料清洁系统
JP3007006B2 (ja) 輸送管の異物除去装置
CN214075543U (zh) 一种布袋除尘器烟气调质装置
JP5100598B2 (ja) 燃焼灰等の吸引・収集装置
CN208893964U (zh) 一种垃圾燃烧废料处理系统
CN106621593A (zh) 设有流化板破拱装置的袋式除尘器
JP2003251289A (ja) シュート搬送物品の集塵装置

Legal Events

Date Code Title Description
A621 Written request for application examination

Free format text: JAPANESE INTERMEDIATE CODE: A621

Effective date: 20111018

RD02 Notification of acceptance of power of attorney

Free format text: JAPANESE INTERMEDIATE CODE: A7422

Effective date: 20120117

A131 Notification of reasons for refusal

Free format text: JAPANESE INTERMEDIATE CODE: A131

Effective date: 20130515

A521 Request for written amendment filed

Free format text: JAPANESE INTERMEDIATE CODE: A523

Effective date: 20130618

A131 Notification of reasons for refusal

Free format text: JAPANESE INTERMEDIATE CODE: A131

Effective date: 20130827

A521 Request for written amendment filed

Free format text: JAPANESE INTERMEDIATE CODE: A523

Effective date: 20130918

TRDD Decision of grant or rejection written
A01 Written decision to grant a patent or to grant a registration (utility model)

Free format text: JAPANESE INTERMEDIATE CODE: A01

Effective date: 20131101

A61 First payment of annual fees (during grant procedure)

Free format text: JAPANESE INTERMEDIATE CODE: A61

Effective date: 20131105

R150 Certificate of patent or registration of utility model

Ref document number: 5408958

Country of ref document: JP

Free format text: JAPANESE INTERMEDIATE CODE: R150

R250 Receipt of annual fees

Free format text: JAPANESE INTERMEDIATE CODE: R250

R250 Receipt of annual fees

Free format text: JAPANESE INTERMEDIATE CODE: R250

R250 Receipt of annual fees

Free format text: JAPANESE INTERMEDIATE CODE: R250

LAPS Cancellation because of no payment of annual fees