JP2010101029A - スクリーンの巻取収納部のカートリッジ式脱着装置 - Google Patents

スクリーンの巻取収納部のカートリッジ式脱着装置 Download PDF

Info

Publication number
JP2010101029A
JP2010101029A JP2008271531A JP2008271531A JP2010101029A JP 2010101029 A JP2010101029 A JP 2010101029A JP 2008271531 A JP2008271531 A JP 2008271531A JP 2008271531 A JP2008271531 A JP 2008271531A JP 2010101029 A JP2010101029 A JP 2010101029A
Authority
JP
Japan
Prior art keywords
frame
screen
opening
open
cartridge
Prior art date
Legal status (The legal status is an assumption and is not a legal conclusion. Google has not performed a legal analysis and makes no representation as to the accuracy of the status listed.)
Granted
Application number
JP2008271531A
Other languages
English (en)
Other versions
JP5126980B2 (ja
Inventor
Shinichi Nitta
伸一 新田
Current Assignee (The listed assignees may be inaccurate. Google has not performed a legal analysis and makes no representation or warranty as to the accuracy of the list.)
Vinyframe Industries Co Ltd
Original Assignee
Vinyframe Industries Co Ltd
Priority date (The priority date is an assumption and is not a legal conclusion. Google has not performed a legal analysis and makes no representation as to the accuracy of the date listed.)
Filing date
Publication date
Application filed by Vinyframe Industries Co Ltd filed Critical Vinyframe Industries Co Ltd
Priority to JP2008271531A priority Critical patent/JP5126980B2/ja
Publication of JP2010101029A publication Critical patent/JP2010101029A/ja
Application granted granted Critical
Publication of JP5126980B2 publication Critical patent/JP5126980B2/ja
Expired - Fee Related legal-status Critical Current
Anticipated expiration legal-status Critical

Links

Images

Landscapes

  • Operating, Guiding And Securing Of Roll- Type Closing Members (AREA)

Abstract

【課題】枠組みを崩すことなく取り外し操作をなし得るスクリーンの巻取収納部のカートリッジ式脱着装置を提供する。
【解決手段】枠組みの一の縦枠は、背面壁27と側壁29とからなる断面略L字形の開放形枠であって、その上下両端面に上下枠に対する連結盤4が固着してあり、カートリッジは、スクリーンが巻き取られる巻取筒及びその中心固定軸の間にコイルスプリングが介在している巻取装置と、その中心固定軸が連結される上下両端の支承盤5と、開放形枠の前部開放口を封じる開閉カバー8とからなり、両支承盤5に、閉じた位置を保持するための閉止手段が装備されており、また、上部支承盤には、コイルスプリングの弾力を調整する調整装置が内装され、その前面に開閉カバー8で開閉される調整装置の操作窓が設けてあり、開放形枠の側壁の前端位置に、開閉カバー8と上下支承盤とを着脱可能に連結するとともに、開閉可能に軸支する脱着軸33を設けた。
【選択図】図7

Description

この発明は、枠組みの中にネットや幕等のスクリーンを開閉可能に張るために、一の枠にそれを巻き取る収納部を設けた例えば網戸や網窓さらには幕張りフレーム等に関するものである。詳しくは、スクリーン収納枠の上端にスクリーンの張り具合を調整する装置を備えた網窓、網戸等において、そのスクリーン収納部を掃除しやすいように、開閉可能とするほかに取外しないし取替え可能としたスクリーンの巻取収納部のカートリッジ式脱着装置に関する。
網窓、網戸(以下、網窓等という)においては、上下枠と左右縦枠とによる枠組みの中にスクリーンを開閉可能に張る手段として、一方の縦枠をスクリーン収納枠として、それにスクリーンの巻取装置を内装するとともに、その上端にスクリーンの張り具合を正すスクリーン調整装置が装備される。これには例えば、本出願人に係る特許文献1に記載の網窓等を挙げることができる。
図16は、同網窓等の要部を分解して示したもので、これについて従来例を具体的に説明すると、上下枠103,104と左右縦枠とから枠組みされ、その枠組みのうちの一の縦枠がスクリーンを巻き取るスクリーン収納枠101として構成され、スクリーン104の先端には把手フレーム106が取り付けられ、それが上下枠103,103と係合している。また、スクリーン収納枠101の中にはスクリーンの巻取筒127が設けられ、それが内部のコイルスプリングによりスクリーンを巻き取る方向に付勢されている。したがって、スクリーン調整装置110は、スクリーンを閉じたときの張り具合をこのコイルスプリングの強弱として調整することになる。そして、コイルスプリングは、中心固定軸126と巻取筒127との間に介在されているので、スクリーンを張った閉じた時点を基準として、中心固定軸の回転調整により行われる。つまり、中心固定軸126をスクリーン104の張りに向かわせる正回転調整または緩みに向かわせる逆回転調整が行われる。
同図についてさらに説明すると、スクリーン収納枠101は、枠本体115と開閉カバー117とからなり、枠本体の上端には端面基板108を固着し、端面基板の下に中心固定軸126と一体に回転する中心歯車137とそれに従動する二段歯車139とを支承する内基板136を間隔をおいて一体に設け、その間隔にはスクリーンを巻き取るコイルスプリングの弾発力を強めるように回す調整摘み123と、ラチェットレバー113とが開閉カバー117の開きにより操作可能に露出するように設けてある。また、調整摘み123が二段歯車139の歯としてそれと一体に形成され、その上にドライバーの差し軸124を形成し、端面基板108にその差し軸124がドライバー操作可能に露出する軸支孔112を設けてある。
特許第3894556号公報
上記のような従来の網窓等において、スクリーン収納枠の内部を掃除するときには、枠本体のポケット119に軸支される開閉カバー117を開くことになるが、これは言わば扉開きであるために、それを大きく開いても内部へブラシ等の掃除用具が行き届きがたく、また、スクリーンの調製装置110については、その端面基盤108と内基板136との間を前面に開くだけあるから、ほとんど掃除ができなく不便であった。また、スクリーン収納枠101の上下両端は、スクリーンの調製装置の有無の違いがあっても部品を共用する同じ構造であって、端面基板には上下枠に挿入してビス止めする一対の嵌入部135,135が突設されていたので、スクリーン収納枠をその嵌入部の引き抜きで取り外すことができたが、これは枠組みを崩す不安定な状態になるので(外された枠はコ字形になることから)、特別に故障があったときの修理のとき以外にはスクリーン収納枠の取り外しはしないのが無難であった。
また、単に掃除が困難であるばかりか、環境によっては例えば飲食店の網窓等では、油とともにゴミがこびりついているので、このような場合であると、飲食店で独自に掃除をすることは不可能であった。
この発明は、上記のような実情に鑑みて、スクリーン収納部を大きく開放することができばかりでなく、巻き取ったスクリーンを調整装置とともに丸ごと取り外して掃除し、或いは新品のものと取替える操作ができ、しかも、スクリーンの収納部を枠とは別体のカートリッジとすることにより、いずれの場合にも、枠組みを崩すことなく取り外し操作をなし得るスクリーンの巻取収納部のカートリッジ式脱着装置を提供することを課題とした。
上記の課題を解決するために、この発明は、上下枠と左右縦枠とでネットが開閉される枠組みが構成され枠組みの一の縦枠は、スクリーンが巻込みにセットされるカートリッジが着脱可能に納まるように、それを囲む背面壁と側壁とからなる断面略L字形の開放形枠であって、その上下両端面に上下枠に対する連結盤が固着してあり、カートリッジは、スクリーンが巻き取られる巻取筒及びその中心固定軸の間にコイルスプリングが介在している巻取装置と、その中心固定軸が連結される上下両端の支承盤と、開放形枠の前部開放口を封じる開閉カバーとからなり、両支承盤に、閉じた位置を保持するための閉止手段が装備されており、また、上部支承盤には、コイルスプリングの弾力を調整する調整装置が内装され、その前面に開閉カバーで開閉される調整装置の操作窓が設けてあり、開放形枠の側壁の前端位置に、開閉カバーと上下支承盤とを着脱可能に連結するとともに、開閉可能に軸支する脱着軸を設けたことを特徴とするスクリーンの巻取収納部のカートリッジ式脱着装置を提供する。
上記の構成によれば、スクリーン収納枠の内部を掃除する仕方としては、次のような方法をとることができる。
(1)枠組みに張られているスクリーンをカートリッジに巻き取ってから、閉止手段を解除して上下支承盤を開閉自由にすることにより、カートリッジを全体的に開放形枠から半分開き出し(図6,図7)、或いは全体を開き出し(図9)、この状態からカートリッジを開放形枠から分離して取り外す(図3,図5)。こうすれば、カートリッジを専門店に渡して掃除することも可能である。
(2)スクリーンの巻取りの有無にかかわらず、閉止手段をロックしたまま、カートリッジの開閉カバーを開く(図8)。
(3)スクリーンを巻き取ってから、閉止手段を解除することにより、カートリッジを全体的に開放形枠から軸部を中心に開き出す(図9)。
以上説明したように、この発明によれば、網窓等の枠組みを崩すことなく、開閉カバーを単に開くだけでなく、簡単な操作によりスクリーンの巻取装置を丸裸同然に引き出すことができるため、巻取装置ばかりでなく、枠本体や開閉カバーに至るまで隅々に刷毛を及ぼすことができる。特に、スクリーンを始めとする主要部分をカートリッジとして取り外し、それを専門店できれいに処理でき、また、新品と取り替えることができ、取り外し中においても開放形枠により四角の枠組みが好都合に堅持されるという優れた効果がある。
加えて、請求項2によれば、開閉カバーの引き出しおよび取り外しが容易であるにも係わらず、使用中におけるカートリッジの納まりが安定して保持され、請求項3によれば、カートリッジが安定して取り付けられるとともに、取り外しも容易となる。
次に、この発明の実施形態を図面に基づいて説明する。
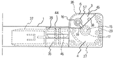
図1ないし図16は、網窓に実施した一形態を示したもので、その網窓は、上下枠1,1と、左右縦枠の一方の縦枠2と、他方の縦枠としての開放形枠3とから矩形に枠組みされ、枠組みのために開放形枠3の上下両端には上下枠1,1に対して特殊な連結盤4,4が用いられる。開放形枠3は、他の枠と同じく略断面L字形の押出形材からなる単独フレームであって、その中には、両連結盤4,4の間においてスクリーン7の巻取り収納部としてのカートリッジ12が着脱可能に組み込まれている。このカートリッジ12は、スクリーン7の巻取装置9と、その上下両端の支承盤5,6と、開放形枠3の前面を封じる開閉カバー8とからなる。
図1、図2,図4,図10および図11は、網窓の使用状態であって、カートリッジ12が開放形枠3の中に納まっており、開閉カバー8が閉じられている。しかし、掃除または取替えをなすときに、図3および図5に示すように、枠組みを保持したまま(開放形枠3がそのままで)カートリッジ12を取り外すことができる。図6,図7が取り外し操作の中途の状態を示す。
開放形枠3は、枠組みの背面壁27と側面壁29とからなるL字形であって、背面壁27の左右両端部に連結盤4,4をビス4c,4cで止めるビスポケット31,31が形成され、開放形枠3と上下枠1,1とは常時一体化されている。側面壁29の前端に開閉カバー8を軸支するビスポケット状の主軸33aが形成されるが、主軸33aの上下両端が欠除され、その切欠20,20には両連結盤4,4から副軸33b,33bが突設され、その先端が主軸33aの両端に突入している。この場合、副軸33b,33bは支承盤5,6を開放形枠3にビス止めする代わりとしても形成されている。このように、脱着軸33は、主軸33aと上下副軸33b,33bとからなる。しかし、脱着軸33の構成はこれに限定されるものではない。
開閉カバー8は、略L字形の湾曲形状であって、カートリッジ12を着脱する中心的存在で、一端に主軸33aに弾力的に着脱可能なビスポケット状の軸受24が形成される。その上下両端は上下支承盤5,6と衝突しないように切り欠かれているが、そこでは、上下支承盤5,6に副軸33b,33bと係合する凹欠状の軸受24が設けられる。そこで、開閉カバー8と両支承盤5,6とは、一緒でも単独行動でも開閉する。
上下の連結盤4,4は、上下対称形状であって、上下枠1,1に対して開放形枠3が距離を隔てて連結されるようその距離の寸法の間隔保持部35を介して、上下枠1,1に嵌入する嵌入部37が突設される。連結盤4は、開放形枠3の上端を不完全に封じており、前端部に切欠部38を有する。また、間隔保持部35の前端部にその前面の欠除部39を有し、欠除部39にネジ46の螺入孔49が設けられる。
カートリッジ12を構成する巻取装置9は、前記特許文献1に記載されたものと同様であって(図1)(従来例を示す図17を参照)、巻取筒19と、中央軸13に連結される中心固定軸21と、巻取筒19と中心固定軸21との間に介在されるコイルスプリング23と、巻取筒19と一体回転する中心回転軸15とからなっている。
上下支承盤5,6は、開口形(不完全箱形)の基盤41とその口を封じる対面板43との組み合わせからなる中空形であって、上部の支承盤5では内部に調整装置10が内装される。また、両支承盤5,6には、基盤41に開閉ハンドル44が突設されている。基盤41の上面には前記切欠部38を埋めるよう段差で盛り上がる補完凸面部45が形成される。また、開閉ハンドル44は、前記欠除部39を埋める補完形状に形成され、間隔保持部35に止めるネジ46の通し孔47が設けており、ネジ46は、間隔保持部35螺入孔49に螺入される。こうして、止めネジ46により開閉ハンドル44の閉じた状態(図1,図2,図4,図10,図11参照)、つまりカートリッジ12の仕舞われた状態が保持される。
上下支承盤5,6は、上記のように中空状であって、連結盤4,4から突出する副軸33b,33bに係合する軸受34,34が基盤41,41に切欠状に開口して設けられ、副軸33b,33bを中心に開閉するとともに、外れ得るようになっている。また、上部支承盤5の中心には、巻取装置9の中心固定軸11と連結される調整装置10の中央軸13が突設される。一方、下部支承盤6には巻取装置9の中心回転軸15が回転可能に軸受けされる中央軸承子17が突設される。この中央軸承子17は、双子ブロック16の一部としてプラスチックにより成形される。
調整装置10は、スクリーン7の先端の把手フレーム25を縦枠2に磁石で吸着して閉じた状態において、前記中央軸13を介し中心固定軸21を回してコイルスプリング23の効きを強弱するようになっている。これも特許文献1におけると同じであって(図17参照)、具体的には、中央軸13と一体の中心歯車26と、それと噛み合う二段歯車28と、中心歯車26を止めるラチェットレバー30と、ラチェットレバー30を閉止する方向に付勢するピンばね32等から構成される。
さらに、上下支承盤5,6については、基盤41と対面板43,43にそれぞれ中央孔51が開けられている。また、基盤41と対面板43とに脇孔53a,53bが開けられている。そのうち基盤41の脇孔53aは、切欠部38で露出する前記補完凸面部45において設けられる。したがって、以上述べたように、上下連結盤4,4および上下支承盤5,6は上下対称の同じ形状であって、同一部品であるために左右勝手違いに(スクリーン開放形枠3を左右いずれにする場合にも)対応できるものである。
しかしながら、上部支承盤5では、スクリーン7の調整装置10が内装されているため、その一部としての中心歯車26の中央軸13が中央孔51から突出しており、前記脇孔53a,53bには二段歯車28の脇軸55a,55bが突出している。これに対して、下部支承盤6では、中央孔51から中央軸承子17が突設され、脇孔53a,53bには脇子57が嵌められているが、中央軸承子17と脇子57とは連結部59を介してプラスチックで一体成形される。つまり、前記した双子ブロック16が下部支承盤6に内装されている。したがって、下部支承盤6の内部において中央軸承子17が安定して保持される。
こうして、スクリーン7の巻取装置9が上下支承盤5,6の間に軸支されその双方と一体的に組み込まれているので、常時においては、図1,図2 図4,図10,図11に示すように、上下支承盤5,6は仕舞われて開閉ハンドル44,44が止めネジ46で止められており、また、開閉カバー3bが閉じられている。そして、簡単な掃除は内部点検の場合には、開閉カバー3bだけが開かれる(図8参照)。
しかし、これだけでは十分に掃除や点検ができないときには、上下支承盤5,6とともに巻取装置9が引き出される(図9参照)。この場合、同図の如く上下支承盤5,6と共に開閉カバー3bが開かれる場合と、上下支承盤5,6を中途まで引き出して、開閉カバー3bを全開に(図7の二点鎖線参照)することもできる。後者の場合が巻取装置9が一層裸同然となる。
なお、開閉ハンドル44の閉止手段については、止めネジ46による必要はないことはもちろん、上記実施形態に限定されることなく様々な構造になり得る。
この発明に係る一実施形態を示す網窓の一部切欠した正面図である。 同網窓についてカートリッジにスクリーンを巻き取って開いた状態を示す正面図である。 同網窓について図2の状態からカートリッジを取り外した状態を示す正面図である。 同網窓について枠組みの一部を示す斜視図である。 同網窓についてカートリッジを取り外した状態を示す斜視図である。 同実施形態においてカートリッジを取り外す前段階を示す斜視図である。 同前段階における一部平面図である。 同網窓の枠組みについて開閉カバーだけが開かれた状態を示す一部断面した斜視図である。 同網窓の枠組みについて開閉カバーと上下支承盤(その間の巻取装置)を同時に引き出した(カートリッジを取り外すやり方の他の前段階の)状態を示す一部断面した斜視図である。 同網窓の一部平面図である。 同網窓の一部底面図である。 この発明に係る二段歯車の縦断面図である。 この発明に係る双子ブロックの平面図である。 この発明に係る連結盤の斜視図である。 この発明に係る基盤の平面図である。 この発明に係る対面板の平面図である。 従来例を示す網窓等の一部分解した斜視図である。
符号の説明
1 上下枠
2 縦枠
3 開放形枠
8 開閉カバー
4 連結盤
5,6 支承盤
7 スクリーン
9 スクリーンの巻取装置
10 スクリーンの調整装置
12 カートリッジ
13 中央軸
15 中心回転軸
16 双子ブロック
17 中央軸承子
19 巻取筒
20 切欠
21 中心固定軸
23 コイルスプリング
24 軸受
26 中心歯車
27 背面壁
28 二段歯車
29 側面壁
30 ラチェットレバー
33 脱着軸33
33a 脱着軸の主軸
33b 脱着軸の副軸
34 軸受
35 間隔保持部
37 嵌入部
38 切欠部
39 欠除部39
41 基盤
43 対面板
44 開閉ハンドル
45 補完凸面部
46 止めネジ
48 操作窓
51 中央孔
53a,53b 脇孔
55a,55b 脇軸

Claims (3)

  1. 上下枠と左右縦枠とでネットが開閉される枠組みが構成され枠組みの一の縦枠は、スクリーンが巻込みにセットされるカートリッジが着脱可能に納まるように、それを囲む背面壁と側壁とからなる断面略L字形の開放形枠であって、その上下両端面に上下枠に対する連結盤が固着してあり、カートリッジは、スクリーンが巻き取られる巻取筒及びその中心固定軸の間にコイルスプリングが介在している巻取装置と、その中心固定軸が連結される上下両端の支承盤と、開放形枠の前部開放口を封じる開閉カバーとからなり、両支承盤に、閉じた位置を保持するための閉止手段が装備されており、また、上部支承盤には、コイルスプリングの弾力を調整する調整装置が内装され、その前面に開閉カバーで開閉される調整装置の操作窓が設けてあり、開放形枠の側壁の前端位置に、開閉カバーと上下支承盤とを着脱可能に連結するとともに、開閉可能に軸支する脱着軸を設けたことを特徴とするスクリーンの巻取収納部のカートリッジ式脱着装置。
  2. 上下支承盤についての前記閉止手段について、ネット収納枠を構成する枠本体の上下両端に固着される連結盤は、上下枠に挿入する嵌入部が間隔保持部を介して突設され、上下支承盤には、間隔保持部にビス止めする開閉ハンドルを突設してあることを特徴とする請求項1記載のスクリーンの巻取収納部のカートリッジ式脱着装置。
  3. 開放形枠の前端位置の前記脱着軸に対する開閉カバーとその上下両端の支承盤との着脱可能な取付けおよび軸支構造は、その脱着軸が主軸と上下副軸とからなり、開放形枠の端にビスポケット形に主軸を一体に形成し、その上下両端にその軸が欠除され、上下連結盤にはそのポケット形の中に突入する副軸を突設し、開閉カバーの端に主軸に弾性変形で着脱可能に嵌まるビスポケット形の軸受を、上下支承盤には副軸に脱着可能に嵌まる切欠形の軸受をそれぞれ形成してあることを特徴とする請求項1または2記載のスクリーンの巻取収納部のカートリッジ式脱着装置。


JP2008271531A 2008-10-22 2008-10-22 スクリーンの巻取収納部のカートリッジ式脱着装置 Expired - Fee Related JP5126980B2 (ja)

Priority Applications (1)

Application Number Priority Date Filing Date Title
JP2008271531A JP5126980B2 (ja) 2008-10-22 2008-10-22 スクリーンの巻取収納部のカートリッジ式脱着装置

Applications Claiming Priority (1)

Application Number Priority Date Filing Date Title
JP2008271531A JP5126980B2 (ja) 2008-10-22 2008-10-22 スクリーンの巻取収納部のカートリッジ式脱着装置

Publications (2)

Publication Number Publication Date
JP2010101029A true JP2010101029A (ja) 2010-05-06
JP5126980B2 JP5126980B2 (ja) 2013-01-23

Family

ID=42291901

Family Applications (1)

Application Number Title Priority Date Filing Date
JP2008271531A Expired - Fee Related JP5126980B2 (ja) 2008-10-22 2008-10-22 スクリーンの巻取収納部のカートリッジ式脱着装置

Country Status (1)

Country Link
JP (1) JP5126980B2 (ja)

Cited By (3)

* Cited by examiner, † Cited by third party
Publication number Priority date Publication date Assignee Title
KR20180001066U (ko) * 2016-10-10 2018-04-18 정지성 롤스크린을 구비한 방충문
KR20180114378A (ko) * 2017-04-10 2018-10-18 (주)엘지하우시스 미세먼지 필터망의 교체가 용이한 방충망 조립체
KR20220145958A (ko) * 2021-04-20 2022-11-01 허기복 음극재 및 양극재 소성로의 히터 커버 탈착장치

Citations (3)

* Cited by examiner, † Cited by third party
Publication number Priority date Publication date Assignee Title
JP2006177131A (ja) * 2004-12-22 2006-07-06 Osaka Shoene Center Kk カセット式電動スクリ−ンユニット
JP2007284945A (ja) * 2006-04-14 2007-11-01 Vinyframe Industries Co Ltd 窓枠における網戸の取付装置
JP2007332677A (ja) * 2006-06-15 2007-12-27 Seiki Hanbai Co Ltd 巻取り式スクリーン装置及び該装置におけるスクリーンの交換方法

Patent Citations (3)

* Cited by examiner, † Cited by third party
Publication number Priority date Publication date Assignee Title
JP2006177131A (ja) * 2004-12-22 2006-07-06 Osaka Shoene Center Kk カセット式電動スクリ−ンユニット
JP2007284945A (ja) * 2006-04-14 2007-11-01 Vinyframe Industries Co Ltd 窓枠における網戸の取付装置
JP2007332677A (ja) * 2006-06-15 2007-12-27 Seiki Hanbai Co Ltd 巻取り式スクリーン装置及び該装置におけるスクリーンの交換方法

Cited By (6)

* Cited by examiner, † Cited by third party
Publication number Priority date Publication date Assignee Title
KR20180001066U (ko) * 2016-10-10 2018-04-18 정지성 롤스크린을 구비한 방충문
KR200487195Y1 (ko) * 2016-10-10 2018-09-20 정지성 롤스크린을 구비한 방충문
KR20180114378A (ko) * 2017-04-10 2018-10-18 (주)엘지하우시스 미세먼지 필터망의 교체가 용이한 방충망 조립체
KR102112220B1 (ko) * 2017-04-10 2020-06-04 (주)엘지하우시스 미세먼지 필터망의 교체가 용이한 방충망 조립체
KR20220145958A (ko) * 2021-04-20 2022-11-01 허기복 음극재 및 양극재 소성로의 히터 커버 탈착장치
KR102502698B1 (ko) * 2021-04-20 2023-02-24 허기복 음극재 및 양극재 소성로의 히터 커버 탈착장치

Also Published As

Publication number Publication date
JP5126980B2 (ja) 2013-01-23

Similar Documents

Publication Publication Date Title
KR100445803B1 (ko) 업라이트형 진공청소기의 배기구조
JP5126980B2 (ja) スクリーンの巻取収納部のカートリッジ式脱着装置
US20180371795A1 (en) Electric lock device for opening and closing body
BRPI0902778A2 (pt) linha de giz
JP5719195B2 (ja) スクリーン装置
JP5016372B2 (ja) スクリーン装置
JP2008231690A (ja) 窓開閉装置及び窓
JP5593268B2 (ja) 横引き式スクリーン装置における固定框の取付機構
JP5580228B2 (ja) 建物開口部用スクリーン装置
JP2008150941A (ja) 枠組体におけるスクリーンの収納枠の脱着装置
JPH0672360U (ja) 観賞魚用水槽における照明装置
JP4836775B2 (ja) 巻取り式スクリーン装置及び該装置におけるスクリーンの交換方法
JP2004156331A (ja) サイドロック装置
JP5354732B2 (ja) 電気機器収納用箱体の蝶番
TWI417448B (zh) 鎖裝置及拉門框
JP3609716B2 (ja) 巻取式網戸
JP2011231463A (ja) サッシにおける開閉巻網戸
CN213683824U (zh) 一种便于安装使用的百叶窗
CN110344723A (zh) 一种高效门窗安装结构
JP4155907B2 (ja) サッシ枠に対するスクリーン付設機構
JP2017089174A (ja) 建具
JP4900643B2 (ja) オーブントースター
JP2008182503A (ja) テレビジョン受像機のtv画面のクリーニング構造
JP4926575B2 (ja) スクリーン装置
JP2522196Y2 (ja) 採光窓装置

Legal Events

Date Code Title Description
A621 Written request for application examination

Free format text: JAPANESE INTERMEDIATE CODE: A621

Effective date: 20110930

A977 Report on retrieval

Free format text: JAPANESE INTERMEDIATE CODE: A971007

Effective date: 20120802

A131 Notification of reasons for refusal

Free format text: JAPANESE INTERMEDIATE CODE: A131

Effective date: 20120911

A521 Request for written amendment filed

Free format text: JAPANESE INTERMEDIATE CODE: A523

Effective date: 20120914

TRDD Decision of grant or rejection written
A01 Written decision to grant a patent or to grant a registration (utility model)

Free format text: JAPANESE INTERMEDIATE CODE: A01

Effective date: 20121024

A01 Written decision to grant a patent or to grant a registration (utility model)

Free format text: JAPANESE INTERMEDIATE CODE: A01

A61 First payment of annual fees (during grant procedure)

Free format text: JAPANESE INTERMEDIATE CODE: A61

Effective date: 20121026

R150 Certificate of patent or registration of utility model

Free format text: JAPANESE INTERMEDIATE CODE: R150

Ref document number: 5126980

Country of ref document: JP

Free format text: JAPANESE INTERMEDIATE CODE: R150

FPAY Renewal fee payment (event date is renewal date of database)

Free format text: PAYMENT UNTIL: 20151109

Year of fee payment: 3

R250 Receipt of annual fees

Free format text: JAPANESE INTERMEDIATE CODE: R250

R250 Receipt of annual fees

Free format text: JAPANESE INTERMEDIATE CODE: R250

R250 Receipt of annual fees

Free format text: JAPANESE INTERMEDIATE CODE: R250

R250 Receipt of annual fees

Free format text: JAPANESE INTERMEDIATE CODE: R250

R250 Receipt of annual fees

Free format text: JAPANESE INTERMEDIATE CODE: R250

R250 Receipt of annual fees

Free format text: JAPANESE INTERMEDIATE CODE: R250

LAPS Cancellation because of no payment of annual fees