JP2010100955A - ヘルメットおよびその脱着方法 - Google Patents

ヘルメットおよびその脱着方法 Download PDF

Info

Publication number
JP2010100955A
JP2010100955A JP2008271980A JP2008271980A JP2010100955A JP 2010100955 A JP2010100955 A JP 2010100955A JP 2008271980 A JP2008271980 A JP 2008271980A JP 2008271980 A JP2008271980 A JP 2008271980A JP 2010100955 A JP2010100955 A JP 2010100955A
Authority
JP
Japan
Prior art keywords
block
shaped
hook
interior pad
cap
Prior art date
Legal status (The legal status is an assumption and is not a legal conclusion. Google has not performed a legal analysis and makes no representation as to the accuracy of the status listed.)
Granted
Application number
JP2008271980A
Other languages
English (en)
Other versions
JP5159556B2 (ja
Inventor
Yoshiyuki Ikeda
佳行 池田
Current Assignee (The listed assignees may be inaccurate. Google has not performed a legal analysis and makes no representation or warranty as to the accuracy of the list.)
Shoei Co Ltd
Original Assignee
Shoei Co Ltd
Priority date (The priority date is an assumption and is not a legal conclusion. Google has not performed a legal analysis and makes no representation as to the accuracy of the date listed.)
Filing date
Publication date
Application filed by Shoei Co Ltd filed Critical Shoei Co Ltd
Priority to JP2008271980A priority Critical patent/JP5159556B2/ja
Priority to US12/491,564 priority patent/US8239970B2/en
Priority to EP09008785A priority patent/EP2179669B1/en
Publication of JP2010100955A publication Critical patent/JP2010100955A/ja
Application granted granted Critical
Publication of JP5159556B2 publication Critical patent/JP5159556B2/ja
Active legal-status Critical Current
Anticipated expiration legal-status Critical

Links

Images

Classifications

    • AHUMAN NECESSITIES
    • A42HEADWEAR
    • A42BHATS; HEAD COVERINGS
    • A42B3/00Helmets; Helmet covers ; Other protective head coverings
    • A42B3/32Collapsible helmets; Helmets made of separable parts ; Helmets with movable parts, e.g. adjustable
    • A42B3/328Collapsible helmets; Helmets made of separable parts ; Helmets with movable parts, e.g. adjustable with means to facilitate removal, e.g. after an accident
    • AHUMAN NECESSITIES
    • A42HEADWEAR
    • A42BHATS; HEAD COVERINGS
    • A42B3/00Helmets; Helmet covers ; Other protective head coverings
    • A42B3/04Parts, details or accessories of helmets
    • A42B3/10Linings
    • A42B3/12Cushioning devices
    • A42B3/125Cushioning devices with a padded structure, e.g. foam
    • A42B3/127Cushioning devices with a padded structure, e.g. foam with removable or adjustable pads
    • YGENERAL TAGGING OF NEW TECHNOLOGICAL DEVELOPMENTS; GENERAL TAGGING OF CROSS-SECTIONAL TECHNOLOGIES SPANNING OVER SEVERAL SECTIONS OF THE IPC; TECHNICAL SUBJECTS COVERED BY FORMER USPC CROSS-REFERENCE ART COLLECTIONS [XRACs] AND DIGESTS
    • Y10TECHNICAL SUBJECTS COVERED BY FORMER USPC
    • Y10TTECHNICAL SUBJECTS COVERED BY FORMER US CLASSIFICATION
    • Y10T24/00Buckles, buttons, clasps, etc.
    • Y10T24/36Button with fastener
    • Y10T24/3683Button with cavity for friction grip fastener
    • YGENERAL TAGGING OF NEW TECHNOLOGICAL DEVELOPMENTS; GENERAL TAGGING OF CROSS-SECTIONAL TECHNOLOGIES SPANNING OVER SEVERAL SECTIONS OF THE IPC; TECHNICAL SUBJECTS COVERED BY FORMER USPC CROSS-REFERENCE ART COLLECTIONS [XRACs] AND DIGESTS
    • Y10TECHNICAL SUBJECTS COVERED BY FORMER USPC
    • Y10TTECHNICAL SUBJECTS COVERED BY FORMER US CLASSIFICATION
    • Y10T24/00Buckles, buttons, clasps, etc.
    • Y10T24/36Button with fastener
    • Y10T24/3685Button with shank for friction grip fastener

Landscapes

  • Helmets And Other Head Coverings (AREA)

Abstract

【課題】ヘルメット装着者の頭部に装着されているヘルメットの脱着を、比較的小さな力で行うことができるとともに、比較的簡単な構成でもって、この脱着の操作を簡単かつ確実に行うことができるヘルメットを提供する。
【解決手段】ブロック状内装パッド38bをキャップ状頭部保護体側に取り付けるための凹凸嵌合機構が、内装パッド38b側の雄型ホック56a〜56cまたは雌型ホック92a〜92cと、上記頭部保護体側の雌型ホック92a〜92cまたは雄型ホック56a〜56cとから構成されている。内装パッド38bを上記頭部保護体の内部から外部に向けて少なくとも部分的に引っ張り出す操作を行ったときに、凹凸嵌合解除用の傾斜面部76bが一方のホック56a〜56cを他方のホック92a〜92cから相対的に浮き上がらせることによって、雄型ホック56a〜56cが雌型ホック92a〜92cから相対的に離脱する。
【選択図】図7

Description

本発明は、オートバイのライダなどが頭部の保護などのためにその頭部に装着するキャップ状の頭部保護体を備え、この頭部保護体の内部に1個または複数個のブロック状内装パッドが配されたヘルメットに関するものである。また、本発明は、このようなヘルメットを上記頭部から簡単に脱着する方法にも関するものである。
オートバイのライダなどのヘルメット装着者の頭部に装着されるフルフェイス型のキャップ状頭部保護体と、ヘルメット装着者の額部と顎部との間に対向するように頭部保護体の前面に形成した窓孔を開閉し得るシールド板と、頭部保護体に取り付けた顎掛け用バンドとから構成されたフルフェイス型ヘルメットが、従来から知られている。このようなフルフェイス型ヘルメットによれば、ヘルメット装着者の頭部のほぼ全体をキャップ状の頭部保護体によって十分に保護することができる。
しかし、上述のように構成された従来のフルフェイス型ヘルメットは、キャップ状頭部保護体も当然のことながらフルフェイス型となるから、ヘルメット装着者の頭部に対する装着操作および脱着操作が容易ではない。特に、近年のフルフェイス型ヘルメットは、運転走行時の安定性や装着感を向上させるために、頭部保護体の下端部分が絞り込まれ、また、頬部用などのブロック状内装パッドによる頭部や顔面への密着度が高められている。このために、オートバイのライダなどのヘルメット装着者がオートバイ事故などの交通事故を起こしたときに、この交通事故の介護者がヘルメット装着者の頭部からフルフェイス型のキャップ状頭部保護体を取り外すのに大きな力が必要であるから、1人の介護者だけでは、ヘルメットの着脱操作がかなり面倒である。
この点を図16を参照して説明すると、図16は、フルフェイス型ヘルメット1を脱着するのに必要な力を測定する実験を示している。そして、ヘルメット装着者2の頭部に装着された従来のフルフェイス型ヘルメット1のフルフェイス型キャップ状頭部保護体3の頂壁部には、輪付きボルト4が取り付けられている。また、この輪付きボルト4には、ばねばかり5の下端が連結されている。
この図16に示す状態(顎掛け用バンドは図示されていないが、ヘルメット装着者2の顎部から取り外されている。)において、ばねばかり5の上端を上方に引き上げたところ、左右一対の頬部用ブロック状内装パッドを頭部保護体3の内部に取り付けたままであれば、16kgの張力が頭部保護体3の頂壁部に加わるまで、ヘルメット1を脱着させることはできなかった。これに対し、左右一対の頬部用ブロック状内装パッドを頭部保護体3の内部からそれぞれ取り外しておいたところ、2.5kgの張力が頭部保護体3の頂壁部に加わるだけで、ヘルメット1を脱着させることができた。
したがって、この図16に示す実験によって、フルフェイス型ヘルメット1の脱着操作に通常は大きな力が必要であることと、頭部保護体3の内部から頬部用ブロック状内装パッドを取り外しておけば、フルフェイス型ヘルメット1の脱着操作にそれほど大きな力が必要ではないこととが、判明した。
そこで、本出願人は、図16に示す実験によって判明した結果に基づいて、特許文献1に開示されている発明を先に提案した。この特許文献1に開示されている発明は、冒頭に述べたようなヘルメットをオートバイのライダなどが装着している状態において、左頬部用ブロック状内装パッドおよび右頬部用ブロック状内装パッドをキャップ状の頭部保護体の内部から少なくとも部分的にそれぞれ引っ張り出すために、これらのブロック状内装パッドの外側面にその引っ張り手段が露出している左右一対のパッド引っ張り出し部材を、左頬部用および右頬部用のブロック状内装パッドにそれぞれ取り付けたものである。なお、特許文献1のヘルメットにおいては、少なくとも1個のブロック状内装パッドが、複数個の凹凸嵌合機構によって、頭部保護体に取り付けられている。そして、複数個の凹凸嵌合機構が、少なくとも1個のブロック状内装パッド側に配された雄型ホックと、この雄型ホックと凹凸嵌合し得るように、頭部保護体側に配された雌型ホックとを備えている。また、パッド引っ張り出し部材が、雄型ホックと雄型ホックが凹凸嵌合している雌型ホックとの間に割り込むことができる割り込み部と、上記引っ張り手段とをそれぞれ有している。さらに、上記引っ張り手段を引っ張ることによって、割り込み部が、雄型ホックと雌型ホックとの間に割り込んで両者の凹凸嵌合を解除するとともに、雄型ホックを引っ掛けて上記頭部保護体の外部に向けて少なくとも途中まで引っ張り出して、少なくとも1個のブロック状内装パッドを頭部保護体の内部から少なくとも部分的に取り出すようにしている。
特開2007−303007号公報
しかし、特許文献1のヘルメットの場合には、比較的大きなパッド引っ張り出し部材の割り込み部を顎・頬部用衝撃吸収ライナと頬部用ブロック状内装パッドとの間に介装する必要がある。このために、この介装操作が面倒であり、また、割り込み部が雄型ホックと雌型ホックとの間に確実に割り込むことができるようにこの介装が正確に行われなければ、ブロック状内装パッドを頭部保護体の内部から簡単かつ確実に取り出すことができない。
特開2007−303007号公報
本発明は、特許文献1のヘルメットの上述のような欠点を解消するために発明されたものであって、ヘルメット装着者の頭部に装着されているヘルメットの脱着を、比較的簡単な構成でもって、簡単かつ確実に行うことができるヘルメットおよびその脱着方法を提供することを目的としている。
特開2007−303007号公報
本発明は、その第1の観点によれば、1個または複数個のブロック状内装パッドがその内部に配されたキャップ状頭部保護体を備えたヘルメットにおいて、少なくとも1個の上記ブロック状内装パッドが、1個または複数個の凹凸嵌合機構によって、上記キャップ状頭部保護体に取り付けられ、少なくとも1個の上記凹凸嵌合機構が、上記少なくとも1個のブロック状内装パッド側に配された雄型ホックおよび雌型ホックのうちの一方のホックと、上記一方のホックと凹凸嵌合し得るように上記キャップ状頭部保護体側に配された他方のホックとを備え、上記少なくとも1個のブロック状内装パッドを上記キャップ状頭部保護体の内部から引っ張り出そうとする力が上記少なくとも1個のブロック状内装パッドに加わったときに上記一方のホックを上記他方のホックから相対的に浮き上がらせるために、上記少なくとも1個のブロック状内装パッド側のうちの上記一方のホックの近傍および/または上記キャップ状頭部保護体側のうちの上記他方のホックの近傍に配設された凹凸嵌合解除用の傾斜面部をさらに備え、上記少なくとも1個のブロック状内装パッドを上記キャップ状頭部保護体の内部から外部に向けて少なくとも部分的に引っ張り出す操作を行うことによって、上記一方のホックが上記他方のホックから相対的に離脱することにより両者の結合を解除させて、上記少なくとも1個のブロック状内装パッドが上記キャップ状頭部保護体の内部から少なくとも部分的に取り出されるように構成したことを特徴とするヘルメットに係るものである。
本発明の上記第1の観点においては、上記少なくとも1個のブロック状内装パッドが左頬部用ブロック状内装パッドおよび/または右頬部用ブロック状内装パッドであるのが好ましい。また、上記少なくとも1個のブロック状内装パッドを上記キャップ状頭部保護体の内部から外部に向けて少なくとも部分的に引っ張り出すためのパッド引っ張り出し部材が上記少なくとも1個のブロック状内装パッドに設けられているのが好ましい。さらに、上記凹凸嵌合機構が複数個であり、上記少なくとも1個のブロック状内装パッドを上記キャップ状頭部保護体の内部から外部に少なくとも部分的に引っ張り出す動作を行うことによって、上記複数個の凹凸嵌合機構のうちの1個から成る第1の凹凸嵌合機構が上記ブロック状内装パッドを上記キャップ状頭部保護体に対して往回動させる回動支点になることができるように構成するのが好ましい。この場合、上記ブロック状内装パッドが上記第1の凹凸嵌合機構を支点として上記往回動を行ってからさらに上記少なくとも1個のブロック状内装パッドを上記キャップ状頭部保護体の内部から外部に向けて引っ張り出す動作を行うことによって、上記第1の凹凸嵌合機構が上記凹凸嵌合解除用の傾斜面部によって凹凸嵌合を解除されるように構成するのが好ましい。
また、本発明の上記第1の観点においては、上記少なくとも1個のブロック状内装パッドが、少なくとも1個の厚板形状のクッション部材と、上記クッション部材を袋状に覆っている袋状部材とを備え、上記袋状部材が、上記クッション部材を出し入れできる開口部をその一方の面に有する袋本体と、薄板形状の弾性材料から成りかつ上記開口部を少なくとも部分的に覆っている複数枚の保持部材とを備え、上記複数枚の保持部材のそれぞれの外周部分の一部分が、上記開口部の外周部分の一部分において、上記袋本体にそれぞれ取り付けられ、上記複数枚の保持部材が、少なくとも1個の凹凸係合機構によって、互いに着脱可能に係合され、上記少なくとも1個の凹凸係合機構が、上記複数枚の保持部材のうちの少なくとも1枚の保持部材に設けられた上記一方のホックと、上記一方のホックが着脱可能に係合するように、上記複数枚の保持部材のうちの別の少なくとも1枚の保持部材に設けられた係合穴とを備えているのが好ましい。
また、本発明は、その第2の観点によれば、1個または複数個のブロック状内装パッドがその内部に配されたキャップ状頭部保護体を備えたヘルメットを、ヘルメット装着者の頭部から脱着する方法において、少なくとも1個の上記ブロック状内装パッドを、1個または複数個の凹凸結合機構によって、上記頭部保護体に予め取り付け、この取り付けの際に、少なくとも1個の上記凹凸結合機構として、上記少なくとも1個のブロック状内装パッド側に配された雄型ホックおよび雌型ホックのうちの一方のホックと、上記一方のホックと凹凸係合し得るように上記キャップ状頭部保護体側に配された他方のホックとを備えている凹凸結合機構を用い、上記少なくとも1個のブロック状内装パッドを上記キャップ状頭部保護体の内部から引っ張り出そうとする力が上記少なくとも1個のブロック状内装パッドに加わったときに上記一方のホックを上記他方のホックから相対的に浮き上がらせることができる凹凸嵌合解除用の傾斜面部を上記少なくとも1個のブロック状内装パッド側のうちの上記一方のホックの近傍および/または上記キャップ状頭部保護体側のうちの上記他方のホックの近傍に予め配設し、ヘルメット装着者の頭部に装着されているヘルメットを脱着する際には、まず、少なくとも1個の上記ブロック状内装パッドを上記キャップ状頭部保護体の内部から外部に向けて引っ張り出す操作を行うことによって、上記一方のホックが上記他方のホックから相対的に離脱することにより両者の結合を解除させて、上記少なくとも1個のブロック状内装パッドを上記キャップ状頭部保護体の内部から外部に少なくとも部分的に引っ張り出し、ついで、上記キャップ状頭部保護体をヘルメット装着者の頭部から取り外すようにしたことを特徴とするヘルメットの脱着方法に係るものである。
請求項1および7に係る発明によれば、ヘルメット装着者の頭部から脱着させにくいヘルメットであっても、ブロック状内装パッドをキャップ状頭部保護体の内部から外部に少なくとも部分的に引っ張り出す操作を行うことによって、少なくとも1個のブロック状内装パッドをキャップ状頭部保護体の内部から少なくとも部分的に取り出すことができる。したがって、頭部保護体を上記頭部から比較的小さな力で取り外すことができるとともに、比較的簡単な構成でもって、ヘルメットの脱着のための操作を簡単かつ確実に行うことができる。
また、請求項2および3に係る発明によれば、ブロック状内装パッドをキャップ状頭部保護体の内部から少なくとも部分的に取り出す操作を、さらに簡単に行うことができる。
また、請求項4に係る発明によれば、少なくとも1個のブロック状内装パッドをキャップ状頭部保護体の内部から外部に向けて少なくとも部分的に引っ張り出す操作を行う際に、少なくとも最初の時点では、複数個全部の凹凸嵌合機構の凹凸嵌合までは解除させる必要がないから、少なくとも1個のブロック状内装パッドをキャップ状頭部保護体の内部から外部に向けて引っ張ったときに、凹凸嵌合機構の凹凸嵌合の解除動作、ひいては、少なくとも1個のブロック状内装パッドの引っ張り出し動作を簡単かつ確実に行わせることができる。
また、請求項5に係る発明によれば、凹凸嵌合が最初の時点ではまだ解除されていない残り1個の第1の凹凸嵌合機構の凹凸嵌合も解除することができるから、少なくとも1個のブロック状内装パッド全体をキャップ状頭部保護体の内部から外部に簡単かつ確実に取り出すことが可能である。
さらに、請求項6に係る発明によれば、ブロック状内装パッドの構造が比較的簡単で強度が比較的大きく、しかも、クッション部材をブロック状内装パッドの袋状部材内から取り出したり袋状部材内に取り入れたりするのが容易である。したがって、袋状部材内から取り出したクッション部材と実質的に同一の形状または異なる形状のクッション部材に交換して袋状部材内に取り入れることによって、古いクッション部材を新しいクッション部材に代えたり、頭部保護体の内部空間の大きさや形状を変えたりする操作が容易である。しかも、頭部保護体側へのブロック状内装パッドの取り付けを確実にかつ正確に行うことができるとともに、この取り付け構造を簡素化することができる。
つぎに、本発明をフルフェイス型ヘルメットに適用した一実施例を、「1、ヘルメット全体の概略的構成」、「2、頬部用ブロック状内装パッドの構成」、「3、パッド引っ張り出し部材の構成」、「4、顎・頬部用衝撃吸収ライナの取り付け部の構成」および「5、ヘルメットの脱着操作」に項分けして、図面を参照しつつ説明する。
1、ヘルメット全体の概略的構成
フルフェイス型ヘルメット1は、図1および図15に示すように、
(a)オートバイのライダなどのヘルメット装着者2の頭部11に装着されるフルフェイス型のキャップ状頭部保護体3、
(b)ヘルメット装着者2の額部と顎部との間(すなわち、顔面の中央部分)に対向するように頭部保護体3の前面に形成された窓孔12を開閉し得るシールド13、
(c)頭部保護体3の内側にそれぞれ取り付けられた左右一対の顎掛け用バンド14、
から成っている。なお、シールド13は、周知のように、ポリカーボネート、その他の硬質合成樹脂などの透明または半透明の硬質材料から成っていてよい。さらに、シールド13の左右両端部付近は、左右一対の取り付けねじ15によって、頭部保護体3に回動自在に取り付けられている。そして、このシールド13は、図1に示す復回動位置においては窓孔12を閉塞し、この復回動位置から上方へ回動した往回動位置においては窓孔12を開放し、これら両者の中間位置においては窓孔12を部分的に開放し得るように構成されている。また、図1において、符号16は、ヘルメット装着者2がシールド13を上方および下方に往復回動させる際に指で摘むために、シールド13に設けられた摘み部である。そして、符号17は、ヘルメット装着者2が復回動位置にあるシールド13を上方へごく僅か往回動させる際に指で掴んで作動させるために、頭部保護体3に設けられた作動レバーである。
図1および図15に示す頭部保護体3には、必要に応じて、周知のように単一の種類または複数の種類のベンチレータ機構が組み込まれていてよい。なお、図1において、符号21は、ヘルメット装着者2の顎部に対向する頭部保護体3の顎領域にそれぞれ設けられた左右一対の排気口兼用の給気口である。そして、符号22は、給気口21から導入された空気をシールド13の内側面に沿って上昇させるための導出口を形成している導出口形成部材である。さらに、符号23は、この導出口形成部材22によって形成されている導出口を開閉させるためのシャッタの操作摘み部である。そして、ヘルメット装着者2の前頭部に対向する頭部保護体3の前頭領域には、左右一対の給気口開閉用シャッタ24がそれぞれ設けられている。また、ヘルメット装着者2の後頭部に対向する頭部保護体3の後頭領域には、左右一対の排気口開閉用シャッタ25がそれぞれ設けられている。さらに、頭部保護体3の顎領域附近には、導出口形成部材22に隣接してブレスガード26が設けられている。
頭部保護体3は、図1および図15に示すように、
(a)頭部保護体3の外周壁を構成しているフルフェイス型のキャップ状外側シェル31、
(b)外側シェル31の下端部の全周囲にわたって接着などにより取り付けられた断面ほぼU字状などの下端用縁部材32、
(c)頭部保護体3の窓孔12を形成するために外側シェル31に形成された窓孔33の全周囲にわたって接着などにより取り付けられた断面ほぼE字状などの窓孔用縁部材34、
(d)ヘルメット装着者2の前頭部、頭頂部、左右両側頭部および後頭部にそれぞれ対向する前頭領域、頭頂領域、左右両側頭領域および後頭領域における外側シェル31の内周面に当接されて接着などにより取り付けられた頭部用裏当て部材35、
(e)ヘルメット装着者2の顎部および頬部にそれぞれ対向する顎領域および頬領域における外側シェル31の内周面に当接されて接着などにより取り付られけた顎・頬部用裏当て部材36、
から成っている。なお、外側シェル31は、FRP、その他の硬質合成樹脂などから成る強度の大きいシェル本体の内周面に多孔性不織布などの柔軟性シートが裏張りされた複合材料から成っていてよい。また、下端用縁部材32は、発泡塩化ビニール、合成ゴム、その他の軟質合成樹脂などから成っていてよい。さらに、窓孔用縁部材34は、合成ゴム、その他の可撓性に富んだ弾性材料から成っていてよい。
図1および図15に示す頭部用裏当て部材35は、頭部用衝撃吸収ライナ29と、この頭部用衝撃吸収ライナ29の内側面全体をほぼ覆うように、この頭部用衝撃吸収ライナ29に取り付けられた通気性の頭部用裏当てカバー30とから成っている。また、顎・頬部用裏当て部材36は、図1および図15に示すように、顎・頬部用衝撃吸収ライナ37と、ヘルメット装着者2の左右両頬部にそれぞれ対向する左右両頬領域において顎・頬部用衝撃吸収ライナ37の内側面にそれぞれ当接されて取り付けられた左右一対の頬部用ブロック状内装パッド38a、38bとから成っている。
図1および図15にそれぞれ示す頭部用衝撃吸収ライナ29および顎・頬部用衝撃吸収ライナ37のそれぞれの本体部分は、発泡ポリスチレン、その他の合成樹脂などの適度な剛性と適度な塑性とを備えている材料から成っていてよい。また、頭部用裏当てカバー30の本体部分は、頭部用衝撃吸収ライナ29に対向する側の面(すなわち、外側面)または両側面にウレタンフォーム、その他の合成樹脂などの柔軟性に富んだ弾性材料から成る適当な形状の層をラミネートした織布の部分や多孔性不織布の部分などを組み合わせたものから成っていてよい。
2、頬部用ブロック状内装パッドの構成
左右一対の頬部用ブロック状内装パッド38a、38bは、実質的には、互いに左右対称的な構成である。したがって、以下において、右頬部用ブロック状内装パッド38bについて図2〜図11を参照しつつ詳細に説明し、左頬部用ブロック状内装パッド38aについての詳細な説明は、必要に応じて省略する。
図2および図4〜図7に示すように、右頬部用ブロック状内装パッド38bは、パッド本体41と、このパッド本体41の下端部附近にそのほぼ全長にわたって縫い付け、テープ止め、接着などにより取り付けられた長手状の被係止部材42とから成っている。そして、パッド本体41には、ヘルメット装着者2の右耳部に対応する耳領域が欠除されるように、切り込み部43が形成されている。したがって、このパッド本体41は、ヘルメット装着者2の右頬部およびその近傍(ただし、右耳部を除く。)にそれぞれ対応した形状を有している。また、パッド本体41は、ウレタンフォーム、その他の合成樹脂などの柔軟性に富んだ1個または複数個の弾性材料から構成された厚板形状のクッション部材44と、このクッション部材44のほぼ全体を袋状に覆っている袋状部材45とから成っている。したがって、クッション部材44は、袋状部材45内に収納されて、この袋状部材45に取り付けられている。
袋状部材45のうちの、顎・頬部用衝撃吸収ライナ37と対向する側の面(すなわち、背面)とは反対側の面(すなわち、正面であって、換言すれば、ヘルメット装着者2の右頬部に当接する内側面)は、図1および図2に示すように、ほぼ全体が織布の部分46から成っている。また、袋状部材45のうちの、下面の被係止部材42側の一半部分は、ほぼ全体がビニールレザーなどの人工皮革の部分47から成っている。さらに、袋状部材45のうちの、顎・頬部用衝撃吸収ライナ37と対向する側の面の下部は、多孔性不織布の部分48から成っている。そして、織布部分46、人工皮革部分47および多孔性不織布部分48によって、顎・頬部用衝撃吸収ライナ37と対向する側の面の上部および中央部が互いに連なって開口することにより形成された開口部51を有する袋状部材45の袋本体52が、構成されている。なお、符号46、47、48で示す各部分は、それぞれ、織布、多孔性または非多孔性不織布および人工皮革のみに材料を限定されるものではなく、これらの材料や、合成樹脂シート、紙、合成樹脂をラミネートした紙、天然皮革などの任意の柔軟性シート材料から構成することができる。
図2に示す袋状部材45の袋本体52の開口部51は、薄板形状の弾性材料からそれぞれ形成されかつ互いに上下に重ね合わせられた内外一対の保持部材53、54によって、部分的に覆われている。なお、内側および外側保持部材53、54は、図2および図8〜図11に示すように、多数のほぼ帯状の部分を互いに一体にかつ全体として薄板形状になるように連結したものであってよい。したがって、内側および外側保持部材53、54は、ポリプロピレン、ポリエチレンなどの軟質合成樹脂、これらの軟質合成樹脂をラミネートした紙などのように柔軟性に乏しい弾性材料を、適当な形状に金型成形または打ち抜き加工したものから成っていてよい。なお、この弾性材料(ひいては、内側および外側保持部材53、54)の厚みは、図示の実施例においては約1mmであるが、実用性の観点から見て一般的に、0.2〜2.5mmの範囲であるのが好ましく、0.4〜1.8mmの範囲であるのがさらに好ましい。
内側保持部材53は、図2および図9〜図11に示すように、上側部53aと、下側部53bと、これらの上側部53aと下側部53bとを前端部側で互いに一体に連結している連結部53cとから、ほぼ二叉状に構成されている。また、内側保持部材53は、上側部53a、下側部53bおよび連結部53cのうちの、切り込み部43に沿ったそれぞれの部分(すなわち、外周部分の一部分)において、袋本体52のうちの、開口部51の外周部分の一部分に、縫い付け、テープ止め、接着などによって、取り付けられている。そして、内側保持部材53の上側部53a、下側部53bおよび連結部53cのそれぞれには、1個または複数個の開口55がそれぞれ形成されている。さらに、上側部53aおよび下側部53bのそれぞれの後端部附近と、連結部53cとのそれぞれには、図2に示すように、凹凸嵌合機構としての丸型ホック50a、50b、50cの雄型部分(すなわち、係止突起または嵌合突起としての雄型ホック)56a、56b、56cが、リベット58(図14参照)による止着などによって、取り付けられている。
外側保持部材54は、図2、図8、図10および図11に示すように、上側部54aと、下側部54bと、これらの上側部54aと下側部54bとを前端部側で互いに一体に連結している連結部54cとから、ほぼ二叉状に構成されている。また、外側保持部材54は、上側部54aの下端部と、下側部54bの上端部と、連結部54cの後端部とを除く部分(すなわち、外周部分の一部分)において、袋本体52の開口部51の外周部分に、縫い付け、テープ止め、接着などによって、取り付けられている。そして、外側保持部材54の上側部54a、下側部54bおよび連結部54cのそれぞれには、複数個の開口57が形成されている。さらに、上側部54aの後端部附近の開口57aは、小穴部61と、大穴部62と、これらの小穴部61と大穴部62とを連通させている連通部63とを有する長手状の上側だるま穴に構成されている。そして、この小穴部61は、上側雄型ホック56aに対応するように、配置されている。また、下側部54bの後端部付近の開口57bは、小穴部64と、この小穴部64に連なっている大穴部65とを有する下側だるま穴に構成されている。そして、この小穴部64は、下側雄型ホック56bに対応するように、配置されている。さらに、前側部54cの上側部付近の開口57cは、小穴部66と、大穴部67と、これらの小穴部66と大穴部67とを連通している連通部68とを有する前側だるま穴に構成されている。そして、この小穴部66は、前側雄型ホック56cに対応するように、配置されている。
上側だるま穴57aおよび前側だるま穴57cのそれぞれは、図8、図10および図11に示すように、下側だるま穴57bの小穴部64の中心点71を中心としてほぼ円弧状に延在するように構成されている。また、上側、下側および前側のだるま穴57a〜57cの大穴部62、65、67は、雄型ホック56a〜56cをこれらのだるま穴57a〜57cに係合させるのに用いられる。すなわち、雄型ホック56a〜56cは、まず、だるま穴57a〜57cの大穴部62、65、67にそれぞれ導入され、ついで、図12および図14に示すように、雄型ホック56a、56cの場合には連通部63、68を介しかつ雄型ホック56bの場合には直接に小穴部61、64、66に導入される。なお、図13においては、雄型ホック56cは、だるま穴57cの大穴部67と連通部68との境界付近に位置している。そして、外側保持部材54の外側面(すなわち、顎・頬部用衝撃吸収ライナ37側)には、図8に示すように、だるま穴57aの大穴部62および連通部63の両側において、薄板形状であってよい一対の被ガイド用長手状突起部72a、72bがそれぞれ一体成形により設けられている。また、外側保持部材54の外側面には、図8に示すように、だるま穴57cの大穴部67および連通部68の両側において、薄板形状であってよい一対の被ガイド用長手状突起部73a、73bがそれぞれ一体成形により設けられている。さらに、外側保持部材54の外側面には、図8に示すように、だるま穴57cの小穴部64を全体としてほぼ取り囲んでいて薄板形状であってよい3つの被ガイド用長手状突起部73a、73b、73cがそれぞれ一体成形により設けられている。なお、これらの被ガイド用突起部72a、72b、73a、73b、74a〜74cは、下側だるま穴57bの小穴部64の中心点71を中心としてほぼ円弧状に延在するように構成されている。そして、被ガイド用長手状突起部72a、72b、73a、73bは、図14に示すように、ほぼ平坦な高位面部75と、この高位面部75の両端に次第に低くなるようにそれぞれ連なっている一対の傾斜面部76a、76bとを有している。また、被ガイド用長手状突起部74a〜74cは、ほぼ平坦な高位面部75と、この高位面部の一端に次第に低くなるように連なっている傾斜面部76bとを有している。
被ガイド用長手状突起部72a、72b、73a、73b、74a〜74cの傾斜面部76bのそれぞれは、凹凸嵌合機構としての丸型ホック50a〜50cの雄型ホック56a〜56cを後述の雌型ホック92a〜92cから相対的に離脱させて両者の結合を解除させる凹凸嵌合解除用の傾斜面部として機能する。また、被ガイド用長手状突起部72a、72b、73a、73b、74a〜74cの傾斜面部76a、76bのそれぞれは、外側保持部材54の外側面からこれらの被ガイド用長手状突起部の高位面部75のこれらと対応する端部まで、ほぼ一様な傾斜角度θ(図14参照)でもって傾斜している。
これらの被ガイド用長手状突起部72a、72b、73a、73b、74a〜74cを平面に展開した状態においては、図示の実施例の場合には、長手状突起部のそれぞれの厚みは、約1mmであり、長手状突起部72a、72b、74a〜74cの傾斜角度θは、約30°であり、長手状突起部73a、73bのそれぞれの傾斜角度θは、約15°であり、長手状突起部72a、72b、74a〜74cのそれぞれの傾斜面部76bの長さは、約4mmであり、長手状突起部73a、73bのそれぞれの傾斜面部76bの長さは、約7mmであり、長手状突起部72a、72b、73a、73bのそれぞれの高位面部75の長さは、約5mmであり、長手状突起部74a〜74cのそれぞれの高位面部75の長さは、約3mmであり、長手状突起部72a、72b、73a、73b、74a〜74cのそれぞれの高位面部75(換言すれば、傾斜面部76a、76bの最高位部分)の高さは、約2mmである。そして、本発明においては、実用性の観点から見て一般的に、上記数値に関連して、つぎの(a)項〜(e)項に記載の数値範囲の1つまたは複数もしくは全部が満足されているのが好ましい。なお、つぎの(a)項〜(e)項の記載は、長手状突起部を平面に展開した状態においてのものである。
(a)長手状突起部72a、72b、73a、73b、74a〜74cのそれぞれの厚みは、0.6〜1.5mm(さらに好ましくは、0.8〜1.3mm)の範囲であること、
(b)長手状突起部72a、72b、73a、73b、74a〜74cのそれぞれの傾斜面部76bの傾斜角度θは、11°〜40°(さらに好ましくは、12°〜38°)の範囲であること、
(c)長手状突起部72a、72b、73a、73b、74a〜74cのそれぞれの傾斜面部76bの長さは、3〜9.5mm(さらに好ましくは、3.2〜8.8mm)の範囲であること、
(d)長手状突起部72a、72b、73a、73b、74a〜74cのそれぞれの高位面部75の長さは、2〜7mm(さらに好ましくは、2.4〜6.5mm)の範囲であること、および
(e)長手状突起部72a、72b、73a、73b、74a〜74cのそれぞれの高位面部75の高さは、1.5〜2.8mm(さらに好ましくは、1.6〜2.5mm)の範囲であること。
だるま穴57a〜57cの小穴部61、64、66には、図4に示すように、雄型ホック56a〜56cの径小の基部(内側保持部材53およびリベット58を含めれば、くびれ部)81がそれぞれ着脱自在に係合止着されている。このために、内側保持部材53と外側保持部材54とは、雄型ホック56a〜56cと、だるま穴57a〜57cの小穴部61、64、66との着脱自在な凹凸係合によって、互いに結合されている。なお、だるま穴57a〜57cの小穴部61、64、66に雄型ホック56a〜56cを係合止着させる際には、前述のように、雄型ホック56a〜56cをだるま穴57a〜57cの大穴部62、65、67にそれぞれ挿入させてから、小穴部61、64、66に対して内側保持部材53をほぼ面方向にそれぞれ相対的に移動させると、雄型ホック56a〜56cの基部(すなわち、くびれ部)81を小穴部61、64、66にそれぞれきわめて容易に圧入させて係合止着させることができる。
長手状被係止部材42は、図2および図4に示すように、その前端部附近および後端部附近に前後一対の切り込み部82a、82bをそれぞれ備えている。そして、これら一対の切り込み部82a、82bは、右頬部用ブロック状内装パッド38bが顎・頬部用衝撃吸収ライナ37に取り付けられている状態(すなわち、図2および図4に示す状態)においては、上方または斜め上方に向って延在することによって、これら一対の切り込み部82a、82bの入口にそれぞれ設けられたくびれ部83を通して被係止部材42の外周囲にそれぞれ連なっている。また、被係止部材42の後端部は、袋本体52とともにパッド本体41のクッション部材44よりも後方に突出することによって、袋本体52の後方突出部84とともに差し込み部85を構成するための後方突出部86を形成している。また、被係止部材42には、柔軟性の附与と軽量化とのために、複数個の開口87がその長手方向に沿ってそれぞれ形成されている。なお、被係止部材42は、ポリエチレンなどの軟質合成樹脂などから成っていてよい。
つぎに、図2に示す右頬部用ブロック状内装パッド38bからクッション部材44を取り出す操作の一例を説明する。
内装パッド38bが図2に示す単体のままの状態において、まず、外側保持部材54に対して内側保持部材53の雄型ホック56a、56b、56c附近を下方、前方、斜め後下方にそれぞれ相対的に往動させることによって、雄型ホック56a、56b、56cをだるま穴57a、57b、57cの小穴部61、64、66からそれぞれ抜き出してから、内側保持部材53を外側保持部材62の上側に持ちきたす。ついで、内側保持部材53を、パッド本体41の切り込み部43に沿った外周囲附近を折り返しラインとして、クッション部材44および袋本体52の図2における正面側から背面側に引っくり返す。なお、この引っくり返した状態においては、内側保持部材53は、開口部51上には存在せず、開口部51上には、外側保持部材54が存在するだけである。したがって、外側保持部材54を適当に弾性変形させながら、クッション部材44を袋本体52内からきわめて容易に取り出すことができる。なお、このクッション部材44または別のクッション部材を袋本体52内に取り入れるときには、上述の取り外しの場合とは逆の操作を行えばよい。
3、パッド引っ張り出し部材の構成
左右一対の頬部用ブロック状内装パッド38a、38bには、図2および図4に示すように、これら左右一対の頬部用ブロック状内装パッド38a、38bを頭部保護体3の内部から外方に少なくとも部分的に引っ張り出すのに用いられる左右一対のパッド引っ張り出し部材101の一方または両方を、必要に応じて、それぞれ係合させることができる。なお、これら左右一対のパッド引っ張り出し部材101は、互いに左右対称的な構成であるから、右側のパッド引っ張り出し部材101について図2および図4〜図7を参照しつつ詳細に説明し、左側のパッド引っ張り出し部材101についての詳細な説明は、必要に応じて省略する。
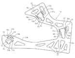
右側のパッド引っ張り出し部材101は、図2および図7に示すように、右頬部用ブロック状内装パッド38bに係止するための係止部102と、指掛け用開口100を有している薄板形状でループ状の取っ手部103と、上記係止部102と上記取っ手部103とを互いに連結している薄板形状で長手状の連結部104と、右頬部用ブロック状内装パッド38bの下面に係合させるために取っ手部103に対してほぼ直角などに屈曲させた屈曲部105とを備えている。なお、パッド引っ張り出し部材101は、ポリプロピレン、ポリエチレンなどの軟質合成樹脂、これらの軟質合成樹脂をラミネートした紙などのような弾性材料を、適当な形状に金型成形したものなどから成っていてよい。また、パッド引っ張り出し部材101は、黒っぽい内装パッド38bに対して目立つ色であるのが好ましく、例えば、赤色などの赤系統の色であってよい。
パッド引っ張り出し部材101の係止部102は、図2および図7に示すように、連結部104の先端部に一体成形された軸部106と、この軸部106の先端部に一体成形された抜け止め用フランジ部107とを有している。一方、長手状被係止部材42の前端部付近の開口87aは、図2に示すように、小穴部111と、この小穴部111に連なっている大穴部112とを有するだるま穴に構成されている。そして、このだるま穴87aの小穴部111には、パッド引っ張り出し部材101の軸部106が着脱自在でかつ回動自在に嵌合止着されている。このために、パッド引っ張り出し部材101と被係止部材42とは、係止部102と、だるま穴87aの小穴部111との着脱自在な凹凸係合において、互いに結合されている。なお、だるま穴87aの小穴部111に係止部102を係合止着させる際には、係止部102の抜け止め用フランジ部107および軸部106をだるま穴87aの大穴部112に挿入させてから、小穴部111に対してパッド引っ張り出し部材101をほぼ面方向にそれぞれ移動させると、軸部106を小穴部111にきわめて容易に圧入させて係合止着させることができる。また、パッド引っ張り出し部材101を被係止部材42(換言すれば、右頬部用ブロック状内装パッド38b)から取り外すときには、上述の取り付けの場合とは逆の操作を行えばよい。
4、顎・頬部用衝撃吸収ライナの取り付け部の構成
左頬部用および右頬部用ブロック状内装パッド38a、38bは、図1および図12に示すように、顎・頬部用衝撃吸収ライナ37の右側の一半部分の内側面(すなわち、左側および右側の取り付け部)90にほぼ当接されて、それぞれ取り付けられている。そして、顎・頬部用衝撃吸収ライナ37の本体部分のうちの、外側シェル31側とは反対側の面(すなわち、内側面)には、内装パッド38a、38bをそれぞれ取り付ける左右一対の取り付け部90を構成するために、左右一対の薄板状の支持部材91が接着、抜け止めリング付きの係止ピンなどによって取り付けられている。なお、左右一対の頬部用ブロック状内装パッド38a、38bは、既述のように、互いに左右対称的な構成であるとともに、左右一対の取り付け部90も互いに左右対称的な構成である。したがって、以下において、右頬部用ブロック状内装パッド38bと、この内装パッド38bが取り付けられる左側取り付け部90とについて、図3〜図7および図12〜図14を参照しつつ詳細に説明し、左頬部用ブロック状内装パッド38aと、この内装パッド38aが取り付けられる右側取り付け部90とについての詳細な説明は、必要に応じて省略する。
左側の支持部材91には、図3および図14に示すように、凹凸嵌合機構としての丸型ホック50a〜50cの雌型部分(すなわち、雌型ホック)92a、92b、92cが、図2に示す左右一対の頬部用ブロック状内装パッド38a、38bの雄型ホック56a、56b、56cにそれぞれ対向するように、リベット93による取り付け、この支持部材91との一体成形などによって、形成されている。そして、これらの雌型ホック92a〜92cは、雄型ホック56a〜56cとともに、凹凸嵌合機構としての丸型ホック50a〜50cを構成している。また、顎・頬部用衝撃吸収ライナ37には、雌型ホック92a、92b、92cなどにそれぞれ対応して、凹部94がそれぞれ形成されている。なお、顎・頬部用衝撃吸収ライナ37の本体部分は、予め、多孔性不織布、ビニールレザーなどの柔軟性シートで部分的に覆われていてよい。そして、上記本体部分には、顎掛け用バンド14を挿通させるための開口が設けられていてよい。また、支持部材91の中央部分にも、この開口に対応して、開口95または切り欠きが設けられていてよい。さらに、上記本体部分および頭部用衝撃吸収ライナ29の本体部分には、被係止部材42の切り込み部82a、82bにそれぞれ対向しかつこれらの切り込み部82a、82bがそれぞれ相対的に係止される係止ピン96a、96bが、それぞれ設けられていてよい。
支持部材91には、外側保持部材54の被ガイド用長手状突起部72a、72b、73a、73b、74a〜74cにそれぞれほぼ対応した形状を有しかつほぼ対応した配置を有する細幅のガイド用長手状凹部113a、113b、114a、114b、115a〜115cが、それぞれ形成されている。そして、左頬部用ブロック状内装パッド38bが支持部材91に取り付けられた状態においては、被ガイド用長手状突起部72a、72b、73a、73b、74a〜74cがガイド用長手状凹部113a、113b、114a、114b、115a〜115cにそれぞれ相対的に嵌合する。このために、ガイド用長手状凹部113a、113b、114a、114bは、高位面部75にほぼ対応したほぼ平坦な低位面部116と、この低位面部116の両端に次第に高くなるようにそれぞれ連なっている一対の傾斜面部117a、117bとを有している。また、ガイド用長手状凹部115a〜115cは、ほぼ平坦な低位面部116と、この低位面部116の一端に次第に高くなるように連なっている傾斜面部117bとを有している。したがって、ガイド用長手状凹部113a、113b、114a、114b、115a〜115cは、前述の「2、頬部用ブロック状内装パッドの構成」における(a)項〜(e)項に記載した数値範囲に対応した数値範囲の1つまたは複数もしくは全部を満足しているのが好ましい。この場合、前記(a)項〜(e)項に記載の長手状突起部72a、72b、73a、73b、74a〜74c、傾斜面部76bおよび高位面部75が、長手状凹部113a、113b、114a、114b、115a〜115c、傾斜面部117bおよび低位面部116にそれぞれ対応している。
図2に示す右頬部用ブロック状内装パッド38bを、図1および図12に示すように、顎・頬部用衝撃吸収ライナ37に取り付けるには、内装パッド38bの雄型ホック56a〜56cを衝撃吸収ライナ37の雌型ホック92a〜92cにそれぞれ凹凸係合させればよい。この場合、雄型ホック56a〜56cの先端部分から成る環状突起部97が、雌型ホック92a〜92cの前端部分から成る環状突起部98にそれぞれ弾性的に係合する。また、内装パッド38bの被係止部材42は、予め、外側シェル31と、右頬部用ブロック状内装パッド38bおよび頭部用衝撃吸収ライナ29との間に、下方から差し込まれる。このとき、内装パッド38bの差込み部85も、外側シェル31と頭部用衝撃吸収ライナ29との間に、下方から差し込まれる。また、図2に示すように被係止部材42に取り付けられているパッド引っ張り出し部材101も、外側シェル31と頭部用衝撃吸収ライナ29との間に、被係止部材42と一緒に下方から差し込まれて、その屈曲部105が内装パッド38bのパッド本体41の下端面にほぼ当接する。したがって、この引っ張り出し部材101の取っ手部103は、図15の左側の引っ張り出し部材101に示すように、頭部保護体3に仮止めされる。そして、衝撃吸収ライナ37、29の係合ピン96a、96bが、被係止部材42の切り込み部82a、82bに上方からそれぞれ相対的に嵌合されて凹凸係合する。さらに、衝撃吸収ライナ37の支持部材91の開口95に挿通されている顎掛け用バンド14は、内装パッド38bの切り込み部43に相対的に挿入される。なお、内装パッド38bを衝撃吸収ライナ37、29から取り外すときには、上述の取り付けの場合とは逆の操作を行ってもよいし、後述の「5、ヘルメットの脱着操作」の項に記載する脱着操作を行ってもよい。
5、ヘルメットの脱着操作
図1〜図14に示すフルフェイス型ヘルメット1をヘルメット装着者2が装着している図15に示す状態において、ヘルメット装着者2とは異なる人(例えば、オートバイ事故の介護者)がヘルメット1をヘルメット装着者2の頭部11から脱着する工程は、つぎの(1)項〜(7)項に記載の順序であってよい。なお、このような脱着工程は、ヘルメット装着者2自身によっても、同様に行うことができる。
(1)まず、介護者は、図15に示すように、左右一対の顎掛け用バンド14の相互の係合を解除する。
(2)ついで、左右一対の引っ張り出し部材101のうちの両方または一方の屈曲部105が、内装パッド38a、38bのパッド本体41の下端面に当接している場合(図15の右側の引っ張り出し部材101参照)には、介護者は、少なくとも一方の引っ張り出し部材101の屈曲部105を手118の指で掴んで外方に引っ張ることによって仮止めを解除してから、図15の左側の引っ張り出し部材101に示すように、取っ手部103の指掛け用開口100に指を掛けて引っ張り出し部材101の大部分を外方に引っ張り出す。
(3)ついで、介護者がこのようにして外方に引っ張り出された引っ張り出し部材101を手118でヘルメット1のほぼ下方(すなわち、図15の前方)に少し引っ張ると、図5に示すように、内装パッド38a、38bの被係止部材42が、外側シェル31(具体的には、下端用縁部材32)と顎・頬部用および頭部用衝撃吸収ライナ37、29との間から、ヘルメット1のほぼ下方に、少し抜き出される。したがって、被係止部材42の切り込み部82aに係合していた係止ピン96aが、この切込み部82aから相対的に離脱する。
(4)ついで、介護者が引っ張り出し部材101を手118で引き続きほぼ下方に引っ張り続けると、図6に示すように、頬部用ブロック状内装パッド38a、38bが、凹凸嵌合機構としての丸型ホック50bを支点として図6の反時計方向に少し往回動しようとする。したがって、この回動トルクが、被ガイド用長手状突起部72a、72b、73a、73bの傾斜面部76bを介して、ガイド用長手状凹部113a、113b、114a、114bの傾斜面部117bを押圧するので、これらの傾斜面部76bはこれらの傾斜面部117bから反力を受ける。このために、傾斜面部76b(ひいては、被ガイド用長手状突起部72a、72b、73a、73b)は、これらの反力によって、支持部材91から離間する方向に移動するので、雄型ホック56a、56cは、雌型ホック92a、92cから抜け出る。
(5)ついで、介護者が引っ張り出し部材101を手118で引き続きほぼ下方に引っ張り続けると、頬部用ブロック状内装パッド38a、38bが、丸型ホック50bを支点として、図6の反時計方向にさらに往回動するので、図7に示す状態になる。したがって、図7に示すように、内装パッド38a、38bの大半の部分(換言すれば、前側の部分および中間の部分)が、外側シェル31の内部から外部に引っ張り出されている。
(6)ついで、必要があれば、介護者が引っ張り出し部材101を手118で引き続き引っ張り続けると、上記(4)項に記載した場合と同様に、内装パッド38a、38bの回動トルクが、被ガイド用長手状突起部74a〜74cの傾斜面部76bを介して、ガイド用長手状凹部115a〜115cの傾斜面部117bを押圧するので、これらの傾斜面部76bがこれらの傾斜面部117bから反力を受ける。このために、傾斜面部76b(ひいては、被ガイド用長手状突起部74a〜74c)は、これらの反力によって、支持部材91から離間する方向に移動するので、雄型ホック56bは、雌型ホック92bから抜け出る。そして、必要があれば、内装パッド38a、38bを外側シェル31の内部から外部に完全に取り出す。この場合、被係止部材42の切り込み部82bに係合していた係止ピン96bが、この切り込み部82bから相対的に離脱する。
(7)ついで、介護者は、頭部保護体3を手118で持ってヘルメット装着者2の頭部11から引き離す。この場合、頬部用ブロック状内装パッド38a、38bの少なくとも一方が頭部保護体3の内部から全部または部分的になくなっているから、この頭部保護体3をヘルメット装着者2の頭部11から容易に取り外すことができる。
以上において、本発明の一実施例について詳細に説明したが、本発明は、この実施例に限定されるものではなく、特許請求の範囲に記載された発明の趣旨に基づいて各種の変更および修正が可能である。
例えば、上述の実施例においては、パッド引っ張り出し部材101によってキャップ状頭部保護体3の内部から少なくとも部分的に取り出されるブロック状内装パッドが、左頬部用および右頬部用ブロック状内装パッド38a、38bによって、構成されている。しかし、上記取り出されるブロック状内装パッドが、新たに設けられた額部用ブロック状内装パッド、その他の既存のまたは新設のブロック状内装パッドによって、構成されていてもよい。
また、上述の実施例においては、頬部用ブロック状内装パッド38a、38bのパッド本体41の袋状部材45が、内外一対の保持部材53、54を備えている。しかし、袋状部材45は、これら一対の保持部材53、54を備えている必要は必ずしもなく、何れか一方(具体的には内側保持部材53)のみであってもよく、また、この袋状部材45全体が、周知のように、柔軟性シート材料で構成されていてもよい。そして、この後者の場合には、雄型ホック56a〜56cを取り付けるための1個または複数個のホック取り付け板(図示せず)を、袋状部材45に取り付けることができる。
また、上述の実施例においては、3個の雄型ホック56a〜56cを各頬部用ブロック状内装パッド38a、38bにそれぞれ配設した。しかし、2個、4個以上などの別の個数の雄型ホック56a〜56c(ひいては、雌型ホック92a〜92cおよび凹凸嵌合機構としての丸型ホック50a〜50c)を各内装パッド38a、38bなどにそれぞれ配設することもできる。
また、上述の実施例においては、各頬部用ブロック状内装パッド38a、38bにそれぞれ配設した雄型ホック56a〜56cの全部の個数(具体的には、3個)ではなくて、一部の個数(具体的には、2個の雄型ホック56a、56c)を、パッド引っ張り出し部材101によって、雌型ホック92a、92cから最初の時点で(換言すれば、上記(4)項に記載の工程において)離脱させるようにした。しかし、パッド引っ張り出し部材101によって雌型ホック92a〜92cから最初の時点で離脱させる雄型ホック56a〜56cの個数は、雄型ホック56a〜56cの全部の個数であってもよい。
また、上述の実施例においては、丸型ホック50a〜50cの雄型ホック56a〜56cを内装パッド38a、38bに取り付け固定するようにした。しかし、1個または複数個もしくは全部の個数の丸型ホック50a〜50cについて、雄型ホック56a〜56cと雌型ホック92a〜92cとの相互の位置関係を逆にして、雌型ホック92a〜92cを内装パッド38a、38bに取り付け固定してもよい。
また、上述の実施例においては、雄型ホック56a〜56cを係合させるための係合穴として、外側保持部材54にだるま穴57a〜57cを設けている。しかし、上記係合穴57a〜57cは、だるま穴である必要は必ずしもなく、切り込み形状の係合穴であってもよい。
また、上述の実施例においては、凹凸嵌合解除用の傾斜面部76b(換言すれば、凹凸嵌合解除用の傾斜面部117b)を各丸型ホック50a〜50cに対して2個または3個設けている。しかし、凹凸嵌合解除用の傾斜面部76b(換言すれば、凹凸嵌合解除用の傾斜面部117b)が、各丸型ホック50a〜50cに対して1個または4個以上設けられていてもよい。
また、上述の実施例においては、ガイド用長手状凹部113a〜113cのそれぞれに1つまたは一対の傾斜面部117a、117bを設けている。しかし、長手状凹部113a〜113cのそれぞれの全体を低位面部116にしてもよい。そして、この場合には、これらの低位面部116の対応する端部が、凹凸嵌合解除用の傾斜面76bに当接することによって、凹凸嵌合解除用の当接部分として機能する。
また、上述の実施例においては、内装パッド38a、38bをキャップ状頭部保護体3の内部から少なくとも部分的にそれぞれ引っ張り出すためのパッド引っ張り出し部材101を、内装パッド38a、38bにそれぞれ配設したが、パッド引っ張り出し部材101は必要に応じて省略することがでる。そして、この場合には、内装パッド38a、38bの少なくとも一方の下側端部を、手で掴んで、ほぼ下方に引っ張り出せばよい。
また、上述の実施例においては、各袋状部材45内に1個のクッション部材44のみを収納するようにしたが、例えば複数層積層することによって、2つ以上のクッション部材44を各袋状部材45内に収納してもよい。
また、上述の実施例においては、複数個の保持部材53、54を凹凸係合により互いに着脱自在に係合させる凹凸係合機構の係合突起(換言すれば、雄型ホック)56a〜56cを、内装パッド38a、38bを頭部保護体3に組み込む際に両者を着脱自在に凹凸嵌合させる凹凸嵌合機構50a〜50cの嵌合突起と兼用させるようにした。しかし、後者の嵌合突起を外側保持部材54などに別に設けてもよい。また、これらの凸凹係合機構および凹凸嵌合機構50a〜50cは必ずしも両方とも必要であることはなく、この場合、前者の凸凹係合機構はテープ止めなどの他の結合機構に代えてもよい。
また、上述の実施例においては、2個の保持部材53、54を凹凸係合により互いに結合させた状態では、一方の保持部材53が内側で他方の保持部材54が外側になるように、両者を互いに重ね合わせられるようにした。しかし、一方の保持部材53の一部分が内側で他の部分が外側になり、他方の保持部材54の一部分が外側で他の部分が内側になるように、両者を互いに重ね合せられるようにしてもよい。
また、上述の実施例においては、保持部材53、54をそれぞれほぼ二叉状に形成するとともに、これらの保持部材53、54に弾性の向上化および軽量化のために複数個の開口55、57をそれぞれ形成した。しかし、保持部材53、54は必ずしも二叉状である必要はなく、また、開口55、57も必要に応じて省略することができる。
さらに、上述の実施例においては、フルフェイス型ヘルメット1に本発明を適用したが、ジェット型、セミジェット型などの他のタイプのヘルメットにも、本発明を適用することができる。
本発明をフルフェイス型ヘルメットに適用した一実施例におけるヘルメット全体の斜視図である。(実施例1) 図1の右頬部用ブロック状内装パッドの単体での、顎・頬部用衝撃吸収ライナに取り付けられた状態における背面図である。(実施例1) 図2の右頬部用ブロック状内装パッドが取り付けられる、顎・右頬部用衝撃吸収ライナの取り付け部の正面図である。(実施例1) 図1の右頬部用ブロック状内装パッドの、図3の取り付け部に取り付けられた状態における正面図である。(実施例1) 図4の右頬部用ブロック状内装パッドを図3の取り付け部から引っ張り出す操作の過程での、右頬部用ブロック状内装パッドの第1の状態における図4と同様の正面図である。(実施例1) 図4の右頬部用ブロック状内装パッドを図3の取り付け部から引っ張り出す操作の過程での、右頬部用ブロック状内装パッドの第2の状態における図4と同様の正面図である。(実施例1) 図4の右頬部用ブロック状内装パッドを図3の取り付け部から引っ張り出す操作の過程での、右頬部用ブロック状内装パッドの第3の状態における図4と同様の正面図である。(実施例1) 図2に示す外側保持部材の拡大正面図である。(実施例1) 図2に示す内側保持部材の拡大正面図である。(実施例1) 図2にそれぞれ示す外側保持部材および内側保持部材の、図2に示す取り付け状態における拡大正面図である。(実施例1) 図2にそれぞれ示す外側保持部材および内側保持部材の、図6に示す第2の状態における正面図である。(実施例1) 図4のA−A線に沿った拡大断面図である。(実施例1) 図6のB−B線に沿った拡大断面図である。(実施例1) 図4のC−C線に沿った拡大断面図である。(実施例1) 図4の右頬部用ブロック状内装パッドを図3の取り付け部から引っ張り出す操作の過程での、右頬部用ブロック状内装パッドの上記第1の状態における図5のヘルメットの装着状態を示す概略的な斜視図である。(実施例1) 装着状態にある従来のフルフェイス型ヘルメットを脱着させるのに必要な力を測定する実験を示す概略的な右側面図である。(従来例1)
符号の説明
1 フルフェイス型ヘルメット
2 ヘルメット装着者
3 フルフェイス型キャップ状頭部保護体
11 頭部
38a 左頬部用ブロック状内装パッド
38b 右頬部用ブロック状内装パッド
44 厚板形状のクッション部材
45 袋状部材
50a 丸型ホック(凹凸嵌合機構)
50b 丸型ホック(第1の凹凸嵌合機構)
50c 丸型ホック(凹凸嵌合機構)
51 開口部
52 袋本体
53 内側保持部材
54 外側保持部材
56a 丸型ホックの雄型部分(雄型ホックおよび凹凸係合機構)
56b 丸型ホックの雄型部分(雄型ホックおよび凹凸係合機構)
56c 丸型ホックの雄型部分(雄型ホックおよび凹凸係合機構)
57a だるま穴(凹凸係合機構および係合穴)
57b だるま穴(凹凸係合機構および係合穴)
57c だるま穴(凹凸係合機構および係合穴)
76b 傾斜面部(凹凸嵌合解除用傾斜面部)
92a 丸型ホックの雌型部分(雌型ホック)
92b 丸型ホックの雌型部分(雌型ホック)
92c 丸型ホックの雌型部分(雌型ホック)
101 パッド引っ張り出し部材

Claims (7)

  1. 1個または複数個のブロック状内装パッドがその内部に配されたキャップ状頭部保護体を備えたヘルメットにおいて、
    少なくとも1個の上記ブロック状内装パッドが、1個または複数個の凹凸嵌合機構によって、上記キャップ状頭部保護体に取り付けられ、
    少なくとも1個の上記凹凸嵌合機構が、上記少なくとも1個のブロック状内装パッド側に配された雄型ホックおよび雌型ホックのうちの一方のホックと、上記一方のホックと凹凸嵌合し得るように上記キャップ状頭部保護体側に配された他方のホックとを備え、
    上記少なくとも1個のブロック状内装パッドを上記キャップ状頭部保護体の内部から引っ張り出そうとする力が上記少なくとも1個のブロック状内装パッドに加わったときに上記一方のホックを上記他方のホックから相対的に浮き上がらせるために、上記少なくとも1個のブロック状内装パッド側のうちの上記一方のホックの近傍および/または上記キャップ状頭部保護体側のうちの上記他方のホックの近傍に配設された凹凸嵌合解除用の傾斜面部をさらに備え、
    上記少なくとも1個のブロック状内装パッドを上記キャップ状頭部保護体の内部から外部に向けて少なくとも部分的に引っ張り出す操作を行うことによって、上記一方のホックが上記他方のホックから相対的に離脱することにより両者の結合を解除させて、上記少なくとも1個のブロック状内装パッドが上記キャップ状頭部保護体の内部から少なくとも部分的に取り出されるように構成したことを特徴とするヘルメット。
  2. 上記少なくとも1個のブロック状内装パッドが左頬部用ブロック状内装パッドおよび/または右頬部用ブロック状内装パッドであることを特徴とする請求項1に記載のヘルメット。
  3. 上記少なくとも1個のブロック状内装パッドを上記キャップ状頭部保護体の内部から外部に向けて少なくとも部分的に引っ張り出すためのパッド引っ張り出し部材が上記少なくとも1個のブロック状内装パッドに設けられていることを特徴とする請求項1または2に記載のヘルメット。
  4. 上記凹凸嵌合機構が複数個であり、
    上記少なくとも1個のブロック状内装パッドを上記キャップ状頭部保護体の内部から外部に少なくとも部分的に引っ張り出す動作を行うことによって、上記複数個の凹凸嵌合機構のうちの1個から成る第1の凹凸嵌合機構が上記ブロック状内装パッドを上記キャップ状頭部保護体に対して往回動させる回動支点になることができるように構成したことを特徴とする請求項1、2または3に記載のヘルメット。
  5. 上記ブロック状内装パッドが上記第1の凹凸嵌合機構を支点として上記往回動を行ってからさらに上記少なくとも1個のブロック状内装パッドを上記キャップ状頭部保護体の内部から外部に向けて引っ張り出す動作を行うことによって、上記第1の凹凸嵌合機構が上記凹凸嵌合解除用の傾斜面部によって凹凸嵌合を解除されるように構成したことを特徴とする請求項4に記載のヘルメット。
  6. 上記少なくとも1個のブロック状内装パッドが、少なくとも1個の厚板形状のクッション部材と、上記クッション部材を袋状に覆っている袋状部材とを備え、
    上記袋状部材が、上記クッション部材を出し入れできる開口部をその一方の面に有する袋本体と、薄板形状の弾性材料から成りかつ上記開口部を少なくとも部分的に覆っている複数枚の保持部材とを備え、
    上記複数枚の保持部材のそれぞれの外周部分の一部分が、上記開口部の外周部分の一部分において、上記袋本体にそれぞれ取り付けられ、
    上記複数枚の保持部材が、少なくとも1個の凹凸係合機構によって、互いに着脱可能に係合され、
    上記少なくとも1個の凹凸係合機構が、上記複数枚の保持部材のうちの少なくとも1枚の保持部材に設けられた上記一方のホックと、上記一方のホックが着脱可能に係合するように、上記複数枚の保持部材のうちの別の少なくとも1枚の保持部材に設けられた係合穴とを備えていることを特徴とする請求項5に記載のヘルメット。
  7. 1個または複数個のブロック状内装パッドがその内部に配されたキャップ状頭部保護体を備えたヘルメットを、ヘルメット装着者の頭部から脱着する方法において、
    少なくとも1個の上記ブロック状内装パッドを、1個または複数個の凹凸結合機構によって、上記頭部保護体に予め取り付け、
    この取り付けの際に、少なくとも1個の上記凹凸結合機構として、上記少なくとも1個のブロック状内装パッド側に配された雄型ホックおよび雌型ホックのうちの一方のホックと、上記一方のホックと凹凸係合し得るように上記キャップ状頭部保護体側に配された他方のホックとを備えている凹凸結合機構を用い、
    上記少なくとも1個のブロック状内装パッドを上記キャップ状頭部保護体の内部から引っ張り出そうとする力が上記少なくとも1個のブロック状内装パッドに加わったときに上記一方のホックを上記他方のホックから相対的に浮き上がらせることができる凹凸嵌合解除用の傾斜面部を上記少なくとも1個のブロック状内装パッド側のうちの上記一方のホックの近傍および/または上記キャップ状頭部保護体側のうちの上記他方のホックの近傍に予め配設し、
    ヘルメット装着者の頭部に装着されているヘルメットを脱着する際には、まず、少なくとも1個の上記ブロック状内装パッドを上記キャップ状頭部保護体の内部から外部に向けて引っ張り出す操作を行うことによって、上記一方のホックが上記他方のホックから相対的に離脱することにより両者の結合を解除させて、上記少なくとも1個のブロック状内装パッドを上記キャップ状頭部保護体の内部から外部に少なくとも部分的に引っ張り出し、
    ついで、上記キャップ状頭部保護体をヘルメット装着者の頭部から取り外すようにしたことを特徴とするヘルメットの脱着方法。
JP2008271980A 2008-10-22 2008-10-22 ヘルメットおよびその脱着方法 Active JP5159556B2 (ja)

Priority Applications (3)

Application Number Priority Date Filing Date Title
JP2008271980A JP5159556B2 (ja) 2008-10-22 2008-10-22 ヘルメットおよびその脱着方法
US12/491,564 US8239970B2 (en) 2008-10-22 2009-06-25 Helmet with a pad quick release apparatus
EP09008785A EP2179669B1 (en) 2008-10-22 2009-07-04 Helmet and method of removing the same

Applications Claiming Priority (1)

Application Number Priority Date Filing Date Title
JP2008271980A JP5159556B2 (ja) 2008-10-22 2008-10-22 ヘルメットおよびその脱着方法

Publications (2)

Publication Number Publication Date
JP2010100955A true JP2010100955A (ja) 2010-05-06
JP5159556B2 JP5159556B2 (ja) 2013-03-06

Family

ID=41402580

Family Applications (1)

Application Number Title Priority Date Filing Date
JP2008271980A Active JP5159556B2 (ja) 2008-10-22 2008-10-22 ヘルメットおよびその脱着方法

Country Status (3)

Country Link
US (1) US8239970B2 (ja)
EP (1) EP2179669B1 (ja)
JP (1) JP5159556B2 (ja)

Cited By (4)

* Cited by examiner, † Cited by third party
Publication number Priority date Publication date Assignee Title
JP2016037669A (ja) * 2014-08-05 2016-03-22 株式会社Shoei ヘルメット
WO2017094974A1 (ko) * 2015-11-30 2017-06-08 주식회사 기도스포츠 헬멧의 탈착식 패드 체결 구조 및 이를 포함하는 헬멧
JP2018035489A (ja) * 2016-08-05 2018-03-08 ノラングループ ソチエタ ペル アツィオーニ 取り外し可能なパッド付きヘルメット
JP2022110789A (ja) * 2021-01-19 2022-07-29 株式会社Shoei ハーネスブラケット及びヘルメット

Families Citing this family (13)

* Cited by examiner, † Cited by third party
Publication number Priority date Publication date Assignee Title
DE112009004247B4 (de) * 2009-02-23 2017-12-28 Ykk Corp. Druckknopf
US8574155B2 (en) 2010-02-12 2013-11-05 Covidien Lp Expandable surgical access port
US8579810B2 (en) 2010-02-12 2013-11-12 Covidien Lp Expandable thoracic access port
US8777849B2 (en) 2010-02-12 2014-07-15 Covidien Lp Expandable thoracic access port
US8549671B2 (en) * 2011-01-06 2013-10-08 Bell Sports, Inc. Helmet having magnetically coupled cheek pads
EP3032977A4 (en) * 2013-09-27 2017-05-03 Bell Sports Inc. System and method for coupling helmet components and liners
JP6282491B2 (ja) * 2014-03-05 2018-02-21 株式会社Shoei 留め機構及びヘルメット
AU2016202587B2 (en) * 2015-04-29 2020-11-12 Nolangroup S.P.A. Device for connecting a lining layer of a helmet to an inner shock-absorbing portion of a helmet
ITUA20161949A1 (it) * 2016-03-23 2017-09-23 Agv Spa Guanciale per casco di protezione
KR102441497B1 (ko) * 2021-04-07 2022-09-07 (주)에이치제이씨 헬멧
IT202100018902A1 (it) * 2021-07-16 2023-01-16 Alpinestars Res Spa Casco protettivo
US12108824B2 (en) * 2021-10-22 2024-10-08 Cookie Composites Group Pty Ltd. Helmet provided with an accessory fastening assembly
US20240373970A1 (en) * 2023-05-10 2024-11-14 Bell Sports, Inc. Helmet cheek pads

Citations (4)

* Cited by examiner, † Cited by third party
Publication number Priority date Publication date Assignee Title
JPH10325012A (ja) * 1997-05-19 1998-12-08 Manabu Nemoto ヘルメットおよびその脱着方法
JP2001316928A (ja) * 2000-05-01 2001-11-16 Shoei:Kk ヘルメット用内装パッドおよびこの内装パッドを用いたヘルメット
JP2007303007A (ja) * 2006-05-09 2007-11-22 Shoei Co Ltd ヘルメットおよびその脱着方法
JP5041906B2 (ja) * 2007-08-07 2012-10-03 株式会社Shoei ヘルメット

Family Cites Families (5)

* Cited by examiner, † Cited by third party
Publication number Priority date Publication date Assignee Title
JPH026606A (ja) * 1988-06-14 1990-01-10 Michio Arai フルフェース型ヘルメット
JP2001008711A (ja) * 1999-04-28 2001-01-16 Morito Co Ltd 引き剥がしの方向性を有するスナップファスナ
CA2437545C (en) * 2003-08-15 2009-03-17 Bauer Nike Hockey Inc. Hockey helmet comprising a lateral adjustment mechanism
US7207071B2 (en) * 2004-06-18 2007-04-24 Fox Racing, Inc. Ventilated helmet system
US7814579B2 (en) * 2004-09-27 2010-10-19 Kbc America, Inc. Modular helmet

Patent Citations (4)

* Cited by examiner, † Cited by third party
Publication number Priority date Publication date Assignee Title
JPH10325012A (ja) * 1997-05-19 1998-12-08 Manabu Nemoto ヘルメットおよびその脱着方法
JP2001316928A (ja) * 2000-05-01 2001-11-16 Shoei:Kk ヘルメット用内装パッドおよびこの内装パッドを用いたヘルメット
JP2007303007A (ja) * 2006-05-09 2007-11-22 Shoei Co Ltd ヘルメットおよびその脱着方法
JP5041906B2 (ja) * 2007-08-07 2012-10-03 株式会社Shoei ヘルメット

Cited By (7)

* Cited by examiner, † Cited by third party
Publication number Priority date Publication date Assignee Title
JP2016037669A (ja) * 2014-08-05 2016-03-22 株式会社Shoei ヘルメット
WO2017094974A1 (ko) * 2015-11-30 2017-06-08 주식회사 기도스포츠 헬멧의 탈착식 패드 체결 구조 및 이를 포함하는 헬멧
KR101772124B1 (ko) * 2015-11-30 2017-09-12 주식회사 기도스포츠 헬멧의 탈착식 패드 체결 구조 및 이를 포함하는 헬멧
US11612206B2 (en) 2015-11-30 2023-03-28 Kido Sports Co., Ltd. Detachable pad fastening structure of helmet and helmet including same
JP2018035489A (ja) * 2016-08-05 2018-03-08 ノラングループ ソチエタ ペル アツィオーニ 取り外し可能なパッド付きヘルメット
JP2022110789A (ja) * 2021-01-19 2022-07-29 株式会社Shoei ハーネスブラケット及びヘルメット
JP7333352B2 (ja) 2021-01-19 2023-08-24 株式会社Shoei ハーネスブラケット及びヘルメット

Also Published As

Publication number Publication date
JP5159556B2 (ja) 2013-03-06
US20100095437A1 (en) 2010-04-22
EP2179669B1 (en) 2012-09-12
US8239970B2 (en) 2012-08-14
EP2179669A2 (en) 2010-04-28
EP2179669A3 (en) 2010-09-08

Similar Documents

Publication Publication Date Title
JP5159556B2 (ja) ヘルメットおよびその脱着方法
JP4948893B2 (ja) ヘルメットおよびその脱着方法
JP5041906B2 (ja) ヘルメット
EP1151684B1 (en) Inside pad for helmet and helmet using this inside pad
JP3955127B2 (ja) ヘルメット
EP1743538B1 (en) Full-face-type helmet
TWI402042B (zh) Neck pad installation
US6834398B1 (en) Helmet
US12089686B2 (en) Helmet
JPH0638090Y2 (ja) ヘルメット
CN213370214U (zh) 一种头盔可拆卸内衬结构
JP2591910B2 (ja) 乗車用安全ヘルメット
JP3087010U (ja) ヘルメット用キャップ
JP3010621B2 (ja) ヘルメット
JPH0627613Y2 (ja) ヘルメット
JPH11172517A (ja) ヘルメット
JP2022170123A (ja) ヘルメット
JPH0556922U (ja) ヘルメット

Legal Events

Date Code Title Description
A621 Written request for application examination

Free format text: JAPANESE INTERMEDIATE CODE: A621

Effective date: 20110808

A977 Report on retrieval

Free format text: JAPANESE INTERMEDIATE CODE: A971007

Effective date: 20121030

TRDD Decision of grant or rejection written
A01 Written decision to grant a patent or to grant a registration (utility model)

Free format text: JAPANESE INTERMEDIATE CODE: A01

Effective date: 20121126

A61 First payment of annual fees (during grant procedure)

Free format text: JAPANESE INTERMEDIATE CODE: A61

Effective date: 20121211

R150 Certificate of patent or registration of utility model

Ref document number: 5159556

Country of ref document: JP

Free format text: JAPANESE INTERMEDIATE CODE: R150

Free format text: JAPANESE INTERMEDIATE CODE: R150

FPAY Renewal fee payment (event date is renewal date of database)

Free format text: PAYMENT UNTIL: 20151221

Year of fee payment: 3

R250 Receipt of annual fees

Free format text: JAPANESE INTERMEDIATE CODE: R250

R250 Receipt of annual fees

Free format text: JAPANESE INTERMEDIATE CODE: R250

R250 Receipt of annual fees

Free format text: JAPANESE INTERMEDIATE CODE: R250

R250 Receipt of annual fees

Free format text: JAPANESE INTERMEDIATE CODE: R250

R250 Receipt of annual fees

Free format text: JAPANESE INTERMEDIATE CODE: R250

R250 Receipt of annual fees

Free format text: JAPANESE INTERMEDIATE CODE: R250

R250 Receipt of annual fees

Free format text: JAPANESE INTERMEDIATE CODE: R250

R250 Receipt of annual fees

Free format text: JAPANESE INTERMEDIATE CODE: R250

R250 Receipt of annual fees

Free format text: JAPANESE INTERMEDIATE CODE: R250

R250 Receipt of annual fees

Free format text: JAPANESE INTERMEDIATE CODE: R250

R250 Receipt of annual fees

Free format text: JAPANESE INTERMEDIATE CODE: R250