JP2010099779A - 超砥粒 - Google Patents
超砥粒 Download PDFInfo
- Publication number
- JP2010099779A JP2010099779A JP2008273626A JP2008273626A JP2010099779A JP 2010099779 A JP2010099779 A JP 2010099779A JP 2008273626 A JP2008273626 A JP 2008273626A JP 2008273626 A JP2008273626 A JP 2008273626A JP 2010099779 A JP2010099779 A JP 2010099779A
- Authority
- JP
- Japan
- Prior art keywords
- bond
- boron nitride
- metal
- hexagonal boron
- superabrasive
- Prior art date
- Legal status (The legal status is an assumption and is not a legal conclusion. Google has not performed a legal analysis and makes no representation as to the accuracy of the status listed.)
- Granted
Links
Images
Landscapes
- Polishing Bodies And Polishing Tools (AREA)
Abstract
【解決手段】六方晶窒化ホウ素を固体潤滑剤として含有するメタルボンド超砥粒、六方晶窒化ホウ素の含有量がベースボンドに対し9重量%以下であるメタルボンド超砥粒によって課題を解決する。
【選択図】図2
Description
機械:搭乗式の乾式グルービングマシン(エンジン式出力36.8kw、使用軸回転数2,300min−1)
ブレード:外径300mm、同一回転軸に40mm間隔で15枚
セグメントチップ:厚さ6mm
切削深さ:6mm
結果:
機械:乾式コンクリートカッター(エンジン式出力12.5kw、軸回転数2,300 min−1)
ブレード:外径300mm、1枚
セグメントチップ::厚さ5mm
切削深さ:6mm
結果:
機械:電動式穿孔機(モータ出力1.5kw、軸回転数4,300 min−1)
穿孔径:25mm
穿孔深さ:250mm
結果:
空気圧:5kg/cm2
砂状砥石:カーボンランダム(粒径約150μm)
噴射距離:40mm
噴射時間:90秒
結果:
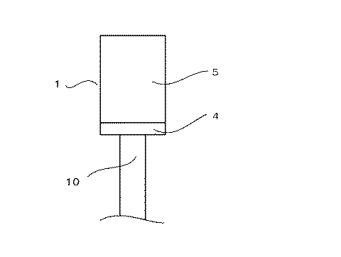
2 外側の層
3 中央の層
4 バッキング層
5 ミックス層
10 基板
Claims (12)
- 六方晶窒化ホウ素を固体潤滑剤として含有するメタルボンド超砥粒。
- 六方晶窒化ホウ素の含有量がベースボンドに対し9重量%以下であるメタルボンド超砥粒。
- 六方晶窒化ホウ素の粒径が50μm以下であることを特徴とする請求項1又は請求項2に記載のメタルボンド超砥粒。
- 六方晶窒化ホウ素がベースボンドと化合していないことを特徴とする請求項1又は請求項2に記載のメタルボンド超砥粒。
- 摩耗性の異なる複数の層を有することを特徴とする請求項1又は請求項2に記載のメタルボンド超砥粒。
- 六方晶窒化ホウ素の含有量が異なる複数の層を有することを特徴とする請求項1又は請求項2に記載のメタルボンド超砥粒。
- 縦方向に並ぶ層構造であって、外方向の層が内方向の層よりも摩耗性が低い層構造を備えることを特徴とする請求項5又は請求項6に記載のメタルボンド超砥粒。
- 複数の層が同一のベースボンドでなることを特徴とする請求項5乃至請求項7のいずれかに記載のメタルボンド超砥粒。
- バッキング層がダイヤモンド又はCBNを含まないことを特徴とする請求項5乃至請求項8のいずれかに記載のメタルボンド超砥粒。
- バッキング層が六方晶窒化ホウ素を含有しないことを特徴とする請求項5乃至請求項9のいずれかに記載のメタルボンド超砥粒。
- グラファイトを固体潤滑剤として含有するメタルボンド超砥粒。
- グラファイトの含有量がベースボンドに対し9重量%以下であり、グラファイトの粒径が50μm以下であることを特徴とする請求項11に記載のメタルボンド超砥粒。
Priority Applications (1)
| Application Number | Priority Date | Filing Date | Title |
|---|---|---|---|
| JP2008273626A JP5479708B2 (ja) | 2008-10-23 | 2008-10-23 | 超砥粒 |
Applications Claiming Priority (1)
| Application Number | Priority Date | Filing Date | Title |
|---|---|---|---|
| JP2008273626A JP5479708B2 (ja) | 2008-10-23 | 2008-10-23 | 超砥粒 |
Publications (2)
| Publication Number | Publication Date |
|---|---|
| JP2010099779A true JP2010099779A (ja) | 2010-05-06 |
| JP5479708B2 JP5479708B2 (ja) | 2014-04-23 |
Family
ID=42290881
Family Applications (1)
| Application Number | Title | Priority Date | Filing Date |
|---|---|---|---|
| JP2008273626A Active JP5479708B2 (ja) | 2008-10-23 | 2008-10-23 | 超砥粒 |
Country Status (1)
| Country | Link |
|---|---|
| JP (1) | JP5479708B2 (ja) |
Citations (11)
| Publication number | Priority date | Publication date | Assignee | Title |
|---|---|---|---|---|
| JPS6288575A (ja) * | 1985-10-14 | 1987-04-23 | Mitsubishi Metal Corp | 研削砥石 |
| JPS6340771A (ja) * | 1986-08-05 | 1988-02-22 | 昭和電工株式会社 | 六方晶窒化硼素の常圧高密度複合焼結体およびその製造方法 |
| JPS63174877A (ja) * | 1987-01-10 | 1988-07-19 | Mitsubishi Metal Corp | 電鋳薄刃砥石 |
| JPH02292166A (ja) * | 1989-05-02 | 1990-12-03 | D T R:Kk | 切断用ダイヤモンドブレード |
| JPH03149186A (ja) * | 1989-11-04 | 1991-06-25 | Toshiba Corp | メタルボンド工具 |
| JPH0912371A (ja) * | 1995-06-29 | 1997-01-14 | Nkk Corp | 窒化ホウ素含有材料およびその製造方法 |
| JPH09262771A (ja) * | 1996-03-29 | 1997-10-07 | Akane:Kk | 砥石、砥石の製造方法、切削具、切削具の製造方法 |
| JPH10315139A (ja) * | 1997-05-08 | 1998-12-02 | Norton Co | 研削装置に取り付けるのに適合する砥粒工具 |
| JPH11309711A (ja) * | 1998-04-30 | 1999-11-09 | Toho Titanium Co Ltd | ダイヤモンドソーブレード及びそれに用いるダイヤモンド砥石の製造方法 |
| JP2002018729A (ja) * | 2000-07-11 | 2002-01-22 | Mitsubishi Materials Corp | 三層構造の砥石及びブレード |
| JP2005103712A (ja) * | 2003-09-30 | 2005-04-21 | Noritake Super Abrasive:Kk | 切断ブレード |
-
2008
- 2008-10-23 JP JP2008273626A patent/JP5479708B2/ja active Active
Patent Citations (11)
| Publication number | Priority date | Publication date | Assignee | Title |
|---|---|---|---|---|
| JPS6288575A (ja) * | 1985-10-14 | 1987-04-23 | Mitsubishi Metal Corp | 研削砥石 |
| JPS6340771A (ja) * | 1986-08-05 | 1988-02-22 | 昭和電工株式会社 | 六方晶窒化硼素の常圧高密度複合焼結体およびその製造方法 |
| JPS63174877A (ja) * | 1987-01-10 | 1988-07-19 | Mitsubishi Metal Corp | 電鋳薄刃砥石 |
| JPH02292166A (ja) * | 1989-05-02 | 1990-12-03 | D T R:Kk | 切断用ダイヤモンドブレード |
| JPH03149186A (ja) * | 1989-11-04 | 1991-06-25 | Toshiba Corp | メタルボンド工具 |
| JPH0912371A (ja) * | 1995-06-29 | 1997-01-14 | Nkk Corp | 窒化ホウ素含有材料およびその製造方法 |
| JPH09262771A (ja) * | 1996-03-29 | 1997-10-07 | Akane:Kk | 砥石、砥石の製造方法、切削具、切削具の製造方法 |
| JPH10315139A (ja) * | 1997-05-08 | 1998-12-02 | Norton Co | 研削装置に取り付けるのに適合する砥粒工具 |
| JPH11309711A (ja) * | 1998-04-30 | 1999-11-09 | Toho Titanium Co Ltd | ダイヤモンドソーブレード及びそれに用いるダイヤモンド砥石の製造方法 |
| JP2002018729A (ja) * | 2000-07-11 | 2002-01-22 | Mitsubishi Materials Corp | 三層構造の砥石及びブレード |
| JP2005103712A (ja) * | 2003-09-30 | 2005-04-21 | Noritake Super Abrasive:Kk | 切断ブレード |
Also Published As
| Publication number | Publication date |
|---|---|
| JP5479708B2 (ja) | 2014-04-23 |
Similar Documents
| Publication | Publication Date | Title |
|---|---|---|
| CN102076462B (zh) | 用于电子工业中的磨料切片工具 | |
| JP5314030B2 (ja) | 硬質かつ/または脆性の材料の研磨加工 | |
| CN1120766C (zh) | 以渗透法硬焊的钻石研磨工具 | |
| JP5755221B2 (ja) | 超硬カッター要素 | |
| PL204390B1 (pl) | Wyrób ścierny na segmentową tarczę szlifierską, tarcza szlifierska segmentowa i sposób wytwarzania wyrobu ściernego | |
| CN103108844B (zh) | Pcbn材料、包含该材料的工具元件及其使用方法 | |
| WO2012145284A2 (en) | Resin bonded grinding wheel | |
| KR101861890B1 (ko) | 취성 재료를 기계 가공하는 연삭 공구 및 연삭 공구 제조 방법 | |
| JP7261246B2 (ja) | 高硬質脆性材用メタルボンド砥石 | |
| JP5479708B2 (ja) | 超砥粒 | |
| JPH10296637A (ja) | 超砥粒砥石 | |
| US20100326416A1 (en) | High speed abrasive cutting blade with simulated teeth | |
| JPH0624700B2 (ja) | ビトリファイド砥石 | |
| JP4234929B2 (ja) | 超砥粒ホイール及びその製造方法 | |
| JPH10296636A (ja) | メタルボンド砥石 | |
| JP4199964B2 (ja) | 超砥粒ホイール及びこれを用いた研削加工方法 | |
| CN110026913B (zh) | 金刚石磨具刀头及其制备方法 | |
| JP4351424B2 (ja) | 超砥粒カッティングホイール | |
| JP2000343437A (ja) | 硬質素材の砥粒緻密化構造 | |
| JP2012254486A (ja) | 超高圧焼結体回転切削工具 | |
| JPH0420745B2 (ja) | ||
| JP2008012625A (ja) | ソーブレード | |
| JP2016209993A (ja) | 層状セグメントを有する切断物品 | |
| JP2002292571A (ja) | 超砥粒ホイール及びその製造方法 | |
| CN113474123A (zh) | 含玻璃填料的金属结合剂磨石 |
Legal Events
| Date | Code | Title | Description |
|---|---|---|---|
| A621 | Written request for application examination |
Free format text: JAPANESE INTERMEDIATE CODE: A621 Effective date: 20111019 |
|
| A977 | Report on retrieval |
Free format text: JAPANESE INTERMEDIATE CODE: A971007 Effective date: 20130328 |
|
| A131 | Notification of reasons for refusal |
Free format text: JAPANESE INTERMEDIATE CODE: A131 Effective date: 20130329 |
|
| A521 | Request for written amendment filed |
Free format text: JAPANESE INTERMEDIATE CODE: A523 Effective date: 20130527 |
|
| A131 | Notification of reasons for refusal |
Free format text: JAPANESE INTERMEDIATE CODE: A131 Effective date: 20131004 |
|
| A521 | Request for written amendment filed |
Free format text: JAPANESE INTERMEDIATE CODE: A523 Effective date: 20131203 |
|
| TRDD | Decision of grant or rejection written | ||
| A01 | Written decision to grant a patent or to grant a registration (utility model) |
Free format text: JAPANESE INTERMEDIATE CODE: A01 Effective date: 20140207 |
|
| A61 | First payment of annual fees (during grant procedure) |
Free format text: JAPANESE INTERMEDIATE CODE: A61 Effective date: 20140213 |
|
| R150 | Certificate of patent or registration of utility model |
Ref document number: 5479708 Country of ref document: JP Free format text: JAPANESE INTERMEDIATE CODE: R150 |
|
| R250 | Receipt of annual fees |
Free format text: JAPANESE INTERMEDIATE CODE: R250 |
|
| R250 | Receipt of annual fees |
Free format text: JAPANESE INTERMEDIATE CODE: R250 |
|
| R250 | Receipt of annual fees |
Free format text: JAPANESE INTERMEDIATE CODE: R250 |
|
| R250 | Receipt of annual fees |
Free format text: JAPANESE INTERMEDIATE CODE: R250 |
|
| R250 | Receipt of annual fees |
Free format text: JAPANESE INTERMEDIATE CODE: R250 |
|
| R250 | Receipt of annual fees |
Free format text: JAPANESE INTERMEDIATE CODE: R250 |
|
| R250 | Receipt of annual fees |
Free format text: JAPANESE INTERMEDIATE CODE: R250 |
|
| R250 | Receipt of annual fees |
Free format text: JAPANESE INTERMEDIATE CODE: R250 |
|
| R250 | Receipt of annual fees |
Free format text: JAPANESE INTERMEDIATE CODE: R250 |
|
| R250 | Receipt of annual fees |
Free format text: JAPANESE INTERMEDIATE CODE: R250 |
