JP2010099713A - シリンダヘッド鋳造型およびシリンダヘッド鋳造方法 - Google Patents

シリンダヘッド鋳造型およびシリンダヘッド鋳造方法 Download PDF

Info

Publication number
JP2010099713A
JP2010099713A JP2008274644A JP2008274644A JP2010099713A JP 2010099713 A JP2010099713 A JP 2010099713A JP 2008274644 A JP2008274644 A JP 2008274644A JP 2008274644 A JP2008274644 A JP 2008274644A JP 2010099713 A JP2010099713 A JP 2010099713A
Authority
JP
Japan
Prior art keywords
valve seat
jig
stem guide
casting
cylinder head
Prior art date
Legal status (The legal status is an assumption and is not a legal conclusion. Google has not performed a legal analysis and makes no representation as to the accuracy of the status listed.)
Granted
Application number
JP2008274644A
Other languages
English (en)
Other versions
JP5516840B2 (ja
Inventor
Akira Kikuchi
亮 菊池
Current Assignee (The listed assignees may be inaccurate. Google has not performed a legal analysis and makes no representation or warranty as to the accuracy of the list.)
Toyota Motor Corp
Original Assignee
Toyota Motor Corp
Priority date (The priority date is an assumption and is not a legal conclusion. Google has not performed a legal analysis and makes no representation as to the accuracy of the date listed.)
Filing date
Publication date
Application filed by Toyota Motor Corp filed Critical Toyota Motor Corp
Priority to JP2008274644A priority Critical patent/JP5516840B2/ja
Publication of JP2010099713A publication Critical patent/JP2010099713A/ja
Application granted granted Critical
Publication of JP5516840B2 publication Critical patent/JP5516840B2/ja
Active legal-status Critical Current
Anticipated expiration legal-status Critical

Links

Images

Landscapes

  • Molds, Cores, And Manufacturing Methods Thereof (AREA)

Abstract

【課題】鋳包みされたバルブシートとステムガイドとの位置精度を確保し、且つコストの増加が抑制されるシリンダヘッド鋳造型およびシリンダヘッド鋳造方法を提供する。
【解決手段】バルブシート2とステムガイド3とを鋳包み治具4に装着して一体化し、該鋳包み治具4をポート中子14と一体に造形し、さらに、該ポート中子14と一体化された鋳包み治具4の嵌入部11を下型のチャンバ造形部9に形成された凹部10に嵌入させて鋳造型を構成した。したがって、シリンダヘッドに鋳包みされたバルブシート2とステムガイド3との位置精度を確保することができる。加工によりバルブシートの位置ずれを吸収する従来技術と比較して工数を大幅に削減することができ、製造コストの増加を抑制することができる。
【選択図】図4

Description

本発明は、シリンダヘッド鋳造型およびシリンダヘッド鋳造方法に関するもので、特に、バルブシートとステムガイドとを鋳包みするシリンダヘッド鋳造型およびシリンダヘッド鋳造方法に関する。
一般に、バルブシートとステムガイドとを鋳包みしてシリンダヘッドを鋳造する場合、バルブシートとステムガイドとの相対的な位置精度が問題となる。従来、バルブシートのステムガイドに対する位置ずれは、バルブシートの径方向の肉厚を増やして鋳造後にバルブシートを加工することで吸収していたが、加工により工数が増大するのに加え、バルブシートが大型化することからバルブシート単体のコストも増大する。さらに、加工後、バルブシートは、肉厚が不均一になりエンジン作動時における冷却が不均一になることから、バルブシートの位置ずれを加工により吸収することは好ましくない。
そこで、特許文献1には、バルブシートとステムガイドとを一体化し、この状態でバルブシートとステムガイドとをシリンダヘッドに鋳包みするセラミックバルブガイドおよびシートが開示されている。しかしながら、特許文献1のセラミックバルブガイドおよびシートでは、バルブシートとステムガイドとを2本のコネクタにより接続して一体化させていることから製造コストが大幅に上昇する。さらに、一体化したバルブシートおよびステムガイドを鋳造型内部に高い精度で位置決めする手段については記載がない。
米国特許4,688,527号公報
そこで本発明は、上記事情に鑑みてなされたもので、鋳包みされたバルブシートとステムガイドとの位置精度を確保し、且つコストの増加が抑制されるシリンダヘッド鋳造型およびシリンダヘッド鋳造方法を提供することを課題としてなされたものである。
上記課題を解決するために、本発明のシリンダヘッド鋳造型は、バルブシートとステムガイドとを鋳包みするシリンダヘッド鋳造型であって、前記バルブシートの内周面が嵌合されるバルブシート嵌合軸と、該バルブシート嵌合軸に嵌合された前記バルブシートの一端面が当接されるバルブシート当接面と、前記バルブシート嵌合軸に対して同軸に設けられて前記ステムガイドの内周面が嵌合されるステムガイド嵌合軸と、該ステムガイド嵌合軸に嵌合された前記ステムガイドの一端面が当接されるステムガイド当接面と、前記鋳造型のチャンバ造形部に形成された凹部に嵌入される嵌入部と、が形成される鋳包み治具を有し、さらに、前記バルブシートと前記ステムガイドとが装着された前記鋳包み治具が一体に構成されるポート中子を有することを特徴とする。
上記課題を解決するために、本発明のシリンダヘッド鋳造方法は、バルブシートとステムガイドとを鋳包みするシリンダヘッドの鋳造方法であって、前記バルブシートの内周面が嵌合されるバルブシート嵌合軸と、該バルブシート嵌合軸に嵌合された前記バルブシートの一端面が当接されるバルブシート当接面と、前記バルブシート嵌合軸に対して同軸に設けられて前記ステムガイドの内周面が嵌合されるステムガイド嵌合軸と、該ステムガイド嵌合軸に嵌合された前記ステムガイドの一端面が当接されるステムガイド当接面と、鋳造型のチャンバ造形部に形成された凹部に嵌入される嵌入部と、を有する鋳包み治具を形成しておいて、前記バルブシートと前記ステムガイドとを前記鋳包み治具に装着して一体化させる部品装着ステップと、前記バルブシートと前記ステムガイドとが装着された前記鋳包み治具が一体化されたポート中子を形成する中子形成ステップと、該中子形成ステップで形成された前記ポート中子を、前記鋳包み治具の嵌入部を前記チャンバ造形部の凹部に嵌入させて前記鋳造型を形成する型合せステップと、前記鋳造型に溶湯を注湯して前記シリンダヘッドを鋳造する鋳造ステップと、前記シリンダヘッドを型抜き後、該シリンダヘッドから前記ポート中子を取り除く型ばらしステップと、前記シリンダヘッドに鋳包みされた前記バルブシートと前記ステムガイドとから前記鋳包み治具を軸方向へ引抜く治具引抜きステップと、を含むことを特徴とする。
(発明の態様)
以下に、本願において特許請求が可能と認識されている発明(以下、請求可能発明と称する)の態様を例示し、例示された各態様について説明する。ここでは、各態様を、特許請求の範囲と同様に、項に区分すると共に各項に番号を付し、必要に応じて他の項の記載を引用する形式で記載する。これは、請求可能発明の理解を容易にするためであり、請求可能発明を構成する構成要素の組み合わせを、以下の各項に記載されたものに限定する趣旨ではない。つまり、請求可能発明は、各項に付随する記載、実施形態の記載等を参酌して解釈されるべきであり、その解釈に従う限りにおいて、各項の態様にさらに他の構成要素を付加した態様も、また、各項の態様から構成要素を削除した態様も、請求可能発明の一態様となり得る。
なお、以下の各項において、(1)〜(8)項の各々が、請求項1〜8の各々に相当する。
(1)バルブシートとステムガイドとを鋳包みするシリンダヘッド鋳造型であって、バルブシートの内周面が嵌合されるバルブシート嵌合軸と、該バルブシート嵌合軸に嵌合されたバルブシートの一端面が当接されるバルブシート当接面と、バルブシート嵌合軸に対して同軸に設けられてステムガイドの内周面が嵌合されるステムガイド嵌合軸と、該ステムガイド嵌合軸に嵌合されたステムガイドの一端面が当接されるステムガイド当接面と、鋳造型のチャンバ造形部に形成された凹部に嵌入される嵌入部と、が形成される鋳包み治具を有し、さらに、バルブシートとステムガイドとが装着された鋳包み治具が一体に構成されるポート中子を有することを特徴とするシリンダヘッド鋳造型。
本項に記載のシリンダヘッド鋳造型によれば、バルブシートを鋳包み治具のバルブシート嵌合軸に嵌合して当該バルブシートの一端面を鋳包み治具のバルブシート当接面に当接させ、同時に、ステムガイドを鋳包み治具のステムガイド嵌合軸に嵌合して当該ステムガイドの一端面を鋳包み治具のステムガイド当接面に当接させる。これにより、鋳包み治具上において、バルブシートとステムガイドとの相互間の位置精度を確保することができる。そして、このバルブシートとステムガイドとが装着された鋳包み治具を一体にしてポート中子を形成し、さらに、このポート中子を、鋳包み治具の嵌入部を当該鋳造型のチャンバ造形部に形成された凹部に嵌合させる。これにより、鋳造型において、バルブシートとステムガイドとが装着された鋳包み治具を含むポート中子の位置精度を確保することができる。
(2)ポート中子は、バルブシートとステムガイドとが装着された鋳包み治具が一体に造形される(1)のシリンダヘッド鋳造型。
本項に記載のシリンダヘッド鋳造型によれば、ポート中子の造形時に、バルブシートとステムガイドとが装着された鋳包み治具を一体に造形することにより、ポート中子に、バルブシートとステムガイドとが装着された鋳包み治具を一体に形成することができる。
(3)ポート中子は、バルブシートとステムガイドとが装着された鋳包み治具が嵌入される治具嵌入穴を有する(1)のシリンダヘッド鋳造型。
本項に記載のシリンダヘッド鋳造型によれば、ポート中子の治具嵌入穴に、バルブシートとステムガイドとが装着された鋳包み治具を嵌入させることにより、ポート中子に、バルブシートとステムガイドとが装着された鋳包み治具を一体に構成することができる。
本項の態様において、ポート中子の治具嵌入穴は、ポート中子の造形時に同時に造形することができる。また、治具嵌入穴の内径は、ステムガイドの外径に対して規定の嵌め合いに設定される。
(4)鋳包み治具は、軸方向へ延びる中空部を有し、シリンダヘッドの鋳造完了後、中空部が加圧あるいは減圧されて鋳包み治具の収縮が促進される(1)−(3)のシリンダヘッド鋳造型。
本項に記載のシリンダヘッド鋳造型によれば、シリンダヘッドの鋳造完了後、中空部を加圧あるいは減圧して鋳包み治具の収縮を促進させることにより、鋳造されたシリンダヘッドのバルブシートおよびステムガイドから鋳包み治具を簡単に引抜くことができる。
(5)バルブシートとステムガイドとを鋳包みするシリンダヘッドの鋳造方法であって、バルブシートの内周面が嵌合されるバルブシート嵌合軸と、該バルブシート嵌合軸に嵌合されたバルブシートの一端面が当接されるバルブシート当接面と、バルブシート嵌合軸に対して同軸に設けられてステムガイドの内周面が嵌合されるステムガイド嵌合軸と、該ステムガイド嵌合軸に嵌合されたステムガイドの一端面が当接されるステムガイド当接面と、鋳造型のチャンバ造形部に形成された凹部に嵌入される嵌入部と、を有する鋳包み治具を形成しておいて、バルブシートとステムガイドとを鋳包み治具に装着して一体化させる部品装着ステップと、バルブシートとステムガイドとが装着された鋳包み治具が一体化されたポート中子を形成する中子形成ステップと、該中子形成ステップで形成されたポート中子を、鋳包み治具の嵌入部をチャンバ造形部の凹部に嵌入させて鋳造型を形成する型合せステップと、鋳造型に溶湯を注湯してシリンダヘッドを鋳造する鋳造ステップと、シリンダヘッドを型抜き後、該シリンダヘッドからポート中子を取り除く型ばらしステップと、シリンダヘッドに鋳包みされたバルブシートとステムガイドとから鋳包み治具を軸方向へ引抜く治具引抜きステップと、を含むことを特徴とするシリンダヘッド鋳造方法。
本項に記載のシリンダヘッド鋳造方法によれば、部品装着ステップでは、バルブシートを鋳包み治具のバルブシート嵌合軸に嵌合して当該バルブシートの一端面を鋳包み治具のバルブシート当接面に当接させ、同時に、ステムガイドを鋳包み治具のステムガイド嵌合軸に嵌合して当該ステムガイドの一端面を鋳包み治具のステムガイド当接面に当接させる。これにより、鋳包み治具上において、バルブシートとステムガイドとの相互間の位置精度を確保することができる。また、中子形成ステップでは、部品装着ステップにより得られたバルブシートとステムガイドとが装着された鋳包み治具を一体に形成したポート中子を得ることができる。さらに、型合せステップでは、中子形成ステップにより得られたポート中子を、鋳包み治具の嵌入部を当該鋳造型のチャンバ造形部に形成された凹部に嵌合させて鋳造型を形成することにより、鋳造型において、バルブシートとステムガイドとが装着された鋳包み治具を含むポート中子の位置精度を確保することができる。
したがって、本項に記載のシリンダヘッドの鋳造方法を採用することにより、バルブシート、ステムガイド、ポートおよび燃焼室間の相対的な位置精度が確保されたシリンダヘッドを得ることができる。また、鋳造後のバルブシートの加工によりバルブシートとステムガイドとの間の位置精度を得ていた従来技術と比較して、バルブシートを薄肉化して軽量化することができると共に、加工が廃止されることで製造工程における工数を大幅に削減することができる。さらに、バルブシートをシリンダヘッドに鋳包みすることで、バルブシートとシリンダヘッドとの界面における接触が密になることから、シリンダヘッドにバルブシートを圧入する従来技術と比較して、バルブシートの抜け強度および冷却性能を向上させることができる。
(6)中子形成ステップは、ポート中子に、バルブシートとステムガイドとが装着された鋳包み治具を一体に造形する(5)のシリンダヘッド鋳造方法。
本項に記載のシリンダヘッドの鋳造方法によれば、ポート中子の造形時に、バルブシートとステムガイドとが装着された鋳包み治具を一体に造形することにより、ポート中子に、バルブシートとステムガイドとが装着された鋳包み治具を一体に構成することができる。
(7)中子形成ステップは、治具嵌入穴を有するポート中子を造形する中子造形ステップと、ポート中子の治具嵌入穴に、バルブシートとステムガイドとが装着された鋳包み治具を嵌入させる治具嵌入ステップと、を含む(5)のシリンダヘッド鋳造方法。
本項に記載のシリンダヘッドの鋳造方法によれば、ポート中子の治具嵌入穴に、バルブシートとステムガイドとが装着された鋳包み治具を嵌入させることにより、ポート中子に、バルブシートとステムガイドとが装着された鋳包み治具を一体に構成することができる。
(8)鋳包み治具に軸方向へ延びる中空部を設けておいて、治具引抜きステップでは、中空部を加圧あるいは減圧させて鋳包み治具の収縮を促進させる(5)−(7)のシリンダヘッド鋳造方法。
本項に記載のシリンダヘッドの鋳造方法によれば、シリンダヘッドの鋳造完了後、中空部を加圧あるいは減圧して鋳包み治具の収縮を促進させることにより、鋳造されたシリンダヘッドのバルブシートおよびステムガイドから鋳包み治具を簡単に引抜くことができる。また、治具引抜きステップで引抜かれた鋳包み治具は再利用することができ、経済的にも優れる。
鋳包みされたバルブシートとステムガイドとの位置精度を確保し、且つコストの増加が抑制されるシリンダヘッド鋳造型およびシリンダヘッド鋳造方法を提供することができる。
本発明の一実施形態を図1〜図5に基いて説明する。本実施形態では、バルブシート2とステムガイド3とを鋳包みしてシリンダヘッド1(図1参照)を鋳造する鋳造型を説明する。なお、上型、下型ならびに寄型を含む鋳造型の基本構造は、従来の鋳造型と同一であるので詳細な説明を省く。
図2に示されるように、本実施形態の鋳造型は、バルブシート2とステムガイド3とが相対的に位置決めされた状態で装着される鋳包み治具4を有する。該鋳包み治具4は、頭部5と軸部6とを有する。頭部5は、バルブシート2の内周面2aが嵌合されるバルブシート嵌合軸7と、該バルブシート嵌合軸7に嵌合されたバルブシート2の一端面2b(バルブが当接される側の面)が当接されるバルブシート当接面8と、鋳造型(下型)のチャンバ造形部9に形成された凹部10に嵌入される嵌入部11と、を有する。嵌入部11は、母線の傾斜角度がθ(以下、嵌入部11の傾斜角度θという)である裁頭円錐状に形成される。
なお、嵌入部11の傾斜角度θは、鋳造されたシリンダヘッド1を下型のチャンバ造形部9から型抜きする時に型抜き方向へアンダーにならないように設定される。また、凹部10(穴)と嵌入部11(軸)とのクリアランス(嵌め合い)は、鋳包み治具4が鋳造型の内部でがたつくことがないように設定される。そして、チャンバ造形部9は、シリンダヘッド1のチャンバ(燃焼室)を造形する型であり、下型に着脱可能に設けられる。
軸部6は、バルブシート嵌合軸7に対して同軸に設けられてステムガイド3の内周面3aが嵌合されるステムガイド嵌合軸12と、該ステムガイド嵌合軸12に嵌合されたステムガイド3の一端面3bが当接されるステムガイド当接面13と、を有する。そして、本実施形態では、鋳包み治具4のバルブシート嵌合軸7にバルブシート2の内周面2aを嵌合させると共にバルブシート当接面8にバルブシート2の一端面2bを当接させ、さらに、鋳包み治具4のステムガイド嵌合軸12にステムガイド3の内周面3aを嵌合させると共にステムガイド当接面13にステムガイド3の一端面3bを当接させる。これにより、バルブシート2とステムガイド3とは、相対的に位置決めされた状態、すなわち、バルブシート2とステムガイド3との同軸度が確保され、且つバルブシート2に対してステムガイド3が軸方向へ位置決めされた状態で、鋳包み治具4に装着されて一体化される。
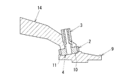
図3に示されるように、鋳造型の内部にセットされるポート中子14は、バルブシート2とステムガイド3とが装着された鋳包み治具4を一体に造形することで得られる。これにより、本実施形態では、ポート中子14とバルブシート2およびステムガイド3との相対的な位置精度が確保される。さらに、図4に示されるように、ポート中子14と一体化された鋳包み治具4の嵌入部11をチャンバ造形部9の凹部10に嵌入させることにより、チャンバ造形部9、ポート中子14、バルブシート2およびステムガイド3の相対的な位置精度が確保される。これにより、シリンダヘッド1においては、チャンバ(燃焼室)、吸気側あるいは排気側ポート、バルブシート2およびステムガイド3の相対的な位置精度を確保することができる。
本実施形態では、バルブシート2と鋳包み治具4のバルブシート嵌合軸7との間の摩擦力が、シリンダヘッド1とバルブシート2との界面における接合力よりも小さく設定される。また、ステムガイド3と鋳包み治具4のステムガイド嵌合軸12との間の摩擦力が、シリンダヘッド1とステムガイド3との界面における接合力よりも小さく設定される。これにより、バルブシート2およびステムガイド3をシリンダヘッド1に残して鋳包み治具4をバルブシート2およびステムガイド3から引抜くことができる。
また、鋳包み治具4は、軸方向へ延びて頭部5および軸部6のそれぞれの端面に開口する中空部15を有する。本実施形態では、シリンダヘッド1を型抜き後、鋳包み治具4の中空部15を加圧あるいは減圧して鋳包み治具4の収縮を促進させることにより、図5に示されるように、鋳包み治具4をバルブシート2およびステムガイド3から容易に引抜くことができる。さらに、鋳包み治具4は、ステムガイド嵌合軸12の外周面に、軸心を中心とする環状の溝が設けられる。これにより、ステムガイド3とスムガイド嵌合軸12との接触面積が低減し、ステムガイド3から鋳包み治具4を容易に引抜くことができる。
次に、上述した鋳造型を使用してシリンダヘッド1を鋳造する方法を説明する。本実施形態では、バルブシート2とステムガイド3とを鋳包みしてアルミ合金製のシリンダヘッド1(図1参照)を鋳造する方法を説明する。なお、バルブシート2およびステムガイド3が鋳包みされるのは、吸気側のポートに対応するそれぞれ8個のバルブシート2およびステムガイド3とする。また、鋳造の基本的な工程は、従来の低圧鋳造法と同一であるので詳細な説明を省く。
(部品装着ステップ)
まず、鋳包み治具4のバルブシート嵌合軸7にバルブシート2の内周面2aを嵌合させ、該バルブシート2の一端面2bをバルブシート当接面8に当接させる。次に、鋳包み治具4のステムガイド嵌合軸12にステムガイド3の内周面3aを嵌合させ、該ステムガイド3の一端面3bをステムガイド当接面13に当接させる。これにより、バルブシート2とステムガイド3とが、相対的に位置決めされた状態で鋳包み治具4に装着されて一体化される。なお、鋳包み治具4にステムガイド3を装着後、該鋳包み治具4にバルブシート2を装着することもできる。
(中子形成ステップ)
次に、バルブシート2とステムガイド3とが装着された鋳包み治具4を、ポート中子14を造型する金型にセットしてポート中子14を造形する。これにより、バルブシート2とステムガイド3とが装着された鋳包み治具4を一体化したポート中子14を得ることができる。
(型合せステップ)
次に、鋳包み治具4の嵌入部11をチャンバ造形部9の凹部10に嵌入させてバルブシート2とステムガイド3とが装着された鋳包み治具4およびこれらが一体化されたポート中子14を鋳造型にセットし、鋳造型を構成して型締めする。
(鋳造ステップ)
次に、鋳造型のキャビティに溶湯を充填する。
(型ばらしステップ)
キャビティに充填された溶湯の凝固が完了した後、鋳造型を型開きし、さらに、シリンダヘッド1を鋳造型から型抜きする。この時、鋳包み治具4の嵌入部11の傾斜角度θが、チャンバ造形部9の凹部10に対して型抜き方向へアンダーにならないように設定されているので、嵌入部11がチャンバ造形部9に引っ掛かることがない。
(治具引抜きステップ)
次に、型抜きされたシリンダヘッド1に残された鋳包み治具4の中空部15を加圧あるいは減圧して鋳包み治具4の収縮を促進させた後、図5に示されるように、シリンダヘッド1からバルブシート2およびステムガイド3を残して鋳包み治具4を引抜く。これにより、バルブシート2とステムガイド3とが鋳包みされたシリンダヘッド1を得ることができる。
この実施形態では以下の効果を奏する。
本実施形態によれば、バルブシート2とステムガイド3とを鋳包み治具4に装着して一体化し、該鋳包み治具4をポート中子14と一体に造形し、さらに、該ポート中子14と一体化された鋳包み治具4の嵌入部11を下型のチャンバ造形部9に形成された凹部10に嵌入させて鋳造型を構成し、該鋳造型によりバルブシート2とステムガイド3とを鋳包みしてシリンダヘッド1を鋳造した。
したがって、バルブシート2とステムガイド3との相対的な位置精度が確保されるのは勿論、バルブシート2、ステムガイド3、ポートおよびチャンバ(燃焼室)の相互の相対的な位置関係が確保されたシリンダヘッド1を得ることができる。また、鋳包み治具4は繰返し使用することができることから、製造コストの増加を抑制することができる。
また、本実施形態によれば、肉厚が厚めに設定されたバルブシートを鋳包みしてシリンダヘッドを鋳造し、加工によりバルブシートの位置ずれを吸収する従来技術と比較した場合、バルブシートの薄肉化ひいてはバルブシートの軽量化が可能になる。さらに、バルブシートの加工を廃止することができ、工数を大幅に削減することができる。
また、本実施形態によれば、鋳造により得られたシリンダヘッドにバルブシートを圧入する従来技術と比較して、バルブシート2のシリンダヘッド3に対する抜け強度を確保することができる。さらに、鋳包みしたことでシリンダヘッドとバルブシートとの界面がより密に接していることから、バルブシートの冷却性能を向上させることができる。
また、本実施形態によれば、鋳包み治具4の引抜き時に、鋳包み治具4の中空部15を加圧あるいは減圧させて鋳包み治具4の収縮を促進させたので、鋳包み治具4をシリンダヘッド1から容易に引抜くことができる。
なお、実施形態は上記に限定されるものではなく、例えば次のように構成してもよい。
上述した態様では、バルブシート2とステムガイド3とが装着された鋳包み治具4を一体に造形してポート中子14を得たが、ポート中子14は、必ずしも鋳包み治具4を一体に造形する必要はない。例えば、図6に示されるように、ポート中子14の造形時に、当該ポート中子14に治具嵌入穴14aを造形しておいて(中子造形ステップ)、該治具嵌入穴14aに、バルブシート2とステムガイド3とが装着された鋳包み治具4を嵌入させることで(治具嵌入ステップ)、ポート中子14に、バルブシート2とステムガイド3とが装着された鋳包み治具4を一体に構成することができる。
これにより、ポート中子14に、バルブシート2とステムガイド3とが装着された鋳包み治具4を一体に造形する上述した態様と同一の作用効果を奏することができる。なお、治具嵌入穴14aに、バルブシート2とステムガイド3とが装着された鋳包み治具4を嵌入する場合、実質的には、当該鋳包み治具4のステムガイド嵌合軸12に装着されたステムガイド3の外周面3cが、治具嵌入穴14aに嵌入される。また、鋳包み治具4の頭部5の当接面5aがポート中子14の端面14bに当接されることにより、バルブシート2とステムガイド3とが装着された鋳包み治具4を軸方向へ位置決めすることができる。さらに、治具嵌入穴14aの内径は、ステムガイド3の外径に対して規定の嵌め合いに設定される。
シリンダヘッドの概略を示す平面図である。 バルブシートとステムガイドとが装着された鋳包み治具の軸断面図である。 図2の鋳包み治具が一体に造形されたポート中子の軸断面図である。 鋳包み治具の嵌入部がチャンバ造形部の凹部に嵌入されて図3のポート中子が鋳造型にセットされた状態を示す本実施形態の説明図である。 シリンダヘッドからバルブシートおよびステムガイドを残して鋳包み治具を引抜いた状態を示す本実施形態の説明図である。 他の実施形態の説明図であって、ポート中子の治具嵌入穴に、バルブシートとステムガイドとが装着された鋳包み治具が嵌入される態様の軸断面図である。
符号の説明
1 シリンダヘッド、2 バルブシート、3 ステムガイド、4 鋳包み治具、7 バルブシート嵌合軸、8 バルブシート当接面、9 チャンバ造形部、10 凹部、11 嵌入部、12 ステムガイド嵌合軸、13 ステムガイド当接面、14 ポート中子、15 中空部

Claims (8)

  1. バルブシートとステムガイドとを鋳包みするシリンダヘッド鋳造型であって、
    前記バルブシートの内周面が嵌合されるバルブシート嵌合軸と、該バルブシート嵌合軸に嵌合された前記バルブシートの一端面が当接されるバルブシート当接面と、前記バルブシート嵌合軸に対して同軸に設けられて前記ステムガイドの内周面が嵌合されるステムガイド嵌合軸と、該ステムガイド嵌合軸に嵌合された前記ステムガイドの一端面が当接されるステムガイド当接面と、前記鋳造型のチャンバ造形部に形成された凹部に嵌入される嵌入部と、が形成される鋳包み治具を有し、
    さらに、前記バルブシートと前記ステムガイドとが装着された前記鋳包み治具が一体に構成されるポート中子を有することを特徴とするシリンダヘッド鋳造型。
  2. 前記ポート中子は、前記バルブシートと前記ステムガイドとが装着された前記鋳包み治具が一体に造形されることを特徴とする請求項1に記載のシリンダヘッド鋳造型。
  3. 前記ポート中子は、前記バルブシートと前記ステムガイドとが装着された前記鋳包み治具が嵌入される治具嵌入穴を有することを特徴とする請求項1に記載のシリンダヘッド鋳造型。
  4. 前記鋳包み治具は、軸方向へ延びる中空部を有し、前記シリンダヘッドの鋳造完了後、前記中空部が加圧あるいは減圧されて前記鋳包み治具の収縮が促進されることを特徴とする請求項1−3のいずれかに記載のシリンダヘッド鋳造型。
  5. バルブシートとステムガイドとを鋳包みするシリンダヘッドの鋳造方法であって、
    前記バルブシートの内周面が嵌合されるバルブシート嵌合軸と、該バルブシート嵌合軸に嵌合された前記バルブシートの一端面が当接されるバルブシート当接面と、前記バルブシート嵌合軸に対して同軸に設けられて前記ステムガイドの内周面が嵌合されるステムガイド嵌合軸と、該ステムガイド嵌合軸に嵌合された前記ステムガイドの一端面が当接されるステムガイド当接面と、鋳造型のチャンバ造形部に形成された凹部に嵌入される嵌入部と、を有する鋳包み治具を形成しておいて、
    前記バルブシートと前記ステムガイドとを前記鋳包み治具に装着して一体化させる部品装着ステップと、
    前記バルブシートと前記ステムガイドとが装着された前記鋳包み治具が一体化されたポート中子を形成する中子形成ステップと、
    該中子形成ステップで形成された前記ポート中子を、前記鋳包み治具の嵌入部を前記チャンバ造形部の凹部に嵌入させて前記鋳造型を形成する型合せステップと、
    前記鋳造型に溶湯を注湯して前記シリンダヘッドを鋳造する鋳造ステップと、
    前記シリンダヘッドを型抜き後、該シリンダヘッドから前記ポート中子を取り除く型ばらしステップと、
    前記シリンダヘッドに鋳包みされた前記バルブシートと前記ステムガイドとから前記鋳包み治具を軸方向へ引抜く治具引抜きステップと、
    を含むことを特徴とするシリンダヘッド鋳造方法。
  6. 前記中子形成ステップは、前記ポート中子に、前記バルブシートと前記ステムガイドとが装着された前記鋳包み治具を一体に造形することを特徴とする請求項5に記載のシリンダヘッド鋳造方法。
  7. 前記中子形成ステップは、治具嵌入穴を有する前記ポート中子を造形する中子造形ステップと、前記ポート中子の前記治具嵌入穴に、前記バルブシートと前記ステムガイドとが装着された前記鋳包み治具を嵌入させる治具嵌入ステップと、を含むことを特徴とする請求項5に記載のシリンダヘッド鋳造方法。
  8. 前記鋳包み治具に軸方向へ延びる中空部を設けておいて、
    前記治具引抜きステップでは、前記中空部を加圧あるいは減圧させて前記鋳包み治具の収縮を促進させることを特徴とする請求項5−7のいずれかに記載のシリンダヘッド鋳造方法。
JP2008274644A 2008-10-24 2008-10-24 シリンダヘッド鋳造型およびシリンダヘッド鋳造方法 Active JP5516840B2 (ja)

Priority Applications (1)

Application Number Priority Date Filing Date Title
JP2008274644A JP5516840B2 (ja) 2008-10-24 2008-10-24 シリンダヘッド鋳造型およびシリンダヘッド鋳造方法

Applications Claiming Priority (1)

Application Number Priority Date Filing Date Title
JP2008274644A JP5516840B2 (ja) 2008-10-24 2008-10-24 シリンダヘッド鋳造型およびシリンダヘッド鋳造方法

Publications (2)

Publication Number Publication Date
JP2010099713A true JP2010099713A (ja) 2010-05-06
JP5516840B2 JP5516840B2 (ja) 2014-06-11

Family

ID=42290822

Family Applications (1)

Application Number Title Priority Date Filing Date
JP2008274644A Active JP5516840B2 (ja) 2008-10-24 2008-10-24 シリンダヘッド鋳造型およびシリンダヘッド鋳造方法

Country Status (1)

Country Link
JP (1) JP5516840B2 (ja)

Citations (6)

* Cited by examiner, † Cited by third party
Publication number Priority date Publication date Assignee Title
JPS5926229A (ja) * 1982-08-03 1984-02-10 Hitachi Zosen Corp 遠心成形方法
JPS6372465A (ja) * 1986-09-11 1988-04-02 Honda Motor Co Ltd 鋳型構造
JP2000507504A (ja) * 1996-03-29 2000-06-20 ブライシュタール プロドゥクツィオーンス―ゲゼルシャフト ミット ベシュレンクテル ハフツング ウント コンパニー コマンディー トゲゼルシャフト 内燃機関用のシリンダヘッドの製法
JP2002239714A (ja) * 2001-02-16 2002-08-28 Ryobi Ltd シリンダヘッドの製造方法、シリンダヘッド、及びシリンダヘッド用のバルブシート素材
JP2005118863A (ja) * 2003-10-20 2005-05-12 Nissan Motor Co Ltd 鋳造装置
JP2005238245A (ja) * 2004-02-24 2005-09-08 Toyota Industries Corp 鋳造品の鋳造方法及び鋳造品

Patent Citations (6)

* Cited by examiner, † Cited by third party
Publication number Priority date Publication date Assignee Title
JPS5926229A (ja) * 1982-08-03 1984-02-10 Hitachi Zosen Corp 遠心成形方法
JPS6372465A (ja) * 1986-09-11 1988-04-02 Honda Motor Co Ltd 鋳型構造
JP2000507504A (ja) * 1996-03-29 2000-06-20 ブライシュタール プロドゥクツィオーンス―ゲゼルシャフト ミット ベシュレンクテル ハフツング ウント コンパニー コマンディー トゲゼルシャフト 内燃機関用のシリンダヘッドの製法
JP2002239714A (ja) * 2001-02-16 2002-08-28 Ryobi Ltd シリンダヘッドの製造方法、シリンダヘッド、及びシリンダヘッド用のバルブシート素材
JP2005118863A (ja) * 2003-10-20 2005-05-12 Nissan Motor Co Ltd 鋳造装置
JP2005238245A (ja) * 2004-02-24 2005-09-08 Toyota Industries Corp 鋳造品の鋳造方法及び鋳造品

Also Published As

Publication number Publication date
JP5516840B2 (ja) 2014-06-11

Similar Documents

Publication Publication Date Title
JP3149374B2 (ja) 自転車用中空クランクとその製造方法
KR100611274B1 (ko) 매몰 주조법
JP6535584B2 (ja) コンプレッサハウジングの製造方法
JP2008212942A (ja) シリンダブロックの製造方法
WO2005123300A1 (ja) 金型装置及びシリンダブロックの製造方法
JP2019089075A (ja) ダイカスト鋳造装置
JP2014018833A (ja) 軸部品の製造方法
JP5516840B2 (ja) シリンダヘッド鋳造型およびシリンダヘッド鋳造方法
CN107199312B (zh) 集成缸盖的快速铸造及成形方法
US7934908B2 (en) Impeller manufacturing method and impeller
EP2570207B1 (en) Mold for casting a workpiece that includes one or more casting pins
EP2018916B1 (en) Method of manufacturing a cylinder body of an engine
JPH08276243A (ja) シリンダーヘッド鋳型用中子
WO2016148103A1 (ja) 吸気ポート形成用砂中子及びその製造方法と、シリンダヘッドの鋳造装置
JP3348602B2 (ja) シリンダブロックの製造方法およびダイカスト金型
JPH0586971A (ja) 内燃機関用ピストンの製造方法
WO2014045642A1 (ja) シリンダブロックの製造方法
JP2006055868A (ja) 鋳造方法および鋳造用金型
JPS6345898B2 (ja)
KR101905924B1 (ko) 실린더헤드 및 이의 제조 방법
JP2009148792A (ja) コンロッドの製造方法及びコンロッド鍛造用金型
JP2002254136A (ja) 多気筒シリンダーブロック中子造型用コアーボックス
JP2001003807A (ja) シリンダスリーブ構造
JPH1119761A (ja) ダイカスト用金型
JP2010082686A (ja) 鋳造装置及び鋳造方法並びにこの鋳造方法によって製造したシリンダブロック

Legal Events

Date Code Title Description
A621 Written request for application examination

Free format text: JAPANESE INTERMEDIATE CODE: A621

Effective date: 20101108

A977 Report on retrieval

Free format text: JAPANESE INTERMEDIATE CODE: A971007

Effective date: 20120613

A131 Notification of reasons for refusal

Free format text: JAPANESE INTERMEDIATE CODE: A131

Effective date: 20120725

A521 Written amendment

Free format text: JAPANESE INTERMEDIATE CODE: A523

Effective date: 20120913

A131 Notification of reasons for refusal

Free format text: JAPANESE INTERMEDIATE CODE: A131

Effective date: 20130626

A521 Written amendment

Free format text: JAPANESE INTERMEDIATE CODE: A523

Effective date: 20130801

TRDD Decision of grant or rejection written
A01 Written decision to grant a patent or to grant a registration (utility model)

Free format text: JAPANESE INTERMEDIATE CODE: A01

Effective date: 20140305

A61 First payment of annual fees (during grant procedure)

Free format text: JAPANESE INTERMEDIATE CODE: A61

Effective date: 20140318