JP2010099673A - バルブシート形成用シリンダヘッド支持装置 - Google Patents

バルブシート形成用シリンダヘッド支持装置 Download PDF

Info

Publication number
JP2010099673A
JP2010099673A JP2008271327A JP2008271327A JP2010099673A JP 2010099673 A JP2010099673 A JP 2010099673A JP 2008271327 A JP2008271327 A JP 2008271327A JP 2008271327 A JP2008271327 A JP 2008271327A JP 2010099673 A JP2010099673 A JP 2010099673A
Authority
JP
Japan
Prior art keywords
cylinder head
valve seat
valve
pallet
positioning
Prior art date
Legal status (The legal status is an assumption and is not a legal conclusion. Google has not performed a legal analysis and makes no representation as to the accuracy of the status listed.)
Granted
Application number
JP2008271327A
Other languages
English (en)
Other versions
JP5040029B2 (ja
Inventor
Kazunori Kawai
和紀 河井
Makoto Ouchi
誠 大内
Yukiya Yokoyama
幸也 横山
Current Assignee (The listed assignees may be inaccurate. Google has not performed a legal analysis and makes no representation or warranty as to the accuracy of the list.)
Honda Motor Co Ltd
Original Assignee
Honda Motor Co Ltd
Priority date (The priority date is an assumption and is not a legal conclusion. Google has not performed a legal analysis and makes no representation as to the accuracy of the date listed.)
Filing date
Publication date
Application filed by Honda Motor Co Ltd filed Critical Honda Motor Co Ltd
Priority to JP2008271327A priority Critical patent/JP5040029B2/ja
Publication of JP2010099673A publication Critical patent/JP2010099673A/ja
Application granted granted Critical
Publication of JP5040029B2 publication Critical patent/JP5040029B2/ja
Expired - Fee Related legal-status Critical Current
Anticipated expiration legal-status Critical

Links

Images

Landscapes

  • Laser Beam Processing (AREA)

Abstract

【課題】 シリンダヘッドのバルブシート部に対するレーザ肉盛り加工の位置精度を向上することができるバルブシート形成用シリンダヘッド支持装置を提供する。
【解決手段】 バルブシート形成用シリンダヘッド支持装置30は、シリンダヘッド10を支持するパレット20及び支持台42、シリンダヘッド10の肉盛り部が形成されるバルブシート部18に対応するバルブステムのガイド穴40に挿入する位置決めピン38を基準としてシリンダヘッド10を位置決めする位置決め機構32、及び位置決め機構32で位置決めされたシリンダヘッド10をバルブステムのガイド穴40の軸線回りに回転させるシリンダヘッド回転機構34を備える。
【選択図】 図2

Description

本発明は、シリンダヘッドに配列された複数のバルブシート部に金属粉末を供給しながら該金属粉末にレーザ光を照射して溶融した後に固化させることで肉盛部を形成するために該シリンダヘッドを支持するバルブシート形成用シリンダヘッド支持装置に関する。
シリンダヘッドに直線状に配列して設けた複数のバルブシート部のそれぞれのレーザ肉盛り加工による被形成面を実質的に水平となるよう支持するシリンダヘッド支持台及び、シリンダヘッドを、形成すべきバルブシート部の軸線を中心にシリンダヘッド支持台と共に、レーザ肉盛り加工時に回転させる回転駆動機構をそれぞれ備えた支持部と、シリンダヘッド支持台に対し係脱可能とする連結部を備え、かつこの連結部をシリンダヘッド支持台に対して連結した状態でシリンダヘッドを、バルブシート部の配列方向にシリンダヘッド支持台と共に、形成すべきバルブシート部の軸線に回転駆動機構の回転軸線が整合した状態となるようスライド移動させて移動位置決めする位置決め部とを有するバルブシート形成用シリンダヘッド支持装置が知られている(特許文献1参照)。
尚、従来から前記形成すべきバルブシート部、すなわち肉盛り部のシリンダヘッドの母材料と肉盛り部にできあがった組織との材料的な品質の向上及び安定のために、シリンダヘッド全体を常温よりも高い一定の温度にするように、一定の温度の予熱を掛けることが実施されている。
特許第3641904号公報
上記従来技術では、比較的高温のレーザ光による肉盛り加工により、シリンダヘッドに熱変形が生じてバルブシート部の位置が変位することがある。従って、シリンダヘッドをスライド移動させて移動位置決めしてするレーザ肉盛り加工はバルブシート部の位置に対して位置精度が低い加工となる場合がある。
そこで、シリンダヘッドの熱変形の影響を除去するために、シリンダヘッドのレーザ肉盛り加工前に、シリンダヘッド全体を常温よりも高い一定の温度にしてレーザ光による熱影響を受ける肉盛り部とシリンダヘッド全体の温度との差温を小さくするように、材料的な品質の向上及び安定を兼ねた、位置精度的な品質の向上及び安定のための一定の温度の予熱を均一に掛けて予め熱変形したシリンダヘッドのバルブシート部の位置を予測することが考えられる。
しかし、予熱温度にばらつきがある場合には、熱変形したシリンダヘッドのバルブシート部の位置を予測することが困難になる。また、シリンダヘッドに掛ける予熱はシリンダヘッド全体が均一の温度になることによって、熱変形したシリンダヘッドのバルブシート部の位置を予測する精度が高まるが、シリンダヘッド全体が均一の温度になるのには時間が掛かるという問題がある。
本発明は、シリンダヘッドのバルブシート部に対するレーザ肉盛り加工の位置精度を向上することができるバルブシート形成用シリンダヘッド支持装置を提供することを目的とする。
本発明のバルブシート形成用シリンダヘッド支持装置は、シリンダヘッドに配列された複数のバルブシート部に金属粉末を供給しながら該金属粉末にレーザ光を照射して溶融した後に固化させることで肉盛り部を形成するために該シリンダヘッドを支持するバルブシート形成用シリンダヘッド支持装置であって、前記シリンダヘッドを支持する支持手段と、前記支持手段に設けられ、前記シリンダヘッドの前記肉盛り部が形成されるバルブシート部に対応するバルブステムのガイド穴に挿入する位置決めピンを基準として前記シリンダヘッドを位置決めする位置決め手段と、前記位置決め手段で位置決めされた前記シリンダヘッドを前記バルブステムのガイド穴の軸線回りに回転させる回転手段とを備えたことを特徴とする。
本発明によれば、位置決め手段の位置決めピンにより位置決めされたシリンダヘッドが、シリンダヘッドの肉盛り部が形成されるバルブシート部に対応するバルブステムのガイド穴の軸線回りに回転される。従って、シリンダヘッドのバルブシート部に対するレーザ肉盛り加工の位置精度を向上することができる。
また、本発明のバルブシート形成用シリンダヘッド支持装置は、前記回転手段には、前記シリンダヘッドのマニホールドを介して、前記バルブシート部近傍の大気を吸引する吸引手段、又は前記バルブシート部に対してガスを供給するガス供給手段を有することが好ましい。
この好ましい形態によれば、シリンダヘッドのバルブシート部がレーザ肉盛り加工のレーザ光により加熱された場合、バルブシート部近傍の大気を吸引するか又はバルブシート部に対してガスを供給してシリンダヘッドを冷却するため、シリンダヘッドのバルブシート部に対する熱の影響を小さくすることができる。
図1は、本発明に適用されるシリンダヘッドを示す斜視図である。シリンダヘッド10は、直方体状に形成されている。シリンダヘッド10には、複数のシリンダに対応するシリンダヘッド凹部12が形成されている。シリンダヘッド凹部12には、シリンダに給気するため又はシリンダから排気するための一方のポート14と他方のポート15が形成されている。また、シリンダヘッド10には、シリンダに給気するため又はシリンダから排気するための通路で一方のポート14又は他方のポート15と連通しているマニホールド16が形成されている。一方のポート14及び他方のポート15の内周面には、バルブが当接するバルブシート部18が形成されている。
シリンダヘッド10は、パレット20に4箇所のクランプアーム21で固定されている。パレット20は、下端に2対の基準面22,24を有すると共に上端に有するこの水平な基準面26を有する。シリンダヘッド10は、パレット20の上端に水平な基準面26に固定されている。パレット20の下端に2対の基準面22,24は、1対の基準面22が、パレット20の左側の2本の脚22a,22bの下面に形成され、他の1対の基準面24が、パレット20の右側の2本の脚24a,24bの下面に形成されている。
図2、図3は、本発明のバルブシート形成用シリンダヘッド支持装置を説明するための図である。バルブシート形成用シリンダヘッド支持装置30は、パレット20、位置決め機構32、シリンダヘッド回転機構34、チルト機構35、及び支持台42から概略構成されている。
位置決め機構32は、シリンダ36及び位置決めピン38から構成されている。位置決めピン38は、シリンダヘッド10のレーザ肉盛り加工がされるバルブシート部18に対応するバルブステムのガイド穴40に嵌合するように挿入されてシリンダヘッド10を位置決めする。位置決め機構32の位置決めピン38はシリンダ36で進退される。
前述のシリンダに吸気するため又はシリンダから排気するためのバルブは、この軸線を中心に径方向に対照である。この軸線に延在するバルブステムは、シリンダヘッドに設けられたバルブステムのガイド穴40を摺接して、バルブを支えている。バルブステムが摺動しつつバルブが開閉しながら、バルブが開状態のときに、バルブシート部にバルブが当接する訳である。バルブステムのガイド穴40の軸線に当該バルブシート部は、対象形状をしている。
レーザ肉盛り加工は、金属粉末を供給しながらこの金属粉末にレーザ光を照射して溶融した後に固化させることで肉盛り部を形成する加工である。レーザ肉盛り加工に際しては、溶融した金属粉末を冷却するように、シリンダヘッド10のマニホールド16を介してバルブシート部18に対してガスを供給するか、又はマニホールド16を介してバルブシート部18近傍の大気を吸引する。金属粉末としては、耐熱性及び耐摩耗性に優れた例えば銅合金の金属粉末が挙げられる。肉盛り層形成後は、機械加工によって平滑なバルブシート面が形成される。
パレット20は、下端に設けられている1対の基準面22又は他の1対の基準面24が支持台42により支持されると共に、支持台42に設けられているクランパ44により固定される。
支持台42は、シリンダヘッド10、パレット20、位置決め機構32、シリンダヘッド回転機構34、及びチルト機構35を支持する。位置決め機構32は、シリンダ36が支持台42に固定されることで支持台42に支持されている。シリンダヘッド回転機構34は、例えば、位置決め機構32と同軸である支持台42の回転テーブルに固定されているウォームホイールを支持台42に固定されているウォームにより回転する機構から構成される。チルト機構35は、支持台42を左右方向に回転させる機構である。
パレット20と支持台42との間には、パレット20を介してシリンダヘッド10を加熱する加熱部46が設けられている。加熱部46の温度は、例えば、温度測定手段によって測定されたバルブシート部18の近傍の温度に基づいて、シリンダヘッド10を所定温度に維持するように制御される。
次に、本発明のバルブシート形成用シリンダヘッド支持装置30の動作について説明する。
図3は、本発明のバルブシート形成用シリンダヘッド支持装置の動作について説明する図である。
まず、図3(b)に示すように、パレット20に固定されたシリンダヘッド10のレーザ肉盛り加工がされる一方のポート14のバルブシート部18に対応するバルブステムのガイド穴40に、垂直状態の位置決めピン38を挿入して、シリンダヘッド10が固定されているパレット20を支持台42に投入する。
次いで、図3(a)に示すように、チルト機構35により支持台42を左側に傾けると共に、バルブシート部18の被加工面が実質的に水平となるように支持台42を略45°にすると共に、支持台42をシリンダヘッド回転機構34により位置決めピン38の軸回りに回転させてレーザ肉盛り加工をする。その後、再び図3(b)のように戻して更に、図3(c)に示すように、シリンダヘッド10を位置決めピン38から抜いてシリンダヘッド10が固定されたパレット20を位置決めピン38の上方に移動する。
そして、図3(d)に示すように、図3(a)でレーザ肉盛り加工されたバルブシート部18の一方のポート14と対となる他方のポート15のバルブシート部18に対応するバルブステムのガイド穴40が、支持台42の位置決めピン38の真下となるようにシリンダヘッドが固定されたパレット20を回転する。
その後、図3(e)に示すように、図3(d)の他方のポート15のバルブシート部18に対応するバルブステムのガイド穴40に位置決めピン38を挿入してシリンダヘッド10を位置決めする。
そして、前記図3(a)での肉盛り加工と同様の位置関係で図3(d)の他方のポート15のバルブシート部18の被加工面にレーザ肉盛り加工ができるように、図3(f)に示すように、シリンダヘッド回転機構34により位置決めピン38の軸回りに回転させる。
その後、図3(g)に示すように、図3(a)と同様に、チルト機構35により支持台42を左側に傾けると共に、バルブシート部18の被加工面が実質的に水平となるように支持台42を略45°にすると共に、支持台42をシリンダヘッド回転機構34により位置決めピン38の軸回りに回転させてレーザ肉盛り加工をする。
その後、再び図3(f)のように戻して、図3(c)と同様に、シリンダヘッド10を位置決めピン38から抜いて、シリンダヘッド10が固定されたパレット20を支持台42から排出する。
尚、図3(a)及び図3(g)のレーザ肉盛り加工時には、シリンダヘッド10の、肉盛り部が形成されるべきバブルシート部18に対応するバブルステムのガイド穴40を、位置決め手段の位置決めピン38により、直接的に支承する。ところで、当該バルブシート部18は、シリンダヘッド10が暖められると、該シリンダヘッド10の長手方向の端部からの位置が大きく変位することがある。比較的高温のレーザ光による肉盛り加工によれば、シリンダヘッド10に熱膨張が生じる。しかしながら、シリンダヘッド10の、肉盛り部が形成されるべきバルブシート部18に対応するバルブステムのガイド穴40を、位置決め手段の位置決めピンにより、直接的に支承するので、比較的高温のレーザ光による肉盛り加工により、シリンダヘッド10に熱変形が生じたとしても、当該肉盛り部が形成されるべきバルブシート部18は、バルブステムのガイド穴40の軸線に対して対象形状をしているから、バルブシート部18の被加工面と、照射するレーザ光の位置とは、比較的ズレず許容できる範囲に収まる。また、シリンダヘッド回転機構34に付設した図示しない金属粉末を冷却するための、マニホールド16を介してバルブシート部18近傍の大気を吸引する吸引手段や又はマニホールド16を介してのガスの供給手段が、シリンダヘッド10をも冷却するので、バルブシート部18の被加工面と、照射するレーザ光の位置とは、よりズレずに許容できる範囲に収まり易い。
尚、図4は、図3(a)及び図3(g)の拡大図である。
図5は、本発明のバルブシート形成用シリンダヘッド支持装置に固定されるシリンダヘッドが固定されたパレットを示す図である。
図5(a)は、最右部に位置する一方のポート14又は他方のポート15のバルブシート部を加工する際に、支持台42に固定されるシリンダヘッド10が固定されたパレット20を示す図である。
最右部に位置する一方のポート14又は他方のポート15のバルブシート部を加工する際には、支持台42のクランパ44c,44d,44e,44fの4箇所でシリンダヘッド10が固定されたパレット20が固定される。
図5(b)は、中央部に位置する一方のポート14又は他方のポート15のバルブシート部を加工する際に、支持台42に固定されるシリンダヘッド10が固定されたパレット20を示す図である。
中央部に位置する一方のポート14又は他方のポート15のバルブシート部を加工する際には、支持台42のクランパ44a,44b,44c,44d,44e,44fの6箇所でシリンダヘッド10が固定されたパレット20が固定される。
図5(c)は、最左部に位置する一方のポート14又は他方のポート15のバルブシート部を加工する際に、支持台42に固定されるシリンダヘッド10が固定されたパレット20を示す図である。
最左部に位置する一方のポート14又は他方のポート15のバルブシート部を加工する際には、支持台42のクランパ44a,44b,44c,44dの4箇所でシリンダヘッド10が固定されたパレット20が固定される。
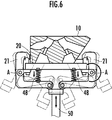
図6は、シリンダヘッドをパレットに固定又は解除する方法を示す図である。シリンダヘッド10は、パレット20に上下端の左右にそれぞれに設けられているクランプアーム21で固定されている。クランプアーム21は、側面視でパレット20を上端部にパレット20を基準面26に押し付ける爪部を有してパレット20の側方で上下方向に延びると共に、パレット20の下方で上下のクランプアーム21が隣接するように水平方向に延びている。そして、パレット20の側方で上下方向に延びている部位Aで回転可能にパレット20に支持されている。
クランプアーム21は、爪部でパレット20を基準面26に押し付けるようにばね等の付勢部材48で付勢されている。
シリンダヘッド10をパレット20から解除は、パレット20の下部で上下のクランプアーム21が隣接する部位をシリンダ50で押圧することでクランプアーム21の部位Aを中心に回転することによりなされる。
以上、本実施形態によれば、位置決めピン38で位置決めされたシリンダヘッド10が、シリンダヘッド10の肉盛り部が形成されるバルブシート部18に対応するバルブステムのガイド穴40の軸線回りに回転される。従って、シリンダヘッド10のバルブシート部18に対するレーザ肉盛り加工の位置精度を向上することができる。
尚、本実施形態のパレット20及び支持台42が、本発明の支持手段に相当する。また、本実施形態の位置決め機構32が、本発明の位置決め手段に相当する。また、本実施形態のシリンダヘッド回転機構34が、本発明の回転手段に相当する。
本発明に適用されるシリンダヘッドを示す斜視図である。 本発明のバルブシート形成用シリンダヘッド支持装置を説明するための図である。 本発明のバルブシート形成用シリンダヘッド支持装置の動作について説明する図である。 図3(a)及び図3(g)の拡大図である。 本発明のバルブシート形成用シリンダヘッド支持装置に固定されるシリンダヘッドが固定されたパレットを示す図である。 シリンダヘッドをパレットに固定又は解除する方法を示す図である。
符号の説明
10…シリンダヘッド、12…シリンダヘッド凹部、14…一方のポート、15…他方のポート、16…マニホールド、18…バルブシート部、20…パレット、22,24,26…基準面、21…クラアアンクアーム、22a,22b,24a,24b…脚、30…バルブシート形成用シリンダヘッド支持装置、32…位置決め機構、34…シリンダヘッド回転機構、35…チルト機構、36…シリンダ、38…位置決めピン、40…ガイド穴、42…支持台、44,44a,44b,44c,44d,44e,44d…クランパ、46…加熱部、48…付勢部材、50…シリンダ。

Claims (2)

  1. シリンダヘッドに配列された複数のバルブシート部に金属粉末を供給しながら該金属粉末にレーザ光を照射して溶融した後に固化させることで肉盛り部を形成するために該シリンダヘッドを支持するバルブシート形成用シリンダヘッド支持装置であって、
    前記シリンダヘッドを支持する支持手段と、
    前記支持手段に設けられ、前記シリンダヘッドの前記肉盛り部が形成されるバルブシート部に対応するバルブステムのガイド穴に挿入する位置決めピンを基準として前記シリンダヘッドを位置決めする位置決め手段と、
    前記位置決め手段で位置決めされた前記シリンダヘッドを前記バルブステムのガイド穴の軸線回りに回転させる回転手段と
    を備えたことを特徴とするバルブシート形成用シリンダヘッド支持装置。
  2. 請求項1に記載のバルブシート形成用シリンダヘッド支持装置において、
    前記回転手段には、前記シリンダヘッドのマニホールドを介して、前記バルブシート部近傍の大気を吸引する吸引手段、又は前記バルブシート部に対してガスを供給するガス供給手段を有することを特徴とするバルブシート形成用シリンダヘッド支持装置。
JP2008271327A 2008-10-21 2008-10-21 バルブシート形成用シリンダヘッド支持装置 Expired - Fee Related JP5040029B2 (ja)

Priority Applications (1)

Application Number Priority Date Filing Date Title
JP2008271327A JP5040029B2 (ja) 2008-10-21 2008-10-21 バルブシート形成用シリンダヘッド支持装置

Applications Claiming Priority (1)

Application Number Priority Date Filing Date Title
JP2008271327A JP5040029B2 (ja) 2008-10-21 2008-10-21 バルブシート形成用シリンダヘッド支持装置

Publications (2)

Publication Number Publication Date
JP2010099673A true JP2010099673A (ja) 2010-05-06
JP5040029B2 JP5040029B2 (ja) 2012-10-03

Family

ID=42290784

Family Applications (1)

Application Number Title Priority Date Filing Date
JP2008271327A Expired - Fee Related JP5040029B2 (ja) 2008-10-21 2008-10-21 バルブシート形成用シリンダヘッド支持装置

Country Status (1)

Country Link
JP (1) JP5040029B2 (ja)

Cited By (6)

* Cited by examiner, † Cited by third party
Publication number Priority date Publication date Assignee Title
CN102049644A (zh) * 2010-11-17 2011-05-11 安徽巨一自动化装备有限公司 柔性支撑单元
CN102785049A (zh) * 2012-08-14 2012-11-21 安徽巨一自动化装备有限公司 主、副定位销切换机构
CN102806435A (zh) * 2012-08-14 2012-12-05 安徽巨一自动化装备有限公司 单导杆主、副定位销切换机构
CN102950412A (zh) * 2012-11-29 2013-03-06 天津福臻工业装备有限公司 翻转切换机构
CN104191145A (zh) * 2014-08-26 2014-12-10 赵夫超 液化气钢瓶阀座的安装焊接固定装置
CN104942520A (zh) * 2015-06-23 2015-09-30 夏艳光 液化石油气钢瓶瓶体环焊缝焊接夹具

Families Citing this family (1)

* Cited by examiner, † Cited by third party
Publication number Priority date Publication date Assignee Title
DE69031559T2 (de) 1989-01-04 1998-02-12 Zellweger Uster Inc Fasertestverfahren

Citations (6)

* Cited by examiner, † Cited by third party
Publication number Priority date Publication date Assignee Title
JPH04351270A (ja) * 1990-09-11 1992-12-07 Toyota Motor Corp バルブシート部処理用シリンダヘッド支持装置
JPH09155583A (ja) * 1995-12-08 1997-06-17 Toyota Motor Corp レーザクラッド加工装置
JPH11783A (ja) * 1997-04-14 1999-01-06 Toyota Motor Corp インデックス装置等およびその制御方法
JPH11245064A (ja) * 1998-03-03 1999-09-14 Nhk Spring Co Ltd ディスク装置用サスペンションのレーザ溶接設備
JP2002035984A (ja) * 2000-07-27 2002-02-05 Nec Oita Ltd レーザ捺印装置
JP2008518785A (ja) * 2004-10-29 2008-06-05 ジョンソン コントロールズ テクノロジー カンパニー レーザ溶接方法およびレーザ溶接装置

Patent Citations (6)

* Cited by examiner, † Cited by third party
Publication number Priority date Publication date Assignee Title
JPH04351270A (ja) * 1990-09-11 1992-12-07 Toyota Motor Corp バルブシート部処理用シリンダヘッド支持装置
JPH09155583A (ja) * 1995-12-08 1997-06-17 Toyota Motor Corp レーザクラッド加工装置
JPH11783A (ja) * 1997-04-14 1999-01-06 Toyota Motor Corp インデックス装置等およびその制御方法
JPH11245064A (ja) * 1998-03-03 1999-09-14 Nhk Spring Co Ltd ディスク装置用サスペンションのレーザ溶接設備
JP2002035984A (ja) * 2000-07-27 2002-02-05 Nec Oita Ltd レーザ捺印装置
JP2008518785A (ja) * 2004-10-29 2008-06-05 ジョンソン コントロールズ テクノロジー カンパニー レーザ溶接方法およびレーザ溶接装置

Cited By (6)

* Cited by examiner, † Cited by third party
Publication number Priority date Publication date Assignee Title
CN102049644A (zh) * 2010-11-17 2011-05-11 安徽巨一自动化装备有限公司 柔性支撑单元
CN102785049A (zh) * 2012-08-14 2012-11-21 安徽巨一自动化装备有限公司 主、副定位销切换机构
CN102806435A (zh) * 2012-08-14 2012-12-05 安徽巨一自动化装备有限公司 单导杆主、副定位销切换机构
CN102950412A (zh) * 2012-11-29 2013-03-06 天津福臻工业装备有限公司 翻转切换机构
CN104191145A (zh) * 2014-08-26 2014-12-10 赵夫超 液化气钢瓶阀座的安装焊接固定装置
CN104942520A (zh) * 2015-06-23 2015-09-30 夏艳光 液化石油气钢瓶瓶体环焊缝焊接夹具

Also Published As

Publication number Publication date
JP5040029B2 (ja) 2012-10-03

Similar Documents

Publication Publication Date Title
JP5040029B2 (ja) バルブシート形成用シリンダヘッド支持装置
CN107658248B (zh) 用于将半导体芯片置于衬底上的系统
JP4805704B2 (ja) 高速試作および製造装置における取外し可能な構築チャンバの位置決め
JPH10286687A (ja) レーザ加工装置およびレーザ加工方法
JP5082671B2 (ja) はんだ修正装置およびはんだ修正方法
KR20070002507A (ko) 레이저 브레이징용 용접 지그 장치
JP4940107B2 (ja) レーザ肉盛りシステム
JP5189824B2 (ja) バルブシートの肉盛り処理方法及びその装置
JP5199823B2 (ja) バルブシート形成用レーザ肉盛り装置及びレーザ肉盛り方法
JP7415841B2 (ja) 自動接合システム
JP7415844B2 (ja) 自動接合システム
JPH0852548A (ja) 浸漬ノズルの取付け取外し装置
JP7382638B2 (ja) 半田付け装置
KR20140137784A (ko) 주편 결함 제거 장치 및 이를 이용한 주편 결함 제거 방법
JP2008149326A (ja) バルブシート部のレーザ肉盛装置
CN111936258A (zh) 用于焊接工艺,特别是电弧增材制造工艺的均匀冷却装置
JP7602254B2 (ja) 半田付け方法および半田付け装置
JP7448396B2 (ja) 成形システム
JP5950439B2 (ja) レーザーマーキング装置及びレーザーマーキング方法
JP5272304B2 (ja) レーザ肉盛装置
CN120326231B (zh) 一种起重机转台零件焊接装置及焊接方法
JP6028909B2 (ja) 封止装置
JP7758339B2 (ja) 鏝先およびそれを備えた半田付け装置、鏝先の状態判定方法
JP2025075202A (ja) 半田付け方法
CN220202042U (zh) 一种带有高温加热功能的激光熔覆设备

Legal Events

Date Code Title Description
A621 Written request for application examination

Free format text: JAPANESE INTERMEDIATE CODE: A621

Effective date: 20101126

A977 Report on retrieval

Free format text: JAPANESE INTERMEDIATE CODE: A971007

Effective date: 20120608

TRDD Decision of grant or rejection written
A01 Written decision to grant a patent or to grant a registration (utility model)

Free format text: JAPANESE INTERMEDIATE CODE: A01

Effective date: 20120612

A01 Written decision to grant a patent or to grant a registration (utility model)

Free format text: JAPANESE INTERMEDIATE CODE: A01

A61 First payment of annual fees (during grant procedure)

Free format text: JAPANESE INTERMEDIATE CODE: A61

Effective date: 20120621

R150 Certificate of patent or registration of utility model

Ref document number: 5040029

Country of ref document: JP

Free format text: JAPANESE INTERMEDIATE CODE: R150

Free format text: JAPANESE INTERMEDIATE CODE: R150

FPAY Renewal fee payment (event date is renewal date of database)

Free format text: PAYMENT UNTIL: 20150720

Year of fee payment: 3

R250 Receipt of annual fees

Free format text: JAPANESE INTERMEDIATE CODE: R250

LAPS Cancellation because of no payment of annual fees