JP2010095842A - 繊維ロープの端末定着方法 - Google Patents

繊維ロープの端末定着方法 Download PDF

Info

Publication number
JP2010095842A
JP2010095842A JP2009215784A JP2009215784A JP2010095842A JP 2010095842 A JP2010095842 A JP 2010095842A JP 2009215784 A JP2009215784 A JP 2009215784A JP 2009215784 A JP2009215784 A JP 2009215784A JP 2010095842 A JP2010095842 A JP 2010095842A
Authority
JP
Japan
Prior art keywords
metal fitting
rope
fiber rope
diameter
strand
Prior art date
Legal status (The legal status is an assumption and is not a legal conclusion. Google has not performed a legal analysis and makes no representation as to the accuracy of the status listed.)
Granted
Application number
JP2009215784A
Other languages
English (en)
Other versions
JP5258719B2 (ja
Inventor
Yasuyuki Fukuda
康之 福田
Masaru Fukuyama
勝 福山
Yoichi Shudo
洋一 首藤
Current Assignee (The listed assignees may be inaccurate. Google has not performed a legal analysis and makes no representation or warranty as to the accuracy of the list.)
Tokyo Seiko Rope Manufacturing Co Ltd
Toko Bridge Co Ltd
Original Assignee
Tokyo Seiko Rope Manufacturing Co Ltd
Toko Bridge Co Ltd
Priority date (The priority date is an assumption and is not a legal conclusion. Google has not performed a legal analysis and makes no representation as to the accuracy of the date listed.)
Filing date
Publication date
Application filed by Tokyo Seiko Rope Manufacturing Co Ltd, Toko Bridge Co Ltd filed Critical Tokyo Seiko Rope Manufacturing Co Ltd
Priority to JP2009215784A priority Critical patent/JP5258719B2/ja
Publication of JP2010095842A publication Critical patent/JP2010095842A/ja
Application granted granted Critical
Publication of JP5258719B2 publication Critical patent/JP5258719B2/ja
Active legal-status Critical Current
Anticipated expiration legal-status Critical

Links

Images

Classifications

    • DTEXTILES; PAPER
    • D07ROPES; CABLES OTHER THAN ELECTRIC
    • D07BROPES OR CABLES IN GENERAL
    • D07B9/00Binding or sealing ends, e.g. to prevent unravelling

Landscapes

  • Ropes Or Cables (AREA)

Abstract

【課題】
接着剤や樹脂などの緩衝材を使用することなく簡易な作業で定着効率がよく信頼性の高い端末定着体を得ることができる繊維ロープの端末定着方法を提供する。
【解決手段】
繊維ロープの端末を定着するにあたり、インナー金具とアウター金具を用い、インナー金具に繊維ロープを挿通し、インナー金具端縁より突出した繊維ロープ端部を解撚し、解撚した各ストランドを折り返し、アウター金具をインナー金具の端方向から挿し合わせ、スエージ加工する。
【選択図】
図2

Description

本発明は繊維ロープの端末定着方法に関する。
船舶の係留、曳航や車両の連結、アンテナ塔や電柱のステー、鉄道や電線の支持、もやい綱、シーアンカー用綱、リードロープ、コンクリートの補強材など、船舶、海事、漁業、陸上のさまざまな分野の用途に繊維線条体が汎用されている。
繊維線状体には、ナイロン、ポリエステル、ポリプロピレン、ポリエチレンなどの汎用繊維、全芳香族ポリアミド繊維、超高分子量ポリエチレン、ポリアリレート繊維などで代表される高強度・高弾性繊維、炭素繊維、アルミナ繊維、炭化珪素繊維などの無機質高性能繊維など種々のものがあり、形態としては、それら繊維のヤーンを集合したストランドの撚合体や編組体、あるいは繊維やストランドに樹脂を含浸させて複合化した撚合体や編組体などがある。また、外周に保護層を被覆したものもある。
これら繊維線条体は所要の長さを有するので繊維ロープと称することができるが、各種用途において、アンカーなどに連結したり、ロープ相互を連結したりするためには、ロープの端末を連結に適した形状に加工する必要がある。
汎用されている繊維ロープの端末加工としては、ロープ端部を輪状にし、端末を解撚したストランドをロープ本体に差し込む「さつま差し」(アイスプライス)のほか、金属製の筒状金具に繊維ロープ端部を挿入してスエージ加工により圧着する方法(圧縮止め)がある。
しかし、繊維ロープは荷重を受けると断面積が変化し、径が細くなる性質を有するので、しっかりと拘束できず、抜けてしまう問題があった。また、繊維は長手方向の引っ張りに対してはワイヤ並みの強度を有するが、直径方向の局部的剪断力や表面の傷などに対しては弱い。そのため、金属製の筒状端末金具にロープ端部を挿入して圧着し、その締め付けが必要以上に強いとロープの直径方向に金具の圧力が剪断力として加わり、繊維に剪断破壊による切断が生じたり、表面組織の破壊に伴うすべりが起こって高い定着効率が得られず、作業者によって強度が出たり出なかったり定着効率にばらつきが大きかった。また、スエージ加工する場合、繊維ロープと筒状金具の伸び率が大きく異なるので、その伸びの差で繊維ロープが引張り力を受けて切断する問題があった。
前記圧着法の対策として、従来、繊維ロープを挿入した金具と繊維ロープの間に樹脂を介在させることにより繊維に加わる剪断力を緩和する方法が提案されている。しかし、この方法は、加工時に繊維と金具との間に充填する樹脂の量や温度など精密な管理を必要とするとともに養生時間を必要とし、非常に手間と時間がかかり、コスト高となり、また、作業にはかなりの熟練が要求される。
しかも、ロープ端末の1ピッチ分程度を解撚して接着面積を増大し、接着剤のアンカー効果を高めているが、ロープ長手方向に引っ張り力が加わって径が細ると、接着剤と金具のアンカー力が減退し、界面で剥離が起こって、定着効率が弱まる問題があった。さらに、この圧着法も、外径がストレートな金具全体に一律に圧縮力を加え、金具内径を一様に縮小させるため、金具口元のロープ部分に剪断荷重が付加され、早期の口元疲労破壊が生じる問題もあった。
さらに、樹脂や接着剤を介して金具と繊維を結合しているため、樹脂や接着剤の劣化が長期の耐久性を損ねる問題もあった。
また、圧縮止めでなく、繊維ロープの端末部1ピッチ程度をストランド状に解撚し、金属製のハウジング内に挿入し、ハウジング内に熱硬化樹脂を注入充満させ、硬化させる方法(金属ソケット樹脂接着加工法)も提案されている。
しかし、この方法も、ロープに引っ張り荷重が加わった場合、ロープ及びストランドの伸びによるロープ径の細径化により、ストランドと樹脂の締結力が減退し、締結効率が低下して抜けてしまいやすい問題があった。
また、ロープと金具との間に充填する樹脂の量や温度など精密な管理を必要とし、硬化するまでに時間がかかり、さらに、時間が経過すると樹脂の劣化が生じ、ロープが抜け出てしまい、長期の耐久性を損なわれる問題があった
特開平8−135090号公報 実開平2−26097号公報 特開昭56−58085号公報
本発明は前記の従来のアイスプライス、金属ソケット樹脂接着加工法、圧縮止めなどの問題点を解消するためになされたもので、その目的とするところは、簡易な作業で定着効率がよく、信頼性の高い端末定着体を得ることができる繊維ロープの端末定着方法を提供することにある。
また、本発明の目的は、コンポジットロープに好適な繊維ロープの端末定着方法を提供することにある。
さらに本発明は、コンポジットタイプでない繊維ロープに対しても、熟練を要さず締結効率が高く安定したコンパクトな定着体を簡単にしかもばらつきなく得ることができる繊維ロープの端末定着方法を提供することにある。
上記目的を達成するため本発明は、繊維ロープの端末を定着するにあたり、インナー金具とアウター金具を用い、インナー金具に繊維ロープを挿通し、インナー金具端縁より突出した繊維ロープ端部を解撚するとともに解撚した各ストランドをインナー金具の外周に折り返し、アウター金具をインナー金具の端方向から挿し合わせ、スエージ加工することを基本的特徴としている。(請求項1)
また、本発明は、繊維ロープの端末を定着するにあたり、ロープを挿通できる径のインナー金具と、口元から奥端に向かってインナー金具を挿入可能な内径の穴を有し、外径側には口元よりも先に突出部を複数形成したアウター金具を用い、インナー金具に繊維ロープを挿通し、インナー金具端縁より突出した繊維ロープ端部を解撚するとともに解撚部分をインナー金具の外周に折り返し、アウター金具をインナー金具の端方向から挿し合わせ、スエージ加工することによりアウター金具外周の各突出部を穴側に反転突出させ、ロープ折り返し部分と中心のロープ部分をそれぞれ波状の反転突出部で圧締することを特徴としている。(請求項4)
請求項1の発明によれば、インナー金具に繊維ロープ端部を挿通させた後、ストランドに解撚し、各ストランドを180度折り返してインナー金具の外周に沿わせ、アウター金具をインナー金具に外嵌するごとく挿し合わせ、このセットをプレス手段でスエージ加工により圧締しているので、繊維ロープと金具の摩擦力が向上し、引っ張り力によるロープ径の細りによる圧縮力低下にも係わらず、高い締結力を発揮することができる。すなわち、繊維ロープは荷重をかけると外径が細って抜けやすくなるが、単に内側の繊維ロープ端部をインナー金具の内面で圧縮するのでなく、ストランドを折り返し、それをアウター金具の内面とインナー金具の外面とで挟圧するので、抜けが防止される。
しかも、定着に樹脂や接着剤などの介在物を用いないため、樹脂の管理などを要さず、作業が簡単になり、作業効率が向上する。さらに、目視による作業管理が容易となり、作業者による品質のばらつきも無く、締結効率が安定した端末定着体が得られる。
第1発明の態様としては、インナー金具が平坦な筒である場合のほか、ロープを解撚したストランドを誘導して収める複数の嵌め溝を端部外表面に備えた筒体からなり、アウター金具がインナー金具を挿入可能な内径の筒部を有している場合を含んでいる。
インナー金具が端部の外表面に解撚したストランドを収める複数の溝を備えている場合には、解撚された各ストランドを折り返すことにより、それぞれ前記溝に的確に誘導して収められ、そうしたインナー金具にアウター金具を挿合わせ、アウター金具を半径方向に強圧して塑性変形させるので、ストランドは偏ることなく周方向に整然と配されつつ隙間なくインナー・アウター金具間に充填され、適度の圧縮圧が加わることでストランドは剪断破壊することなく、ストランドとインナー・アウター金具との接面に広い面積で強い摩擦力が生じ、ロープ長手方向の引っ張り力によるロープ径の細りがあっても、ロープが金具から抜けない。したがって、接着剤類を用いずに確実に定着することができる。
第1発明において、インナー金具がストランド嵌め溝の始端より後方にストランド折り返し空間形成用の細径部を有している。
インナー金具の端部からいきなりストランド嵌め溝が始まるのでなく、ストランド折り返し始端部位にストランド折り返し空間形成用の細径を有しているので、ストランドは幾分半径方向に勾配をつけられつつ滑らかにストランド嵌め溝に誘導され、ストランドが圧着による拘束を受けないので、ストランドの曲げによる強度低下が大幅に緩和され、ストランド折り返し始端部分への圧縮力の影響は小さく、金具内でのロープ損傷防止ができる。したがって、繊維と樹脂とを複合させた硬く剛性のかなり高いコンポジットロープもうまく定着することができる。
アウター金具はインナー金具の端方向から挿し合わせる筒部を有しているだけでよいので、片端にはアイエンド、ネジエンド、フラットエンド、フォークエンドなど多様な端末部形状を取ることができ、連結相手の金具に最も適したものを設定することができる。
繊維ロープはワイヤロープと異なり締結用の金具よりもやわらかいため、圧縮止め方式では必要以上に締め過ぎが生じやすく、締め加減が難しいので、作業者により定着強度に差が現れた、弱すぎてロープが抜け出ることがあるなどばらつきが生じやすかったが、第2発明は、口元から奥端に向かってインナー金具を挿入可能な内径の穴を有し、外径側には口元よりも先に山形状の突出部(太径部)を複数形成したアウター金具を用い、インナー金具に繊維ロープを挿通し、インナー金具端縁より突出した繊維ロープ端部を解撚するとともに解撚した各ストランドをインナー金具の外周に折り返し、アウター金具をインナー金具の端方向から挿し合わせ、スエージ加工することによりアウター金具の各突出部を穴側に反転突出させ、これにより折り返し部分を波状の反転突出部と波状に変形したインナー金具外周面との間で挟み込みむとともに、インナー金具内に挿入されているロープ部分を波状に突出変形したインナー金具で括れさせる。
このようなことから、アウター金具とインナー金具間でロープのストランドを折り返して挟むことにより抜けが防止されるだけでなく、折り返し部分がアウター金具とインナー金具とで挟まれつつ軸方向と直角方向に複数回波状に括れさせられ、アウター金具とインナー金具と折り返し部分が一体化するので,引張りに対して大きな抜け止め効果が得られる。
また、スエージング加工を行うと、繊維ロープの伸びに対して金具側の伸びが大きく、このため前記伸びの差により、追従できない繊維ロープが引張り力を受けて切断してしまう危険があるが、アウター金具の外径側の各突出部が一つずつ分散してスエージされ、かしめ箇所が複数であり、穴側に波状に反転突出させるので、金具の長手方向の伸びが抑えられ、それにより繊維に対する張力が小さくなり、ストレスが抑制される。そして、中心のロープ本体は内側方向に波状に変形したインナー金具により複数の節を持つように括れ締めされるので、繊維ロープの性能を損なわずにそれでいてしっかりと定着することができる。
したがって、樹脂と複合させたコンポジットロープでない通常の形態の繊維ロープにおいても、引張り強さよりも高い定着効率でしかもコンパクトな形状で端末定着部を形成できる。
加工はアウター金具の突出部がなくなり、外形が平らになるまで圧縮すればよく、その状態は目視で確実に判定できるので、熟練を要さずにばらつきのない上記高い締結効率の定着部を簡単に加工することができ、圧縮加工は工場に据付けられる門型プレスなどの大型プレス機に限らず、油圧ジャッキプレスなどの簡易な小型携帯プレス機を使用できるので、ロープ使用現場で実施し、すぐに使用に移すことができる。
アウター金具として、突出部が口元より奥方向における突出部の寸法が大きくなっているものを用いてもよく、こうすれば、口元では繊維ロープを圧締しないのでロープの口元破断が防止され、折り返し部に近いほどアウター金具とインナー金具の内側突出部が大きくなり、折り返し部およびロープ本体に対する圧縮度が増すので、太径部の数を減らすことができ、高い定着効率でしかもコンパクトな形状の端末加工を行える。
(a)〜(f)は本発明が適用される繊維ロープの例を示す斜視図である。 本発明の第1発明による端末定着つき繊維ロープの例を示す側面図である。 図2の端末定着部の縦断側面図である。 図2の端末定着部の横断正面図である。 第1発明に用いられる端末金具の斜視図である。 定着開始前の分解斜視図である。 第1発明の定着工程を示しており、(a)はインナー金具に繊維ロープを挿通した段階の斜視図、(b)はインナー金具から突出したロープを解撚し、ストランドを折り返した状態の斜視図、(c)はアウター金具を挿し合わせた状態を透視で示す斜視図、(d)はスエージ加工状態の斜視図である。 スエージ加工状態の縦断側正面図である。 第1発明の別の態様の定着工程を示し、(a)はインナー金具に繊維ロープを挿通した段階の斜視図、(b)はインナー金具から突出したロープを解撚し、ストランドを折り返した状態の斜視図、(c)はアウター金具を挿し合わせた状態を透視で示す斜視図、(d)はスエージ加工状態の斜視図である。 本発明の第2発明による端末定着つき繊維ロープの例を示す側面図である。 第2発明の端末定着部の拡大縦断側面図である。 (a)は図11のX−X線に沿う断面図、(b)は同じくY−Y線に沿う断面図である。 第2発明に用いる端末金具の斜視図である。 定着開始前の分解斜視図である。 第2発明の定着工程を示しており、(a)はインナー金具に繊維ロープを挿通した段階の斜視図、(b)はインナー金具から突出したロープを解撚し、ストランドを折り返した状態の斜視図、(c)はアウター金具を挿し合わせた状態を透視で示す斜視図、(d)はスエージ加工状態の斜視図である。 定着開始前のセット状態の縦断側面図である。 第2発明におけるアウター金具の別の態様を示す側面図である。 図17のアウター金具を使用した端末定着部を示す縦断側面図である。 第2発明に好適なスエージ加工用プレスの正面図である。 (a)〜(c)はスエージ加工工程を示す説明図である。
本発明において、「繊維ロープ」は材質に限定がなく、ナイロン、ポリエステル、テトロン、ポリプロピレン、ポリエチレンなどの汎用の合成繊維、アラミド繊維、超高分子量ポリエチレン繊維、全芳香族ポリエステル繊維などの高強度低伸度繊維、炭素繊維、アルミナ繊維、炭化珪素繊維などの無機質高性能繊維など限定はない。また、こうした繊維単体である場合のほか、ストランドの段階あるいはロープになってから繊維にエポキシ樹脂、ポリウレタン樹脂、不飽和ポリエステル樹脂など所望の合成樹脂を含浸させて複合化したコンポジットロープも含まれる。
ロープ構造も、8つ打ち、12打ち、24打ち、二重組紐など、原糸を撚合したヤーンを複数本束ねあるいは撚合したストランドを2本一組として編製した編組構造、ストランドを一方向に撚った3つ打ち、4つ打ち、6つ打ちなどの撚り構造など任意である。
以下、本発明の好適な実施態様を添付図面に基づいて説明する。
図1は本発明が適用される繊維ロープの構造例を示しており、(a)は撚合タイプであり、外周に防水用の樹脂被覆が施されている。(b)〜(f)は編組タイプであり、(b)は8つ打ち、(c)は12打ち、(d)はダブルブレード、(e)は(b)または(c)のロープ本体の外周をウレタン樹脂などで樹脂被覆しあるいは樹脂テープをせき巻きし、その外周をポリエステルなどの汎用繊維の編組体からなる保護層で被覆した防水タイプものである。(f)は(b)または(c)のロープの外周をポリエステルなどの汎用繊維の編組体からなる保護層で被覆したり、その外周をウレタン樹脂などの押出し樹脂で被覆したり、樹脂被覆し、さらに編組外層で保護した防水タイプのものである。なお、図示しないが、ロープ本体の外周をポリエステルなどの汎用繊維の編組体からなる保護層で被覆したものなどを含む。
〔第1発明〕
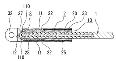
図2ないし図9は第1発明を示しており、図2は本発明により得られた端末定着金具付き繊維ロープの一例を示している。繊維ロープ1と円柱状の端末金具Aからなっており、外観上は従来の圧縮止めによる端末構造と変わるところはない。
図3と図4は図1の端末金具部分の断面を示しており、繊維ロープ1は、この例ではコンポジットタイプ、すなわち、汎用繊維または高強力低伸度繊維あるいは無機質高性能繊維などを主材とし、エポキシ樹脂、ポリウレタン樹脂、不飽和ポリエステル樹脂などの熱硬化性マトリックス樹脂を含浸するなどして複合化したものからなっており、この例では、複数本のストランドを撚り合わせたタイプである。
端末金具Aは,従来のような単一の筒(スリーブ)からなっているのでなく、インナー金具2とアウター金具3とからなっており、繊維ロープ1の端末部はインナー金具2に挿通された状態でストランドが解撚され、そうしたストランド11がインナー金具2の端部で180度折り返されて外表面に沿わされ、その状態でアウター金具3が外挿され、スエージ加工により半径方向から強力に圧締されている。ただしストランドの折り返し局部110にはスエージ加工によるインナー金具、アウター金具の圧着圧力が加わっていない。
図5は本発明の端末金具Aの実例を示しており、インナー金具2とアウター金具3は、アルミニウム、アルミニウム合金、軟鋼、合金鋼、鉄、ステンレス、銅、銅合金などの金属で作られている。
インナー金具2は、内径が繊維ロープ1の外径とほぼ一致する内径を持つ筒体20からなっており、外面軸方向には繊維ロープ1のストランド11を誘導して嵌め合わせる溝22が設けられている。
ストランド嵌め合わせ溝22はストランドと同数を等間隔に配置しており、溝断面形状は半円又は楕円状で、溝深さはアウター金具3の圧締力が働く大きさであり、ストランド径の半分程度からストランド径とほぼ同じ範囲が望ましい。溝の長さはロープ径の6倍以上でできるだけ長いことが望ましい。
ストランド嵌め合わせ溝22はインナー金具2の端面部位から始まっていると、ストランドが急角度で曲げられ、アウター金具3の挿し合わせが円滑に行われにくくなるだけでなく、アウター金具3で折り返し局部が拘束されて剪断力を受ける危険がある。
そこで、インナー金具2のストランド嵌め合わせ溝22の始端よりも後方に、折り返されたストランド11が拘束を受けないようにする空間が形成される。この空間はインナー金具2の端縁からストランド嵌め合わせ溝22の入口にわたって細径部23を形成することで確保されている。これにより折り返されたストランドが潰された状態になり難くなり、またその部分の圧締を避けることができる。
空間の径すなわち細径部23の径は、ストランド嵌め合わせ溝22の底部と略一致する程度がよく、長手方向の長さはストランド径と同程度以上ある。細径部23の縁は面取りしておくことが望ましい。細径部23と反対側の端部は、この例では雄ねじ25が形成されている。
アウター金具3は、前記インナー金具2を挿入できる程度の内径の筒部31を有し、筒部31のインナー金具挿入側とは反対の端部には所望の形状の連結部32が一体形成されている。連結部32はこの例ではアイエンドとなっているが、二股部を形成したフォークエンド、ネジエンドなどでもよいし、フラットエンドなどでもよい。
筒部31のインナー金具挿入側には前記インナー金具のおねじ25と螺合する雌ねじ33が形成されている。ねじ形成分だけインナー金具の外径が増すので挿し合わせが容易となり、折り返されたストランド11の外周に適度の圧着用隙間を確保しつつ、軸方向の挿合わせ位置決めをする作用がある。また、抜け止めと引っ張り強度の向上も図り得る。
図6〜図8は本発明による端末加工の工程を模式的に示している。
まず、図6と図7(a)のように、繊維ロープ1の端部をインナー金具2に挿通し、端部から所要長さ突出させる。次いで図7(b)のように、インナー金具2から突出しているロープ端部を解撚し、この例では6本のストランド11をばらし、それぞれのストランド11を細径部23の端部で180度折り返し、細径部23の外周を経由してストランド嵌め合わせ溝22に導いて嵌め込む。ストランド11はストランド嵌め合わせ溝22の入口位置でいきなり180度反転されるのでなく、細径部23の端230から自由空間の存在で斜め状に滑らかに広がりながらストランド嵌め合わせ溝22に導かれるので、樹脂を含浸硬化させた硬い性状であっても、比較的無理なく収められる。なお、芯ストランドすなわちロープ心12はインナー金具端部付近で切断する。
次いで、図7(c)のようにインナー金具2の端部からアウター金具3を挿合わせ、雄ねじ25と雌ねじ33を螺合する。これにより、ストランド嵌め合わせ溝22に納められている各ストランド11は、外周側がアウター金具3の筒部31の内周面に臨み、折り返し部の始端110はアウター金具3の筒部端部付近に臨む。さらにねじの螺合でインナー金具2とアウター金具3が軸方向で位置決めされ、セット状態が固定される。
次いで、前記インナー金具2とアウター金具3を挿し合わせたセットaをプレス機に装入し、図7(d)の矢印のように半径方向から圧縮するスエージング加工を行う。
図8はこの工程を示しており、凹入部50を有する上下のダイス5,5にセットaを配し、セットaを回転させながらダイス5,5を上下動させ、スエージ加工することでロープと金具を圧締する。
この圧締によりアウター金具3は材質に応じた量で塑性変形して縮径し、それにより折り返されているストランド11は隙間なくインナー金具2とアウター金具3間に充填される。すなわち、ストランド11はストランド嵌め合わせ溝22に半周以上が強圧されると同時に外面側がアウター金具の内周面で強圧される。
この結果、折り返し状態のストランド11には適度の圧縮圧が加わり、剪断破壊することなくストランド11と金具の接面に摩擦力が生じこれがアンカー効果となって拘束力を発揮するので、ロープ長手方向の引張り力によるロープ径の細りがあっても、ロープが金具から抜け出すことがなく、しっかりと定着される。
そして、インナー金具2とアウター金具3の間にはストランド折り返し空間を有するので加工による強度損失がなく、折り返し局部110は図3のように金具穴奥の空間37にあるためスエージ加工によるインナー金具2とアウター金具3の圧縮圧は加わらず、ストランドに対する圧着の影響はない。
それゆえストランド曲げによる強度低下が大幅に緩和され、金具内でのロープ損傷が防止され、定着効率を高くできる。
そして、ロープ本体部分10はアウター金具3から圧縮力を受けたインナー金具2により圧縮力が加えられるが、その圧縮力は軽度であり、引張り力で切断しない。
本発明において、インナー金具2は、図9のように、外周にストランド嵌め合わせ溝22を有しないフラットな外形形状の筒体であってもよい。たとえばロープ構造が図1(b)〜(f)のような編組構造である場合には、このインナー金具タイプを用いることができる。
工程は、図9(a)のように繊維ロープ1の端部をインナー金具2に挿通し、端部から所要長さ突出させる。次いで(b)のように、インナー金具2から突出しているロープ端部を解撚し、8つ打ちロープの場合は4本、12打ちロープの場合には6本のストランド11にばらし、それぞれのストランド11をインナー金具2の端部で180度折り返し、平均的に広げて帽子のようにインナー金具の外周に被せる。
次いで、図9(c)のようにインナー金具2の端部からアウター金具3を挿合わせ、次いで、前記インナー金具2とアウター金具3を挿し合わせたセットaをプレス機に装入し、半径方向から圧縮するスエージング加工を行う。
この圧締によりアウター金具3は塑性変形して縮径し、それにより折り返されているストランド11は隙間なくインナー金具2とアウター金具3間に充填される。すなわち、ストランド11は外面側がアウター金具の内周面で強圧される。
この結果、折り返し状態のストランド11には適度の圧縮圧が加わり、剪断破壊することなくストランド11と金具の接面に摩擦力が生じこれがアンカー効果となって拘束力を発揮するので、ロープ長手方向の引張り力によるロープ径の細りがあっても、ロープが金具から抜け出すことがなく、しっかりと定着される。
〔第2発明〕
図10〜図20は第2発明を示しており、図10は本発明により得られた端末定着金具付き繊維ロープの一例を示している。繊維ロープ1と円柱状の端末金具Aからなっており、外観上は従来の圧縮止め式の端末構造とほとんど変わるところはない。
図11と図12は図10の端末金具部分の断面を示しており、繊維ロープ1は、この例では図1(b)〜(f)で例示するような編組ロープのいずれか(図示するものは図1f)であり、非コンポジットタイプである。しかし、これに限定されるものではなく、撚り構造ロープにも適用され得るし、編組タイプや撚り構造タイプのコンポジットタイプロープにも適用され得る。
端末金具Aはインナー金具2とアウター金具3とからなっており、繊維ロープ1の端末部はインナー金具2に挿通された状態でストランドが解撚され、そうしたストランド11がインナー金具2の端部で180度折り返されて外表面に沿わされ、その状態でアウター金具3が外挿され、スエージ加工により半径方向から強力に圧締される。
こうした点については第1発明と同じであるが、スエージ加工により、アウター金具3は、穴側に、金具長手方向と直角方向ではそれぞれリング状をなし、金具長手方向では波状に反復した複数の反転突出部36が形成されており、ロープ折り返し部分11は前記波状の反転突出部36とこれによる圧縮作用で板厚方向に波状に塑性変形したインナー金具2´の外周面との間で挟み込まれ、さらに中心のロープ部分10は、波状に変形したインナー金具2´の内面で複数箇所が括れさせられている。
インナー金具2とアウター金具3は図13に例をスエージ加工前の状態で示しており、インナー金具2とアウター金具3は、アルミニウム、アルミニウム合金などの軽合金、軟鋼、合金鋼、鉄、ステンレス、銅、銅合金などの金属で作られている。インナー金具2とアウター金具3は別の材質でもよいが、アウター金具3はインナー金具と同等以上の硬さであることが好ましい。
インナー金具2は、内径が繊維ロープ1の外径とほぼ一致する内径を持つ筒体20からなっている。
アウター金具3は、口元から奥端に向かって前記インナー金具2を挿入可能な内径の穴30を有しており、穴30は口元部から奥端に到るまで長手方向でほぼ均一な径となっている。
穴30はロープの挿入奥端側で閉じられ、外部に連結部32を有している。連結部32はねじ形態のほか、フォークエンド、フラットエンドなど連結相手側の金具形状に対応するように形成すればよい。
アウター金具3の外径側は連結部32以外が特殊な形状となっている。すなわち、口元部はスエージ加工の際に圧縮力がほとんど加わらない程度の径にしているが、その口元部位ないしはその近傍から奥端方向に、軸方向と直角方向で環状をなした突出部(太径部)34が複数個形成されている。
詳しくは、各突出部34は、テーパー状に漸次肉厚化した第1部分340と、逆テーパー状に漸次薄肉化した第2部分341が凸の稜線342を境として形成されてなるもので、この例では、そろばん玉状の外観を呈している。
前記突出部34の山形角度αは、圧着するロープの伸びなどの特性に応じてたとえば水平に対し5度〜35度の範囲から適宜設定する。5度以下では圧締効果が弱く、35度以上では括れがきつすぎてせん断力が作用するのであまり好ましくない。稜線342は剪断を考慮して適度に丸みをつけてもよい。反復の回数つまり突出部の数は2個以上であり、図13と図14では5個であるが、6〜10個など圧着するロープの伸びなどの特性に応じて適宜選択すればよい。
薄肉化した第2部分341と次の突出部34の漸次肉厚化した第1部分340の境界には稜線343が形成されて薄肉化しているが、その稜線343は口元部外径と同じかやや太い径にする。
第1部分340と第2部分341は同じ勾配であっても異なる勾配であってもよい。直線状でなく曲線上となっていてもよい。稜線342は面取りがなされあるいは適度に丸みがつけられてもよいが、穴側に反転突出させたときには円弧が付くので尖っていてもよい。
第2発明においても、スエージ加工は第1発明と同様な工程で行われる。
図14のように繊維ロープ1とインナー金具2とアウター金具3を同軸線上に配置する。
繊維ロープ1の端部をインナー金具2に挿通し、端部から所要長さ突出させる。次いでインナー金具2の穴から突出しているロープ端部を解撚し、この例では編組ロープを構成している6本のストランド11にばらし、それぞれのストランド11を広げてインナー金具2の端部で180度折り返し、図15(b)のように帽子のようにインナー金具2の外周に被せる。なお、繊維ロープが撚り構造の場合には芯ストランドすなわちロープ心はインナー金具端部付近で切断する。
次いで、図15(c)のようにインナー金具2の端部からアウター金具3を挿合わせる。図16はこの状態を示しており、各ストランド11は、外周側がアウター金具3の穴30の内周面に臨み、折り返し部の始端110はアウター金具3の穴端部付近に臨む。
次いで、前記インナー金具2とアウター金具3を挿し合わせたセットaをプレス手段に装入し、図15(d)の矢印のように半径方向から圧縮するスエージング加工を行う。
このスエージング加工は第1発明と同じように上下のダイスにセットaを配し、セットaを回転させながらダイスを上下動させることでロープと金具を圧締する。このスエージング加工は、アウター金具3の外形がほぼ平坦になるように好適には段階的に行う。
第1発明では圧締によりアウター金具3は塑性変形して全体が平均して縮径し、それにより折り返されているストランド11は隙間なくインナー金具2とアウター金具3間に充填され、外面側がほぼ均一に縮径したアウター金具の内周面で強圧された。
しかし、第2発明はアウター金具3が加工前に複数の突出部34を反復形成しているので、スエージング加工前の穴30の径は長手方向で同一であったが、スエージ加工後は塑性加工により図11のように金具外径が長手方向で略同一となり、穴30の内径側は加工前の突出部34が塑性変形により反転し、口元部から奥端方向に、弧状ないしテーパー状に凸の第1部分360と第2部分361とからなり、金具長手方向と直角方向ではそれぞれリング状をなし、金具長手方向では波状に反復した複数の反転突出部36が形成される。
この穴内径方向への複数の波状凹凸によりロープとの接触面積と摩擦力が増大し、引き抜きに対する抵抗力となるが、複数の山形状の凹凸でロープにかかる力が分散されるので、ロープ1の伸びが小さい場合にも、損傷を与えずに定着できる。すなわちアウター金具3の伸び率が繊維ロープ1の伸び率よりも大きくても、スエージング加工がアウター金具外形側の複数の突出部34を穴側に反転させる変形を生じさせるので、アウター金具3の伸びが抑えられ、ロープ本体10や反転したストランド11に対する引張り力が軽減され、損傷が防止される。
穴30は口元部では元の径のためロープは圧縮されず、口元破断が防止されるが、口元部から先では、内径方向に凸の第1部分360と第2部分361を一単位とする波状の複数の反転突出部36となり、第1部分360と第2部分361の境の稜線362で中央に向け内径が最も細まり、圧縮量が最大となる。インナー金具2´は前記アウター金具の変形を受けて板厚方向に波状に塑性変形し、これによりストランド11は挟圧一体化して波状になる。
折り返されて挟まれているストランド11と波状のインナー金具2´と前記波状の反転突出部36により接触面積と摩擦力が増すとともに、波を構成する複数の凹凸がアンカー作用をもたらすので、引き抜きに対する大きな抵抗力が発揮される。ストランド11の折り返し局部110は穴30の端部空間に位置し、そこには圧縮圧は加わらないので、切断が抑制される。
中心にあるロープ本体10は、塑性変形した波状のインナー金具2´により接触面の摩擦が増大し、繰り返される括れによる節的な圧縮作用で強固に拘束される。しかし、括れすなわちかしめ部が複数に分散形成されるため、軸方向の伸びが少なく、ロープ本体10にかかる張力を小さくすることができ、切断を的確に防止できる。
図17と図18は第2発明の別の態様を示しており、アウター金具3として、外形側の突出部34の高さを、口元部から奥端方向の途中まであるいは奥端まで漸次増加させたものを用いている。
この方法によれば、反転塑性変形により、図18のようにアウター金具3の穴30が口元部に最大径があり、それから先に反転突出部36が口元部より奥に向うほど大きく突出する形態となり、それに呼応してインナー金具2´の波高さが変化する。このため、ストランド11の括れ度合いとロープ本体10の括れ度合いが、金具口元部より奥に行くに従って均一的に大きくなり、高い拘束作用が発揮される。
スエージ加工は金具全体を1度に加工するのでなく、複数回繰り返し、アウター金具3の外径が口元部及びノーマル肉厚部と略同径の平滑な外径になるようにするのが好適である。
図19はスエージ加工するのに適したスエージ機7の一例を示しており、上下半割りの複数の加工溝72A,72B,72Cを有している。
それら加工溝は、図13の状態の金具3における突出部34よりも径の小さい一つ以上の中間成型用加工溝72A,72Bと、金具3の口元部と略同径の細い仕上げ用加工溝72Cからなっている。中間成型用加工溝72Aと中間成型用加工溝72Bは大きさが異なっている。
このスエージ機7では、図16(a)の状態のセットを中間成型用加工溝72Aまたは中間成型用加工溝72Aにセットし、セットを回転しながら半割りダイス71,71を上下して圧縮する。これにより図20(a)に示す元の金具3は、図6(b)のように突出部34の最大径部分を含む所定の範囲34´が縮径され、その内側部分は塑性変形により穴の内径側に反転される。
そして、最後に仕上げ用加工溝72Cに装填され、セットを回転しながら半割りダイス71,71を上下して圧縮することにより、図20(c)のように金具の長手方向の外径がノーマル肉厚部の外径と略同一となる。
このとき、突出部34が塑性変形により穴30の内径側に反転し、内径方向に山形状の厚肉部となり、凸の第1部分と第2部分が形成され、それらの境の稜線で内径が最も細くなり、圧縮量が最大となる。かかる形状変化を中間成型用加工溝72A、72Bと仕上げ用加工溝72Cによって逐次的に加工するので、しわがよったり、割れが生じたりせず、品質の良好なものとなる。
前記図20の加工は、アウター金具3のひとつずつの突出部34に対して順次行ってもよいし、全部または幾つかの突出部34に対して行ってもよい。
インナー金具は合金鋼製で、長さ146mm、内径11mm、外径26mm、細径部径19mm、外径部に長さ50mm、深さのストランド嵌め込み溝を6本等間隔に形成した。アウター金具は外径34mm、内径27mm、アイエンドを含めた長さ202mmとした。ロープは、アラミド系繊維を撚り合わせ、ポリエステル樹脂を含浸させた構造1+6、直径10.5mm、設計破断強度6tonのコンポーズロープを用いた。
コンポーズロープをインナー金具の筒部に挿通し、ロープ端部を解撚し、ストランドをそれぞれ嵌め込み溝に配置し、アウター金具の筒に挿入し、スエージ加工によりロープを金具に圧着した。
この加工をロープ両端に施し、引っ張り試験機にて引っ張り試験を行った。結果は7.4tonの引っ張り荷重でロープの破断が見られ、金具からのロープの抜けや金具内でのロープ破断などの現象は見られず、設計荷重を上回る強度であった。
繊維ロープは芳香族ポリアミド繊維を8つ打ちに編組した約6mm径(繊維断面積13.9mm2)のロープを強力メンバーとし、外周にポリエステル繊維の12打ちを編組して保護層とし、その外周をウレタン樹脂で被覆した8mm径、設計破断強度26.3kNのロープを用いた。
インナー金具は、長さ80mm、内径9mm、外径13mmのアルミニウム製パイプを使用した。アウター金具は、アルミニウム製で、外径29mm、内径14mm、ねじエンドを含めた長さ130mmとした。アウター金具は、外周に口元から5mm程度の位置から最大径29mm、最小径20mmのそろばん玉状の突出部を約11mm間隔で7個切削加工したものを使用した。
前記ロープの端部のウレタン樹脂被覆および保護層を除去し、ロープ体のみをインナー金具に挿通し、インナー金具から突出したロープ端部を解撚し、8本のストランドを広げてインナー金具の外周に沿って折り返し、折り返し始端側からアウター金具を挿し合わせ、外形のそろばん玉状の突出部が喪失し、最小径部分のなごりである浅い溝が11mm間隔で形成されるように油圧ジャッキプレスにてアウター金具の突出部を1つずつ圧縮加工した。
この加工をロープ両端に対して施して図10のような端末定着体を得た。この加工品を引っ張り試験機にて引っ張り試験を行った。その結果、26.7kNの引っ張り荷重(引張り強さの102%)でロープは破断し、設計荷重を上回るきわめて良好な端末強度であった。
試験片をスライスした結果、ロープは折り返し始端部で破断していることが確認され、口元破断などの現象は見られなかった。折り返しストランド部分は波状の凹凸を繰り返したインナー金具とアウター金具に挟み込まれて一体化した状態で残っていた。
そして、ロープ本体部分については、口元部ではロープ本体は圧縮されず、口元部から先の穴内径方向で外形のそろばん玉状の突出部が反転し、そうした反転突出部で複数の括れを反復形成し、ロープ圧縮状態に強弱を持たせるように分散形成していることにより、ロープに無理がかからず、本来の強度特性を損なうことなく締結できている。したがって、繊維ロープを確実にしかもコンパクトにきわめて高い効率で圧締することができる方法であることがわかる。
1 繊維ロープ
11 ストランド
2 インナー金具
20 筒部
22 ロープ嵌め合わせ溝
23 細径部
3 アウター金具
30 穴
34 突出部
36 反転突出部

Claims (6)

  1. 繊維ロープの端末を定着するにあたり、インナー金具とアウター金具を用い、インナー金具に繊維ロープを挿通し、インナー金具端縁より突出した繊維ロープ端部を解撚するとともに解撚部分をインナー金具の外周に折り返し、アウター金具を前記インナー金具の端方向から挿し合わせ、スエージ加工することを特徴とする繊維ロープの端末定着方法。
  2. インナー金具がロープを解撚したストランドを誘導して収める複数の嵌め溝を端部外表面に備えた筒体からなり、アウター金具がインナー金具を挿入可能な内径の筒部を有している請求項1に記載の繊維ロープの端末定着方法。
  3. インナー金具がストランド嵌め溝の始端より後方にストランド折り返し空間形成用の細径部を有する請求項2に記載の繊維ロープの端末定着方法。
  4. 繊維ロープの端末を定着するにあたり、ロープを挿通できる径のインナー金具と、口元から奥端に向かってインナー金具を挿入可能な内径の穴を有し、外径側には口元よりも先に突出部を複数形成したアウター金具を用い、インナー金具に繊維ロープを挿通し、インナー金具端縁より突出した繊維ロープ端部を解撚するとともに解撚部分をインナー金具の外周に折り返し、アウター金具をインナー金具の端方向から挿し合わせ、スエージ加工することによりアウター金具外周の各突出部を穴側に反転突出させ、ロープ折り返し部分と中心のロープ部分をそれぞれ波状の反転突出部で圧締することを特徴とする繊維ロープの端末定着方法。外形のそろばん玉状の突出部を塑性変形により内径側に反転し
  5. アウター金具として、突出部が口元より奥方向に向うほど寸法が大きくなっているもの用いる請求項4に記載の繊維ロープの端末定着方法。
  6. アウター金具が片端に連結部を有している請求項1ないし5のいずれかに記載の繊維ロープの端末定着方法。
JP2009215784A 2008-09-19 2009-09-17 繊維ロープの端末定着方法 Active JP5258719B2 (ja)

Priority Applications (1)

Application Number Priority Date Filing Date Title
JP2009215784A JP5258719B2 (ja) 2008-09-19 2009-09-17 繊維ロープの端末定着方法

Applications Claiming Priority (3)

Application Number Priority Date Filing Date Title
JP2008240964 2008-09-19
JP2008240964 2008-09-19
JP2009215784A JP5258719B2 (ja) 2008-09-19 2009-09-17 繊維ロープの端末定着方法

Publications (2)

Publication Number Publication Date
JP2010095842A true JP2010095842A (ja) 2010-04-30
JP5258719B2 JP5258719B2 (ja) 2013-08-07

Family

ID=42257719

Family Applications (1)

Application Number Title Priority Date Filing Date
JP2009215784A Active JP5258719B2 (ja) 2008-09-19 2009-09-17 繊維ロープの端末定着方法

Country Status (1)

Country Link
JP (1) JP5258719B2 (ja)

Cited By (4)

* Cited by examiner, † Cited by third party
Publication number Priority date Publication date Assignee Title
CN103357753A (zh) * 2013-06-29 2013-10-23 芜湖精英新型建材有限公司 一种钢丝头压件模具
WO2015083214A1 (ja) * 2013-12-02 2015-06-11 東綱橋梁株式会社 ロープの端末定着方法および端末定着具付きロープ、ロープの端末定着方法に用いる端末金具
CN108406871A (zh) * 2018-03-26 2018-08-17 孙强 强力皮带钢丝绳芯剥离器
JP2018148084A (ja) * 2017-03-07 2018-09-20 林鉅于 パネル用製造過程の積載支持鋼索

Families Citing this family (1)

* Cited by examiner, † Cited by third party
Publication number Priority date Publication date Assignee Title
CN110042686B (zh) * 2019-05-08 2021-07-30 淮南矿业(集团)有限责任公司 一种尾绳头制作工艺

Citations (4)

* Cited by examiner, † Cited by third party
Publication number Priority date Publication date Assignee Title
JPH01272889A (ja) * 1988-04-22 1989-10-31 Tokyo Seiko Co Ltd 高強力低伸度繊維を用いた複合撚合体の端末定着方法
JPH0651299U (ja) * 1992-12-25 1994-07-12 鈴木金属工業株式会社 Pc鋼材の接続具
JPH0827688A (ja) * 1994-07-07 1996-01-30 Tokyo Seiko Co Ltd 多層型繊維複合ケーブルの端末定着方法
JP2010070882A (ja) * 2008-09-19 2010-04-02 Toko Bridge Co Ltd ロープの端末定着方法

Patent Citations (4)

* Cited by examiner, † Cited by third party
Publication number Priority date Publication date Assignee Title
JPH01272889A (ja) * 1988-04-22 1989-10-31 Tokyo Seiko Co Ltd 高強力低伸度繊維を用いた複合撚合体の端末定着方法
JPH0651299U (ja) * 1992-12-25 1994-07-12 鈴木金属工業株式会社 Pc鋼材の接続具
JPH0827688A (ja) * 1994-07-07 1996-01-30 Tokyo Seiko Co Ltd 多層型繊維複合ケーブルの端末定着方法
JP2010070882A (ja) * 2008-09-19 2010-04-02 Toko Bridge Co Ltd ロープの端末定着方法

Cited By (8)

* Cited by examiner, † Cited by third party
Publication number Priority date Publication date Assignee Title
CN103357753A (zh) * 2013-06-29 2013-10-23 芜湖精英新型建材有限公司 一种钢丝头压件模具
WO2015083214A1 (ja) * 2013-12-02 2015-06-11 東綱橋梁株式会社 ロープの端末定着方法および端末定着具付きロープ、ロープの端末定着方法に用いる端末金具
CN105874120A (zh) * 2013-12-02 2016-08-17 东纲桥梁株式会社 绳索的末端固定方法及带末端固定件的绳索、用于绳索的末端固定方法的末端配件
JPWO2015083214A1 (ja) * 2013-12-02 2017-03-16 東綱橋梁株式会社 ロープの端末定着方法および端末定着具付きロープ、ロープの端末定着方法に用いる端末金具
US9869056B2 (en) 2013-12-02 2018-01-16 Tokyo Rope Mfg. Co., Ltd. Rope end-fastening method, rope with end fastener, and end fitting for use in rope end-fastening method
JP2018148084A (ja) * 2017-03-07 2018-09-20 林鉅于 パネル用製造過程の積載支持鋼索
CN108406871A (zh) * 2018-03-26 2018-08-17 孙强 强力皮带钢丝绳芯剥离器
CN108406871B (zh) * 2018-03-26 2024-05-14 广州昊禹机电设备有限公司 强力皮带钢丝绳芯剥离器

Also Published As

Publication number Publication date
JP5258719B2 (ja) 2013-08-07

Similar Documents

Publication Publication Date Title
JP6235041B2 (ja) ロープの端末定着方法および端末定着具付きロープ、ロープの端末定着方法に用いる端末金具
CA2769575C (en) End anchoring structure and method for fiber-reinforced plastic filament body
US20180100560A1 (en) Connector for synthetic and coated wire rope
JP5258719B2 (ja) 繊維ロープの端末定着方法
CN100507177C (zh) 钢绞线穿索器及其穿索的方法
AU2012340126B2 (en) Method of terminating a stranded synthetic filament cable
US20060179619A1 (en) Rope terminator
JP2013249556A (ja) ハイブリッド心ロープ
US20200002947A1 (en) Stranded cable wedge
US10422411B2 (en) Synthetic rope termination
JP5294775B2 (ja) ロープの端末定着方法
US4755076A (en) Spike and socket cable termination
JP5295946B2 (ja) エレベータのロープ端末装置及びロープ装置
WO1994003672A1 (en) Improved core for wire rope
US4136987A (en) Mechanical splice for wire strands
JP6687730B2 (ja) ハイブリッドより線
US4596486A (en) Cable termination
CN202134872U (zh) 绞接电线的拉线端部构造
CN206958164U (zh) 绞线楔
JP4153471B2 (ja) 操作用ロープ
KR100736774B1 (ko) 타이케이블의 제작방법
JP2013087380A (ja) 繊維ロープ用締結具
JPH0730716Y2 (ja) 繊維製ロープの端末処理構造
JP2787288B2 (ja) 鋼製引張材定着装置の製造方法
JPH0730717Y2 (ja) 繊維複合条体の端末構造

Legal Events

Date Code Title Description
RD02 Notification of acceptance of power of attorney

Free format text: JAPANESE INTERMEDIATE CODE: A7422

Effective date: 20110422

RD02 Notification of acceptance of power of attorney

Free format text: JAPANESE INTERMEDIATE CODE: A7422

Effective date: 20110516

A621 Written request for application examination

Free format text: JAPANESE INTERMEDIATE CODE: A621

Effective date: 20111011

A977 Report on retrieval

Free format text: JAPANESE INTERMEDIATE CODE: A971007

Effective date: 20130315

TRDD Decision of grant or rejection written
A01 Written decision to grant a patent or to grant a registration (utility model)

Free format text: JAPANESE INTERMEDIATE CODE: A01

Effective date: 20130326

A61 First payment of annual fees (during grant procedure)

Free format text: JAPANESE INTERMEDIATE CODE: A61

Effective date: 20130423

FPAY Renewal fee payment (event date is renewal date of database)

Free format text: PAYMENT UNTIL: 20160502

Year of fee payment: 3

R150 Certificate of patent or registration of utility model

Ref document number: 5258719

Country of ref document: JP

Free format text: JAPANESE INTERMEDIATE CODE: R150

Free format text: JAPANESE INTERMEDIATE CODE: R150

R250 Receipt of annual fees

Free format text: JAPANESE INTERMEDIATE CODE: R250

R250 Receipt of annual fees

Free format text: JAPANESE INTERMEDIATE CODE: R250

R250 Receipt of annual fees

Free format text: JAPANESE INTERMEDIATE CODE: R250

R250 Receipt of annual fees

Free format text: JAPANESE INTERMEDIATE CODE: R250

R250 Receipt of annual fees

Free format text: JAPANESE INTERMEDIATE CODE: R250

R250 Receipt of annual fees

Free format text: JAPANESE INTERMEDIATE CODE: R250

R250 Receipt of annual fees

Free format text: JAPANESE INTERMEDIATE CODE: R250

R250 Receipt of annual fees

Free format text: JAPANESE INTERMEDIATE CODE: R250

R250 Receipt of annual fees

Free format text: JAPANESE INTERMEDIATE CODE: R250

R250 Receipt of annual fees

Free format text: JAPANESE INTERMEDIATE CODE: R250