JP2010094375A - 安全帯および安全帯の装着確認システム - Google Patents

安全帯および安全帯の装着確認システム Download PDF

Info

Publication number
JP2010094375A
JP2010094375A JP2008269052A JP2008269052A JP2010094375A JP 2010094375 A JP2010094375 A JP 2010094375A JP 2008269052 A JP2008269052 A JP 2008269052A JP 2008269052 A JP2008269052 A JP 2008269052A JP 2010094375 A JP2010094375 A JP 2010094375A
Authority
JP
Japan
Prior art keywords
unit
safety belt
connection
connection state
belt
Prior art date
Legal status (The legal status is an assumption and is not a legal conclusion. Google has not performed a legal analysis and makes no representation as to the accuracy of the status listed.)
Granted
Application number
JP2008269052A
Other languages
English (en)
Other versions
JP5147636B2 (ja
Inventor
Keiji Horai
圭司 蓬莱
Akitomo Kozuki
章智 上月
Yoshiyuki Fujiwara
義行 藤原
Hisafumi Yoshida
尚史 吉田
Current Assignee (The listed assignees may be inaccurate. Google has not performed a legal analysis and makes no representation or warranty as to the accuracy of the list.)
Fujii Denko Co Ltd
Original Assignee
Fujii Denko Co Ltd
Priority date (The priority date is an assumption and is not a legal conclusion. Google has not performed a legal analysis and makes no representation as to the accuracy of the date listed.)
Filing date
Publication date
Application filed by Fujii Denko Co Ltd filed Critical Fujii Denko Co Ltd
Priority to JP2008269052A priority Critical patent/JP5147636B2/ja
Publication of JP2010094375A publication Critical patent/JP2010094375A/ja
Application granted granted Critical
Publication of JP5147636B2 publication Critical patent/JP5147636B2/ja
Active legal-status Critical Current
Anticipated expiration legal-status Critical

Links

Images

Landscapes

  • Emergency Lowering Means (AREA)

Abstract

【課題】安全帯において、バックルの連結状態を容易に確認可能とする仕組みを提供することを課題とする。
【解決手段】ハーネス型安全帯1のベルトには、バックル31,41,51が設けられている。バックル31,41,51にはセンサ311,411,511が設けられており、差し込みプレート32,42,52の完全な押し込み動作によりON信号を検出する。安全帯1にはまたコントロールボックス21が備えられ、各センサの検出信号がコントロールボックス21に転送される。コントロールボックス21は、ON信号が検出されたバックルの数に応じて、異なる色の光を発光部213から発光させる。また、コントロールボックス21は、無線によりPC6に対してバックルの連結状態情報を送信する。
【選択図】図5

Description

本発明は、高所作業時において作業員が身体に装着する安全帯に関する。
高所作業時において作業員が装着する安全帯として、フルハーネス型のものがある。フルハーネス型の安全帯は、身体上部に装着する肩ベルト、身体下部に装着する腿ベルト、さらには腰部に装着される胴ベルトなどから構成される。肩ベルトは、作業員の背部から胸部にかけて肩越しに装着される。腿ベルトは、腰部から股部にかけて装着される。
フルハーネス型の安全帯は、墜落阻止時に身体が受ける衝撃を全身に分散させることができる。したがって、墜落阻止時においても身体に与える損傷を低減させることができる。
日本国内で普及している安全帯として胴ベルト型の安全帯がある。胴ベルト型の安全帯とは腰部のみに装着する安全帯である。胴ベルト型の安全帯は装着が容易であり、価格が安いなどのメリットがある。しかし、フルハーネス型の安全帯は、上述したように、墜落阻止時に身体に与える衝撃が小さいという優れたメリットがあり、今後日本での採用が増加すると考えられる。
フルハーネス型の安全帯のベルトには、複数のバックルが設けられている。作業員は、ベルトを身体に装着した後、バックルでベルトの端部同士を連結する。複数のバックル全てを連結することで、作業員は安心して高所作業を行うことができる。
特開2007−44166号公報
フルハーネス型の安全帯を身体に装着するためには、上述したように複数のバックルを連結させなければならない。したがって、胴ベルト型に比べると装着作業が少々手間のかかる作業となる。そして、バックルが複数あるため、全てのバックルの差し込みプレートが確実に挿入されているか、確実にロックされているかという確認が容易でなかった。また、バックルの数が1つである胴ベルトであっても、バックルが確実にロックされているかどうかの確認は目視に頼っている。したがって、安全帯一般において、装着状態を容易に確認可能とする仕組みが求められている。上記特許文献1では、電柱などに巻きつける安全帯のフックに物などが挟まっていないかを検知する技術が開示されている。
そこで、本発明は前記問題点に鑑み、安全帯において、バックルの連結状態を容易に確認可能とする仕組みを提供することを目的とする。
上記課題を解決するため、請求項1記載の発明は、作業員に装着される安全帯であって、前記安全帯が備えるベルトの端部と端部とを連結する着脱可能な連結部と、前記ベルトに取り付けられた制御部と、前記連結部の連結状態を作業関係者に知覚させるための所定の動作を行う通知部と、を備え、前記連結部は、前記連結部の連結状態を検知する検知部と、前記検知部において取得した検知情報を前記制御部に転送する転送部と、を含み、前記制御部は、前記転送部から転送された検知情報に基づき前記通知部を制御することで、作業関係者に前記連結部の連結状態を知覚させることを特徴とする。
請求項2記載の発明は、請求項1に記載の安全帯であって、前記通知部は、前記作業員の周辺に前記連結部の連結状態を通知する発光部、を含むことを特徴とする。
請求項3記載の発明は、請求項1に記載の安全帯であって、前記通知部は、前記作業員の周辺に前記連結部の連結状態を通知する音声出力部、を含むことを特徴とする。
請求項4記載の発明は、請求項1に記載の安全帯において、前記通知部は、無線通信により前記作業員とは離れた場所に配置された確認装置に対して前記連結部の連結状態を通知する無線部、を含むことを特徴とする。
請求項5記載の発明は、請求項2または請求項3に記載の安全帯であって、前記連結部は、複数の個別連結部、を含み、前記検知部は、各個別連結部の連結状態を検知する個別検知部、を含み、前記通知部は、前記複数の個別連結部の連結数に応じて、異なる態様で前記連結部の連結状態を表現することを特徴とする。
請求項6記載の発明は、請求項4に記載の安全帯であって、前記連結部は、複数の個別連結部、を含み、前記検知部は、各個別連結部の連結状態を検知する個別検知部、を含み、前記通知部は、各個別連結部の連結状態に関する情報を前記確認装置に送信することを特徴とする。
請求項7記載の発明は、作業員に装着される安全帯と、前記作業員とは離れた場所に配置される確認装置と、を備え、安全帯の装着を確認するシステムであって、前記安全帯は、前記安全帯が備えるベルトの端部と端部とを連結する着脱可能な連結部と、前記ベルトに取り付けられた制御部と、前記連結部の連結状態に関する情報を前記確認装置に送信する無線部と、を備え、前記連結部は、前記連結部の連結状態を検知する検知部と、前記検知部において取得した検知情報を前記制御部に転送する転送部と、を含み、前記制御部は、前記転送部から転送された検知情報に基づき、前記連結部の連結状態に関する情報を前記確認装置に送信するよう前記無線部を制御する送信制御部、を含み、前記確認装置は、前記無線部から受信した情報に基づいて前記連結部の連結状態をモニタに表示する連結状態表示部、を備えることを特徴とする。
請求項8記載の発明は、請求項7に記載の安全帯の装着確認システムであって、前記連結部は、複数の個別連結部、を含み、前記検知部は、各個別連結部の連結状態を検知する個別検知部、を含み、前記無線部が、各個別連結部の連結状態に関する情報を前記確認装置に送信することにより、前記確認装置は、複数の個別連結部の連結状態に応じた表示を前記モニタに出力することを特徴とする。
本発明の安全帯は、ベルトの連結部の連結状態を検知する検知部を備え、作業関係者に連結部の連結状態を知覚させることができる。これにより、安全帯の不完全な装着状態を気付かないまま高所作業に取り掛かるという問題を回避することができる。
また、本発明の安全帯は、発光部により作業員の周辺に連結部の連結状態を通知する。これにより、作業員は安全帯の装着状態を容易に把握することができる。
また、本発明の安全帯は、音声出力部により作業員の周辺に連結部の連結状態を通知する。これにより、作業員は安全帯の装着状態を容易に把握することができる。
また、本発明の安全帯は、無線通信により作業員とは離れた場所に配置された管理装置に対して連結部の連結状態を通知する。これにより、現場監督室などに配置されている作業関係者も安全帯の連結状態を把握することができる。
<1.ハーネス型安全帯の構成>
以下、図面を参照しつつ本発明の実施の形態について説明する。図1は、本実施の形態にかかるハーネス型安全帯1を展開した図である。ハーネス型安全帯1は、左右の肩ベルト11,11、左右の腿ベルト12,12、胴ベルト13などのベルト群から構成される。
左右一対の肩ベルト11,11は、背部で交差し、背部から胸部にかけて肩越しに上半身に装着される。肩ベルト11,11の一端は、肩から胸部を通って腰部の左右の連結部材17,17に挿入される。連結部材17,17から下方において、肩ベルト11,11は腿ベルト12,12に連なっている。
また、肩ベルト11,11の他端は、背部の交差部から左右の腰部を通り連結部材17,17に挿入される。連結部材17,17から下方において肩ベルト11,11には、第1バックル31、第2バックル41が結合されている。
左右一対の腿ベルト12,12は、腰部の連結部材17,17から腰の後ろを通り股の間に入る。腿ベルト12,12は股部で交差した後、上方に向かい再び腰部に至る。そして、腿ベルト12,12には、第1差し込みプレート32、第2差し込みプレート42が結合されている。
また、胴ベルト13が、左右の連結部材17,17に挿入されている。胴ベルト13の一端には、第3バックル51が結合され、他端には、第3差し込みプレート52が結合されている。
図1のハーネス型安全帯1は展開した状態の図である。装着時には、胴ベルト13が腰の周りを締めるように環状に配置される。図の下方向に伸びる腿ベルト12,12は、装着時には、交差部付近から上方に折り曲げられ、股部を覆うように配置される。
このような構成のハーネス型安全帯1を、作業員は高所作業を行うときに装着する。腿ベルト12,12を股部に装着し、肩ベルト11,11を肩に掛けた状態で、図2に示すように、第1バックル31と第1差し込みプレート32とを連結し、第2バックル41と第2差し込みプレート42とを連結する。また、図3に示すように、第3バックル51と第3差し込みプレート52とを連結する。なお、本実施の形態においては、第1、第2、第3バックル31,41,51としてワンタッチ式のものを利用しているが、そのほかにもスライド式のものを利用することもできる。
左右の肩ベルト11,11は背部の交差部において、それぞれ連結部材18に挿入されている。連結部材18にはリングが取り付けられ、リングを介して連結ベルト14が取り付けられている。連結ベルト14の他端にもリングが取り付けられており、このリングに連結ロープ(ランヤード)が装着可能となっている。作業員は、連結ロープの先に取り付けられたフックを、確実に固定された柱、ポールなどの部材に引っ掛けることで高所作業を行うことができる。
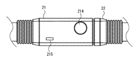
また、左右の肩ベルト11,11を胸付近で連結するための連結ベルト15が設けられている。連結ベルト15は、図1、図4に示すようなコントロールボックス21と連結部22とで連結され、コントロールボックス21と連結部22とは着脱可能になっている。コントロールボックス21のケースの前面にはランプ窓214とスイッチ215とが設けられている。
<2.装着状態の確認システム>
次に、ハーネス型安全帯1の装着状態の確認システムについて説明する。図5は、確認システムのシステム構成図である。このシステムは、ハーネス型安全帯1とパーソナルコンピュータ(以下、PCとする。)6などから構成される。
第1バックル31、第2バックル41、第3バックル51には、それぞれ第1バックルセンサ311、第2バックルセンサ411、第3バックルセンサ511が取り付けられている。第1バックルセンサ311は、第1差し込みプレート32が第1バックル31に正常に連結された状態を検知するセンサである。同様に、第2、第3バックルセンサ411,511は、第2、第3差し込みプレート42,52が第2、第3バックル41,51に正常に連結された状態を検知するセンサである。
第1、第2、第3バックルセンサ311,411,511として用いるセンサの種別は特に限定されるものではない。たとえば、接触型センサであれば、機械式のスイッチでセンサを構成してもよい。差し込みプレートのバックルへの完全な押し込み動作によって機械式スイッチがONされるよう構成するのである。非接触型であれば、磁気センサなどを利用することができる。磁気センサとしては、たとえばホール素子を利用したものを用いることができる。差し込みプレートのバックルへの押し込み動作によって磁場の変化を発生させ、完全な押し込み動作の完了によりON信号が出力されるよう構成するのである。
第1、第2、第3バックルセンサ311,411,511は、各バックル31,41,51と各差し込みプレート32,42,52とが正確に連結された状態で検知信号として連結完了信号(ON信号)を出力するよう調整される。
第1、第2、第3バックルセンサ311,411,511は、検知信号をそれぞれ転送部312,412,512に出力する。転送部312,412,512は、信号線33,43,53を介して、検知信号をコントロールボックス21に通知する。
信号線33,43,53は、肩ベルト11、胴ベルト13、連結ベルト15に埋め込まれるようにして配置されている。信号線33,43は、第1、第2バックル31,41から肩ベルト11、連結ベルト15を経由してコントロールボックス21に接続されている。信号線53は、胴ベルト13、肩ベルト11、連結ベルト15を介してコントロールボックス21に接続されている。
コントロールボックス21は、制御部211、無線通信部212、発光部213、ランプ窓214、スイッチ215を備えている。制御部211は、CPU,RAMなどを備え、コントロールボックス21の全体制御を行う。無線通信部212は、無線通信を利用して、PC6と通信を行う。コントロールボックス21は、図示せぬ電源を備えており、スイッチ215のON操作により、コントロールボックス21内の各構成部へ電力供給が行われる。
発光部213は、制御部211からの発光指示を受けて発光する。本実施の形態において、発光部213は、RGB3色の発光LEDを備えている。発光部213は、RGB3色の発光LEDを点灯制御することで様々な色を発光できる。本実施の形態においては、発光部213は、RGB3色の発光LEDをそれぞれ個別に点灯させることで赤、青、黄の3色の光を点灯あるいは点滅させる。発光部213で出力された光は、ランプ窓214を介して外部に通知される。ランプ窓214はアクリルなどの素材で構成され、発光部213から照射された光が散乱し、周囲から視認し易いようになっている。
制御部211には、信号線33,43,53が接続されている。制御部211は、信号線33,43,53を介して、第1、第2、第3バックルセンサ311,411,511の検知信号を入力する。
制御部211は、3つのバックル31,41,51の全ての連結が正常に行われている場合には、発光部213に青色光を点灯させるよう制御信号を送出する。制御部211は、3つのバックル31,41,51の全ての連結が正常に行われていない場合には、発光部213に赤色光を点滅させるよう制御信号を送出する。制御部211は、3つのバックル31,41,51のうち1つ、または2つのバックルの連結が正常に行われている場合には、発光部213に黄色光を点滅させるよう制御信号を送出する。
以上の構成のハーネス型安全帯1を装着した作業員が高所作業場へ移動する。高所作業場に移動したハーネス型安全帯1と管理室などに配置されたPC6とは無線通信を行う。
PC6は、図に示すように、制御部61、無線通信部62、モニタ63、操作部64を備えている。制御部61は、CPU,RAMなどを備え、PC6の全体制御を行う。無線通信部62は、コントロールボックス21の無線通信部212との間で無線通信を行う。
なお、無線通信部212と無線通信部62との間で行われる無線のプロトコルは特に限定されないが、たとえば、IEEE802.11に規定されている無線LAN方式などを利用すればよい。あるいは、BLUETOOTH(登録商標)などを利用してもよい。
<3.発光部の制御の流れ>
図6は、制御部211において実行される判定処理のフローチャートである。このフローチャートは、作業員によってスイッチ215がONされ、コントロールボックス21の電源が投入された時点からスタートとする。まず、スイッチ215がONされると、制御部211は、発光部213に対して赤色を点滅するよう指示する(ステップS1)。
この指示に応答して、発光部213は赤色光を点滅させる。これにより、コントロールボックス21のランプ窓214から赤色光が点滅し、作業員本人および周辺の人に、全てのバックルが連結されていないことを警告することができる。
スイッチ215はハーネス型安全帯1を装着するときに最初にONするようルールを決めておくとよい。あるいは、監督者がハーネス型安全帯1を作業員に手渡す段階でスイッチ215をONしてもよい。赤色光が点滅している状態で、作業員は、ハーネス型安全帯1を装着し、各バックルの連結作業を行う。ただし、ハーネス型安全帯1の装着、各バックルの連結作業を終えた後にスイッチ215がONされてもよい。
次に、制御部211は、第1バックルセンサ311からのON信号を検知したか否かを判定する(ステップS2)。上述したように、第1、第2、第3バックルセンサ311,411,511は、第1、第2、第3差し込みプレート32,42,52が、第1、第2、第3バックル31,41,51に正常に連結されている状態を検知したときON信号を出力する。逆に、正常な連結状態を検知しないときにOFF信号を出力する。
第1バックルセンサ311からのON信号を検知しているとき(ステップS2でYes)、さらに、第2バックルセンサ411からのON信号を検知しているか否かを判定する(ステップS3)。
第2バックルセンサ411からのON信号を検知しているとき(ステップS3でYes)、さらに、第3バックルセンサ511からのON信号を検知しているか否かを判定する(ステップS4)。
第3バックルセンサ511からのON信号を検知しているとき(ステップS4でYes)、制御部211は、発光部213に対して青色光を点灯するよう指示する(ステップS5)。つまり、第1、第2、第3バックル31,41,51の全てが正常に連結されていることが検知されたので、青色光を点灯させ、作業に取り掛かってよいことを通知するのである。
ステップS2で第1バックルセンサ311からのON信号を検知しなかった場合、さらに、第2バックルセンサ411からON信号を検知しているか否かを判定する(ステップS6)。
ステップS6で第2バックルセンサ411からのON信号を検知した場合、制御部211は、発光部213に対して黄色光を点滅させるよう指示する(ステップS7)。つまり、第1バックル31は連結されていないが、第2バックル41は正常に連結されていると判定されたので、一部の連結が不完全であるとして黄色光の点滅により警告する。
ステップS3で第2バックルセンサ411からON信号を検知しなかった場合、ステップS4で第3バックルセンサ511からON信号を検知しなかった場合も、ステップS7に遷移し、黄色光を点滅させる。つまり、1つあるいは2つのバックルの連結が不完全であると判定されたので、黄色光の点滅により警告する。
ステップS6で第2バックルセンサ411からのON信号を検知しなかった場合、さらに、第3バックルセンサ511からON信号を検知しているか否かを判定する(ステップS8)。
ステップS8で第3バックルセンサ511からのON信号を検知した場合も、ステップS7に遷移する。つまり、第3バックル51のみ正常に連結されている状態であるので、黄色光の点滅により警告する。
ステップS8で第3バックルセンサ511からのON信号を検知しなかった場合、ステップS1に戻り赤色光の点滅を維持する。つまり、全てのバックルの連結が不完全であるので、赤色光による点滅で警告する。
このように、本実施の形態のハーネス型安全帯1は、バックルの連結状態に応じて、発光部213が発光するので、バックルの連結状態を作業員本人あるいは周囲の人に明確に示すことができる。なお、この実施の形態においては、1つまたは2つのバックルの連結が不完全なときに黄色光を点滅させるようにしたが、1つの連結が不完全な場合、2つの連結が不完全な場合で異なる色の光を点滅させるようにしてもよい。
この実施の形態のコントロールボックス21は、バックルの連結状態を光により通知することとしたが、コントロールボックス21にスピーカを備え、音声による通知を行ってもよい。たとえば、「全てのバックルが連結されています。作業を開始してOKです。」、「一部のバックルの連結が不完全です。再度バックルの連結状態を確認して下さい。」、「全てのバックルの連結が不完全です。再度バックルの連結状態を確認して下さい。」といったメッセージを出力するようにすればよい。
<4.確認装置との通信>
上述したように、コントロールボックス21は、無線通信部212を備えている。無線通信部212は、制御部211が検知したバックルの連結状態の情報をPC6に送信する。制御部211は、第1、第2、第3バックルセンサ311,411,511それぞれから信号を入力しているので、第1、第2、第2バックル31,41,51のそれぞれの連結状態を把握している。制御部211は、第1、第2、第3バックル31,41,51のそれぞれの連結状態の情報をPC6に無線により送信する。
PC6は、上述したように、たとえば、管理室などに設置されている。たとえば建設現場であれば、建設現場内に設けられた現場監督室などにPC6が設置されている。PC6には、安全帯の装着確認用のアプリケーションプログラムがインストールされている。PC6は、安全帯の装着確認用アプリケーションプログラムと無線LANなどのドライバプログラムを利用し、安全帯の装着確認用アプリケーションを実行可能としている。このように、本実施の形態においては、一般的なPCとプログラムを用いて確認装置を構成している。
無線通信部62がコントロールボックス21からの情報を受信すると、制御部61は、受信情報に基づいて図7に示すような装着状況確認画面81をモニタ63に表示する。装着状況確認画面81は、装着確認用アプリケーションプログラムが提供するユーザインタフェースである。
図7に示す例では、複数の作業員が装着している複数のハーネス型安全帯1,1・・・から送信されたバックル連結状態の情報をPC6が受信している場合を示している。
装着状況確認画面81には、作業員のリストが表示されている。本日、作業を行う作業員の名前があらかじめオペレータにより入力されている。オペレータは、各作業員が使用するハーネス型安全帯1の識別番号も作業員名と対応させて入力しておく。コントロールボックス21の制御部211には、ハーネス型安全帯1の識別番号が登録されている。そして、制御部211は、無線通信部212を介してPC6に送信する情報のヘッダに、識別番号を埋め込むようにしている。これにより、PC6は、複数のハーネス型安全帯1,1・・・より受信した連結状態の情報がどの作業員に対応するものであるかを特定することができる。
作業員名欄の右欄には、スイッチ状況が表示されている。この表示は、コントロールボックス21のスイッチ215がONされているか否かを示すものである。この表示がOFFになっている場合には、監督者は、直ちに作業員にスイッチをONするよう指示する必要がある。
さらに右欄には、バックル連結状況が表示されている。この表示は、第1、第2、第3バックル31,41,51のうち何個のバックルが正常に連結されているかを示すものである。この表示が3個全てOKになっている作業員は正しいハーネス型安全帯1の装着が完了していることを示している。この表示が2個のみOK、1個のみOK、3個とも未連結となっている作業員は、ハーネス型安全帯1の装着が不完全であることが分かる。監督者は装着が不完全な作業員に直ちに装着状態を確認するよう指示する必要がある。
右端の欄には、装着状態を一目で分かり易くするための色表示が行われている。この色表示はコントロールボックス21の発光部の色とあわせるとよい。つまり、全てのバックルが正常に連結されていれば青色点灯、一部のバックルが不完全であれば黄色点滅、全てのバックルが不完全であれば赤色点滅するようにしておけば、状態がわかり易く便利である。
また、これらの表示とあわせて音声による通知を行ってもよい。たとえば、「上田太郎さんのコントロールボックスのスイッチが入っていません。」、「東一郎さんはバックルが3個とも未連結です。」といった警告を音声出力すれば、より確実に装着状態の確認を行うことができる。
このように本実施の形態によれば、作業員本人および作業員周辺の人のみならず、管理室など離れた場所にいる管理者も、作業員によるハーネス型安全帯1の装着状態を明確に確認することができる。これにより、作業員によるハーネス型安全帯1の正しい装着が確実に行われるよう体制を整えることができる。
<5.変形例>
上記実施の形態においては、PC6により複数の作業員のハーネス型安全帯1の装着状態を確認するようにした。この形態は、たとえば、建設現場など多数の作業員がいる場合、管理室が存在する場合などに適している。
これ以外の形態として、たとえば電柱工事など、2人の作業員がペアで現場に向かうような形態が考えられる。このような場合には、図8に示すような携帯端末9を確認端末として利用する。つまり、一人の作業員がハーネス型安全帯1を装着して高所作業を行い、もう一方の作業員が地上で携帯端末9を所持して確認を行うのである。
携帯端末9は、たとえば携帯電話程度の大きさのものであればよい。携帯端末9は、モニタ91とスピーカ92を備えている。そして、無線を利用してコントロールボックス21からバックルの連結状態の情報を受信し、状態をモニタ91に表示する。たとえば、「3個とも連結OK」、「2個のみ連結OK」、「スイッチが入っていません」などの情報が表示される。あるいは、これらと同様なメッセージをスピーカ92から音声で通知するようにしてもよい。
上記実施の形態においては、無線通信により受信した装着状態の情報をPC6のモニタ63に表示することで、作業員の装着状態を確認することにした。この仕組みを利用して、作業員のその他の情報を管理するようにしてもよい。たとえば、作業員の出退勤情報や勤怠情報を管理するようにしてもよい。
上記実施の形態においては、ハーネス型安全帯1に第1〜第3の3つのバックルが設けられている場合を例に説明した。しかし、上記の例は一例であり、連結部の数は限定されるものではない。たとえば、胴ベルトを有しない一般的なハーネス型安全帯であれば、バックルは2箇所のものが一般的である。この場合であれば、2箇所のバックルにセンサを設け、2箇所のバックルの連結状態を検知すればよい。そして、2箇所のバックルの連結状態に応じて、光又は音声により、あるいは無線により装着状態を関係者に通知するようにすればよい。
もちろん、連結部が1つである胴ベルトに本発明を適用させてもよい。この場合であれば、胴ベルトに備えられた単一のバックルの連結状態をセンサで検知し、胴ベルトの装着状態を光又は音声により、あるいは無線により関係者に通知するようにすればよい。
本実施の形態に係るハーネス型安全帯を示す図である。 第1、第2バックルと第1、第2差し込みプレートを示す図である。 第3バックルと第3差し込みプレートを示す図である。 コントロールボックスの外観図である。 装着確認システムのブロック図である。 発光部の制御フローチャートである。 装着状況確認画面を示す図である。 装着状況を通知する携帯端末を示す図である。
符号の説明
1 ハーネス型安全帯
6 PC
21 コントロールボックス
61 制御部
62 無線通信部
211 制御部
212 無線通信部
213 発光部
215 スイッチ

Claims (8)

  1. 作業員に装着される安全帯であって、
    前記安全帯が備えるベルトの端部と端部とを連結する着脱可能な連結部と、
    前記ベルトに取り付けられた制御部と、
    前記連結部の連結状態を作業関係者に知覚させるための所定の動作を行う通知部と、
    を備え、
    前記連結部は、
    前記連結部の連結状態を検知する検知部と、
    前記検知部において取得した検知情報を前記制御部に転送する転送部と、
    を含み、
    前記制御部は、
    前記転送部から転送された検知情報に基づき前記通知部を制御することで、作業関係者に前記連結部の連結状態を知覚させることを特徴とする安全帯。
  2. 請求項1に記載の安全帯であって、
    前記通知部は、
    前記作業員の周辺に前記連結部の連結状態を通知する発光部、
    を含むことを特徴とする安全帯。
  3. 請求項1に記載の安全帯であって、
    前記通知部は、
    前記作業員の周辺に前記連結部の連結状態を通知する音声出力部、
    を含むことを特徴とする安全帯。
  4. 請求項1に記載の安全帯において、
    前記通知部は、
    無線通信により前記作業員とは離れた場所に配置された確認装置に対して前記連結部の連結状態を通知する無線部、
    を含むことを特徴とする安全帯。
  5. 請求項2または請求項3に記載の安全帯であって、
    前記連結部は、
    複数の個別連結部、
    を含み、
    前記検知部は、
    各個別連結部の連結状態を検知する個別検知部、
    を含み、
    前記通知部は、前記複数の個別連結部の連結数に応じて、異なる態様で前記連結部の連結状態を表現することを特徴とする安全帯。
  6. 請求項4に記載の安全帯であって、
    前記連結部は、
    複数の個別連結部、
    を含み、
    前記検知部は、
    各個別連結部の連結状態を検知する個別検知部、
    を含み、
    前記通知部は、各個別連結部の連結状態に関する情報を前記確認装置に送信することを特徴とする安全帯。
  7. 作業員に装着される安全帯と、前記作業員とは離れた場所に配置される確認装置と、を備え、安全帯の装着を確認するシステムであって、
    前記安全帯は、
    前記安全帯が備えるベルトの端部と端部とを連結する着脱可能な連結部と、
    前記ベルトに取り付けられた制御部と、
    前記連結部の連結状態に関する情報を前記確認装置に送信する無線部と、
    を備え、
    前記連結部は、
    前記連結部の連結状態を検知する検知部と、
    前記検知部において取得した検知情報を前記制御部に転送する転送部と、
    を含み、
    前記制御部は、
    前記転送部から転送された検知情報に基づき、前記連結部の連結状態に関する情報を前記確認装置に送信するよう前記無線部を制御する送信制御部、
    を含み、
    前記確認装置は、
    前記無線部から受信した情報に基づいて前記連結部の連結状態をモニタに表示する連結状態表示部、
    を備えることを特徴とする安全帯の装着確認システム。
  8. 請求項7に記載の安全帯の装着確認システムであって、
    前記連結部は、
    複数の個別連結部、
    を含み、
    前記検知部は、
    各個別連結部の連結状態を検知する個別検知部、
    を含み、
    前記無線部が、各個別連結部の連結状態に関する情報を前記確認装置に送信することにより、前記確認装置は、複数の個別連結部の連結状態に応じた表示を前記モニタに出力することを特徴とする安全帯の装着確認システム。
JP2008269052A 2008-10-17 2008-10-17 安全帯および安全帯の装着確認システム Active JP5147636B2 (ja)

Priority Applications (1)

Application Number Priority Date Filing Date Title
JP2008269052A JP5147636B2 (ja) 2008-10-17 2008-10-17 安全帯および安全帯の装着確認システム

Applications Claiming Priority (1)

Application Number Priority Date Filing Date Title
JP2008269052A JP5147636B2 (ja) 2008-10-17 2008-10-17 安全帯および安全帯の装着確認システム

Publications (2)

Publication Number Publication Date
JP2010094375A true JP2010094375A (ja) 2010-04-30
JP5147636B2 JP5147636B2 (ja) 2013-02-20

Family

ID=42256478

Family Applications (1)

Application Number Title Priority Date Filing Date
JP2008269052A Active JP5147636B2 (ja) 2008-10-17 2008-10-17 安全帯および安全帯の装着確認システム

Country Status (1)

Country Link
JP (1) JP5147636B2 (ja)

Cited By (10)

* Cited by examiner, † Cited by third party
Publication number Priority date Publication date Assignee Title
WO2014003410A1 (ko) * 2012-06-29 2014-01-03 한국건설기술연구원 하네스형 안전대
JP2015533440A (ja) * 2012-11-01 2015-11-24 スカンスカ ユーケー ピーエルシー 安全装置
KR101574076B1 (ko) 2015-05-19 2015-12-03 서울검사 주식회사 방사선 작업자의 안전 및 피폭 관리 시스템
US9511245B2 (en) 2014-03-28 2016-12-06 International Business Machines Corporation Safety harness monitoring and alerting system
CN109303989A (zh) * 2017-07-26 2019-02-05 国网辽宁省电力有限公司丹东供电公司 警示安全带
JP2020062364A (ja) * 2018-10-16 2020-04-23 久仁子 安倍 移乗介助支援ベルト
KR20210117888A (ko) * 2020-03-19 2021-09-29 주식회사 아이오티융복합연구소 버클 체결 감지 장치
KR102473116B1 (ko) * 2022-05-26 2022-12-01 주식회사 코브 인터내셔날 턱끈 체결 여부를 용이하게 판단할 수 있는 안전모
KR20250025886A (ko) * 2023-08-16 2025-02-25 하현학 안전벨트 버클
JP7684540B1 (ja) * 2024-09-02 2025-05-28 務 柴崎 高所作業域に於ける作業者転落防止システム及び高所作業域に於ける作業者転落防止方法

Families Citing this family (2)

* Cited by examiner, † Cited by third party
Publication number Priority date Publication date Assignee Title
DE102012001723A1 (de) 2012-01-31 2013-08-01 Khs Gmbh Etikettieraggregat, Vorrichtung zum Etikettieren von Behältern mit einem solchen Etikettieraggregat sowie Verfahren zum Betrieb des Etikettieraggregates oder der Vorrichtung
US11247080B2 (en) 2019-10-10 2022-02-15 Saudi Arabian Oil Company Systems, methods, and apparatuses for ensuring worker safety

Citations (7)

* Cited by examiner, † Cited by third party
Publication number Priority date Publication date Assignee Title
JPH09132112A (ja) * 1995-11-06 1997-05-20 Toyota Motor Corp 自動車の後部中央座席の三点式シートベルト装置
JP3051851U (ja) * 1998-02-26 1998-09-02 ポリマーギヤ株式会社 高所作業用安全帯の命綱使用を促す警報装置
JP2002211356A (ja) * 2001-01-12 2002-07-31 Yazaki Corp シートベルトの装着検知装置
JP2002336367A (ja) * 2001-05-18 2002-11-26 Fujita Corp 安全帯用発信機及び安全帯の使用状況監視システム
JP2004321487A (ja) * 2003-04-24 2004-11-18 Fujii Denko Co Ltd 安全帯用上下ベルト連結体
JP2005342308A (ja) * 2004-06-04 2005-12-15 Fujii Denko Co Ltd 胴ベルト型安全帯とハーネス型安全帯の連結方法
JP2007044166A (ja) * 2005-08-08 2007-02-22 Chugoku Electric Power Co Inc:The 取付確認センサ

Patent Citations (7)

* Cited by examiner, † Cited by third party
Publication number Priority date Publication date Assignee Title
JPH09132112A (ja) * 1995-11-06 1997-05-20 Toyota Motor Corp 自動車の後部中央座席の三点式シートベルト装置
JP3051851U (ja) * 1998-02-26 1998-09-02 ポリマーギヤ株式会社 高所作業用安全帯の命綱使用を促す警報装置
JP2002211356A (ja) * 2001-01-12 2002-07-31 Yazaki Corp シートベルトの装着検知装置
JP2002336367A (ja) * 2001-05-18 2002-11-26 Fujita Corp 安全帯用発信機及び安全帯の使用状況監視システム
JP2004321487A (ja) * 2003-04-24 2004-11-18 Fujii Denko Co Ltd 安全帯用上下ベルト連結体
JP2005342308A (ja) * 2004-06-04 2005-12-15 Fujii Denko Co Ltd 胴ベルト型安全帯とハーネス型安全帯の連結方法
JP2007044166A (ja) * 2005-08-08 2007-02-22 Chugoku Electric Power Co Inc:The 取付確認センサ

Cited By (14)

* Cited by examiner, † Cited by third party
Publication number Priority date Publication date Assignee Title
WO2014003410A1 (ko) * 2012-06-29 2014-01-03 한국건설기술연구원 하네스형 안전대
KR101398030B1 (ko) * 2012-06-29 2014-05-27 한국건설기술연구원 하네스형 안전대
JP2015533440A (ja) * 2012-11-01 2015-11-24 スカンスカ ユーケー ピーエルシー 安全装置
US9511245B2 (en) 2014-03-28 2016-12-06 International Business Machines Corporation Safety harness monitoring and alerting system
US9861840B2 (en) 2014-03-28 2018-01-09 International Business Machines Corporation Safety harness monitoring and alerting system
KR101574076B1 (ko) 2015-05-19 2015-12-03 서울검사 주식회사 방사선 작업자의 안전 및 피폭 관리 시스템
CN109303989A (zh) * 2017-07-26 2019-02-05 国网辽宁省电力有限公司丹东供电公司 警示安全带
JP2020062364A (ja) * 2018-10-16 2020-04-23 久仁子 安倍 移乗介助支援ベルト
KR20210117888A (ko) * 2020-03-19 2021-09-29 주식회사 아이오티융복합연구소 버클 체결 감지 장치
KR102481963B1 (ko) * 2020-03-19 2022-12-27 이공 버클 체결 감지 장치
KR102473116B1 (ko) * 2022-05-26 2022-12-01 주식회사 코브 인터내셔날 턱끈 체결 여부를 용이하게 판단할 수 있는 안전모
KR20250025886A (ko) * 2023-08-16 2025-02-25 하현학 안전벨트 버클
KR102825808B1 (ko) * 2023-08-16 2025-06-26 하현학 안전벨트 버클
JP7684540B1 (ja) * 2024-09-02 2025-05-28 務 柴崎 高所作業域に於ける作業者転落防止システム及び高所作業域に於ける作業者転落防止方法

Also Published As

Publication number Publication date
JP5147636B2 (ja) 2013-02-20

Similar Documents

Publication Publication Date Title
JP5147636B2 (ja) 安全帯および安全帯の装着確認システム
US8482401B2 (en) Safety belt and system for checking a usage status of the safety belt
JP6682020B2 (ja) 管制システムおよび方法
KR101282669B1 (ko) 작업장 사고방지를 위한 스마트웨어 시스템
JP6409748B2 (ja) 作業状態監視システム、作業状態監視方法および安全帯
JP4992729B2 (ja) 安全帯使用状況の監視及び警報システム
JP2014133619A (ja) エレベータ保守作業用警報システムおよびエレベータ保守作業用警報方法
US10006953B2 (en) Personal wearable system that detects hazardous voltages and indicates direction of the source
KR102286381B1 (ko) 고소작업용 안전고리 체결 확인 센서를 구비한 안전관리 시스템
US10235856B2 (en) Electronic apparatus and method
KR101340008B1 (ko) 헬멧에 탈부착 가능한 스마트 모듈
KR20130120119A (ko) 위치기반의 통합형 무선 선박 관리 시스템
WO2023212279A1 (en) Issuing emergency alert(s) for detected life-threatening events involving power systems
KR101817606B1 (ko) 모듈형 보호구 및 이를 이용한 관제 시스템 및 방법
KR102855952B1 (ko) 고소작업자 추락방지용 경보장치
WO2018064792A1 (zh) 可穿戴设备及包括其的监控系统
JP2016208214A (ja) 搬送設備の現場操作システム及び現場操作方法
KR20230039093A (ko) 안전고리 체결감지시스템
US20150364025A1 (en) Wireless indoor personal evacuations system
KR20140133231A (ko) 고위험 작업자의 라이프 케어 시스템 및 방법
CN218572671U (zh) 一种高空作业安全带监控装置
KR20230086298A (ko) 안전고리 체결 감지장치
JP2020189068A (ja) 墜落制止用器具使用状態監視装置
JP2019185346A (ja) 監視警告装置および監視警告システム
KR101758721B1 (ko) 대중교통 수단의 탑승객 관리 시스템

Legal Events

Date Code Title Description
A621 Written request for application examination

Free format text: JAPANESE INTERMEDIATE CODE: A621

Effective date: 20110516

A977 Report on retrieval

Free format text: JAPANESE INTERMEDIATE CODE: A971007

Effective date: 20120726

A131 Notification of reasons for refusal

Free format text: JAPANESE INTERMEDIATE CODE: A131

Effective date: 20120807

A521 Request for written amendment filed

Free format text: JAPANESE INTERMEDIATE CODE: A523

Effective date: 20120928

TRDD Decision of grant or rejection written
A01 Written decision to grant a patent or to grant a registration (utility model)

Free format text: JAPANESE INTERMEDIATE CODE: A01

Effective date: 20121120

A61 First payment of annual fees (during grant procedure)

Free format text: JAPANESE INTERMEDIATE CODE: A61

Effective date: 20121127

R150 Certificate of patent or registration of utility model

Ref document number: 5147636

Country of ref document: JP

Free format text: JAPANESE INTERMEDIATE CODE: R150

Free format text: JAPANESE INTERMEDIATE CODE: R150

FPAY Renewal fee payment (event date is renewal date of database)

Free format text: PAYMENT UNTIL: 20151207

Year of fee payment: 3

R250 Receipt of annual fees

Free format text: JAPANESE INTERMEDIATE CODE: R250

R250 Receipt of annual fees

Free format text: JAPANESE INTERMEDIATE CODE: R250

R250 Receipt of annual fees

Free format text: JAPANESE INTERMEDIATE CODE: R250

R250 Receipt of annual fees

Free format text: JAPANESE INTERMEDIATE CODE: R250

R250 Receipt of annual fees

Free format text: JAPANESE INTERMEDIATE CODE: R250

R250 Receipt of annual fees

Free format text: JAPANESE INTERMEDIATE CODE: R250

R250 Receipt of annual fees

Free format text: JAPANESE INTERMEDIATE CODE: R250

R250 Receipt of annual fees

Free format text: JAPANESE INTERMEDIATE CODE: R250

R250 Receipt of annual fees

Free format text: JAPANESE INTERMEDIATE CODE: R250