JP2010092935A - センサ素子およびその駆動方法、ならびに入力装置、入力機能付き表示装置および通信デバイス - Google Patents

センサ素子およびその駆動方法、ならびに入力装置、入力機能付き表示装置および通信デバイス Download PDF

Info

Publication number
JP2010092935A
JP2010092935A JP2008258862A JP2008258862A JP2010092935A JP 2010092935 A JP2010092935 A JP 2010092935A JP 2008258862 A JP2008258862 A JP 2008258862A JP 2008258862 A JP2008258862 A JP 2008258862A JP 2010092935 A JP2010092935 A JP 2010092935A
Authority
JP
Japan
Prior art keywords
diode
gate electrode
voltage
electrode
diode element
Prior art date
Legal status (The legal status is an assumption and is not a legal conclusion. Google has not performed a legal analysis and makes no representation as to the accuracy of the status listed.)
Granted
Application number
JP2008258862A
Other languages
English (en)
Other versions
JP2010092935A5 (ja
JP5275739B2 (ja
Inventor
Tsutomu Tanaka
田中  勉
Masato Takatoku
真人 高徳
Michiru Senda
みちる 千田
Keiichiro Ishihara
圭一郎 石原
Current Assignee (The listed assignees may be inaccurate. Google has not performed a legal analysis and makes no representation or warranty as to the accuracy of the list.)
Sony Corp
Original Assignee
Sony Corp
Priority date (The priority date is an assumption and is not a legal conclusion. Google has not performed a legal analysis and makes no representation as to the accuracy of the date listed.)
Filing date
Publication date
Application filed by Sony Corp filed Critical Sony Corp
Priority to JP2008258862A priority Critical patent/JP5275739B2/ja
Priority to TW098130971A priority patent/TWI406400B/zh
Priority to US12/562,317 priority patent/US8456460B2/en
Priority to KR1020090093985A priority patent/KR20100038160A/ko
Priority to CN2009101794110A priority patent/CN101714566B/zh
Publication of JP2010092935A publication Critical patent/JP2010092935A/ja
Publication of JP2010092935A5 publication Critical patent/JP2010092935A5/ja
Application granted granted Critical
Publication of JP5275739B2 publication Critical patent/JP5275739B2/ja
Expired - Fee Related legal-status Critical Current
Anticipated expiration legal-status Critical

Links

Images

Classifications

    • HELECTRICITY
    • H10SEMICONDUCTOR DEVICES; ELECTRIC SOLID-STATE DEVICES NOT OTHERWISE PROVIDED FOR
    • H10FINORGANIC SEMICONDUCTOR DEVICES SENSITIVE TO INFRARED RADIATION, LIGHT, ELECTROMAGNETIC RADIATION OF SHORTER WAVELENGTH OR CORPUSCULAR RADIATION
    • H10F39/00Integrated devices, or assemblies of multiple devices, comprising at least one element covered by group H10F30/00, e.g. radiation detectors comprising photodiode arrays
    • H10F39/10Integrated devices
    • H10F39/12Image sensors
    • HELECTRICITY
    • H10SEMICONDUCTOR DEVICES; ELECTRIC SOLID-STATE DEVICES NOT OTHERWISE PROVIDED FOR
    • H10FINORGANIC SEMICONDUCTOR DEVICES SENSITIVE TO INFRARED RADIATION, LIGHT, ELECTROMAGNETIC RADIATION OF SHORTER WAVELENGTH OR CORPUSCULAR RADIATION
    • H10F39/00Integrated devices, or assemblies of multiple devices, comprising at least one element covered by group H10F30/00, e.g. radiation detectors comprising photodiode arrays
    • H10F39/10Integrated devices
    • H10F39/107Integrated devices having multiple elements covered by H10F30/00 in a repetitive configuration, e.g. radiation detectors comprising photodiode arrays
    • HELECTRICITY
    • H10SEMICONDUCTOR DEVICES; ELECTRIC SOLID-STATE DEVICES NOT OTHERWISE PROVIDED FOR
    • H10FINORGANIC SEMICONDUCTOR DEVICES SENSITIVE TO INFRARED RADIATION, LIGHT, ELECTROMAGNETIC RADIATION OF SHORTER WAVELENGTH OR CORPUSCULAR RADIATION
    • H10F30/00Individual radiation-sensitive semiconductor devices in which radiation controls the flow of current through the devices, e.g. photodetectors
    • H10F30/20Individual radiation-sensitive semiconductor devices in which radiation controls the flow of current through the devices, e.g. photodetectors the devices having potential barriers, e.g. phototransistors
    • HELECTRICITY
    • H10SEMICONDUCTOR DEVICES; ELECTRIC SOLID-STATE DEVICES NOT OTHERWISE PROVIDED FOR
    • H10FINORGANIC SEMICONDUCTOR DEVICES SENSITIVE TO INFRARED RADIATION, LIGHT, ELECTROMAGNETIC RADIATION OF SHORTER WAVELENGTH OR CORPUSCULAR RADIATION
    • H10F55/00Radiation-sensitive semiconductor devices covered by groups H10F10/00, H10F19/00 or H10F30/00 being structurally associated with electric light sources and electrically or optically coupled thereto
    • H10F55/10Radiation-sensitive semiconductor devices covered by groups H10F10/00, H10F19/00 or H10F30/00 being structurally associated with electric light sources and electrically or optically coupled thereto wherein the radiation-sensitive semiconductor devices control the electric light source, e.g. image converters, image amplifiers or image storage devices
    • H10F55/17Radiation-sensitive semiconductor devices covered by groups H10F10/00, H10F19/00 or H10F30/00 being structurally associated with electric light sources and electrically or optically coupled thereto wherein the radiation-sensitive semiconductor devices control the electric light source, e.g. image converters, image amplifiers or image storage devices wherein the radiation-sensitive semiconductor devices have potential barriers

Landscapes

  • Devices For Indicating Variable Information By Combining Individual Elements (AREA)
  • Light Receiving Elements (AREA)
  • Thin Film Transistor (AREA)
  • Photometry And Measurement Of Optical Pulse Characteristics (AREA)
  • Solid State Image Pick-Up Elements (AREA)
  • Electronic Switches (AREA)

Abstract

【課題】簡易な構成で、容量素子の飽和を防止することができ、かつ外部からの光や熱などの外部エネルギーの影響を排除することの可能なセンサ素子およびその駆動方法、ならびに入力装置、入力機能付き表示装置および通信デバイスを提供する。
【解決手段】2つのダイオード素子10,20が互いに直列に接続され、かつ容量素子30の一端が2つのダイオード素子10,20の接続部分に接続されている。ダイオード素子10におけるカソード電極16とゲート電極12との電位関係と、ダイオード素子20におけるアノード電極15とゲート電極12との電位関係とを変えて、2つのダイオード素子10,20が交互にオンオフされる。
【選択図】図1

Description

本発明は、例えば光や熱などのエネルギーを検知するセンサ素子およびその駆動方法と、上記エネルギーの大きさに応じた情報の入力を受け付ける入力装置、入力機能付き表示装置および通信デバイスとに関する。
近年、液晶表示装置や有機EL表示装置のような平面型の表示装置においては、表示画面やその近傍に光センサ素子を設けることにより、タッチパネルやスキャナなどの画面入力や、バックライトの輝度制御を実現するなどの多機能化が進んでいる。このような表示装置に設けられる光センサ素子としては、製造工程の簡便さから、シリコン(Si)薄膜を用いたPIN型薄膜ダイオードが多く用いられている。
PIN型薄膜ダイオードからなる光センサ素子では、真性半導体領域を間にしてp型半導体領域およびn型半導体領域を有する半導体層が設けられており、真性半導体領域が受光部として機能する。また、このような構成の光センサ素子においては、リーク電流の防止を目的として、真性半導体領域との対向領域に、絶縁膜を介してゲート電極を設ける構成が提案されている(例えば、特許文献1参照)。
特開2004−119719号公報
しかし、この方法を検証してみると、たとえゲート電圧を制御してリーク電流を低減しても、リーク電流は、高々、オン状態の1/10程度にしかならない。そのため、上記光センサ素子をマトリクス状に並べ、各光センサ素子のカソードを選択線に、各光センサ素子のアノードを信号線に、ゲート電極を共通線にそれぞれ接続することにより画像入力回路を形成し、選択線に一定の電圧を印加することにより上記光センサ素子をオン状態として光電流を読み出す方法では、上記光センサ素子を一の信号線に10段以上連結すると、信号が読み取れないという不具合があった。そこで、画像入力回路として、一般的なCMOSセンサで用いられる回路構成を適用することも考えられる。しかし、この場合には、容量素子に蓄積された電荷を読み出す読み出し期間において、本来入手したい指などの信号光と、それ以外の外光(例えば太陽光など)とを区別することができないという問題があった。
そのような問題に対して、例えば、バックライト側から、バックライト光や検出用の光(赤外光など)を時分割照射し、その照射時の指などの反射信号のみを差分検出することにより、外光の影響を排除することが考えられる。しかし、この場合でも、室外環境などで、強い外光が入射する場合には、光電流が増加することにより容量素子が飽和し、反射信号のみを差分検出することができなくなるという問題があった。
そこで、例えば、各画素において、2つの光センサ素子を直列に並べ、バックライトの明滅に同期して、2つの光センサ素子をスイッチングトランジスタで交互にスイッチングし、外光成分を取り除く方法も考えられる。しかし、この場合には、回路構成が非常に複雑となり、画像入力回路を表示装置と一体に形成することは現実的でないという問題があった。
なお、上記の問題は、PIN型薄膜ダイオードを光センサ素子として用いた場合だけでなく、PN型薄膜ダイオードを光センサ素子として用いた場合や、PIN型薄膜ダイオード、PN型薄膜ダイオードなどのダイオードを熱などのエネルギーを検出するセンサ素子として用いた場合に総じて生じるものである。
本発明はかかる問題点に鑑みてなされたもので、その目的は、簡易な構成で、容量素子の飽和を防止することができ、かつ外部からの光や熱などの外部エネルギーの影響を排除することの可能なセンサ素子およびその駆動方法、ならびに入力装置、入力機能付き表示装置および通信デバイスを提供することにある。
本発明のセンサ素子は、互いに直列に接続された2つのダイオード素子と、一端が2つのダイオード素子の接続部分に接続された容量素子とを備えたものである。各ダイオード素子は、面内方向において互いに対向するp型半導体領域およびn型半導体領域を有する半導体層と、p型半導体領域に接続されたアノード電極と、n型半導体領域に接続されたカソード電極と、積層方向において半導体層と対向配置されたゲート絶縁膜と、ゲート絶縁膜を介して半導体層と対向配置されたゲート電極とを有している。
本発明のセンサ素子では、2つのダイオード素子が互いに直列に接続され、かつ容量素子の一端が2つのダイオード素子の接続部分に接続された簡易な回路構成となっている。さらに、各ダイオード素子には、アノード電極とカソード電極の他に、ゲート絶縁膜を介して半導体層と対向配置されたゲート電極が設けられている。これにより、例えば、アノード電極が容量素子に接続された方のダイオード素子におけるカソード電極とゲート電極との電位関係と、カソード電極が容量素子に接続された方のダイオード素子におけるアノード電極とゲート電極との電位関係とを変えることにより、互いに直列に接続された2つのダイオード素子を別個にオンオフ駆動することが可能である。ここで、例えば、ダイオード素子の背後に光源を配置し、その光源の明滅に同期して、2つのダイオード素子をオンオフ駆動した場合には、容量素子を飽和させずに、外部からの光や熱などの外部エネルギーの成分を取り除くことができる。
本発明の入力装置は、一の面内にマトリクス状に配置された複数の上記センサ素子と、複数のセンサ素子を駆動する駆動部とを備えている。駆動部は、アノード電極が容量素子に接続された方のダイオード素子におけるカソード電極とゲート電極との電位関係と、カソード電極が容量素子に接続された方のダイオード素子におけるアノード電極とゲート電極との電位関係とを変えて、2つのダイオード素子を別個にオンオフするようになっている。
本発明の入力機能付き表示装置は、一の面内にマトリクス状に配置された複数の表示素子および複数の上記センサ素子と、複数の表示素子および前記複数のセンサ素子を駆動する駆動部とを備えている。駆動部は、アノード電極が容量素子に接続された方のダイオード素子におけるカソード電極とゲート電極との電位関係と、カソード電極が容量素子に接続された方のダイオード素子におけるアノード電極とゲート電極との電位関係とを変えて、2つのダイオード素子を別個にオンオフするようになっている。
本発明の通信デバイスは、1または複数の上記センサ素子と、1または複数のセンサ素子を駆動する駆動部とを備えている。駆動部は、アノード電極が容量素子に接続された方のダイオード素子におけるカソード電極とゲート電極との電位関係と、カソード電極が容量素子に接続された方のダイオード素子におけるアノード電極とゲート電極との電位関係とを変えて、2つのダイオード素子を別個にオンオフするようになっている。
本発明の入力装置、入力機能付き表示装置および通信デバイスでは、2つのダイオード素子が互いに直列に接続され、かつ容量素子の一端が2つのダイオード素子の接続部分に接続された簡易な回路構成となっている。さらに、各ダイオード素子には、アノード電極とカソード電極の他に、ゲート絶縁膜を介して半導体層と対向配置されたゲート電極が設けられている。そのため、駆動部によって、アノード電極が容量素子に接続された方のダイオード素子におけるカソード電極とゲート電極との電位関係と、カソード電極が容量素子に接続された方のダイオード素子におけるアノード電極とゲート電極との電位関係とを変えて、2つのダイオードを別個にオンオフ駆動することが可能である。ここで、例えば、ダイオード素子の背後に光源を配置し、その光源の明滅に同期して、2つのダイオード素子をオンオフ駆動した場合には、容量素子を飽和させずに、外部からの光や熱などの外部エネルギーの成分を取り除くことができる。
本発明のセンサ素子の駆動方法は、上記センサ素子において、アノード電極が容量素子に接続された方のダイオード素子(第一ダイオード素子)におけるカソード電極とゲート電極との電位関係と、カソード電極が容量素子に接続された方のダイオード素子(第二ダイオード素子)におけるアノード電極とゲート電極との電位関係とを変えて、2つのダイオード素子を別個にオンオフするものである。
本発明のセンサ素子の駆動方法では、上記した簡易な回路構成のセンサ素子において、第一ダイオード素子におけるカソード電極とゲート電極との電位関係と、第二ダイオード素子におけるアノード電極とゲート電極との電位関係とを変えて、2つのダイオード素子が別個にオンオフされる。ここで、例えば、ダイオード素子の背後に光源を配置し、その光源の明滅に同期して、2つのダイオード素子がオンオフ駆動された場合には、容量素子を飽和させずに、外部からの光や熱などの外部エネルギーの成分を取り除くことができる。
本発明のセンサ素子、入力装置、入力機能付き表示装置および通信デバイスによれば、第一ダイオード素子におけるカソード電極とゲート電極との電位関係と、第二ダイオード素子におけるアノード電極とゲート電極との電位関係とを変えて、2つのダイオード素子を別個にオンオフすることができる。これにより、簡易な構成で、容量素子の飽和を防止することができ、かつ外部からの光や熱などの外部エネルギーの影響を排除することができる。
本発明のセンサ素子の駆動方法によれば、上記センサ素子において、第一ダイオード素子におけるカソード電極とゲート電極との電位関係と、第二ダイオード素子におけるアノード電極とゲート電極との電位関係とを変えて、2つのダイオード素子を別個にオンオフするようにしたので、簡易な構成で、容量素子の飽和を防止することができ、かつ外部からの光や熱などの外部エネルギーの影響を排除することができる。
以下、本発明を実施するための最良の形態(以下、単に実施の形態という)について、図面を参照して詳細に説明する。
図1は、本発明の一実施の形態に係るセンサ素子1の回路構成の一例を表したものである。本実施の形態のセンサ素子1は、例えば、図示しないが、プラスチックフィルム基板やガラス基板などの絶縁性基板上に、有機EL素子などの発光素子や、液晶素子と共に形成されるものである。
センサ素子1は、例えば、ダイオード素子10,20と、容量素子30とを含んで構成されている。ダイオード素子10,20は、与えられた光または熱などのエネルギーの大きさに応じた電荷を発生するものであり、フォトダイオードを含んで構成されている。容量素子30は、ダイオード素子10で発生した電荷を蓄積したり、蓄積された電荷をダイオード素子20で発生した電荷量に応じて放出したりするものであり、キャパシタにより構成されている。
なお、本実施の形態のダイオード素子10が本発明の「第一ダイオード」の一具体例に相当し、ダイオード素子20が本発明の「第二ダイオード」の一具体例に相当する。ダイオード素子10,20の内部構成については、後に詳述する。
このセンサ素子1では、例えば、ダイオード素子10のカソードが電源電圧線VDDに接続され、ダイオード素子10のアノードがダイオード素子20のカソードと、容量素子30の一端と、出力線OUTの一端とに接続されている。ダイオード素子20のアノードが参照電圧線VSSに接続され、容量素子30の他端が、例えば参照電圧線VSSに接続されている。さらに、ダイオード素子10のゲートが制御線CNT1の一端に接続され、ダイオード素子20のゲートが制御線CNT2の一端に接続されている。なお、制御線CNT1、CNT2は互いに絶縁分離された別個の配線である。また、容量素子30の他端は、参照電圧線VSSとは異なる電圧線(図示せず)に接続されていてもよい。
図2は、図1のダイオード素子10,20の断面構成の一例を表したものである。このダイオード素子10,20は、例えば、基板11上に、ゲート電極12と、ゲート絶縁膜13と、半導体層14と、アノード電極15およびカソード電極16とを基板11側から順に備えたボトムゲート型の薄膜ダイオードである。
基板11は、例えば、プラスチックフィルム基板やガラス基板などの絶縁性基板である。ゲート電極12は、例えば、Alによって構成されている。このゲート電極12は、少なくとも後述の真性半導体領域14Cとの対向領域に形成されており、例えば矩形状となっている。なお、図2には、ゲート電極12が真性半導体領域14Cだけでなく、後述のp型半導体領域14Aの一部やn型半導体領域14Bの一部を含む部分との対向領域に形成されている場合が例示されている。これにより、ゲート電極12は、低抵抗の電極となっており、かつ基板11側から入射した光が真性半導体領域14Cに入射するのを遮断する遮光膜として機能する。なお、半導体層14が真性半導体領域14Cを含まず、p型半導体領域14Aおよびn型半導体領域14Bが互いに直接に接している場合には、ゲート電極12は、p型半導体領域14Aおよびn型半導体領域14Bの接合界面を含む部分との対向領域に形成される。
ゲート絶縁膜13は、例えば、酸化シリコン(SiO)や窒化シリコン(SiN)などを主成分として含んで構成されている。このゲート絶縁膜13は、積層方向において半導体層14と対向配置されている。このゲート絶縁膜13は、例えば、少なくとも、真性半導体領域14Cを含む部分との対向領域、またはp型半導体領域14Aおよびn型半導体領域14Bの接合界面を含む部分との対向領域に形成されており、例えば、ゲート電極12を覆うように形成されている。なお、図2には、ゲート絶縁膜13が、ゲート電極12を含む基板11の表面全体に渡って形成されている場合が例示されている。
半導体層14は、ゲート電極12との対向領域を横切るように形成されており、アノード電極15およびカソード電極16の対向方向(後述)に延在して形成されている。この半導体層14の上面は、アノード電極15およびカソード電極16とのコンタクト部分を除いて、絶縁膜17によって覆われている。この絶縁膜17の上面のうち、真性半導体領域14Cを含む部分との対向領域、またはp型半導体領域14Aおよびn型半導体領域14Bの接合界面を含む部分との対向領域が外部からの光が入射する光入射面となる。なお、絶縁膜17は、入射光に対して透明な材料からなり、例えば、酸化シリコン(SiO)や窒化シリコン(SiN)などを主成分として含んで構成されている。
上記した半導体層14は、少なくとも、面内方向において互いに対向するp型半導体領域14Aおよびn型半導体領域14Bを有しており、必要に応じて、p型半導体領域14Aとn型半導体領域14Bとの間に、真性半導体領域14Cを有している。なお、図2には、半導体層14に真性半導体領域14Cが設けられている場合が例示されている。図2に示したように、半導体層14に真性半導体領域14Cが設けられている場合には、p型半導体領域14Aおよびn型半導体領域14Bは互いに直接に接触せず、真性半導体領域14Dを介して配置されることになる。したがって、この場合には、半導体層14に、面内方向にPIN構造が形成されることになる。一方、半導体層14に真性半導体領域14Cが設けられていない場合には、p型半導体領域14Aおよびn型半導体領域14Bが互いに直接に接触する。したがって、この場合には、半導体層14に、面内方向にPN構造が形成されることになる。
ここで、p型半導体領域14Aは、例えば、p型不純物を含有するシリコン薄膜からなり、n型半導体領域14Bは、例えば、n型不純物を含有するシリコン薄膜からなる。真性半導体領域14Cは、例えば、不純物がドープされていないシリコン薄膜からなる。
アノード電極15およびカソード電極16は、例えば、Alによって構成されている。アノード電極15およびカソード電極16は、絶縁膜17に形成された開口内に形成されると共に、その上面が絶縁膜17から露出している。アノード電極15はp型半導体領域14Aと電気的に接続されており、カソード電極16はn型半導体領域14Bと電気的に接続されている。
次に、本実施の形態のセンサ素子1の動作について説明する。
センサ素子1では、ダイオード素子10,20のI−V特性が、例えばゲート電極12、アノード電極15およびカソード電極16の3つの電極の電圧値によって制御される。具体的には、ダイオード素子10におけるカソード電極16とゲート電極12との電位関係と、ダイオード素子20におけるアノード電極16とゲート電極12との電位関係とを変えて、2つのダイオード素子10,20が別個に(例えば交互に)オンオフされる。
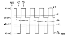
図3は、2つのダイオード素子10,20のオンオフ制御(スイッチング制御)の一例について説明するための波形図である。図中のφ1はダイオード素子10のゲート電極12の電圧であり、V1はダイオード素子10のカソード電極16の電圧であり、φ2はダイオード素子20のゲート電極12の電圧であり、V2はダイオード素子20のカソード電極16の電圧である。Voは、互いに直列に接続されたダイオード素子10,20の接続点での電圧であり、センサ素子1の出力電圧に相当する。φ1(on)はダイオード素子10において、オン時のゲート電極12の電圧であり、φ1(off)はダイオード素子10において、オフ時のゲート電極12の電圧である。φ2(on)はダイオード素子20において、オン時のゲート電極12の電圧であり、φ2(off)はダイオード素子20において、オフ時のゲート電極12の電圧である。なお、図中の丸1は、ダイオード素子10がオフし、ダイオード素子20がオンしているタイミングを指しており、図中の丸2は、ダイオード素子10がオンし、ダイオード素子20がオフしているタイミングを指している。
図3に例示したように、丸1のタイミングでは、V1、V2が一定値となっている状態で、φ1がφ1(off)まで上げられ、ダイオード素子10がオフすると共に、φ2がφ2(on)まで上げられ、ダイオード素子20がオンする。このとき、例えば、ダイオード素子20のオンと同期して、ダイオード素子10,20の背後(基板11の裏面)側から、可視光または赤外光が照射され、その照射光がセンサ素子1の上方(基板11とは反対側の面の上方)に配置された指やペンなどの物体で反射され、その反射光L1が外光L2(環境光)と共にダイオード素子20に入射したとする。すると、ダイオード素子20に入射した光(反射光L1+外光L2)の光量に応じて、経路P1(図1参照)を介して容量素子30から電荷が放出され、出力電圧Voが下降する。
また、図3に例示したように、丸2のタイミングでは、V1、V2が一定値となっている状態で、φ1がφ1(on)まで下げられ、ダイオード素子10がオンすると共に、φ2がφ2(off)まで下げられ、ダイオード素子20がオフする。このとき、例えば、ダイオード素子20のオフと同期して、ダイオード素子10,20の背後側から照射されていた可視光または赤外光が消され、センサ素子1の上方に配置された指やペンなどの物体からの反射光がなくなり、外光L2だけがダイオード素子10に入射したとする。すると、ダイオード素子10に入射した光(外光L2)の光量に応じて、経路P2(図1参照)を介して容量素子30に電荷が蓄積され、出力電圧Voが若干上昇する。
なお、上記のφ1(on)、φ1(off)、φ2(on)、φ2(off)の大小関係を式で表すと以下のようになる。
φ1(on)<φ1(off)
φ2(on)>φ2(off)
そして、上述したような放電動作と蓄積動作とが繰り返し行われ、最終的に容量素子30に蓄積された電荷が検出信号として読み出される。具体的には、出力電圧Voが出力線OUTから読み出される。このようにして得られた出力電圧Voは、外光L2の成分が差し引かれたものである。したがって、図3に例示したようにして、2つのダイオード素子10,20のオンオフ制御(スイッチング制御)をすることにより、外光L2の影響を排除して、センサ素子1の上方に配置された指やペンなどの物体からの反射信号を検出することができる。
なお、図3に例示したように、ダイオード素子10がオフ状態となる期間と、ダイオード素子20がオフ状態となる期間とが互いに重ならないようになっていることが好ましい。
また、図3に例示したように、ダイオード素子10,20をオフ状態にする際に、V1とφ1(off)との電位差、V2とφ2(off)との電位差をなるべく小さくすることが好ましい。特に、半導体層14として低温ポリシリコン膜を用いた場合には、上記した電位差を大きくすると、膜中や結晶粒界にある欠陥準位へ電荷がトラップされ易くなる。その結果、ダイオード素子10,20をオンからオフに移行させたり、オフからオンに移行させたりする際に、トラップ、デトラップが起こり、正確な光信号の取出しが出来なくなることがある。一方、上記した電位差を小さくすると、そのような問題が生じなくなり、高速なスイッチング動作が可能となる。
次に、ダイオード素子10,20のオンオフ制御(スイッチング制御)について説明する。
図4は、ダイオード素子10,20のI−V特性の一例を表したものである。横軸がゲート電圧であり、縦軸がダイオード素子10,20を流れる電流である。図中のVuは、ゲート電圧を徐々に上げていったときに、出力電流が急激に大きくなる立ち上がり電圧を指しており、Vdは、ゲート電圧を徐々に上げていったときに、出力電流が急激に小さくなる立ち下がり電圧を指している。ダイオード素子10,20のそれぞれの立ち上がり電圧や立ち下がり電圧は基本的にはほぼ同一であるが、便宜的に、ダイオード素子10の立ち上がり電圧をVg1、ダイオード素子10の立ち下がり電圧をVg2とし、ダイオード素子20の立ち上がり電圧をVg3、ダイオード素子20の立ち下がり電圧をVg4とする。
ダイオード素子10,20に流れる電流の大きさは、カソード電極16とゲート電極12との電位関係や、アノード電極15とゲート電極12との電位関係によって変動する。具体的には、ダイオード素子10,20のゲート電極12の電圧φ1,φ2が立ち上がり電圧Vu(Vg1,Vg3)以下となっているときや、立ち下がり電圧Vd(Vg2,Vg4)以上となっているときには、ダイオード素子10,20がオフし、電流がほとんど流れない(図4中のオフ動作領域β1,β2参照)。一方、ダイオード素子10,20のゲート電極12の電圧φ1,φ2が立ち上がり電圧Vu(Vg1,Vg3)よりも大きく、立ち下がり電圧Vd(Vg2,Vg4)よりも小さいときには、ダイオード素子10,20がオンし、大きな電流が流れる(図4中のオン動作領域α参照)。なお、ダイオード素子10のカソード電極16の電圧V1およびダイオード素子20のアノード電極15の電圧V2が一定値となっているものとする。
したがって、この特徴を積極的に利用して、ゲート電極12の電圧φ1,φ2を制御することにより、ダイオード素子10,20のオンオフ制御(スイッチング制御)を行うことができる。
具体的には、図4の丸1(図3の丸1に対応している)に示したように、ゲート電極12の電圧φ1をφ1(on)からφ1(off)に変位させる(オン動作領域αからオフ動作領域β1に移行させる)と共に、ゲート電極12の電圧φ2をφ2(off)からφ2(on)に変位させる(オフ動作領域β2からオン動作領域αに移行させる)ことにより、ダイオード素子20をオフさせると共に、ダイオード素子10をオンさせることができる。このとき、以下の式(3)、(4)が成り立つ。
Vg2<φ1…(3)
Vg3<φ2<Vg4…(4)
また、図4の丸2(図3の丸2に対応している)に示したように、ゲート電極12の電圧φ1をφ1(off)からφ1(on)に変位させる(オフ動作領域β1からオン動作領域αに移行させる)と共に、ゲート電極12の電圧φ2をφ2(on)からφ2(off)に変位させる(オン動作領域αからオフ動作領域β2に移行させる)ことにより、ダイオード素子20をオンさせると共に、ダイオード素子10をオフさせることができる。このとき、以下の式(1)、(2)が成り立つ。
Vg1<φ1<Vg2…(1)
φ2<Vg3…(2)
このように、本実施の形態では、ダイオード素子10,20のI−V特性を積極的に利用することにより、ダイオード素子10,20を互いに直列に接続した簡易な構成で、ダイオード素子10,20のオンオフ制御(スイッチング制御)を実現している。
また、本実施の形態では、ダイオード素子10,20のオンオフ制御(スイッチング制御)を行っているので、室外環境などで、強い外光が入射した場合であっても、容量素子30が飽和することがなく、センサ素子1の上方に配置された指やペンなどの物体からの反射信号を確実に検出することができる。
[変形例]
上記実施の形態のセンサ素子1において、上記の効果を損なうことなく、図3とは異なる動作をさせることが可能である。
(変形例1)
図5は、2つのダイオード素子10,20のオンオフ制御(スイッチング制御)の他の例について説明するための波形図である。図中の各記号の意味は図3に記載の各記号と同様である。図5では、φ1、φ2が一定値となっており、V1、V2が矩形状に変化している。
図5に例示したように、丸1のタイミングでは、φ1、φ2が一定値となっている状態で、V1がV1(off)まで下げられ、ダイオード素子10がオフすると共に、V2がV2(on)まで下げられ、ダイオード素子20がオンする。このとき、例えば、ダイオード素子20のオンと同期して、ダイオード素子10,20の背後(基板11の裏面)側から、可視光または赤外光が照射され、その照射光がセンサ素子1の上方(基板11とは反対側の面の上方)に配置された指やペンなどの物体で反射され、その反射光L1が外光L2(環境光)と共にダイオード素子20に入射したとする。すると、ダイオード素子20に入射した光(反射光L1+外光L2)の光量に応じて、経路P1(図1参照)を介して容量素子30から電荷が放出され、出力電圧Voが下降する。
また、図5に例示したように、丸2のタイミングでは、φ1、φ2が一定値となっている状態で、V1がφ2(on)まで上げられ、ダイオード素子10がオンすると共に、V2がV2(off)まで上げられ、ダイオード素子20がオフする。このとき、例えば、ダイオード素子20のオフと同期して、ダイオード素子10,20の背後側から照射されていた可視光または赤外光が消され、センサ素子1の上方に配置された指やペンなどの物体からの反射光がなくなり、外光L2だけがダイオード素子10に入射したとする。すると、ダイオード素子10に入射した光(外光L2)の光量に応じて、経路P2(図1参照)を介して容量素子30に電荷が蓄積され、出力電圧Voが若干上昇する。
なお、上記のV1(on)、V1(off)、V2(on)、V2(off)の大小関係を式で表すと以下のようになる。
V1(on)>V1(off)
V2(on)<V2(off)
そして、上述したような放電動作と蓄積動作とが繰り返し行われ、最終的に容量素子30に蓄積された電荷が検出信号として読み出される。具体的には、出力電圧Voが出力線OUTから読み出される。このようにして得られた出力電圧Voは、外光L2の成分が差し引かれたものである。したがって、図5に例示したようにして、2つのダイオード素子10,20のオンオフ制御(スイッチング制御)をすることによっても、外光L2の影響を排除して、センサ素子1の上方に配置された指やペンなどの物体からの反射信号を検出することができる。
図6は、本変形例におけるダイオード素子10,20のI−V特性の一例を表したものである。横軸はV1,V2の変動をφ1,φ2の変動とみなしたときのゲート電圧であり、縦軸がダイオード素子10,20を流れる電流である。図中のVu′は、V1,V2の変動をφ1,φ2の変動とみなしたときの立ち上がり電圧を指しており、Vd′は、V1,V2の変動をφ1,φ2の変動とみなしたときの立ち下がり電圧を指している。
本変形例では、半導体層14内の導電型やキャリア密度にも依るが、ダイオード素子10,20のゲート電極12の電圧φ1,φ2を一定値とした場合に、ダイオード素子10のカソード電極16の電圧V1がφ1以下となっているときや、ダイオード素子20のアノード電極15の電圧V2がφ2以上となっているときには、ダイオード素子20がオフし、電流がほとんど流れない(図6中のオフ動作領域β1,β2参照)。一方、ダイオード素子10のカソード電極16の電圧V1がφ1よりも大きいときや、ダイオード素子20のアノード電極15の電圧V2がφ2よりも小さいときには、ダイオード素子20がオフし、電流がほとんど流れない(図6中のオフ動作領域β1,β2参照)。
したがって、本変形例でも、ダイオード素子10,20のI−V特性を積極的に利用することにより、ダイオード素子10,20を互いに直列に接続した簡易な構成で、ダイオード素子10,20のオンオフ制御(スイッチング制御)を実現することができる。
また、本変形例でも、ダイオード素子10,20のオンオフ制御(スイッチング制御)を行っているので、室外環境などで、強い外光が入射した場合であっても、容量素子30が飽和することがなく、センサ素子1の上方に配置された指やペンなどの物体からの反射信号を確実に検出することができる。
(変形例2)
図7(A),(B)は、2つのダイオード素子10,20のオンオフ制御(スイッチング制御)のその他の例について説明するための波形図である。図中の各記号の意味は図3に記載の各記号と同様である。図7(A),(B)では、図3と同様、V1、V2が一定値となっており、φ1、φ2が矩形状に変化している。なお、図の見やすさを勘案して、V1、φ1の波形を図7(A)に、V2、φ2の波形を図7(B)にそれぞれ分けて記載し、双方の図に、出力電圧Voの波形を記載した。
図7(A),(B)に例示したように、丸1のタイミングでは、V1、V2が一定値となっている状態で、φ1がφ1(off)まで下げられ、ダイオード素子10がオフすると共に、φ2がφ2(on)まで下げられ、ダイオード素子20がオンする。このとき、例えば、ダイオード素子20のオンと同期して、ダイオード素子10,20の背後(基板11の裏面)側から、可視光または赤外光が照射され、その照射光がセンサ素子1の上方(基板11とは反対側の面の上方)に配置された指やペンなどの物体で反射され、その反射光L1が外光L2(環境光)と共にダイオード素子20に入射したとする。すると、ダイオード素子20に入射した光(反射光L1+外光L2)の光量に応じて、経路P1(図1参照)を介して容量素子30から電荷が放出され、出力電圧Voが下降する。
また、図7(A),(B)に例示したように、丸2のタイミングでは、V1、V2が一定値となっている状態で、φ1がφ1(on)まで上げられ、ダイオード素子10がオンすると共に、φ2がφ2(off)まで上げられ、ダイオード素子20がオフする。このとき、例えば、ダイオード素子20のオフと同期して、ダイオード素子10,20の背後側から照射されていた可視光または赤外光が消され、センサ素子1の上方に配置された指やペンなどの物体からの反射光がなくなり、外光L2だけがダイオード素子10に入射したとする。すると、ダイオード素子10に入射した光(外光L2)の光量に応じて、経路P2(図1参照)を介して容量素子30に電荷が蓄積され、出力電圧Voが若干上昇する。
なお、上記のφ1(on)、φ1(off)、φ2(on)、φ2(off)の大小関係を式で表すと以下のようになる。
φ1(on)>φ1(off)
φ2(on)<φ2(off)
そして、上述したような放電動作と蓄積動作とが繰り返し行われ、最終的に容量素子30に蓄積された電荷が検出信号として読み出される。具体的には、出力電圧Voが出力線OUTから読み出される。このようにして得られた出力電圧Voは、外光L2の成分が差し引かれたものである。したがって、図7(A),(B)に例示したようにして、2つのダイオード素子10,20のオンオフ制御(スイッチング制御)をすることにより、外光L2の影響を排除して、センサ素子1の上方に配置された指やペンなどの物体からの反射信号を検出することができる。
なお、図7(A),(B)に例示したように、ダイオード素子10がオン状態となる期間と、ダイオード素子20がオン状態となる期間とが互いに重ならないようになっていることが好ましい。
次に、本変形例におけるダイオード素子10,20のオンオフ制御(スイッチング制御)について説明する。
図8は、ダイオード素子10,20のI−V特性の一例を表したものである。横軸がゲート電圧であり、縦軸がダイオード素子10,20を流れる電流である。
本変形例においても、上記実施の形態で言及したように、ダイオード素子10,20のI−V特性を積極的に利用して、ゲート電極12の電圧φ1,φ2を制御することにより、ダイオード素子10,20のオンオフ制御(スイッチング制御)を行うことができる。
具体的には、図8の丸1(図7(A)の丸1に対応している)に示したように、ゲート電極12の電圧φ1をφ1(on)からφ1(off)に変位させる(オン動作領域αからオフ動作領域β2に移行させる)と共に、ゲート電極12の電圧φ2をφ2(off)からφ2(on)に変位させる(オフ動作領域β1からオン動作領域αに移行させる)ことにより、ダイオード素子10をオフさせると共に、ダイオード素子20をオンさせることができる。このとき、以下の式(7)、(8)が成り立つ。
φ1<Vg1…(7)
Vg3<φ2<Vg4…(8)
また、図8の丸2(図7(A)の丸2に対応している)に示したように、ゲート電極12の電圧φ1をφ1(off)からφ1(on)に変位させる(オフ動作領域β2からオン動作領域αに移行させる)と共に、ゲート電極12の電圧φ2をφ2(on)からφ2(off)に変位させる(オン動作領域αからオフ動作領域β1に移行させる)ことにより、ダイオード素子10をオンさせると共に、ダイオード素子20をオフさせることができる。このとき、以下の式(5)、(6)が成り立つ。
Vg1<φ1<Vg2…(5)
Vg4<φ2…(6)
このように、本変形例では、ダイオード素子10,20のI−V特性を積極的に利用することにより、ダイオード素子10,20を互いに直列に接続した簡易な構成で、ダイオード素子10,20のオンオフ制御(スイッチング制御)を実現している。
また、本変形例では、ダイオード素子10,20のオンオフ制御(スイッチング制御)を行っているので、室外環境などで、強い外光が入射した場合であっても、容量素子30が飽和することがなく、センサ素子1の上方に配置された指やペンなどの物体からの反射信号を確実に検出することができる。
(変形例3)
上記実施の形態および上記各変形例では、ダイオード素子10,20がボトムゲート型の薄膜ダイオードである場合について説明したが、ダイオード素子10,20は、例えば、図9に示したように、基板11上に、遮光膜21と、バッファ絶縁膜22と、半導体層14と、ゲート絶縁膜23と、ゲート電極24とを基板11側から順に備えたトップゲート型の薄膜ダイオードであってもよい。
なお、上記において、遮光膜21は、上記実施の形態のゲート電極12と同様、少なくとも後述の真性半導体領域14Cとの対向領域に形成されており、例えば矩形状となっている。なお、図9には、遮光膜21が真性半導体領域14Cだけでなく、p型半導体領域14Aの一部やn型半導体領域14Bの一部を含む部分との対向領域に形成されている場合が例示されている。これにより、遮光膜21は、基板11側から入射した光が、真性半導体領域14Cを含む部分との対向領域に入射するのを遮断する機能を有している。また、バッファ絶縁膜22は、上記実施の形態のゲート絶縁膜13と同様、例えば、酸化シリコン(SiO)や窒化シリコン(SiN)などを主成分として含んで構成されている。このバッファ絶縁膜22は、ゲート電極12を含む基板11の表面全体に渡って形成されており、平坦化膜の役割を有している。
また、ゲート電極24は、少なくとも真性半導体領域14Cの全体もしくは一部との対向領域に形成されており、例えば矩形状となっている。なお、図9には、ゲート電極24が真性半導体領域14Cの一部との対向領域に形成されている場合が例示されている。
(変形例4)
また、ダイオード素子10,20は、例えば、図10に示したように、絶縁膜17の表面のうち、真性半導体領域14Cを含む部分との対向領域に、ゲート電極18をさらに追加し、デュアルゲート型の薄膜ダイオードにしてもよい。
(変形例5)
上記実施の形態および上記各変形例では、ダイオード素子20に反射光L1+外光L2が入射し、ダイオード素子10には外光L2だけが入射する場合について説明したが、例えば、図11に示したように、ダイオード素子10に反射光L1+外光L2が入射し、ダイオード素子20に外光L2だけが入射するようにしてもよい。ただし、そのようにした場合には、出力電圧Voが図3、図5、図7に例示した方向とは逆の方向に変位することになる。
なお、上記各変形例においても、真性半導体領域14Cを半導体層14からなくすることも可能である。
次に、上記実施の形態および上記各変形例にかかるセンサ素子1の適用例について説明する。
(適用例1)
図12は、本発明の一適用例にかかる表示装置2(入力機能付き表示装置)の概略構成を表したものである。なお、本発明の入力装置については、表示装置2によって具現化されるので、表示装置2の説明と併せて説明する。
表示装置2は、表示パネル31と、I/O表示パネル31と、バックライト32と、表示ドライブ回路33と、受光ドライブ回路34(駆動部)と、画像処理部35と、アプリケーションプログラム実行部36とを備えている。
I/O表示パネル31は、例えば、中央の表示領域に複数の画素が全面に渡ってマトリクス状に配置された液晶パネル(LCD(Liquid Crystal Display))からなり、線順次動作をしながら表示データに基づく所定の図形や文字などの画像を表示する機能(表示機能)を有している。また、後述するように、I/O表示パネル31の表示領域には、光センサ素子1が配置され、I/O表示パネル31の表示面に接触または近接する物体を検知するセンサ機能(撮像機能)が設けられている。
また、バックライト32は、I/O表示パネル31の光源であり、例えば複数の発光ダイオードを面内に配列して構成されている。このバックライト32は、後述するようにI/O表示パネル31の動作タイミングに同期した所定のタイミングで、高速に発光ダイオードのオンオフ動作を行うようになっている。バックライト32は、例えば、可視光または赤外光を射出することが可能となっている。
受光ドライブ回路34は、I/O表示パネル31において受光データが得られるように(物体を撮像するように)、このI/O表示パネル31の駆動を行う(線順次動作の駆動を行う)回路である。なお、各画素での受光データは、例えばフレーム単位でフレームメモリ33aに蓄積され、撮像画像として画像処理部35へ出力されるようになっている。
画像処理部35は、受光ドライブ回路34から出力される撮像画像に基づいて所定の画像処理(演算処理)を行い、表示パネル31に接触または近接する物体に関する情報(位置座標データ、物体の形状や大きさに関するデータなど)を検出し、取得するものである。
アプリケーションプログラム実行部36は、画像処理部35による検知結果に基づいて所定のアプリケーションソフトに応じた処理を実行するものであり、例えば検知した物体の位置座標を表示データに含むようにし、表示パネル31上に表示させるものなどが挙げられる。なお、このアプリケーションプログラム実行部36で生成される表示データは表示ドライブ回路33へ供給されるようになっている。
図13は、表示パネル31の表示領域における画素部40の回路構成の一例を表したものである。表示パネル31の表示領域には、複数の画素部40と、複数のセンサ素子1とが配列されている。
画素部40は、表示領域内において、水平方向に配線された複数の走査線41と、垂直方向に配線された複数の信号線42との各交差部に配置されている。各画素部40には、例えばスイッチング素子としての薄膜トランジスタ(Thin Film Transistor:TFT)43が設けられている。
薄膜トランジスタ43は、ゲートが走査線41に接続され、ソースおよびドレインの一方が信号線42に接続され、ソースおよびドレインの他方が画素電極44に接続されている。また、各画素部40には、全ての画素部40に共通電位を与える共通電極45が設けられており、これらの各画素電極44と共通電極45との間に液晶層46が挟持されている。
そして、走査線41を介して供給される駆動信号に基づいて薄膜トランジスタ43がオンオフ動作し、オン状態のときに信号線42から供給される表示信号に基づいて画素電極44に画素電圧が印加され、画素電極44と共通電極45との間の電界によって液晶層46が駆動される構成となっている。
図14は、表示領域内に配置される薄膜トランジスタ43およびダイオード素子10,20の断面構成の一例を表したものである。薄膜トランジスタ43は、ダイオード素子10,20と共通の構成となっており、例えば、基板11上に、ゲート電極51と、ゲート絶縁膜13と、半導体層52と、ソース電極53およびドレイン電極54とを基板11側から順に備えたボトムゲート型の薄膜トランジスタである。なお、図14には、薄膜トランジスタ43およびダイオード素子10,20を覆う平坦化膜25や、トップゲートとして用いるゲート電極26、ゲート電極26に接続されたゲート配線27、ドレイン電極54に接続された画素電極44が設けられている場合が例示されている。
本適用例では、表示パネル31の表示領域に、表示パネル31の表示面に接触または近接する物体を検知するセンサとして、光センサ素子1が設けられている。これにより、室外環境などで、強い外光が入射した場合であっても、容量素子30を飽和させずに、外部からの光や熱などの外部エネルギーの成分を取り除くことができる。その結果、表示領域上に配置された指やペンなどの物体の位置を確実に検出することができる。
(適用例2)
図15は、本発明の他の適用例にかかる通信デバイス3の概略構成を表したものである。この通信デバイス3は、明滅可能な1または複数の発光素子61と、1または複数のセンサ素子1からなるセンサ素子62と、これらをドライブするドライブ回路63とを備えている。この通信デバイス3では、他の通信デバイス3の発光素子61からの光を検知するセンサとして、光センサ素子1が設けられている。これにより、室外環境などで、強い外光が入射した場合であっても、容量素子30を飽和させずに、外部からの光や熱などの外部エネルギーの成分を取り除くことができる。その結果、表示領域上に配置された指やペンなどの物体の位置を確実に検出することができる。
以上、実施の形態、変形例および適用例を挙げて本発明の光センサ素子などについて説明したが、本発明は上記実施の形態等に限定されるものではなく、本発明の光センサ素子などの構成は、上記実施の形態等と同様の効果を得ることが可能な限りにおいて自由に変形可能である。
例えば、上記実施の形態等では、半導体層14に信号光または信号熱が断続的に与えられている期間のうち半導体層14に信号光または信号熱が与えられている間、ダイオード素子10およびダイオード素子20のいずれか一方だけをオンしていた。さらに、半導体層14に信号光または信号熱が断続的に与えられている期間のうち半導体層14に信号光または信号熱が与えられていない間、ダイオード素子10およびダイオード素子20のうち半導体層14に光または熱が与えられている間にオフしていた方のダイオード素子だけをオンしていた。このとき、さらに、所定のタイミングにおいて、ダイオード素子10,20を同時にオンしたり、同時にオフしたりすることも可能である。また、例えば、図3に示したように、ゲート電極12の電圧φ1,φ2の立ち上がりと立ち下がりのタイミングを、マージンなどを考慮してずらすことにより、ダイオード素子10,20が同時にオンしていたり、同時にオフしていたりする期間があってもよい。
本発明の一実施の形態に係る光センサ素子の回路図である。 図1のダイオード素子の断面図である。 図1の光センサ素子のオンオフ制御の一例について説明するための波形図である。 図1のダイオード素子のI−V特性を表す特性図である。 図1の光センサ素子のオンオフ制御の他の例について説明するための波形図である。 図5のダイオード素子のI−V特性を表す特性図である。 図1の光センサ素子のオンオフ制御のその他の例について説明するための波形図である。 図7のダイオード素子のI−V特性を表す特性図である。 図1のダイオード素子の一変形例の断面図である。 図1のダイオード素子の他の変形例の断面図である。 図1の光センサ素子の一変形例の断面図である。 本発明の一適用例に係る表示装置の概略構成図である。 図12の画素部の構成図である。 図13の薄膜トランジスタおよび光センサ素子の断面図である。 本発明の他の適用例に係る表示装置の概略構成図である。
符号の説明
1…センサ素子、2…表示装置、3…通信デバイス、10,20…ダイオード素子、11…基板、12,18,24,26,51…ゲート電極、13,23,27…ゲート絶縁膜、14,52…半導体層、14A,52C…p型半導体領域、14B,52A,52B…n型半導体領域、14C…真性半導体領域、15…アノード電極、16…カソード電極、17…絶縁膜、21…遮光膜、22…バッファ絶縁膜、25…平坦化膜、30…容量素子、31…I/O表示パネル、32…バックライト、33…表示ドライブ回路、34…受光ドライブ回路、34a…フレームメモリ、35…画像処理部、36…アプリケーションプログラム実行部、40…画素部、41…走査線、42…信号線、43…薄膜トランジスタ、44…画素電極、45…共通電極、46…液晶層、53…ソース電極、54…ドレイン電極、61…発光素子、62…センサ素子、63…ドライブ回路、α…オン動作領域、β1,β2…オフ動作領域、Vu…立ち上がり電圧、Vd…立ち下がり電圧。

Claims (18)

  1. 互いに直列に接続された2つのダイオード素子と、
    一端が前記2つのダイオード素子の接続部分に接続された容量素子と
    を備え、
    前記各ダイオード素子は、
    面内方向において互いに対向するp型半導体領域およびn型半導体領域を有する半導体層と、
    前記p型半導体領域に接続されたアノード電極と、
    前記n型半導体領域に接続されたカソード電極と、
    積層方向において前記半導体層と対向配置されたゲート絶縁膜と、
    前記ゲート絶縁膜を介して前記半導体層と対向配置されたゲート電極と
    を有するセンサ素子。
  2. 前記半導体層は、前記p型半導体領域と前記n型半導体領域との間に真性半導体領域を有する請求項1に記載のセンサ素子。
  3. 前記各ダイオード素子は、前記半導体層に与えられた光または熱の大きさに応じて電荷を発生する請求項1または請求項2に記載のセンサ素子。
  4. 前記各ダイオード素子は基板上に形成され、
    前記ゲート絶縁膜および前記ゲート電極は前記半導体層との関係で基板側に形成されている請求項1または請求項2に記載のセンサ素子。
  5. 前記各ダイオード素子は基板上に形成され、
    前記ゲート絶縁膜および前記ゲート電極は前記半導体層との関係で基板とは反対側に形成されている請求項1または請求項2に記載のセンサ素子。
  6. 前記各ダイオード素子は基板上に形成され、
    前記ゲート絶縁膜および前記ゲート電極は前記半導体層との関係で基板側に形成され、
    前記各ダイオード素子は、
    前記半導体層との関係で前記ゲート絶縁膜とは反対側に形成された第二ゲート絶縁膜と、
    前記第二ゲート絶縁膜を介して前記半導体層と対向配置された第二ゲート電極と
    を有する請求項1または請求項2に記載のセンサ素子。
  7. 面内方向において互いに対向するp型半導体領域およびn型半導体領域を有する半導体層と、前記p型半導体領域に接続されたアノード電極と、前記n型半導体領域に接続されたカソード電極と、積層方向において前記半導体層と対向配置されたゲート絶縁膜と、前記ゲート絶縁膜を介して前記半導体層と対向配置されたゲート電極とを有すると共に互いに直列に接続された2つのダイオード素子と、一端が前記2つのダイオード素子の接続部分に接続された容量素子とを備えたセンサ素子の、前記アノード電極が前記容量素子に接続された方のダイオード素子(第一ダイオード素子)における前記カソード電極と前記ゲート電極との電位関係と、前記カソード電極が前記容量素子に接続された方のダイオード素子(第二ダイオード素子)における前記アノード電極と前記ゲート電極との電位関係とを変えて、前記2つのダイオード素子を別個にオンオフするセンサ素子の駆動方法。
  8. 前記半導体層は、前記p型半導体領域と前記n型半導体領域との間に真性半導体領域を有する請求項7に記載のセンサ素子の駆動方法。
  9. 前記第一ダイオード素子において、オン時の前記ゲート電極の電圧をφ1(on)、オフ時の前記ゲート電極の電圧をφ1(off)とし、前記第二ダイオード素子において、オン時の前記ゲート電極の電圧をφ2(on)、オフ時の前記ゲート電極の電圧をφ2(off)とすると、φ1(on)、φ1(off)、φ2(on)、φ2(off)が以下の関係を満たすように、前記第一ダイオード素子における前記カソード電極と前記ゲート電極との電位関係と、前記第二ダイオード素子における前記アノード電極と前記ゲート電極との電位関係とを変える請求項7または請求項8に記載のセンサ素子の駆動方法。
    φ1(on)<φ1(off)
    φ2(on)>φ2(off)
  10. 前記第一ダイオード素子において、オン時の前記カソード電極の電圧をV1(on)、オフ時の前記カソード電極の電圧をV1(off)とし、前記第二ダイオード素子において、オン時の前記アノード電極の電圧をV2(on)、オフ時の前記アノード電極の電圧をV2(off)とすると、V1(on)、V1(off)、V2(on)、V2(off)が以下の関係を満たすように、前記第一ダイオード素子における前記カソード電極と前記ゲート電極との電位関係と、前記第二ダイオード素子における前記アノード電極と前記ゲート電極との電位関係とを変える請求項7または請求項8に記載のセンサ素子の駆動方法。
    V1(on)>V1(off)
    V1(on)<V2(off)
  11. 前記第一ダイオード素子において、オン時の前記ゲート電極の電圧をφ1(on)、オフ時の前記ゲート電極の電圧をφ1(off)とし、前記第二ダイオード素子において、オン時の前記ゲート電極の電圧をφ2(on)、オフ時の前記ゲート電極の電圧をφ2(off)とすると、φ1(on)、φ1(off)、φ2(on)、φ2(off)が以下の関係を満たすように、前記第一ダイオード素子における前記カソード電極と前記ゲート電極との電位関係と、前記第二ダイオード素子における前記アノード電極と前記ゲート電極との電位関係とを変える請求項7または請求項8に記載のセンサ素子の駆動方法。
    φ1(on)>φ1(off)
    φ2(on)<φ2(off)
  12. 前記第一ダイオード素子において、前記ゲート電圧を徐々に上げていったときに、出力電流が急激に大きくなる立ち上がり電圧をVg1、出力電流が急激に小さくなる立ち下がり電圧をVg2とし、前記第二ダイオード素子において、前記ゲート電圧を徐々に上げていったときに、出力電流が急激に大きくなる立ち上がり電圧をVg3、出力電流が急激に小さくなる立ち下がり電圧をVg4とし、さらに、前記第一ダイオード素子における前記ゲート電極の電圧をφ1、前記第二ダイオード素子における前記ゲート電極の電圧をφ2とすると、前記第一ダイオード素子がオンし、前記第二ダイオード素子がオフしている時のφ1、φ2が以下の式(1)、(2)を満たし、前記第一ダイオード素子がオフし、前記第二ダイオード素子がオンしている時のφ1、φ2が以下の式(3)、(4)を満たすように、前記第一ダイオード素子における前記カソード電極と前記ゲート電極との電位関係と、前記第二ダイオード素子における前記アノード電極と前記ゲート電極との電位関係とを変える請求項7または請求項8に記載のセンサ素子の駆動方法。
    Vg1<φ1<Vg2…(1)
    φ2<Vg3…(2)
    Vg2<φ1…(3)
    Vg3<φ2<Vg4…(4)
  13. 前記第一ダイオード素子において、前記ゲート電圧を徐々に上げていったときに、出力電流が急激に大きくなる立ち上がり電圧をVg1、出力電流が急激に小さくなる立ち下がり電圧をVg2とし、前記第二ダイオード素子において、前記ゲート電圧を徐々に上げていったときに、出力電流が急激に大きくなる立ち上がり電圧をVg3、出力電流が急激に小さくなる立ち下がり電圧をVg4とし、さらに、前記第一ダイオード素子における前記ゲート電極の電圧をφ1、前記第二ダイオード素子における前記ゲート電極の電圧をφ2とすると、前記第一ダイオード素子がオンし、前記第二ダイオード素子がオフしている時のφ1、φ2が以下の式(5)、(6)を満たし、前記第一ダイオード素子がオフし、前記第二ダイオード素子がオンしている時のφ1、φ2が以下の式(7)、(8)を満たすように、前記第一ダイオード素子における前記カソード電極と前記ゲート電極との電位関係と、前記第二ダイオード素子における前記アノード電極と前記ゲート電極との電位関係とを変える請求項7または請求項8に記載のセンサ素子の駆動方法。
    Vg1<φ1<Vg2…(5)
    Vg4<φ2…(6)
    φ1<Vg1…(7)
    Vg3<φ2<Vg4…(8)
  14. 前記半導体層に信号光または信号熱が断続的に与えられている期間のうち前記半導体層に信号光または信号熱が与えられている間、前記第一ダイオード素子および前記第二ダイオード素子のいずれか一方だけをオンし、前記半導体層に信号光または信号熱が断続的に与えられている期間のうち前記半導体層に信号光または信号熱が与えられていない間、前記第一ダイオード素子および前記第二ダイオード素子のうち前記半導体層に光または熱が与えられている間にオフしていた方のダイオード素子だけをオンする請求項7または請求項8に記載のセンサ素子の駆動方法。
  15. 一の面内にマトリクス状に配置された複数のセンサ素子と、
    前記複数のセンサ素子を駆動する駆動部と
    を備え、
    前記各センサ素子は、
    互いに直列に接続された2つのダイオード素子と、
    一端が前記2つのダイオード素子の接続部分に接続された容量素子と
    を有し、
    前記各ダイオード素子は、
    面内方向において互いに対向するp型半導体領域およびn型半導体領域を有する半導体層と、
    前記p型半導体領域に接続されたアノード電極と、
    前記n型半導体領域に接続されたカソード電極と、
    積層方向において前記半導体層と対向配置されたゲート絶縁膜と、
    前記ゲート絶縁膜を介して前記半導体層と対向配置されたゲート電極と
    を含み、
    前記駆動部は、前記アノード電極が前記容量素子に接続された方のダイオード素子における前記カソード電極と前記ゲート電極との電位関係と、前記カソード電極が前記容量素子に接続された方のダイオード素子における前記アノード電極と前記ゲート電極との電位関係とを変えて、前記2つのダイオード素子を別個にオンオフする入力装置。
  16. 前記複数のセンサ素子の背後に光源を備える請求項15に記載の入力装置。
  17. 一の面内にマトリクス状に配置された複数の表示素子および複数のセンサ素子と、
    前記複数の表示素子および前記複数のセンサ素子を駆動する駆動部と
    を備え、
    前記各センサ素子は、
    互いに直列に接続された2つのダイオード素子と、
    一端が前記2つのダイオード素子の接続部分に接続された容量素子と
    を有し、
    前記各ダイオード素子は、
    面内方向において互いに対向するp型半導体領域およびn型半導体領域を有する半導体層と、
    前記p型半導体領域に接続されたアノード電極と、
    前記n型半導体領域に接続されたカソード電極と、
    積層方向において前記半導体層と対向配置されたゲート絶縁膜と、
    前記ゲート絶縁膜を介して前記半導体層と対向配置されたゲート電極と
    を含み、
    前記駆動部は、前記アノード電極が前記容量素子に接続された方のダイオード素子における前記カソード電極と前記ゲート電極との電位関係と、前記カソード電極が前記容量素子に接続された方のダイオード素子における前記アノード電極と前記ゲート電極との電位関係とを変えて、前記2つのダイオード素子を別個にオンオフする入力機能付き表示装置。
  18. 1または複数のセンサ素子と、
    前記1または複数のセンサ素子を駆動する駆動部と
    を備え、
    前記1または複数のセンサ素子は、
    互いに直列に接続された2つのダイオード素子と、
    一端が前記2つのダイオード素子の接続部分に接続された容量素子と
    を有し、
    前記各ダイオード素子は、
    面内方向において互いに対向するp型半導体領域およびn型半導体領域を有する半導体層と、
    前記p型半導体領域に接続されたアノード電極と、
    前記n型半導体領域に接続されたカソード電極と、
    積層方向において前記半導体層と対向配置されたゲート絶縁膜と、
    前記ゲート絶縁膜を介して前記半導体層と対向配置されたゲート電極と
    を含み、
    前記駆動部は、前記アノード電極が前記容量素子に接続された方のダイオード素子における前記カソード電極と前記ゲート電極との電位関係と、前記カソード電極が前記容量素子に接続された方のダイオード素子における前記アノード電極と前記ゲート電極との電位関係とを変えて、前記2つのダイオード素子を別個にオンオフする通信デバイス。
JP2008258862A 2008-10-03 2008-10-03 センサ素子およびその駆動方法 Expired - Fee Related JP5275739B2 (ja)

Priority Applications (5)

Application Number Priority Date Filing Date Title
JP2008258862A JP5275739B2 (ja) 2008-10-03 2008-10-03 センサ素子およびその駆動方法
TW098130971A TWI406400B (zh) 2008-10-03 2009-09-14 感測元件及其驅動方法,及輸入裝置,具有輸入功能之顯示裝置及通訊元件
US12/562,317 US8456460B2 (en) 2008-10-03 2009-09-18 Sensor element and method of driving sensor element, and input device, display device with input function and communication device
KR1020090093985A KR20100038160A (ko) 2008-10-03 2009-10-01 센서 소자, 센서 소자 구동 방법, 입력 장치, 입력 기능을 구비한 디스플레이 장치, 및 통신 장치
CN2009101794110A CN101714566B (zh) 2008-10-03 2009-10-09 传感器元件、驱动其的方法、输入装置、显示装置和通信装置

Applications Claiming Priority (1)

Application Number Priority Date Filing Date Title
JP2008258862A JP5275739B2 (ja) 2008-10-03 2008-10-03 センサ素子およびその駆動方法

Publications (3)

Publication Number Publication Date
JP2010092935A true JP2010092935A (ja) 2010-04-22
JP2010092935A5 JP2010092935A5 (ja) 2011-11-10
JP5275739B2 JP5275739B2 (ja) 2013-08-28

Family

ID=42075438

Family Applications (1)

Application Number Title Priority Date Filing Date
JP2008258862A Expired - Fee Related JP5275739B2 (ja) 2008-10-03 2008-10-03 センサ素子およびその駆動方法

Country Status (5)

Country Link
US (1) US8456460B2 (ja)
JP (1) JP5275739B2 (ja)
KR (1) KR20100038160A (ja)
CN (1) CN101714566B (ja)
TW (1) TWI406400B (ja)

Families Citing this family (8)

* Cited by examiner, † Cited by third party
Publication number Priority date Publication date Assignee Title
US20120262424A1 (en) * 2009-09-30 2012-10-18 Sharp Kabushiki Kaisha Display Device
WO2011040092A1 (ja) 2009-09-30 2011-04-07 シャープ株式会社 表示装置
CN105336752B (zh) * 2014-06-23 2018-08-21 上海箩箕技术有限公司 面阵传感器装置及其形成方法
CN105097941B (zh) * 2015-05-28 2019-02-26 京东方科技集团股份有限公司 一种薄膜晶体管及其制造方法、阵列基板、显示装置
JP6704802B2 (ja) * 2016-06-10 2020-06-03 株式会社ジャパンディスプレイ 入力検出装置および電子装置
FR3083975B1 (fr) 2018-07-20 2020-10-16 Univ Sorbonne Dispositif d'observation oculaire
KR20230089247A (ko) * 2021-12-13 2023-06-20 엘지디스플레이 주식회사 픽셀 회로 및 표시 장치
CN115290953B (zh) * 2022-06-24 2024-05-17 杭州格蓝丰科技有限公司 一种基于动态二极管的自驱动机械信号传感器及其制备方法

Citations (5)

* Cited by examiner, † Cited by third party
Publication number Priority date Publication date Assignee Title
JP2004119719A (ja) * 2002-09-26 2004-04-15 Toshiba Matsushita Display Technology Co Ltd 光センサ用ダイオード、これを用いた画像入力回路、および画像入力回路の駆動方法
JP2006003857A (ja) * 2003-08-25 2006-01-05 Toshiba Matsushita Display Technology Co Ltd 表示装置および光電変換素子
JP2006118965A (ja) * 2004-10-21 2006-05-11 Seiko Epson Corp 光検出回路、電気光学装置、および電子機器
JP2007524197A (ja) * 2003-12-15 2007-08-23 コーニンクレッカ フィリップス エレクトロニクス エヌ ヴィ 光センサーを備えたアクティブマトリックス型画素デバイス
JP2007310628A (ja) * 2006-05-18 2007-11-29 Hitachi Displays Ltd 画像表示装置

Family Cites Families (12)

* Cited by examiner, † Cited by third party
Publication number Priority date Publication date Assignee Title
US6051857A (en) * 1998-01-07 2000-04-18 Innovision, Inc. Solid-state imaging device and method of detecting optical signals using the same
US7265740B2 (en) * 2002-08-30 2007-09-04 Toshiba Matsushita Display Technology Co., Ltd. Suppression of leakage current in image acquisition
JP4565815B2 (ja) * 2003-06-27 2010-10-20 三洋電機株式会社 表示装置
KR100669270B1 (ko) * 2003-08-25 2007-01-16 도시바 마쯔시따 디스플레이 테크놀로지 컴퍼니, 리미티드 표시 장치 및 광전 변환 소자
US8300031B2 (en) * 2005-04-20 2012-10-30 Semiconductor Energy Laboratory Co., Ltd. Semiconductor device comprising transistor having gate and drain connected through a current-voltage conversion element
US7636078B2 (en) * 2005-05-20 2009-12-22 Semiconductor Energy Laboratory Co., Ltd. Display device and electronic device
US8059109B2 (en) * 2005-05-20 2011-11-15 Semiconductor Energy Laboratory Co., Ltd. Display device and electronic apparatus
JP2007248956A (ja) * 2006-03-17 2007-09-27 Epson Imaging Devices Corp 電気光学装置および電子機器
JP2008122659A (ja) * 2006-11-13 2008-05-29 Seiko Epson Corp 液晶表示装置及び液晶表示装置の製造方法並びに電子機器
US8514165B2 (en) * 2006-12-28 2013-08-20 Semiconductor Energy Laboratory Co., Ltd. Semiconductor device
JP4301297B2 (ja) * 2007-01-19 2009-07-22 エプソンイメージングデバイス株式会社 電気光学装置
CN101625996B (zh) * 2008-07-08 2011-03-23 中芯国际集成电路制造(上海)有限公司 用以减少暗电流的ono侧墙刻蚀工艺

Patent Citations (5)

* Cited by examiner, † Cited by third party
Publication number Priority date Publication date Assignee Title
JP2004119719A (ja) * 2002-09-26 2004-04-15 Toshiba Matsushita Display Technology Co Ltd 光センサ用ダイオード、これを用いた画像入力回路、および画像入力回路の駆動方法
JP2006003857A (ja) * 2003-08-25 2006-01-05 Toshiba Matsushita Display Technology Co Ltd 表示装置および光電変換素子
JP2007524197A (ja) * 2003-12-15 2007-08-23 コーニンクレッカ フィリップス エレクトロニクス エヌ ヴィ 光センサーを備えたアクティブマトリックス型画素デバイス
JP2006118965A (ja) * 2004-10-21 2006-05-11 Seiko Epson Corp 光検出回路、電気光学装置、および電子機器
JP2007310628A (ja) * 2006-05-18 2007-11-29 Hitachi Displays Ltd 画像表示装置

Also Published As

Publication number Publication date
TWI406400B (zh) 2013-08-21
US8456460B2 (en) 2013-06-04
TW201027726A (en) 2010-07-16
US20100085339A1 (en) 2010-04-08
CN101714566A (zh) 2010-05-26
CN101714566B (zh) 2012-01-04
KR20100038160A (ko) 2010-04-13
JP5275739B2 (ja) 2013-08-28

Similar Documents

Publication Publication Date Title
CN108987455B (zh) 用于显示面板的阵列基板、显示面板
JP5275739B2 (ja) センサ素子およびその駆動方法
CN102081481B (zh) 传感器装置、驱动方法、显示装置、电子单元及摄像装置
US10679559B2 (en) Display driving unit circuit, driving method, display driving circuit and display device
JP4573856B2 (ja) マルチタッチ感知機能を有する液晶表示装置及びその駆動方法
KR102816490B1 (ko) 표시 장치
CN102047308B (zh) 显示装置
CN101499498B (zh) 光学传感器元件、成像装置、电子设备和存储元件
JP4567028B2 (ja) マルチタッチ感知機能を有する液晶表示装置とその駆動方法
CN102997993B (zh) 光感测装置、驱动方法、以及光学触摸屏装置
CN100580534C (zh) 图像显示装置
US20140368760A1 (en) Touch panel and electronic device
JP2006079589A (ja) タッチパネル
WO2010150573A1 (ja) 表示装置
CN109147693B (zh) 具有红外识别的发光二极管显示装置
CN112259581B (zh) 控制组件、显示屏以及控制装置
CN101446704A (zh) 液晶显示设备
JP2009146100A (ja) 表示装置および光センサ素子
CN112673414A (zh) 具有光感测功能的像素电路、驱动方法和显示设备
KR101974084B1 (ko) 표시장치
JP2005173184A (ja) 表示装置及びその駆動制御方法
US9891102B2 (en) Simplified light sensing circuit, light sensing apparatus including the light sensing circuit, method of driving the light sensing apparatus, and image acquisition apparatus and optical touch screen apparatus including the light sensing apparatus
WO2010092709A1 (ja) 表示装置
JP5289583B2 (ja) 表示装置
JP2012194198A (ja) 光センサおよび表示装置

Legal Events

Date Code Title Description
A521 Request for written amendment filed

Free format text: JAPANESE INTERMEDIATE CODE: A523

Effective date: 20110926

A621 Written request for application examination

Free format text: JAPANESE INTERMEDIATE CODE: A621

Effective date: 20110926

A711 Notification of change in applicant

Free format text: JAPANESE INTERMEDIATE CODE: A711

Effective date: 20120330

A131 Notification of reasons for refusal

Free format text: JAPANESE INTERMEDIATE CODE: A131

Effective date: 20130219

A977 Report on retrieval

Free format text: JAPANESE INTERMEDIATE CODE: A971007

Effective date: 20130220

RD03 Notification of appointment of power of attorney

Free format text: JAPANESE INTERMEDIATE CODE: A7423

Effective date: 20130328

A521 Request for written amendment filed

Free format text: JAPANESE INTERMEDIATE CODE: A523

Effective date: 20130411

TRDD Decision of grant or rejection written
A01 Written decision to grant a patent or to grant a registration (utility model)

Free format text: JAPANESE INTERMEDIATE CODE: A01

Effective date: 20130430

A61 First payment of annual fees (during grant procedure)

Free format text: JAPANESE INTERMEDIATE CODE: A61

Effective date: 20130516

R150 Certificate of patent or registration of utility model

Free format text: JAPANESE INTERMEDIATE CODE: R150

Ref document number: 5275739

Country of ref document: JP

Free format text: JAPANESE INTERMEDIATE CODE: R150

R250 Receipt of annual fees

Free format text: JAPANESE INTERMEDIATE CODE: R250

R250 Receipt of annual fees

Free format text: JAPANESE INTERMEDIATE CODE: R250

R250 Receipt of annual fees

Free format text: JAPANESE INTERMEDIATE CODE: R250

LAPS Cancellation because of no payment of annual fees