JP2010092694A - 筐体の密閉構造 - Google Patents

筐体の密閉構造 Download PDF

Info

Publication number
JP2010092694A
JP2010092694A JP2008261037A JP2008261037A JP2010092694A JP 2010092694 A JP2010092694 A JP 2010092694A JP 2008261037 A JP2008261037 A JP 2008261037A JP 2008261037 A JP2008261037 A JP 2008261037A JP 2010092694 A JP2010092694 A JP 2010092694A
Authority
JP
Japan
Prior art keywords
lid
housing
screw
internal space
housing body
Prior art date
Legal status (The legal status is an assumption and is not a legal conclusion. Google has not performed a legal analysis and makes no representation as to the accuracy of the status listed.)
Granted
Application number
JP2008261037A
Other languages
English (en)
Other versions
JP4717918B2 (ja
JP2010092694A5 (ja
Inventor
Shigetoshi Fujitani
繁年 藤谷
Shojun Ikeda
昌順 池田
Yoshihiro Shima
義拓 島
Current Assignee (The listed assignees may be inaccurate. Google has not performed a legal analysis and makes no representation or warranty as to the accuracy of the list.)
Idec Corp
Original Assignee
Idec Corp
Priority date (The priority date is an assumption and is not a legal conclusion. Google has not performed a legal analysis and makes no representation as to the accuracy of the date listed.)
Filing date
Publication date
Application filed by Idec Corp filed Critical Idec Corp
Priority to JP2008261037A priority Critical patent/JP4717918B2/ja
Publication of JP2010092694A publication Critical patent/JP2010092694A/ja
Publication of JP2010092694A5 publication Critical patent/JP2010092694A5/ja
Application granted granted Critical
Publication of JP4717918B2 publication Critical patent/JP4717918B2/ja
Active legal-status Critical Current
Anticipated expiration legal-status Critical

Links

Images

Landscapes

  • Arrangement Of Elements, Cooling, Sealing, Or The Like Of Lighting Devices (AREA)
  • Switch Cases, Indication, And Locking (AREA)

Abstract

【課題】 蓋体をシール部材を介して筐体本体に固定してなる筐体の密閉構造において、筐体を小型化する。
【解決手段】 筐体の密閉構造であって、外周に断面コ字状の縁部30を有する蓋体3と、蓋体3により閉塞される内部空間2aを有し、縁部30の折曲部30cを受け入れる凹部20を外周面に有する箱状の筐体本体2と、筐体本体2の内部空間2aの開口部に設けられ、蓋体3および筐体本体2で挟持されることにより内部空間2aをシールするパッキン6と、凹部20に配置された蓋体3の縁部30の折曲部30cをその下方から付勢することにより、パッキン6を加圧するネジ5とを設ける。ネジ5の頭部50を筐体本体2の底面2cの側に配置し、ネジ部51を筐体本体2の凹部20内に配置して蓋体3の縁部30の折曲部30cに螺合させる。
【選択図】 図2

Description

本発明は、筐体の気密性や液密性を確保するための筐体の密閉構造に関し、詳細には、筐体を小型化するための構造の改良に関する。
例えばFA(ファクトリー・オートメーション)用のスイッチ等の各種制御機器の筐体は、一般に、電子機器を収容する筺体本体と、これにネジ止め固定される蓋体とから構成されている。また、このような筐体がオイルや水などの液体が飛散する環境で使用される場合には、筺体本体と蓋体との合わせ面にパッキン等のシール部材を装着することにより、液体に対するシール性(以下、本明細書中では、ガスに対するシール性も含めて「密閉性」と呼称する。)を実現している。
図7は、従来の筐体の一例を示しており、(a)は筐体の横断面図であって(b)のA−A線断面に相当する図、(b)は(a)のB−B線断面図である。
筐体100は、図示しない電子機器を収容する内部空間101aを有する筐体本体101と、筐体本体101の合わせ面101bに当接して内部空間101aを閉塞する蓋体102とから構成されている。
筐体本体101の合わせ面101bには、内部空間101aの開口縁部に沿って略矩形状に延びる溝101cが形成されている。溝101c内には、パッキン103が装着されている。また、筐体本体101の合わせ面101bには、複数(この例では6個)のネジ孔101dが形成されている。これらのネジ孔101dには、蓋体102を挿通する取付ネジ104のネジ部がそれぞれ螺合している。
この場合には、蓋体102を筐体本体101の合わせ面101bに載せて、各取付ネジ104を締め付けることにより、合わせ面101bの溝101cに装着されたパッキン103が、蓋体102の裏面および筐体本体101の合わせ面101bに圧接することにより、筐体本体101の内部空間101aがシールされて、筐体100の密閉性が確保されている。
しかしながら、前記従来の構造では、パッキン103の側方に取付ネジ104を配置しており、このため、筐体本体101の合わせ面101bの幅寸法が大きくなって、筐体全体が大型化するという欠点がある。
そこで、特開2003−31966号公報の図19および図20に示すように、パッキンに複数の貫通孔を開けて、これらの貫通孔にネジを挿入することにより、筐体全体を小型化することも考えられる。
特開2003−31966号公報(図19および図20参照)
ところが、この場合には、ネジの頭部が蓋体の表面から突出することになるため、筐体の側で作業を行なう場合に、例えば、ネジの頭部が作業者の着衣に引っ掛かって、円滑な作業を阻害する恐れがある。また、この場合、制御機器の表側に多数のネジの頭部が露出していることで、機器としての美観を損なう。さらに、ネジの頭部が突出している分だけ、筐体の実質的な厚み増加につながり、筐体全体が実質的に大型化することになる。その一方、蓋体に座ぐり孔を開けることにより、ネジの頭部を座ぐり孔に沈めて、蓋体表面からネジの頭部が突出しないようにすることも考えられるが、この場合には、蓋体の厚みを厚くする必要が生じ、その結果、筐体全体の厚みが増すことになる。
本発明は、このような従来の実情に鑑みてなされたもので、本発明が解決しようとする課題は、蓋体をシール部材を介して筐体本体に固定してなる筐体の密閉構造において、筐体を小型化することにある。
請求項1の発明に係る筐体の密閉構造は、外周に断面コ字状の縁部を有する蓋体と、蓋体により閉塞される内部空間を有し、蓋体の縁部の下部を受け入れる受入れ部を外周面に有する箱状の筐体本体と、筐体本体の内部空間の開口部に設けられ、蓋体および筐体本体で挟持されることにより内部空間をシールするためのシール部材と、筐体本体の受入れ部に配置された蓋体の縁部の下部を筐体本体の内部空間の開口部から離れる側に縁部の下部の下方から付勢することにより、シール部材を加圧する加圧手段とを備えている。
請求項1の発明においては、蓋体を筐体本体に載せて蓋体外周の断面コ字状の縁部の下部を筐体本体の外周面の受入れ部に配置した状態で、加圧手段が蓋体の断面コ字状の縁部の下部をその下方から付勢すると、蓋体および筐体本体間で挟持されたシール部材が加圧されて、筐体本体の内部空間がシールされる。これにより、筐体の密閉性を確保できる。
この場合には、筐体本体の外周面に形成された受入れ部に蓋体外周の縁部の下部を配置して、当該下部に対してその下方から加圧手段による付勢力を作用させるようにしたので、シール部材の側方に取付ネジ等の締付部材を配置する必要がなくなり、これにより、筐体の幅寸法が大きくなることはなく、筐体全体を小型化できる。しかも、この場合には、蓋体の表面から取付ネジ等の締付部材の頭部が突出することもないので、筐体の実質的な厚みが増加することはなく、筐体全体を小型化できるとともに、作業者が筐体の側で円滑に作業を行なうことができ、また機器としての美観も向上できる。
請求項2の発明では、請求項1において、受入れ部が凹部であり、加圧手段がネジであって、ネジの頭部が筐体本体の内部空間の開口部と逆側の底面の側に配置され、ネジのネジ部が筐体本体の凹部内に配置されて蓋体の縁部の下部に螺合している。
請求項2の発明によれば、蓋体を筐体本体に載せた状態で、ネジを締め付けると、ネジ部と螺合する蓋体の縁部下部が筐体本体の内部空間の開口部から離れる側に移動し、これにより、シール部材が蓋体および筐体本体間で挟持されて加圧される。
この場合には、筐体本体の外周面に形成された凹部に蓋体の縁部下部を配置し、当該縁部下部に対して、筐体本体の底面の側に頭部が配置されたネジによる締付力を作用させるようにしたので、筐体の幅寸法が大きくなることはなく、筐体全体を小型化できる。しかも、この場合には、蓋体の表面からネジの頭部が突出しないので、筐体の実質的な厚みが増加することはなく、筐体全体を小型化できるとともに、作業者が筐体の側で円滑に作業を行なうことができ、また機器としての美観も向上できる。
請求項3の発明では、請求項2において、ネジの軸線の延長線がシール部材を通っている。
この場合には、筐体の幅寸法をより小さくでき、筐体全体をより小型化できる。
請求項4の発明では、請求項3において、ネジの軸線の延長線がシール部材の中心を通っている。
この場合には、筐体の幅寸法を最小にでき、筐体全体を最もコンパクトかつスリムに構成できる。
請求項5の発明では、請求項1において、内部空間に発光ダイオード(LED)が配設されており、当該筐体に透光窓が設けられている。
この場合には、密閉性を有する最もコンパクトなLED照明装置を実現できる。
以上のように、本発明に係る筐体の密閉構造によれば、蓋体と、蓋体の断面コ字状の縁部の下部を受け入れるための受入れ部を外周面に有する筐体本体と、筐体本体の内部空間の開口部に設けられたシール部材と、筐体本体の受入れ部に配置された蓋体の縁部の下部を筐体本体の内部空間の開口部から離れる側に縁部下方から付勢することによりシール部材を加圧する加圧手段とを設けたので、筐体の組立ての際には、蓋体を筐体本体に載せて蓋体の断面コ字状の縁部の下部を筐体本体の外周面の受入れ部に配置した状態で、加圧手段を操作することにより、蓋体の断面コ字状の縁部の下部が筐体本体の内部空間の開口部から離れる側に付勢されて、シール部材が加圧され、これにより、筐体本体の内部空間がシールされて、筐体の密閉性を確保できる。
この場合には、筐体本体の外周面に形成された受入れ部に蓋体外周の縁部の下部を配置して、当該下部に対してその下方から加圧手段による付勢力を作用させるようにしたので、シール部材の側方に取付ネジ等の締付部材を配置する必要がなくなり、これにより、筐体の幅寸法が大きくなることはなく、筐体全体を小型化できる。しかも、この場合には、蓋体の表面から取付ネジ等の締付部材の頭部が突出することもないので、筐体の実質的な厚みが増加することはなく、筐体全体を小型化できるとともに、作業者が筐体の側で円滑に作業を行なうことができ、また機器としての美観も向上できる。
以下、本発明の実施例を添付図面に基づいて説明する。
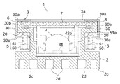
図1および図2は、本発明の一実施例による筐体を説明するための図であって、図1は本発明の一実施例による筐体を採用するLED照明装置の全体斜視図、図2は図1のII-II線断面図である。なお、各図において、図1左右方向を装置の長手方向とし、図2左右方向を装置の幅方向とし、図2上下方向を装置の上下方向とする。
図1および図2に示すように、このLED照明装置を構成する筐体1は、長手方向に延びる箱状の筐体本体2と、その上に装着される蓋体3とから主として構成されている。また、このLED照明装置は、例えば工作機械の内部照明に適用可能なように、筐体本体2および蓋体3が軽量かつ堅固な材料から構成されているのが好ましく、例えばアルミダイカスト製である。これは、工作機械の作業環境が、切削油や切粉が飛散する過酷な環境だからである。
筐体本体2の内部には、内部空間2aが形成されており、当該内部空間2aには、LED45が搭載された基板と、LED45から照射された光を集光するレンズを含むLEDユニット4とが収容されている。内部空間2aは、上方に開口している。また、内部空間2aも同様に、筐体本体2の長手方向に延びている。
蓋体3は、その長手方向と直交する幅方向の両端に断面コ字状の縁部30を有している。縁部30は、蓋体3の上面の一部を形成する上部30aと、上部30aの外側端から下方に垂設された垂設部30bと、垂設部30bの下端から蓋体3の中心側に折り曲げられた折曲部(縁部下部)30cとから構成されており、蓋体3の長手方向に延設されている。蓋体3の上面は、筐体本体2の内部空間2aの開口部を閉塞している。
筐体本体2は、その長手方向と直交する幅方向の両端の外側面に凹状の溝部である凹溝(凹部(受入れ部))20を有している。凹溝20は筐体本体2の長手方向に延設されており、当該凹溝20内には、蓋体3の縁部30の折曲部30cが受け入れられている。折曲部30cと凹溝20との間には、上下方向の間隙が形成されている。
凹溝20の下方において、筐体本体2の内部空間2aの開口部と逆側の底面2cには、複数の座ぐり孔21およびこれと連通する上下方向の貫通孔22が形成されている。貫通孔22は、凹溝20に連通している。
貫通孔22には、ネジ5のネジ部51が挿入されており、ネジ5の頭部50は座ぐり孔21内に配置されている。また、ネジ部51の先端は、凹溝20内まで延設されるとともに、蓋体3の縁部30の折曲部30cに形成されたネジ孔に螺合している。
筺体本体2の内部空間2aの開口部には、当該内部空間2aをシールするシール部材としてのパッキン6が設けられている。パッキン6は、内部空間2aの開口部に沿って矩形状に配設されている。パッキン6は、筐体本体2および蓋体3間で挟持されており、ネジ5の締付けにより蓋体3の縁部30の折曲部30cが下方に付勢されたとき、筐体本体2および蓋体3間で加圧されるようになっている。
ネジ5の軸線Lの上方への延長線は、パッキン6を通っているのが好ましく、より好ましくは、ネジ5の軸線Lの上方への延長線は、パッキン6の中心を通っている(図2参照)。
また、筐体本体2の内部空間2aの開口部には、透光性を有する略矩形状のガラス板7が配設されている。ガラス板7の外周縁部は、パッキン6により上下方向から挟持されている。なお、ガラス板7の代わりに、透光性を有する樹脂製のプレートを用いるようにしてもよい。蓋体3の上面には、内部のLEDから照射された光を外部に照射するための開口窓部3aが形成されている。
なお、筐体本体2の長手方向端部には、蓋体3が筐体本体2に装着されたときに蓋体3の抜け止めを行なうためのストッパ壁部25、26が立設されている。また、筐体本体2の底面2cには、長手方向に延びる複数の凹部2dが形成されている。これらの凹部2dは、放熱および筐体本体2の軽量化のために設けられている。
レンズユニット4は、例えば樹脂成形品であって、図3および図4に示すように、底板部41と、その両側部において底板部41と直交する上下方向に配設された一対の側板部42とを有しており、底板部41には2つのレンズ40が設けられている。なお、ここでは、各レンズユニット4にレンズ40が2個ずつ設けられた例を示しているが、各レンズユニット4は、1個のレンズ40のみを有していてもよく、または3個以上のレンズ40を有していてもよい。
レンズユニット4の各側板部42には、長手方向に延びる長孔42aが貫通形成されている。また、各側板部42の上面には、上方に突出する一つまたは複数の突出部42bが形成されており、各側板部42の底面には、下方に突出する一つまたは複数の脚部42cが形成されている。
上述のように構成されるLED照明装置の組立ての際には、まず、LED45が搭載された基板を筐体本体2内部の底部に配設して、レンズユニット4を筺体本体2の内部において基板上方に配置する。このとき、レンズユニット4は、脚部42cが、例えば、LED45が搭載された基板に設けられた取付孔(図示せず)に挿入されることにより、筺体本体2内に取り付けられるようになっている。その後、筐体本体2の上部開口部にパッキン6およびガラス板7を配置する。次に、筐体本体2の図1右方から蓋体3を嵌め込んで、蓋体3を図1左方にスライドさせ、筐体本体2のストッパ壁部25に当接するまで移動させる。
この場合、蓋体3の断面コ字状の縁部30の折曲部30cと筐体本体2の凹溝20との間には上下方向の間隙が形成されているので、蓋体3を筐体本体2に嵌め込む際には、蓋体3は筐体本体2のストッパ壁部26を容易に乗り越えられる。また、蓋体3のスライド移動の際には、蓋体3の縁部30の折曲部30cが筐体本体2の凹溝20内を移動する。蓋体3が筐体本体2のストッパ壁部25に当接したとき、蓋体3の長手方向の各端部は各ストッパ壁部25、26に対向配置されている。
次に、筐体本体2の底面2cに形成された各座ぐり孔21にそれぞれネジ5を挿入して、各ネジ5のネジ部51の先端を、凹溝20内の蓋体縁部30の折曲部30cに形成された各ネジ孔に螺合させる。この状態から、ネジ5を締め付けると、ネジ5の頭部50が筐体本体2の座ぐり孔21の上側壁面に当接していてネジ5が進むことができないので、ネジ5のネジ部51と螺合する蓋体縁部30の折曲部30cが下方、つまり筐体本体2の内部空間2aの開口部から離れる側に移動する。すると、垂設部30bおよび上部30aを介して蓋体3の上面が下方に移動することにより、蓋体3および筐体本体2間で挟持されていたパッキン6が上下方向に加圧されて、筐体本体2の内部空間2aがシールされる。このようにして、筐体1の密閉性を確保できる。
また、ネジ5を締め付けたとき、レンズユニット4の各側板部42の各突出部42bが、ガラス板7の下面で押圧される(図2参照)。すると、各側板部42の長孔42aが上下方向に圧縮されて弾性変形し、これにより、レンズユニット4が、筺体本体2の内部空間に弾性保持されるようになっている。
この場合には、筐体本体2の外周面に形成された凹溝20に蓋体3の縁部30の折曲部30cを配置して、当該折曲部30cに対してその下方からネジ5による付勢力を作用させるようにしたので、パッキン6の側方に取付ネジ等の締付部材を配置する必要がなくなり、これにより、筐体1の幅寸法が大きくなることはなく、筐体全体を小型化できる。しかも、この場合には、ネジ5の軸線Lの上方への延長線がパッキン6を通っているので、筐体1の幅寸法をより小さくでき、筐体全体をより小型化できる。さらに、ネジ5の軸線Lの上方への延長線がパッキン6の中心を通っている場合には、筐体1の幅寸法を最小にでき、筐体全体を最もコンパクトかつスリムに構成できる。
また、この場合には、蓋体3の表面から取付ネジ等の締付部材の頭部が突出することもないので、筐体1の実質的な厚みが増加することはなく、筐体全体を小型化できるとともに、作業を行なう際に作業者の着衣がネジの頭部に引っ掛かることがなく作業者が筐体の側で円滑に作業を行なうことができ、また機器としての美観も向上できる。
さらに、蓋体3の表面に取付ネジの頭部やネジ孔が形成されていないので、当該LED照明装置を工作機械の内部照明に用いた場合に、切削中に生じた切粉やその他の塵埃が蓋体3の表面に付着しにくくなっている。また、筐体本体2には、ネジ孔を形成する必要がないので、筐体本体2をアルミダイカストなどで成形した後にネジ孔加工などの後加工が不要になり、製造コストを低減できる。
図5は、本発明の他の実施例による筐体を採用するLED照明装置の横断面図であって、前記実施例の図2に相当している。図5中、前記実施例と同一符号は同一または相当部分を示している。
前記実施例では、ガラス板7の外周縁部の上下面がパッキン6により挟持された例を示したが、この図5に示す例では、パッキン6がガラス板7の外周縁部の下面のみを支持している。ガラス板7の外周縁部の上面は、蓋体3の下面に当接している。
この場合には、パッキン6がガラス板7を介して蓋体3および筐体本体2で挟持されている点を除けば、前記実施例と同様であり、前記実施例と同様の作用効果を奏する。したがって、蓋体3を筐体本体2に装着した状態で、ネジ5を締め付けると、パッキン6がガラス板7を介して蓋体3および筐体本体2で上下方向に加圧されることにより、筐体本体2の内部空間2aがシールされる。
図6は、本発明のさらに他の実施例による筐体を採用するLED照明装置の横断面図であって、前記実施例の図2に相当している。図6中、前記実施例と同一符号は同一または相当部分を示している。
この場合には、筐体本体2に形成される凹溝20が前記実施例に示すものよりも上下方向に長くなっており、当該凹溝20内にネジ5の全体が配置されている点が前記実施例と異なっている。すなわち、この場合、筐体本体2には、ネジ5の頭部50を収容する座ぐり孔は形成されていない。また、この場合、ネジ5のネジ部51の先端は、凹溝20の上側壁面に当接している。さらに、この例では、ネジ5として、六角頭付ネジが用いられている。これは、凹溝20の側方からスパナ等の工具を進入させやすくして、ネジ5の締付けおよび取外しの作業を容易に行えるようにするためである。
この例では、蓋体3を筐体本体2に装着した状態で、ネジ5を締め付けると、ネジ5のネジ部51の先端が筐体本体2の凹溝20の上側壁面に当接していてネジ5が進むことができないので、ネジ5のネジ部51と螺合する蓋体縁部30の折曲部30cが下方に移動する。すると、垂設部30bおよび上部30aを介して蓋体3の上面が下方に移動することにより、蓋体3および筐体本体2間で挟持されたパッキン6が上下方向に加圧されて、筐体本体2の内部空間2aがシールされる。このようにして、筐体1の密閉性を確保できる。
この場合においても、筐体本体2の外周面に形成された凹溝20に蓋体3の縁部30の折曲部30cを配置して、当該折曲部30cに対してその下方からネジ5による付勢力を作用させるようにしており、これにより、パッキン6の側方に取付ネジ等の締付部材を配置する必要がなくなり、これにより、筐体1の幅寸法が大きくなることはなく、筐体全体を小型化できる。しかも、この場合には、蓋体3の表面から取付ネジ等の締付部材の頭部が突出することもないので、筐体1の実質的な厚みが増加することはなく、筐体全体を小型化できるとともに、作業者が筐体の側で円滑に作業を行なうことができ、また機器としての美観も向上できる。
さらに、前記実施例と同様に、蓋体3の表面に取付ネジの頭部やネジ孔が形成されていないので、当該LED照明装置を工作機械の内部照明に用いた場合に、切削中に生じた切粉やその他の塵埃が蓋体3の表面に付着しにくくなっている。また、筐体本体2には、ネジ孔を形成する必要がないので、筐体本体2をアルミダイカストなどで成形した後にネジ孔加工などの後加工が不要になり、製造コストを低減できる。
なお、前記各実施例では、本発明による受入れ部として、筐体本体2の外側面に形成された凹溝20を用いた例を示したが、本発明の適用はこれに限定されない。筺体本体2が、少なくとも蓋体3の断面コ字状の縁部30の折曲部30cを受け入れる構成を有していればよく、言い換えれば、蓋体3の断面コ字状の縁部30に筺体本体2の一部が入り込む構成を有していればよい。したがって、図2、図5および図6に示すように、筺体本体2の外側面から凹んだ凹溝20の他、図2、図5および図6の筺体本体2において、蓋体3の縁部30の折曲部30cから下方の部分を取り除いた構造でもよい。
また、前記各実施例では、本発明による筐体が、高さの低い直方体形状を有している場合を例にとって説明したが、本発明の適用はこれには限定されない。筐体の立体形状としては、高さの低い円柱形状であってもよく、その他の任意の形状を採用し得る。いずれの形状の場合であっても、蓋体の断面コ字状の縁部は、蓋体の外周に沿って配設されている。
さらに、前記各実施例では、本発明による筐体がLED照明装置に適用された例を示したが、本発明は、内蔵されたLEDにより各種表示を行なうLED表示装置にも適用でき、さらに、密閉構造を要求されるその他の各種制御機器にも同様に適用可能である。
本発明の一実施例による筐体を採用するLED照明装置の全体斜視図である。 図1のII-II線断面図である。 前記LED照明装置(図1)を構成するレンズユニットの全体斜視図である。 (a)はレンズユニット(図3)の正面図、(b)は側面図、(c)は端面図である。 本発明の他の実施例によるLED照明装置の横断面図である。 本発明のさらに他の実施例によるLED照明装置の横断面図である。 (a)は従来の筐体の横断面図であって(b)のA−A線断面に相当する図、(b)は(a)のB−B線断面図である。
符号の説明
1: 筐体

2: 筐体本体
2a: 内部空間
20: 凹溝(凹部(受入れ部))

3: 蓋体
3a: 開口窓部(透光窓)
30: 縁部
30c: 折曲部(縁部下部)

45: 発光ダイオード(LED)

5: ネジ
50: 頭部
51: ネジ部

6: パッキン(シール部材)

Claims (5)

  1. 筐体の密閉構造であって、
    外周に断面コ字状の縁部を有する蓋体と、
    前記蓋体により閉塞される内部空間を有し、前記縁部の下部を受け入れる受入れ部を外周面に有する箱状の筐体本体と、
    前記筐体本体の前記内部空間の開口部に設けられ、前記蓋体および前記筐体本体で挟持されることにより前記内部空間をシールするためのシール部材と、
    前記受入れ部に配置された前記蓋体の前記縁部の前記下部を前記筐体本体の前記内部空間の前記開口部から離れる側に前記縁部の前記下部の下方から付勢することにより、前記シール部材を加圧する加圧手段と、
    を備えた筐体の密閉構造。
  2. 請求項1において、
    前記受入れ部が凹部であり、前記加圧手段がネジであって、前記ネジの頭部が前記筐体本体の前記内部空間の前記開口部と逆側の底面の側に配置され、前記ネジのネジ部が前記筐体本体の前記凹部内に配置されて前記蓋体の前記縁部の前記下部に螺合している、
    ことを特徴とする筐体の密閉構造。
  3. 請求項2において、
    前記ネジの軸線の延長線が前記シール部材を通っている、
    ことを特徴とする筐体の密閉構造。
  4. 請求項3において、
    前記ネジの軸線の延長線が前記シール部材の中心を通っている、
    ことを特徴とする筐体の密閉構造。
  5. 請求項1において、
    前記内部空間に発光ダイオードが配設されており、当該筐体に透光窓が設けられている、
    ことを特徴とする筐体の密閉構造。
JP2008261037A 2008-10-07 2008-10-07 筐体の密閉構造 Active JP4717918B2 (ja)

Priority Applications (1)

Application Number Priority Date Filing Date Title
JP2008261037A JP4717918B2 (ja) 2008-10-07 2008-10-07 筐体の密閉構造

Applications Claiming Priority (1)

Application Number Priority Date Filing Date Title
JP2008261037A JP4717918B2 (ja) 2008-10-07 2008-10-07 筐体の密閉構造

Publications (3)

Publication Number Publication Date
JP2010092694A true JP2010092694A (ja) 2010-04-22
JP2010092694A5 JP2010092694A5 (ja) 2011-03-17
JP4717918B2 JP4717918B2 (ja) 2011-07-06

Family

ID=42255228

Family Applications (1)

Application Number Title Priority Date Filing Date
JP2008261037A Active JP4717918B2 (ja) 2008-10-07 2008-10-07 筐体の密閉構造

Country Status (1)

Country Link
JP (1) JP4717918B2 (ja)

Cited By (10)

* Cited by examiner, † Cited by third party
Publication number Priority date Publication date Assignee Title
JP2013206589A (ja) * 2012-03-27 2013-10-07 Micro Control Systems Kk 押圧により蓋体が固定される照明装置用筐体及び蓋体固定方法
JP5475101B1 (ja) * 2012-12-26 2014-04-16 星和電機株式会社 照明器具及びその製造方法
JP2014067742A (ja) * 2012-09-24 2014-04-17 Idec Corp 筐体の密閉構造および密閉構造を有する筺体の製造方法
CN103851408A (zh) * 2012-11-28 2014-06-11 蔡留保 一种机床用led工作灯
JP2014116203A (ja) * 2012-12-10 2014-06-26 Panasonic Corp 照明装置
CN104132277A (zh) * 2013-05-03 2014-11-05 董海龙 Ip67触控led机床工作灯
JP5630885B1 (ja) * 2013-12-09 2014-11-26 星和電機株式会社 照明器具
CN104576111A (zh) * 2015-01-26 2015-04-29 邹中宝 一种弱电防尘开关
CN106287327A (zh) * 2015-06-05 2017-01-04 中山市恒辰光电科技有限公司 一种结构防水的led灯具及其装配工艺
WO2019189677A1 (ja) * 2018-03-30 2019-10-03 日本電気株式会社 筐体構造体及びその組立方法

Citations (3)

* Cited by examiner, † Cited by third party
Publication number Priority date Publication date Assignee Title
JPH06290605A (ja) * 1993-03-31 1994-10-18 Hino Motors Ltd 自動車のランプ装置
JP2003281928A (ja) * 2002-03-22 2003-10-03 Koito Mfg Co Ltd 車輌用前照灯
JP2005019110A (ja) * 2003-06-24 2005-01-20 Matsushita Electric Works Ltd 埋込灯

Patent Citations (3)

* Cited by examiner, † Cited by third party
Publication number Priority date Publication date Assignee Title
JPH06290605A (ja) * 1993-03-31 1994-10-18 Hino Motors Ltd 自動車のランプ装置
JP2003281928A (ja) * 2002-03-22 2003-10-03 Koito Mfg Co Ltd 車輌用前照灯
JP2005019110A (ja) * 2003-06-24 2005-01-20 Matsushita Electric Works Ltd 埋込灯

Cited By (11)

* Cited by examiner, † Cited by third party
Publication number Priority date Publication date Assignee Title
JP2013206589A (ja) * 2012-03-27 2013-10-07 Micro Control Systems Kk 押圧により蓋体が固定される照明装置用筐体及び蓋体固定方法
JP2014067742A (ja) * 2012-09-24 2014-04-17 Idec Corp 筐体の密閉構造および密閉構造を有する筺体の製造方法
CN103851408A (zh) * 2012-11-28 2014-06-11 蔡留保 一种机床用led工作灯
JP2014116203A (ja) * 2012-12-10 2014-06-26 Panasonic Corp 照明装置
JP5475101B1 (ja) * 2012-12-26 2014-04-16 星和電機株式会社 照明器具及びその製造方法
CN104132277A (zh) * 2013-05-03 2014-11-05 董海龙 Ip67触控led机床工作灯
JP5630885B1 (ja) * 2013-12-09 2014-11-26 星和電機株式会社 照明器具
CN104576111A (zh) * 2015-01-26 2015-04-29 邹中宝 一种弱电防尘开关
CN106287327A (zh) * 2015-06-05 2017-01-04 中山市恒辰光电科技有限公司 一种结构防水的led灯具及其装配工艺
WO2019189677A1 (ja) * 2018-03-30 2019-10-03 日本電気株式会社 筐体構造体及びその組立方法
JPWO2019189677A1 (ja) * 2018-03-30 2021-03-18 日本電気株式会社 筐体構造体及びその組立方法

Also Published As

Publication number Publication date
JP4717918B2 (ja) 2011-07-06

Similar Documents

Publication Publication Date Title
JP4717918B2 (ja) 筐体の密閉構造
JP2010092694A5 (ja)
KR20140130884A (ko) 광 반도체 조명장치
JP5977635B2 (ja) 筐体の密閉構造および密閉構造を有する筺体の製造方法
JP2016058266A (ja) 照明器具
JP5411790B2 (ja) 照明器具
JP2019036393A (ja) 照明器具
JP6271753B2 (ja) 照明装置
JP2019036392A (ja) 間接照明器具
JP5630885B1 (ja) 照明器具
JP2011210391A (ja) 車両用灯具
JP5887553B2 (ja) 発光装置及び照明器具
JP2007149587A (ja) バックライト装置
JP5152513B2 (ja) 照明装置
JP6999376B2 (ja) 照明装置
JP7580305B2 (ja) 照明器具
JP5660961B2 (ja) 電子機器ケース
JP2018098054A (ja) 照明装置
JP6272445B1 (ja) 照明装置及び光源ユニット
JP6001968B2 (ja) 筐体の密閉構造
JP2011060469A (ja) 天井用照明器具
JP2008243502A (ja) 照明器具
JP2013179201A (ja) 発光装置及び照明器具
US20060191699A1 (en) Seal for a cover for an electrical connecting socket
JP7278103B2 (ja) 照明器具及びそれを備えた照明装置

Legal Events

Date Code Title Description
A521 Request for written amendment filed

Free format text: JAPANESE INTERMEDIATE CODE: A523

Effective date: 20110131

A621 Written request for application examination

Free format text: JAPANESE INTERMEDIATE CODE: A621

Effective date: 20110131

A871 Explanation of circumstances concerning accelerated examination

Free format text: JAPANESE INTERMEDIATE CODE: A871

Effective date: 20110131

TRDD Decision of grant or rejection written
A975 Report on accelerated examination

Free format text: JAPANESE INTERMEDIATE CODE: A971005

Effective date: 20110218

A01 Written decision to grant a patent or to grant a registration (utility model)

Free format text: JAPANESE INTERMEDIATE CODE: A01

Effective date: 20110315

A01 Written decision to grant a patent or to grant a registration (utility model)

Free format text: JAPANESE INTERMEDIATE CODE: A01

A61 First payment of annual fees (during grant procedure)

Free format text: JAPANESE INTERMEDIATE CODE: A61

Effective date: 20110330

R150 Certificate of patent or registration of utility model

Ref document number: 4717918

Country of ref document: JP

Free format text: JAPANESE INTERMEDIATE CODE: R150

Free format text: JAPANESE INTERMEDIATE CODE: R150

FPAY Renewal fee payment (event date is renewal date of database)

Free format text: PAYMENT UNTIL: 20140408

Year of fee payment: 3

S531 Written request for registration of change of domicile

Free format text: JAPANESE INTERMEDIATE CODE: R313531

R350 Written notification of registration of transfer

Free format text: JAPANESE INTERMEDIATE CODE: R350

S802 Written request for registration of partial abandonment of right

Free format text: JAPANESE INTERMEDIATE CODE: R311802

R350 Written notification of registration of transfer

Free format text: JAPANESE INTERMEDIATE CODE: R350

R250 Receipt of annual fees

Free format text: JAPANESE INTERMEDIATE CODE: R250