JP2010090293A - ゴム組成物およびそれを用いた空気入りタイヤ - Google Patents
ゴム組成物およびそれを用いた空気入りタイヤ Download PDFInfo
- Publication number
- JP2010090293A JP2010090293A JP2008262409A JP2008262409A JP2010090293A JP 2010090293 A JP2010090293 A JP 2010090293A JP 2008262409 A JP2008262409 A JP 2008262409A JP 2008262409 A JP2008262409 A JP 2008262409A JP 2010090293 A JP2010090293 A JP 2010090293A
- Authority
- JP
- Japan
- Prior art keywords
- rubber
- weight
- dispersion
- crystalline resin
- diene rubber
- Prior art date
- Legal status (The legal status is an assumption and is not a legal conclusion. Google has not performed a legal analysis and makes no representation as to the accuracy of the status listed.)
- Granted
Links
- 229920001971 elastomer Polymers 0.000 title claims abstract description 79
- 239000005060 rubber Substances 0.000 title claims abstract description 79
- 239000000203 mixture Substances 0.000 title claims abstract description 70
- 229920010524 Syndiotactic polystyrene Polymers 0.000 claims abstract description 106
- 229920003244 diene elastomer Polymers 0.000 claims abstract description 60
- 229920006038 crystalline resin Polymers 0.000 claims abstract description 52
- 239000013078 crystal Substances 0.000 claims abstract description 46
- 239000006185 dispersion Substances 0.000 claims abstract description 44
- 229920002857 polybutadiene Polymers 0.000 claims description 53
- 239000005062 Polybutadiene Substances 0.000 claims description 49
- 229920003048 styrene butadiene rubber Polymers 0.000 claims description 21
- 239000002002 slurry Substances 0.000 claims description 20
- 239000011324 bead Substances 0.000 claims description 18
- 239000003960 organic solvent Substances 0.000 claims description 18
- 244000043261 Hevea brasiliensis Species 0.000 claims description 11
- 229920003052 natural elastomer Polymers 0.000 claims description 11
- 229920001194 natural rubber Polymers 0.000 claims description 11
- 239000004568 cement Substances 0.000 claims description 8
- 238000002156 mixing Methods 0.000 claims description 8
- 239000002904 solvent Substances 0.000 claims description 8
- 229920003049 isoprene rubber Polymers 0.000 claims description 6
- 230000002787 reinforcement Effects 0.000 claims description 4
- 230000003014 reinforcing effect Effects 0.000 abstract description 23
- 238000002844 melting Methods 0.000 abstract description 20
- 230000008018 melting Effects 0.000 abstract description 20
- YXFVVABEGXRONW-UHFFFAOYSA-N Toluene Chemical compound CC1=CC=CC=C1 YXFVVABEGXRONW-UHFFFAOYSA-N 0.000 description 45
- PPBRXRYQALVLMV-UHFFFAOYSA-N Styrene Chemical compound C=CC1=CC=CC=C1 PPBRXRYQALVLMV-UHFFFAOYSA-N 0.000 description 22
- OKKJLVBELUTLKV-UHFFFAOYSA-N Methanol Chemical compound OC OKKJLVBELUTLKV-UHFFFAOYSA-N 0.000 description 15
- 239000002174 Styrene-butadiene Substances 0.000 description 12
- NINIDFKCEFEMDL-UHFFFAOYSA-N Sulfur Chemical compound [S] NINIDFKCEFEMDL-UHFFFAOYSA-N 0.000 description 12
- 229910052717 sulfur Inorganic materials 0.000 description 12
- 239000011593 sulfur Substances 0.000 description 12
- 239000006229 carbon black Substances 0.000 description 11
- 239000004793 Polystyrene Substances 0.000 description 8
- 230000015572 biosynthetic process Effects 0.000 description 8
- 229920002223 polystyrene Polymers 0.000 description 8
- 238000003786 synthesis reaction Methods 0.000 description 8
- 238000004073 vulcanization Methods 0.000 description 8
- 239000003795 chemical substances by application Substances 0.000 description 7
- 238000000034 method Methods 0.000 description 7
- XLOMVQKBTHCTTD-UHFFFAOYSA-N Zinc monoxide Chemical compound [Zn]=O XLOMVQKBTHCTTD-UHFFFAOYSA-N 0.000 description 6
- 239000000306 component Substances 0.000 description 6
- 230000007423 decrease Effects 0.000 description 6
- 238000001035 drying Methods 0.000 description 6
- 229920000642 polymer Polymers 0.000 description 6
- 238000006116 polymerization reaction Methods 0.000 description 6
- 229920005989 resin Polymers 0.000 description 6
- 239000011347 resin Substances 0.000 description 6
- 229920000459 Nitrile rubber Polymers 0.000 description 5
- DOIRQSBPFJWKBE-UHFFFAOYSA-N dibutyl phthalate Chemical compound CCCCOC(=O)C1=CC=CC=C1C(=O)OCCCC DOIRQSBPFJWKBE-UHFFFAOYSA-N 0.000 description 5
- 150000003464 sulfur compounds Chemical class 0.000 description 5
- YXIWHUQXZSMYRE-UHFFFAOYSA-N 1,3-benzothiazole-2-thiol Chemical compound C1=CC=C2SC(S)=NC2=C1 YXIWHUQXZSMYRE-UHFFFAOYSA-N 0.000 description 4
- XAGFODPZIPBFFR-UHFFFAOYSA-N aluminium Chemical compound [Al] XAGFODPZIPBFFR-UHFFFAOYSA-N 0.000 description 4
- 229910052782 aluminium Inorganic materials 0.000 description 4
- 229920001577 copolymer Polymers 0.000 description 4
- -1 fluororesin Polymers 0.000 description 4
- 230000020169 heat generation Effects 0.000 description 4
- 229920001084 poly(chloroprene) Polymers 0.000 description 4
- 239000011414 polymer cement Substances 0.000 description 4
- 239000000126 substance Substances 0.000 description 4
- 238000012360 testing method Methods 0.000 description 4
- ZWEHNKRNPOVVGH-UHFFFAOYSA-N 2-Butanone Chemical compound CCC(C)=O ZWEHNKRNPOVVGH-UHFFFAOYSA-N 0.000 description 3
- 239000005063 High cis polybutadiene Substances 0.000 description 3
- 229920005683 SIBR Polymers 0.000 description 3
- 239000002131 composite material Substances 0.000 description 3
- 238000013329 compounding Methods 0.000 description 3
- 238000004898 kneading Methods 0.000 description 3
- 238000000465 moulding Methods 0.000 description 3
- IUJLOAKJZQBENM-UHFFFAOYSA-N n-(1,3-benzothiazol-2-ylsulfanyl)-2-methylpropan-2-amine Chemical compound C1=CC=C2SC(SNC(C)(C)C)=NC2=C1 IUJLOAKJZQBENM-UHFFFAOYSA-N 0.000 description 3
- DEQZTKGFXNUBJL-UHFFFAOYSA-N n-(1,3-benzothiazol-2-ylsulfanyl)cyclohexanamine Chemical compound C1CCCCC1NSC1=NC2=CC=CC=C2S1 DEQZTKGFXNUBJL-UHFFFAOYSA-N 0.000 description 3
- 229910052757 nitrogen Inorganic materials 0.000 description 3
- 239000012744 reinforcing agent Substances 0.000 description 3
- 238000005096 rolling process Methods 0.000 description 3
- 239000011787 zinc oxide Substances 0.000 description 3
- OWRCNXZUPFZXOS-UHFFFAOYSA-N 1,3-diphenylguanidine Chemical compound C=1C=CC=CC=1NC(=N)NC1=CC=CC=C1 OWRCNXZUPFZXOS-UHFFFAOYSA-N 0.000 description 2
- IJGRMHOSHXDMSA-UHFFFAOYSA-N Atomic nitrogen Chemical compound N#N IJGRMHOSHXDMSA-UHFFFAOYSA-N 0.000 description 2
- VYPSYNLAJGMNEJ-UHFFFAOYSA-N Silicium dioxide Chemical compound O=[Si]=O VYPSYNLAJGMNEJ-UHFFFAOYSA-N 0.000 description 2
- 235000021355 Stearic acid Nutrition 0.000 description 2
- 238000010521 absorption reaction Methods 0.000 description 2
- 230000003712 anti-aging effect Effects 0.000 description 2
- 229920005549 butyl rubber Polymers 0.000 description 2
- QOXHZZQZTIGPEV-UHFFFAOYSA-K cyclopenta-1,3-diene;titanium(4+);trichloride Chemical compound Cl[Ti+](Cl)Cl.C=1C=C[CH-]C=1 QOXHZZQZTIGPEV-UHFFFAOYSA-K 0.000 description 2
- 230000006378 damage Effects 0.000 description 2
- AFZSMODLJJCVPP-UHFFFAOYSA-N dibenzothiazol-2-yl disulfide Chemical compound C1=CC=C2SC(SSC=3SC4=CC=CC=C4N=3)=NC2=C1 AFZSMODLJJCVPP-UHFFFAOYSA-N 0.000 description 2
- 230000000694 effects Effects 0.000 description 2
- 238000011156 evaluation Methods 0.000 description 2
- 239000000446 fuel Substances 0.000 description 2
- 239000000463 material Substances 0.000 description 2
- 239000011159 matrix material Substances 0.000 description 2
- VLKZOEOYAKHREP-UHFFFAOYSA-N n-Hexane Chemical compound CCCCCC VLKZOEOYAKHREP-UHFFFAOYSA-N 0.000 description 2
- QIQXTHQIDYTFRH-UHFFFAOYSA-N octadecanoic acid Chemical compound CCCCCCCCCCCCCCCCCC(O)=O QIQXTHQIDYTFRH-UHFFFAOYSA-N 0.000 description 2
- OQCDKBAXFALNLD-UHFFFAOYSA-N octadecanoic acid Natural products CCCCCCCC(C)CCCCCCCCC(O)=O OQCDKBAXFALNLD-UHFFFAOYSA-N 0.000 description 2
- 229920002589 poly(vinylethylene) polymer Polymers 0.000 description 2
- 230000000379 polymerizing effect Effects 0.000 description 2
- 238000001556 precipitation Methods 0.000 description 2
- 239000008117 stearic acid Substances 0.000 description 2
- 239000003981 vehicle Substances 0.000 description 2
- 239000004636 vulcanized rubber Substances 0.000 description 2
- ROGIWVXWXZRRMZ-UHFFFAOYSA-N 2-methylbuta-1,3-diene;styrene Chemical compound CC(=C)C=C.C=CC1=CC=CC=C1 ROGIWVXWXZRRMZ-UHFFFAOYSA-N 0.000 description 1
- OKTJSMMVPCPJKN-UHFFFAOYSA-N Carbon Chemical compound [C] OKTJSMMVPCPJKN-UHFFFAOYSA-N 0.000 description 1
- XDTMQSROBMDMFD-UHFFFAOYSA-N Cyclohexane Chemical compound C1CCCCC1 XDTMQSROBMDMFD-UHFFFAOYSA-N 0.000 description 1
- 238000005481 NMR spectroscopy Methods 0.000 description 1
- 239000006057 Non-nutritive feed additive Substances 0.000 description 1
- 239000004952 Polyamide Substances 0.000 description 1
- 239000004721 Polyphenylene oxide Substances 0.000 description 1
- 239000004734 Polyphenylene sulfide Substances 0.000 description 1
- 238000000944 Soxhlet extraction Methods 0.000 description 1
- 238000005054 agglomeration Methods 0.000 description 1
- 230000002776 aggregation Effects 0.000 description 1
- 238000004458 analytical method Methods 0.000 description 1
- 239000000427 antigen Substances 0.000 description 1
- 102000036639 antigens Human genes 0.000 description 1
- 108091007433 antigens Proteins 0.000 description 1
- 238000005452 bending Methods 0.000 description 1
- VLLYOYVKQDKAHN-UHFFFAOYSA-N buta-1,3-diene;2-methylbuta-1,3-diene Chemical compound C=CC=C.CC(=C)C=C VLLYOYVKQDKAHN-UHFFFAOYSA-N 0.000 description 1
- 238000004364 calculation method Methods 0.000 description 1
- 229910052799 carbon Inorganic materials 0.000 description 1
- 229920003193 cis-1,4-polybutadiene polymer Polymers 0.000 description 1
- 230000000052 comparative effect Effects 0.000 description 1
- 238000000354 decomposition reaction Methods 0.000 description 1
- 230000006866 deterioration Effects 0.000 description 1
- 229910003460 diamond Inorganic materials 0.000 description 1
- 239000010432 diamond Substances 0.000 description 1
- 239000000945 filler Substances 0.000 description 1
- 239000010419 fine particle Substances 0.000 description 1
- 230000004927 fusion Effects 0.000 description 1
- 238000007429 general method Methods 0.000 description 1
- 230000009477 glass transition Effects 0.000 description 1
- 238000010438 heat treatment Methods 0.000 description 1
- 239000011256 inorganic filler Substances 0.000 description 1
- 229910003475 inorganic filler Inorganic materials 0.000 description 1
- 239000007788 liquid Substances 0.000 description 1
- 238000005259 measurement Methods 0.000 description 1
- 239000013081 microcrystal Substances 0.000 description 1
- 238000005065 mining Methods 0.000 description 1
- 150000002825 nitriles Chemical class 0.000 description 1
- 229920002647 polyamide Polymers 0.000 description 1
- 229920000570 polyether Polymers 0.000 description 1
- 229920000069 polyphenylene sulfide Polymers 0.000 description 1
- 238000002360 preparation method Methods 0.000 description 1
- 239000002994 raw material Substances 0.000 description 1
- GPNLWUFFWOYKLP-UHFFFAOYSA-N s-(1,3-benzothiazol-2-yl)thiohydroxylamine Chemical compound C1=CC=C2SC(SN)=NC2=C1 GPNLWUFFWOYKLP-UHFFFAOYSA-N 0.000 description 1
- 239000000377 silicon dioxide Substances 0.000 description 1
- 238000001179 sorption measurement Methods 0.000 description 1
- 230000003068 static effect Effects 0.000 description 1
- QAZLUNIWYYOJPC-UHFFFAOYSA-M sulfenamide Chemical compound [Cl-].COC1=C(C)C=[N+]2C3=NC4=CC=C(OC)C=C4N3SCC2=C1C QAZLUNIWYYOJPC-UHFFFAOYSA-M 0.000 description 1
- 238000001308 synthesis method Methods 0.000 description 1
- 230000002194 synthesizing effect Effects 0.000 description 1
- 229920002725 thermoplastic elastomer Polymers 0.000 description 1
- 239000013585 weight reducing agent Substances 0.000 description 1
Images
Landscapes
- Compositions Of Macromolecular Compounds (AREA)
- Tires In General (AREA)
Abstract
【解決手段】本発明は、ジエン系ゴムおよび結晶性樹脂を含むゴム組成物であって、
(A)結晶性樹脂(a)がシンジオタクチック結晶を50重量%以上有するシンジオタクチックポリスチレンであり、
(B)ジエン系ゴム(b1)中に結晶性樹脂(a)を分散させたものを分散体(c)とするとき、結晶性樹脂(a)が分散体(c)中に1〜50重量%分散しており、
(C)分散体(c)およびジエン系ゴム(b2)からなるものを混合物(d)とするとき、分散体(c)が混合物(d)中に5〜60重量%含まれ、ジエン系ゴム(b2)が混合物(d)中に95〜40重量%含まれる
ゴム組成物に関する。
【選択図】図1
Description
(A)結晶性樹脂(a)がシンジオタクチック結晶を50重量%以上有するシンジオタクチックポリスチレンであり、
(B)ジエン系ゴム(b1)中に結晶性樹脂(a)を分散させたものを分散体(c)とするとき、結晶性樹脂(a)が分散体(c)中に1〜50重量%分散しており、
(C)分散体(c)およびジエン系ゴム(b2)からなるものを混合物(d)とするとき、分散体(c)が混合物(d)中に5〜60重量%含まれ、ジエン系ゴム(b2)が混合物(d)中に95〜40重量%含まれる
ゴム組成物に関する。
(D)スチレンブタジエンゴム、イソプレンゴム、天然ゴム、ブタジエンゴムより選ばれる群からなる少なくとも1種を含有するジエン系ゴム(ジエン系ゴム(b1)およびジエン系ゴム(b2)は同じであっても異なっていてもよい)である
ことが好ましい。
(E)有機溶媒に結晶性樹脂(a)を分散させたスラリー溶液と
(F)有機溶媒にジエン系ゴム(b1)を溶解させたセメント溶液を混合した後、
溶媒を除去して得られる
ものが好ましい。
(G)サイドウォール補強部、および/または
(H)ビードエイペックス
に用いたタイヤに関する。
(A)結晶性樹脂(a)がシンジオタクチックポリスチレン結晶を50重量%以上有するシンジオタクチックポリスチレンであり、
(B)ジエン系ゴム(b1)中に結晶性樹脂(a)を分散させたものを分散体(c)とするとき、結晶性樹脂(a)が分散体(c)中に1〜50重量%分散しており、
(C)分散体(c)およびジエン系ゴム(b2)からなるものを混合物(d)とするとき、分散体(c)が混合物(d)中に5〜60重量%含まれ、ジエン系ゴム(b2)が混合物(d)中に95〜40重量%含まれる
ゴム組成物(本願請求項1)である。
(D)スチレンブタジエンゴム、イソプレンゴム、天然ゴム、ブタジエンゴムより選ばれる群からなる少なくとも1種を含有するジエン系ゴム(ジエン系ゴム(b1)およびジエン系ゴム(b2)は同じであっても異なっていてもよい)である
ことが好ましい(本願請求項2)。
(E)有機溶媒に結晶性樹脂(a)を分散させたスラリー溶液と
(F)有機溶媒にジエン系ゴム(b1)を溶解させたセメント溶液を混合した後、
溶媒を除去して得られる
ものが好ましい(本願請求項3)。
(G)サイドウォール補強部、および/または
(H)ビードエイペックス
に用いたタイヤに関する(本願請求項4)。
シンジオタクチック−1,2−ポリブタジエンをSPBDと表記する。
シンジオタクチックポリスチレン結晶をSPSと表記する。
NR:天然ゴム、RSS#3
BR(1):SPBDを含むブタジエンゴム、宇部興産(株)製のVCR412(SPBDの含有率:12重量%)
BR(2):以下の<BR(2)の合成>により合成したSPSを含むブタジエンゴム(SPSの含有率12重量%、mp=256℃、SC=86重量%)
BR(2)は、シンジオタクチックポリスチレン結晶(SPS)を含むブタジエンゴムである。SPSの含有率12重量%とは、ブタジエンゴム(b1)を含む分散体(c)中にSPSが12重量%存在することを示す。また、SC86重量%とは、結晶性樹脂(a)中にシンジオタクチックポリスチレン結晶部分が86重量%であること示す。そして、シンジオタクチックポリスチレン結晶のmp(融点)は256℃である。
BR(3):以下の<BR(3)の合成>により合成したSPSを含むブタジエンゴム(SPSの含有率27重量%、mp=254℃、SC=85重量%)
BR(3)は、シンジオタクチックポリスチレン結晶(SPS)を含むブタジエンゴムである。SPSの含有率27重量%とは、ブタジエンゴム(b1)を含む分散体(c)中にSPSが27重量%存在することを示す。また、SC85重量%とは、結晶性樹脂(a)中にシンジオタクチックポリスチレン結晶部分が85重量%であること示す。そして、シンジオタクチックポリスチレン結晶のmp(融点)は254℃である。
BR(4):以下の<BR(4)の合成>より合成したSPSを含むブタジエンゴム(SPSの含有率0.5重量%、mp=251℃、SC=84重量%)
BR(4)は、シンジオタクチックポリスチレン結晶(SPS)を含むブタジエンゴムである。SPSの含有率0.5重量%とは、ブタジエンゴム(b1)を含む分散体(c)中にSPSが0.5重量%存在することを示す。また、SC84重量%とは、結晶性樹脂(a)中にシンジオタクチックポリスチレン結晶部分が84重量%であること示す。そして、シンジオタクチックポリスチレン結晶のmp(融点)は251℃である。
SBR(1):スチレンブタジエンゴムJSR、(株)製のSL574
SBR(2):以下の<SBR(2)の合成>により合成したSPSを含むスチレンブタジエンゴム(SPSの含有率27重量%、mp=254℃、SC=85重量%)
SBR(2)は、シンジオタクチックポリスチレン結晶(SPS)を含むスチレンブタジエンゴムである。SPSの含有率27重量%とは、スチレンブタジエンゴム(b1)を含む分散体(c)中にSPSが27重量%存在することを示す。また、SC85重量%とは、結晶性樹脂(a)中にシンジオタクチックポリスチレン結晶部分が85重量%であること示す。そして、シンジオタクチックポリスチレン結晶のmp(融点)は254℃である。
カーボンブラック(FEF):三菱化学(株)製のダイヤブラックE(N2SA:41m2/g、DBP吸油量:115ml/100g)
ステアリン酸:日本油脂(株)製の椿
酸化亜鉛:三井金属鉱業(株)製の酸化亜鉛2種
老化防止剤:住友化学(株)製のアンチゲン6C(N−(1,3−ジメチルブチル)−N’−フェニル−p−フェニレンジアミン)
不溶性硫黄:四国化成工業(株)製のミュークロンOT
加硫促進剤:大内新興化学工業(株)製のノクセラーNS(N−t−ブチル−2−ベンゾチアゾリルスルフェンアミド)
トルエン200mlにスチレン10mlを溶かし、0.01mo1/Lのシクロペンタジエニルチタニウムトリクロリドのトルエン溶液を1mlとアルミニウム含量7重量%のメチルアミノキサントルエン溶液5m1を順次添加し、50℃で3時間反応させてSPSのスラリー溶液を得た。トルエン450mlにブタジエンゴム45gを溶解させたポリマーセメント溶液をSPSのスラリー溶液に混合した後、メタノールにてポリマーを沈殿させて、乾燥後にSPS含量12w%(重量%)のBR(ブタジエンゴム)複合体を50g得た。ブタジエンゴムは宇部興産(株)製のBR150Bを使用した。
トルエン600mlにスチレン30mlを溶かし、0.01mol/Lのシクロペンタジエニルチタニウムトリクロリドのトルエン溶液を3mlとアルミニウム含量7重量%のメチルアミノキサントルエン溶液15mlを順次添加し、50℃で3時間反応させてSPSのスラリー溶液を得た。トルエン300mlにブタジエンゴム30gを溶解させたポリマーセメント溶液をSPSのスラリー溶液に混合した後、メタノールにてポリマーを沈殿させて、乾燥後にSPS含量27w%のBR複合体を48g得た。ブタジエンゴムは宇部興産(株)製のBR150Bを使用した。
トルエン20mlにスチレン1mlを溶かし、0.01mol/Lのシクロペンタジエニルチタニウムトリクロリドのトルエン溶液を0.1mlとアルミニウム含量7重量%のメチルアミノキサントルエン溶液0.5mlを順次添加し、50℃で3時間反応させてSPSのスラリー溶液を得た。トルエン1200mlにブタジエンゴム120gを溶解させたポリマーセメント溶液をSPSのスラリー溶液に混合した後、メタノールにてポリマーを沈殿させて、乾燥後にSPS含量0.5w%のBR複合体を120g得た。ブタジエンゴムは宇部興産(株)製のBR150Bを使用した。
トルエン600mlにスチレン30mlを溶かし、0.01mol/Lのシクロペンタジエニルチタニウムトリクロリドのトルエン溶液を3mlとアルミニウム含量7重量%のメチルアミノキサントルエン溶液15mlを順次添加し、50℃で3時間反応させてSPSのスラリー溶液を得た。トルエン300mlにSBR30gを溶解させたポリマーセメント溶液をSPSのスラリー溶液に混合した後、メタノールにてポリマーを沈殿させて、乾燥後にSPS含量27w%のSBR複合体を48g得た。SBRはJSR(株)製のSL574を使用した。
SPSはポリマーとブレンドする前のスラリーからメタノールにて再沈し、乾燥固化したものを島津製作所製の自動示差走査熱量計DSC−60Aを用い、昇温速度10℃/分にて測定を行ない、融点(mp(オンセット))の確認を行った。
硫黄および加硫促進剤以外の薬品を表1に示す配合量添加し、250ccのラボブラストミルを用いて、150℃で5分間混練りした。その後、得られた混練物に対して、硫黄および加硫促進剤を表1に示す配合量添加し、2軸オープンロールを用いて、80℃で5分間混練りし、未加硫ゴム組成物を得た。
上島製作所製のフレクソメータFT1260により静荷重30kgf、動荷重120kgf、試験周波数25Hz、試験開始温度35℃の条件で、加硫したゴム組成物の内部温度が200℃に達するまでの時間を測定した。
試験片寸法:直径30mm、高さ25.4mmの円柱状
時間が長い方が温度上昇が遅く、熱によるゴムや架橋構造の破壊が遅くなるという効果が得られるので、本発明のゴム組成物をランフラットタイヤのサイドウォール部補強ゴム層やビードエイペックスに用いた時、ランフラット走行時の耐久性に優れることを示す。
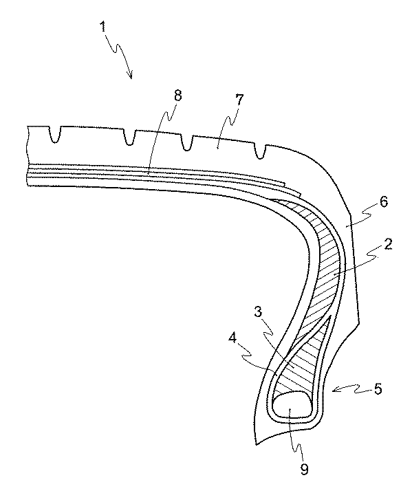
2 サイドウォール補強部
3 ビードエイペックス
4 カーカスプライ
5 ビード部
6 サイドウォール部
7 トレッド部
8 ベルト層
9 ビードコア
Claims (4)
- ジエン系ゴムおよび結晶性樹脂を含むゴム組成物であって、
(A)結晶性樹脂(a)がシンジオタクチック結晶を50重量%以上有するシンジオタクチックポリスチレンであり、
(B)ジエン系ゴム(b1)中に結晶性樹脂(a)を分散させたものを分散体(c)とするとき、結晶性樹脂(a)が分散体(c)中に1〜50重量%分散しており、
(C)分散体(c)およびジエン系ゴム(b2)からなるものを混合物(d)とするとき、分散体(c)が混合物(d)中に5〜60重量%含まれ、ジエン系ゴム(b2)が混合物(d)中に95〜40重量%含まれる
ゴム組成物。 - ジエン系ゴム(b1)およびジエン系ゴム(b2)が、それぞれ
(D)スチレンブタジエンゴム、イソプレンゴム、天然ゴム、ブタジエンゴムより選ばれる群からなる少なくとも1種を含有するジエン系ゴム(ジエン系ゴム(b1)およびジエン系ゴム(b2)は同じであっても異なっていてもよい)である
請求項1記載のゴム組成物。 - 分散体(c)が、
(E)有機溶媒に結晶性樹脂(a)を分散させたスラリー溶液と
(F)有機溶媒にジエン系ゴム(b1)を溶解させたセメント溶液を混合した後、
溶媒を除去して得られる
請求項1または2記載のゴム組成物。 - 請求項1、2または3記載のゴム組成物を
(G)サイドウォール補強部、および/または
(H)ビードエイペックス
に用いたタイヤ。
Priority Applications (1)
| Application Number | Priority Date | Filing Date | Title |
|---|---|---|---|
| JP2008262409A JP5357490B2 (ja) | 2008-10-09 | 2008-10-09 | ゴム組成物およびそれを用いた空気入りタイヤ |
Applications Claiming Priority (1)
| Application Number | Priority Date | Filing Date | Title |
|---|---|---|---|
| JP2008262409A JP5357490B2 (ja) | 2008-10-09 | 2008-10-09 | ゴム組成物およびそれを用いた空気入りタイヤ |
Publications (2)
| Publication Number | Publication Date |
|---|---|
| JP2010090293A true JP2010090293A (ja) | 2010-04-22 |
| JP5357490B2 JP5357490B2 (ja) | 2013-12-04 |
Family
ID=42253321
Family Applications (1)
| Application Number | Title | Priority Date | Filing Date |
|---|---|---|---|
| JP2008262409A Expired - Fee Related JP5357490B2 (ja) | 2008-10-09 | 2008-10-09 | ゴム組成物およびそれを用いた空気入りタイヤ |
Country Status (1)
| Country | Link |
|---|---|
| JP (1) | JP5357490B2 (ja) |
Cited By (2)
| Publication number | Priority date | Publication date | Assignee | Title |
|---|---|---|---|---|
| JP2019510125A (ja) * | 2016-03-23 | 2019-04-11 | ブリヂストン アメリカズ タイヤ オペレーションズ、 エルエルシー | 樹脂延伸ゴム及び調製するためのプロセス |
| JP2022172715A (ja) * | 2021-05-06 | 2022-11-17 | 株式会社ブリヂストン | タイヤ及びタイヤ骨格体の製造方法 |
Citations (7)
| Publication number | Priority date | Publication date | Assignee | Title |
|---|---|---|---|---|
| JPH0393845A (ja) * | 1989-09-06 | 1991-04-18 | Idemitsu Kosan Co Ltd | スチレン系重合体組成物及び成形体の製造方法 |
| JPH11246719A (ja) * | 1998-02-27 | 1999-09-14 | Asahi Chem Ind Co Ltd | 部分水添耐衝撃性ポリスチレンとシンジオタクチックポリスチレンからなる樹脂組成物 |
| JP2000040421A (ja) * | 1998-07-24 | 2000-02-08 | Idemitsu Petrochem Co Ltd | 電子部品 |
| WO2004039872A1 (en) * | 2002-10-31 | 2004-05-13 | Pirelli Pneumatici S.P.A. | Method for preparing a crosslinkable elastomeric composition |
| JP2004346140A (ja) * | 2003-05-21 | 2004-12-09 | Jsr Corp | 変性共役ジエン系重合体、その製造方法およびそれを含む組成物 |
| WO2005111096A1 (ja) * | 2004-05-17 | 2005-11-24 | Bridgestone Corporation | スチレン系重合体、スチレン系共重合体、ゴム組成物及び空気入りタイヤ |
| JP2006137941A (ja) * | 2004-10-14 | 2006-06-01 | Sumitomo Rubber Ind Ltd | タイヤ用ゴム組成物およびそれを用いたタイヤ |
-
2008
- 2008-10-09 JP JP2008262409A patent/JP5357490B2/ja not_active Expired - Fee Related
Patent Citations (7)
| Publication number | Priority date | Publication date | Assignee | Title |
|---|---|---|---|---|
| JPH0393845A (ja) * | 1989-09-06 | 1991-04-18 | Idemitsu Kosan Co Ltd | スチレン系重合体組成物及び成形体の製造方法 |
| JPH11246719A (ja) * | 1998-02-27 | 1999-09-14 | Asahi Chem Ind Co Ltd | 部分水添耐衝撃性ポリスチレンとシンジオタクチックポリスチレンからなる樹脂組成物 |
| JP2000040421A (ja) * | 1998-07-24 | 2000-02-08 | Idemitsu Petrochem Co Ltd | 電子部品 |
| WO2004039872A1 (en) * | 2002-10-31 | 2004-05-13 | Pirelli Pneumatici S.P.A. | Method for preparing a crosslinkable elastomeric composition |
| JP2004346140A (ja) * | 2003-05-21 | 2004-12-09 | Jsr Corp | 変性共役ジエン系重合体、その製造方法およびそれを含む組成物 |
| WO2005111096A1 (ja) * | 2004-05-17 | 2005-11-24 | Bridgestone Corporation | スチレン系重合体、スチレン系共重合体、ゴム組成物及び空気入りタイヤ |
| JP2006137941A (ja) * | 2004-10-14 | 2006-06-01 | Sumitomo Rubber Ind Ltd | タイヤ用ゴム組成物およびそれを用いたタイヤ |
Cited By (8)
| Publication number | Priority date | Publication date | Assignee | Title |
|---|---|---|---|---|
| JP2019510125A (ja) * | 2016-03-23 | 2019-04-11 | ブリヂストン アメリカズ タイヤ オペレーションズ、 エルエルシー | 樹脂延伸ゴム及び調製するためのプロセス |
| JP2021107562A (ja) * | 2016-03-23 | 2021-07-29 | ブリヂストン アメリカズ タイヤ オペレーションズ、 エルエルシー | 樹脂延伸ゴム及び調製するためのプロセス |
| US11098187B2 (en) | 2016-03-23 | 2021-08-24 | Bridgestone Americas Tire Operations, Llc | Resin-extended rubber and process for preparing |
| JP7260588B2 (ja) | 2016-03-23 | 2023-04-18 | ブリヂストン アメリカズ タイヤ オペレーションズ、 エルエルシー | 樹脂延伸ゴム及び調製するためのプロセス |
| US11834573B2 (en) | 2016-03-23 | 2023-12-05 | Bridgestone Americas Tire Operations, Llc | Resin-extended rubber and process for preparing |
| US12371558B2 (en) | 2016-03-23 | 2025-07-29 | Bridgestone Americas Tire Operations, Llc | Resin-extended rubber and process for preparing |
| JP2022172715A (ja) * | 2021-05-06 | 2022-11-17 | 株式会社ブリヂストン | タイヤ及びタイヤ骨格体の製造方法 |
| JP7688515B2 (ja) | 2021-05-06 | 2025-06-04 | 株式会社ブリヂストン | タイヤ及びタイヤ骨格体の製造方法 |
Also Published As
| Publication number | Publication date |
|---|---|
| JP5357490B2 (ja) | 2013-12-04 |
Similar Documents
| Publication | Publication Date | Title |
|---|---|---|
| JP5356437B2 (ja) | ゴム組成物 | |
| JP5092058B1 (ja) | タイヤのインスレーション用ゴム組成物およびそれを用いたタイヤ | |
| EP2019125B1 (en) | Rubber composition and run flat tire using the same | |
| CN103153646B (zh) | 具有低表面积炭黑的橡胶组合物 | |
| EP3081588A1 (en) | Pneumatic tire | |
| JP4722873B2 (ja) | ゴム組成物およびそれを用いたランフラットタイヤ | |
| JP3692027B2 (ja) | ランフラットタイヤ | |
| JP4113850B2 (ja) | タイヤ用ゴム組成物およびそれを用いて得られたランフラットタイヤ | |
| JP4722865B2 (ja) | クリンチ用ゴム組成物およびそれを用いたクリンチを有するタイヤ | |
| JP5443072B2 (ja) | ベーストレッド用ゴム組成物及び空気入りタイヤ | |
| JP5357490B2 (ja) | ゴム組成物およびそれを用いた空気入りタイヤ | |
| JP5313743B2 (ja) | インナーライナー用ゴム組成物及びタイヤ | |
| JP2009120739A (ja) | チェーファーゴム組成物および空気入りタイヤ | |
| JP5307989B2 (ja) | サイド補強ゴム層用ゴム組成物およびそれを用いたサイド補強ゴム層を有するタイヤ | |
| JP2005126555A (ja) | タイヤサイドウォール補強層用ゴム組成物 | |
| JP4956810B2 (ja) | ランフラットタイヤ | |
| JP5354515B2 (ja) | ランフラットタイヤ | |
| JP4268946B2 (ja) | サイド補強用ゴム組成物およびそれを用いたランフラットタイヤ | |
| JP2007276620A (ja) | ランフラットタイヤ | |
| JP7040161B2 (ja) | タイヤ用ゴム組成物 | |
| JP2005187825A (ja) | 空気入りタイヤ | |
| JP2009173793A (ja) | ジエン系ゴム組成物 | |
| JP2010036726A (ja) | タイヤ | |
| JP2018109198A (ja) | タイヤ | |
| JP2010150413A (ja) | ランフラットタイヤ用ゴム組成物及びランフラットタイヤ |
Legal Events
| Date | Code | Title | Description |
|---|---|---|---|
| RD03 | Notification of appointment of power of attorney |
Free format text: JAPANESE INTERMEDIATE CODE: A7423 Effective date: 20100514 |
|
| A621 | Written request for application examination |
Free format text: JAPANESE INTERMEDIATE CODE: A621 Effective date: 20110819 |
|
| A977 | Report on retrieval |
Free format text: JAPANESE INTERMEDIATE CODE: A971007 Effective date: 20130408 |
|
| A131 | Notification of reasons for refusal |
Free format text: JAPANESE INTERMEDIATE CODE: A131 Effective date: 20130416 |
|
| A521 | Written amendment |
Free format text: JAPANESE INTERMEDIATE CODE: A523 Effective date: 20130515 |
|
| TRDD | Decision of grant or rejection written | ||
| A01 | Written decision to grant a patent or to grant a registration (utility model) |
Free format text: JAPANESE INTERMEDIATE CODE: A01 Effective date: 20130813 |
|
| A61 | First payment of annual fees (during grant procedure) |
Free format text: JAPANESE INTERMEDIATE CODE: A61 Effective date: 20130830 |
|
| R150 | Certificate of patent or registration of utility model |
Ref document number: 5357490 Country of ref document: JP Free format text: JAPANESE INTERMEDIATE CODE: R150 Free format text: JAPANESE INTERMEDIATE CODE: R150 |
|
| R250 | Receipt of annual fees |
Free format text: JAPANESE INTERMEDIATE CODE: R250 |
|
| R250 | Receipt of annual fees |
Free format text: JAPANESE INTERMEDIATE CODE: R250 |
|
| R250 | Receipt of annual fees |
Free format text: JAPANESE INTERMEDIATE CODE: R250 |
|
| LAPS | Cancellation because of no payment of annual fees |
