JP2010088307A - 閉鎖系水域の自動脱窒システム - Google Patents

閉鎖系水域の自動脱窒システム Download PDF

Info

Publication number
JP2010088307A
JP2010088307A JP2008258846A JP2008258846A JP2010088307A JP 2010088307 A JP2010088307 A JP 2010088307A JP 2008258846 A JP2008258846 A JP 2008258846A JP 2008258846 A JP2008258846 A JP 2008258846A JP 2010088307 A JP2010088307 A JP 2010088307A
Authority
JP
Japan
Prior art keywords
denitrification
water
circulation
circulation tank
tower
Prior art date
Legal status (The legal status is an assumption and is not a legal conclusion. Google has not performed a legal analysis and makes no representation as to the accuracy of the status listed.)
Granted
Application number
JP2008258846A
Other languages
English (en)
Other versions
JP4602446B2 (ja
Inventor
Yoichi Tsuji
洋一 辻
Kiichi Koizumi
嘉一 小泉
Current Assignee (The listed assignees may be inaccurate. Google has not performed a legal analysis and makes no representation or warranty as to the accuracy of the list.)
KANKYO GIJUTSU CENTER KK
TAIYO SUIKEN KK
Original Assignee
KANKYO GIJUTSU CENTER KK
TAIYO SUIKEN KK
Priority date (The priority date is an assumption and is not a legal conclusion. Google has not performed a legal analysis and makes no representation as to the accuracy of the date listed.)
Filing date
Publication date
Application filed by KANKYO GIJUTSU CENTER KK, TAIYO SUIKEN KK filed Critical KANKYO GIJUTSU CENTER KK
Priority to JP2008258846A priority Critical patent/JP4602446B2/ja
Publication of JP2010088307A publication Critical patent/JP2010088307A/ja
Application granted granted Critical
Publication of JP4602446B2 publication Critical patent/JP4602446B2/ja
Expired - Fee Related legal-status Critical Current
Anticipated expiration legal-status Critical

Links

Images

Classifications

    • Y02W10/12

Landscapes

  • Farming Of Fish And Shellfish (AREA)
  • Purification Treatments By Anaerobic Or Anaerobic And Aerobic Bacteria Or Animals (AREA)

Abstract

【課題】閉鎖系水域で魚介類を飼育する場合において、換水すること無く硝酸濃度の上昇を完全に抑えることを可能にする。
【解決手段】脱窒循環槽5と、脱窒循環槽5に取り込んだ閉鎖系水域2の水を脱窒するための脱窒塔9と、閉鎖系水域2内の水を脱窒循環槽5に取り込むための水張り手段10と、脱窒塔9を通過させつつ脱窒循環槽5内の水を循環するための循環手段11と、脱窒循環槽5内の水を閉鎖系水域2に戻すための押出手段12と、脱窒循環槽5内の水の硝酸濃度を検知する硝酸濃度検知手段6と、脱窒循環槽5内の水位を検知する水位検知手段7と、脱窒循環槽5内の水温を維持するヒーター8を有するとともに、脱窒塔9は、嫌気性細菌を着床させるための細菌着床部902と、嫌気性細菌の栄養分としての生分解ポリマー903とを内部に充填し、硝酸を含んだ水を通過させることで脱窒を可能とした。
【選択図】図1

Description

本発明は、水産養殖、生け簀、観賞魚ディスプレイ等の閉鎖系水域内の硝酸を自動的に還元して窒素ガスにまで変換可能とする閉鎖系水域の自動脱窒システムに係り、より詳しくは、閉鎖系水域内の水の一部を脱窒循環槽に取り込み、この脱窒循環槽に取り込んだ水の中に硝酸が存在するときは硝酸が無くなるまで脱窒処理を繰り返し、硝酸が無くなった後に脱窒循環槽内の水を閉鎖系水域に戻し、これにより、換水によって対応すること無く、閉鎖系水域内の硝酸濃度を低い値で一定に保つことを可能とした閉鎖系水域の自動脱窒システムに関する。
周知のように、水産養殖、生け簀、観賞魚ディスプレイ等の閉鎖系水域で魚介類を飼育する場合には、魚介類から出る老廃物や餌の残渣に由来して発生するアンモニア態窒素は毒性が強いため、飼育している魚介類の死滅等を防止するためには、このアンモニア態窒素の蓄積は許されない。そのため、これらの閉鎖系水域では一般的に、生物濾過と呼ばれる好気性細菌による処理で毒性の弱い硝酸態窒素にまで酸化(「硝化」)している。
そして、その具体的な方法としては、例えば、濾過装置本体内に濾過材としての珊瑚砂を入れるとともに、この珊瑚砂に好気バクテリアを付着させて濾過装置を構成し、ポンプによって、水槽内の水を、濾過装置内を通過させつつ循環させる方法が一般的である。
そうすると、水槽水に含まれるアンモニア等の有毒物質は、濾過装置を通過する過程で、好気バクテリアによって硝化されて毒性の弱い硝酸態窒素にまで変化していく。
ところで、硝酸態窒素は毒性が弱いが、過剰に蓄積されて濃度が高くなると弊害が生じるため、濃度についてはある程度の許容範囲が定められている。一方、硝酸は硝化の最終物質であり、閉鎖系水域に蓄積されていくため、硝酸態窒素の濃度が許容範囲を超えた場合には、換水しなければならないとされている。
しかしながら、例えば、水産養殖、生け簀、大型の観賞魚ディスプレイ等の場合には、換水作業に要する手間、時間、コスト等が大きいという問題点が指摘できる。
そこで、本発明は、水産養殖、生け簀、観賞魚ディスプレイ等の閉鎖系な水域で魚介類を飼育する場合において、硝酸濃度の上昇を完全に抑え、換水によって対応すること無く、閉鎖系水域内の硝酸濃度を低い値で一定に保つことを可能にする閉鎖系水域の自動脱窒システムを提供することを課題としている。
本発明の閉鎖系水域の自動脱窒システムは、
閉鎖系水域内の水を取り込むための脱窒循環槽と、
該脱窒循環槽内に取り込んだ水に含まれる硝酸を還元して窒素ガスにまで変換するための脱窒塔と、
閉鎖系水域内の水を前記脱窒循環槽に取り込むための水張り手段と、
前記脱窒塔を通過させつつ前記脱窒循環槽内の水を循環するための循環手段と、
前記脱窒循環槽内の水を前記閉鎖系水域に戻すための押出手段と、
前記脱窒循環槽内に配設された、前記脱窒循環槽内の水に含まれる硝酸濃度を検知するための硝酸濃度検知手段と、
前記脱窒循環槽内に配設された、前記脱窒循環槽内の水位を検知するための水位検知手段と、
前記脱窒循環槽内に配設されたヒーターと、
装置全体の作動を制御するための制御手段と、を具備するとともに、
前記脱窒塔は、嫌気性細菌を着床させるための細菌着床部と、前記嫌気性細菌の栄養分としての生分解ポリマーと、を内部に充填し、硝酸を含んだ水を通過させることにより、水に含まれる硝酸を還元して窒素ガスにまで変換可能とし、
前記水張り手段によって前記脱窒循環槽内に閉鎖系水域の水を取り込み、
前記循環手段によって前記脱窒循環槽内の水を前記脱窒塔との間で循環することで、前記脱窒循環槽内の水に含まれる硝酸を還元して窒素ガスにまで変換し、
前記押出手段によって、硝酸が含まれていない前記脱窒循環槽内の水を閉鎖系水域に戻す、ことを可能とした、ことを特徴としている。
嫌気的な条件の下で嫌気性細菌(「脱窒菌」)が硝酸呼吸をすると、硝酸が還元されて窒素ガスにまで変換されるが(これを「脱窒」という。)、本発明の閉鎖系水域の自動脱窒システムでは、閉鎖系水域内の水を取り込むための脱窒循環槽と、この脱窒循環槽内に取り込んだ水に含まれる硝酸を還元して窒素ガスにまで変換するための脱窒塔とを有するとともに、閉鎖系水域内の水を脱窒循環槽に取り込むための水張り手段と、脱窒塔を介して脱窒循環槽内の水を循環するための循環手段と、脱窒循環槽内の水を閉鎖系水域に戻すための押出手段とを有しており、脱窒塔は、嫌気性細菌を着床させるための細菌着床部と、嫌気性細菌の栄養分としての生分解ポリマーを内部に充填し、硝酸を含んだ水を通過させることにより、硝酸を還元して窒素ガスにまで変換可能とし、この構成において、閉鎖系水域内の水の一部を脱窒循環槽に取り込む水張工程と、脱窒循環槽内の水の硝酸を還元して窒素ガスにまで変換する循環工程と、脱窒循環槽内の水に硝酸が含まれていないときに、この硝酸が含まれていない脱窒循環槽内の水を閉鎖系水域に戻す押出工程を行うこととしている。そのため、本発明によれば、水産養殖、生け簀、観賞魚ディスプレイ等の閉鎖系な水域で魚介類を飼育する場合において、硝酸濃度の上昇を完全に抑え、換水によって対応すること無く、閉鎖系水域内の硝酸濃度を低い値で一定に保つことが可能である。
そして、このとき、本発明では、脱窒塔内に嫌気性細菌である脱窒菌の栄養分としての生分解ポリマーを充填しているために、脱窒塔内において脱窒菌を確実に繁殖させることが可能である。
また、本発明の閉鎖系水域の自動脱窒システムでは、閉鎖系水域内の水の一部を脱窒循環槽に移動する水張工程と、脱窒循環槽内の水を循環する循環工程とを別々の工程としてバッチ処理しているために、循環工程においては、脱窒塔内に外部から酸素が入り込むことがないとともに、好気性細菌の酸素呼吸によって残存酸素はすぐに枯渇し嫌気化するため、脱窒塔内の嫌気性細菌の脱窒活性を速やかに高めることが可能である。
本発明の閉鎖系水域の自動脱窒システムでは、水産養殖、生け簀、観賞魚ディスプレイ等の閉鎖系な水域内の水を取り込むための脱窒循環槽と、この脱窒循環槽内に取り込んだ閉鎖系水域の水に含まれる硝酸を還元して窒素ガスにまで変換するための脱窒塔を有するとともに、閉鎖系水域内の水を脱窒循環槽に取り込むための水張り手段と、脱窒塔を介して脱窒循環槽内に取り込んだ水を循環するための循環手段と、脱窒循環槽内の水を閉鎖系水域に戻すための押出手段とを有している。
そして、前記脱窒循環槽内には、脱窒循環槽内の水に含まれる硝酸濃度を検知するための硝酸濃度検知手段と、脱窒循環槽内の水位を検知するための水位検知手段と、脱窒循環槽内の水温を一定以上に維持するためのヒーターとが配設されており、これらの硝酸濃度検知手段、ヒーター、水位検知手段は制御手段に接続されている。
また、脱窒塔は、嫌気性細菌を着床させるための細菌着床部と、嫌気性細菌の栄養分としての生分解ポリマーとを内部に充填しており、硝酸を含んだ水を通過させることにより、硝酸を還元して窒素ガスにまで変換する機能を有する。
そして、本発明の閉鎖系水域の自動脱窒システムはこのような構成において、水張り手段によって脱窒循環槽内に閉鎖系水域の水を取り込んで水張りを行い、水張りの後に、脱窒循環槽内の水に硝酸が存在しているときは、脱窒循環槽内の水を前記脱窒塔との間で循環し、これによって、前窒循環槽内の水に含まれる硝酸を還元して窒素ガスにまで変換し、脱窒循環槽内の水に硝酸が含まれていないときは、押出手段によって、脱窒循環槽内の水を閉鎖系水域に戻すこととしている。
ここで、前記水張り手段、循環手段、及び押出手段の作動を制御手段により自動制御し、これにより、自動的に水張工程、循環工程、及び押出工程を実行するとよく、それにより、最小限度の労力で各工程を行うことが可能である。
そして、自動制御の例としては、例えば、水位検知手段が脱窒循環槽内の水位の低下を検知したときに、水張り手段によって脱窒循環槽内に閉鎖系水域の水を取り込み、硝酸濃度検知手段が脱窒循環槽内の水に硝酸を検知したときに、検知している硝酸濃度が0mg/Lになるまで、循環手段によって脱窒循環槽内の水を脱窒塔との間で循環し、硝酸濃度検知手段が硝酸濃度を検知しないときに、押出手段を介して脱窒循環槽内の水を閉鎖系水域に戻す方法が考えられ、これによれば、硝酸濃度検知手段による検知結果に応じて自動的に各工程を実行することが可能となる。
またそのほか、タイマー等を用いて、このタイマーにより設定した時間に基づいて、制御手段が、水張り手段、循環手段、及び押出手段の作動を自動制御することとしてもよい。
更に、水張り手段、循環手段、及び押出手段は、それぞれを独立した経路で構成してもよいが、その他、前記循環手段を、脱窒循環槽内の水を脱窒塔に供給するための、基端が脱窒循環槽に連通するとともに先端が脱窒塔に連通し、任意の箇所に循環ポンプが介在された第1循環用流路と、脱窒塔を通過して脱窒された水を脱窒循環槽に戻すための、基端が脱窒塔に連通するとともに先端が脱窒循環槽に連通した第2の循環用流路とで構成し、水張り手段は、基端が閉鎖系水域に連通し、先端が第1の三方弁を介して第1の循環用流路に連結した水張り用流路で構成し、押出手段は、先端が閉鎖系水域に連通し、基端が第2の三方弁を介して第2の循環用流路に連結した押出用流路で構成し、
脱窒循環槽内に閉鎖系水域の水を取り込むときは、第1の三方弁及びの第2の三方弁の切り替えにより、第1の循環用流路による脱窒循環槽と脱窒塔との連通を遮断して、水張り用流路と第1の循環用流路により閉鎖系水域と脱窒塔を連通し、第2の循環用流路により脱窒塔と脱窒循環槽を連通し、水張り用流路、第1の循環用流路の一部、脱窒塔、第2の循環用流路を介して、閉鎖系水域内の水を脱窒循環槽に取り込み、
脱窒循環槽内の水を循環させるときは、第1の三方弁及び第2の三方弁の切り替えにより、第1の循環用流路によって脱窒循環槽と脱窒塔を連通し、第2の循環用流路によって脱窒塔と脱窒循環槽を連通し、第1の循環用流路、脱窒塔、第2の循環用流路を介して脱窒循環槽内の水を循環し、
脱窒循環槽内の水を閉鎖系水域に戻すときには、第1の三方弁及び第2の三方弁の切り替えにより、第1の循環用流路によって脱窒循環槽と脱窒塔を連通し、第2の循環用流路による脱窒塔と脱窒循環槽との連通を遮断して第2の循環用流路と押出用流路とにより脱窒塔と閉鎖系水域を連通し、第1の循環用流路、脱窒塔、第2の循環用流路の一部、及び押出用流路を介して脱窒循環槽内の水を閉鎖系水域に押し出すようにしてもよく、これによりシステム全体の構成を簡素化してコストを抑えることができる。
また、前記脱窒塔に充填する生分解ポリマーとしては、植物油由来のポリマーを用いるとよく、これにより、安全性の高い脱窒システムにすることが可能である。
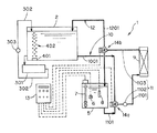
本発明の閉鎖系水域の自動脱窒システム(以下単に「自動脱窒システム」という。)の実施例について図面を参照して説明すると、図1は本実施例の自動脱窒システムの全体を説明するための図であり、図において1が本実施例の自動脱窒システムである。
また、図1において2は、閉鎖系水域としての水槽であり、本実施例の自動脱窒システムは、この水槽2内の水に含まれる硝酸を自動で脱窒することを目的としている。
ここで、前記水槽2について説明すると、この水槽2には、循環路302を介して、好気性細菌を用いた濾過装置301が連結されており、循環路302の任意の箇所には、水槽水を循環させるための濾過用ポンプ303が介在され、この濾過用ポンプ303の作用により、水槽水は、濾過装置301を通って循環される構成としている。なお、この好気性細菌を用いた濾過装置は従来周知であるために詳細な説明は省略する。また、図1において402はエアレーションであり、また401はエアレーションを発生させるためのエアストーンである。
次に、図において5は脱窒循環槽である。即ち、本実施例の自動脱窒システムでは、脱窒循環槽を有しており、この脱窒循環槽5内に、前記水槽2の水の一部を取り込むこととしている。
また、本実施例においてこの脱窒循環槽5内には、脱窒循環槽5内に取り込んだ水に含まれる硝酸濃度を検知するための硝酸濃度検知手段6と、脱窒循環槽5内に取り込んだ水の水位を検知するための水位検知手段7が配設されており、更に、脱窒循環槽5内の水の温度を一定以上に維持するためのヒーター8が配設されている。そして、本実施例においては、前記硝酸濃度検知手段6としては硝酸イオンメーターを用いており、前記水位検知手段7としてはフロートスイッチを用いている。
次に、図において9は脱窒塔である。即ち、本実施例では脱窒塔9を有しており、この脱窒塔9において、前記脱窒循環槽5内に取り込んだ水に含まれる硝酸を還元して窒素ガスにまで変換することとしている。
即ち、嫌気的な条件の下で、嫌気性細菌である脱窒菌が硝酸呼吸をし、それにより硝酸を還元して窒素ガスにする作用を脱窒というが、本実施例の自動脱窒システムでは、前記脱窒塔9を介して前記脱窒循環槽5内の水を循環し、これにより、脱窒によって、前記脱窒循環槽5内に取り込んだ水に含まれる硝酸を無くすることとしている。
ここで、前記脱窒塔9について説明すると、図2は本実施例における脱窒塔9の構成を説明するための図であり、本実施例において前記脱窒塔9は、筒状とした容器(「カラム」)901内に、嫌気性細菌としての脱窒菌を着床させるための細菌着床部902と、脱窒菌の栄養分としての生分解ポリマー903とを交互にサンドイッチ状に充填して構成されており、前記細菌着床部902としては、脱窒菌を効率的に着床させることが可能な珊瑚砂を用いている。
そして、この構成において、硝酸を含んだ水がこの脱窒塔9内を通過することで、脱窒菌による作用で、水に含まれる硝酸を還元して窒素ガスにまで変換することを可能としている。
また、本実施例においては、前記生分解ポリマーとしては、植物油由来のポリマーを用いており、これにより安全性を確保している。即ち、天然原料を使用しているために、食材である養殖魚に懸念すべき化学物質が捕り込まれず、対人的な危険性も極めて低く、魚自体への化学物質による影響も極めて低く、閉鎖系水域の水が閉鎖系の外に流出した際に環境に対する負荷が極めて低いという利点がある。
なお、本実施例において前記植物油由来の生分解ポリマーとしては、イタリアのノバモント社製の商品名マタービーKF−01U/130を使用しており、これにより、硫化水素の発生も防止している。
即ち、例えば海水を嫌気条件化におくと、嫌気性細菌である硫酸還元菌によって硫酸が還元されるために猛毒の硫化水素が発生することがあり、かかる場合には、水槽内の魚介類が死滅に至る場合も考えられる。しかしながら、本発明者による実験の結果、前記マタービーKF−01U/130を生分解ポリマーとして使用した場合には硫化水素の発生が見られなかった。従って、生分解ポリマーとして前記マタービーKF−01U/130を使用している本実施例の自動脱窒システムでは、海水を循環した場合でも、猛毒な硫化水素が発生することもない。
なお、脱窒菌は水温が25℃を下回ると極端に活性が低下して脱窒するスピードが遅くなるため、本実施例においては、冬場の水温対策として、前記ヒーター8を脱窒循環槽5内に配設し、システム内の水温を25℃以上に保てるようにしている。
次に、図において11は循環手段である。即ち、本実施例においては、循環手段11によって、前記脱窒循環槽5内の水を前記脱窒塔9との間で循環させ、この循環によって確実に脱窒することとしている。
ここで、本実施例において前記循環手段11は、第1の循環用流路1101を有しており、この第1の循環用流路1101は、基端が前記脱窒循環槽5に連通して、他端が前記脱窒塔9に連通し、更に、途中に循環用ポンプ1102が介在されている。そしてこの構成により、循環用ポンプ1102を作動させることで、第1の循環用流路1101を介して前記脱窒循環槽5内の水を前記脱窒塔9に供給することを可能としている。
また、前記循環手段11は、第2の循環用流路1103を有しており、この第2の循環用流路1103は、一端が前記脱窒塔9に連通して他端が前記脱窒循環槽5に連通しており、前記循環用ポンプ1102を作動させることで、前記脱窒循環槽5内の水を前記脱窒塔9に供給するとともに、前記脱窒塔9内を通過して脱窒された水を前記脱窒循環槽5内に戻すことを可能としている。
従って本実施例によれば、循環用ポンプ1102を作動させることのみで、前記脱窒循環槽5内の水を、前記脱窒塔9を通過させつつ循環し、これによりに前記脱窒循環槽5内の水を脱窒することができるため、換水によって対応すること無く、水槽内の硝酸濃度の上昇を完全に抑え、硝酸濃度を低い値で一定に保つことが可能である。
次に、図において10は、前記水槽2内の水を前記脱窒循環槽5に取り込んで脱窒循環槽5の水張りを行なうための水張り手段であり、本実施例においてこの水張り手段10は、基端が前記水槽2に連通した水張り用流路1101としている。そして、この水張り用流路1101の先端は、第1の三方弁14aを介して、前記第1の循環用流路1101に連結している。
また、図において12は、前記脱窒循環槽5内の水を水槽2に戻すための押出手段であり、本実施例においてこの押出手段12は、先端が前記水槽2に連通した押出用流路1201としている。そして、この押出用流路1201の基端は、第2の三方弁14bを介して前記第2の循環用流路1103に連結している。
そして、この構成により、前記水槽2内の水を脱窒循環槽5に取り込んで脱窒循環槽5の水張りを行うときには、前記第1の三方弁14a及び第2の三方弁14bの切り替えにより、第1の循環用流路1101による脱窒循環槽5と脱窒塔9との連通を遮断して、前記水張り用流路1001と、第1の循環用流路1101における水張り用流路1001との連結箇所よりも先端側の部分により、前記水槽2と脱窒塔9を連通し、また、前記第2の循環用流路1103により前記脱窒塔9と脱窒循環槽5を連通する。
そうすると、この状態で前記循環用ポンプ1102を作動させると、水槽2内の水は、水張り用流路1001、第1の循環用流路1101における水張り用流路1001との連結箇所よりも先端側の部分、脱窒塔9、第2の循環用流路1103を順番に通過して、脱窒循環槽5に取り込まれ、これにより脱窒循環槽5の水張りを行うことができる。
一方、脱窒循環槽5内の水を水槽2に戻すときには、前記第1の三方弁14a及び第2の三方弁14bの切り替えにより、第2の循環用流路1103による脱窒塔9と脱窒循環槽5との連通を遮断して、第2の循環用流路1103における押出用流路1201との連結箇所よりも基端側の部分と、前記押出用流路1201とにより、前記脱窒塔9と水槽2とを連通し、また、前記第1の循環用流路1101により前記脱窒循環槽5と脱窒塔9を連通する。
そうすると、この状態で前記循環用ポンプ1102を作動させると、脱窒循環槽5内の水は、第1の循環用流路1101、脱窒塔9、第2の循環用流路1103における押出用流路1201との連結箇所よりも基端側の部分、押出用流路1201を順番に通過して、水槽2に戻され、これにより脱窒循環槽5の水の押出を行うことができる。
次に、図において13は、制御手段を収納した制御盤であり、本実施例の自動脱窒システム1では、前記制御手段において、前記水張り、循環、押出の各工程を行なうとともに、システム全体の作動を制御している。
ここで、本実施例の自動脱窒システム1の制御系について図3のブロック図を参照して説明すると、本実施例の自動脱窒システム1では、制御手段15としてのマイコンを有し、この制御手段15には、前記硝酸イオンメーター6、ヒーター8、フロートスイッチ7、循環用ポンプ1102が接続されている。また、本実施例では前記第1及び第2の三方弁14a、14bとして電動三方弁を用いており、この、第1及び第2の三方弁14a、14bもまた制御手段15に接続し、更にその他、操作スイッチ16、電源等が制御手段15に接続されている。
そして、制御手段15は、前記第1及び第2の三方弁14a、14bと循環用ポンプ1102を制御し、フロートスイッチ7により脱窒循環槽5内の水位の低下を検知したときに前述した水張りを行い、硝酸イオンメーター6が脱窒循環槽5に取り込んだ水の中に硝酸濃度を検知したときに前述した循環を行い、硝酸イオンメーター6による硝酸濃度の検知が無くなったときに前述した押出を行い、更に、冬場には、ヒーター8を作動させて脱窒循環槽5内の水温が25℃以上に維持する。
次に、このように構成される本実施例の自動脱窒システム1を用いた自動脱窒方法について、図4のフローチャートを参照して説明すると、本実施例の自動脱窒方法ではまず、脱窒循環槽5への水張りを行う。即ち、ステップ1において、制御手段15は、前記第1及び第2の三方弁14a、14bと循環用ポンプ1102を制御して前述の水張りを行い、適量の、水槽2内の水を脱窒循環槽5に取り込む。
次に、硝酸イオンメーター6が硝酸を検知すると、制御手段はステップ2において、硝酸濃度が0mg/Lになるまで、前記第1及び第2の三方弁14a、14bと循環用ポンプ1102を制御して前述の循環を行い、脱窒循環槽5内の水の脱窒を行う。
そして、脱窒循環槽5内の硝酸濃度が0mg/Lになった後、あるいは、ステップ1の水張りの後に硝酸イオンメーター6が硝酸を検知しなかったときは、制御手段15は、ステップ3において、前記第1及び第2の三方弁14a、14bと循環用ポンプ1102を制御して前述の押出を行い、脱窒循環槽5内の水を水槽2へ戻す。
そして、ステップ3の押出により脱窒循環槽5内の水位が低下した後に、前記ステップ1からステップ3を繰り返し行い、これにより、水槽2内の水の脱窒を自動的に行っていく。
このように、本実施例の自動脱窒システムによれば、水槽内の水の脱窒を行うことが可能であるため、水産養殖、生け簀、観賞魚ディスプレイ等の閉鎖系水域で魚介類を飼育する場合において、換水を行うことなく、閉鎖系水域内の硝酸濃度を低い値で一定に保つことが可能である。
また、脱窒を行うための脱窒塔内に、嫌気性細菌の栄養分としての生分解ポリマーを充填しているために、脱窒塔内において嫌気性細菌を確実に繁殖させることが可能である。
更に、水槽内の水の一部を脱窒循環槽に移動する水張工程と、脱窒循環槽内の水を循環する循環工程とを別々の工程としてバッチ処理しているために、脱窒塔内の嫌気性細菌の脱窒活性を速やかに高めることが可能である。
即ち、例えば残存酸素を豊富に含む海水を脱窒循環槽5に取り込んで水張りを行った場合には、脱窒循環槽5内に酸素が入り込んでしまう。このとき、一般的に脱窒菌は、酸素に少しでもふれると死滅してしまう編性嫌気性菌と異なり、通気性嫌気細菌であるために酸素が存在していても死滅することはないが、活動が弱くなってしまう。そのため、例えば、水張りと循環とを並行して行った場合には、脱窒循環槽5内に次々に酸素が供給されるため、脱窒菌の活性を高めることができず、有効な脱窒を行うことが困難になってしまう。
しかしながら、本実施例では、水張工程と循環工程とを別々の工程としてバッチ処理しているため、循環工程においては、脱窒塔内に外部から酸素が入り込むことがないとともに、好気性細菌の酸素呼吸によって、水張りによって脱窒循環槽5内に取り込んだ水は、残存酸素がすぐに枯渇し嫌気化するため、脱窒塔内の嫌気性細菌の脱窒活性を速やかに高めることが可能である。
また、本実施例では、脱窒循環槽の水張り、脱窒循環槽内の水の脱窒循環、及び脱窒循環槽内の水の水槽への押出を制御手段の制御により自動的に行うため、最小限度の労力により、閉鎖系水域内の硝酸濃度を低い値で一定に保つことが可能である。
なお、前述の自動脱窒システム1では、水張り手段10を、基端が前記水槽2に連通し、先端が第1の三方弁14aを介して前記第1の循環用流路1101に連結した水張り用流路1001により構成し、押出手段13は、先端が前記水槽2に連通して基端は第2の三方弁14bを介して前記第2の循環用流路1103に連結した押出用流路1201で構成して、水張り、押出の際に循環手段11の一部を利用してシステム全体の簡素化を可能とした場合を説明したが、必ずしもこのように構成する必要はなく、例えば図5及び図6に示すように、水張り手段10及び押出手段12を循環手段11とは別個に構成してもよい。
即ち、図5において、水張り手段10は、基端が水槽2に連通して先端が脱窒循環槽5に連通した水張り用流路1001と、この水張り用流路1001の任意の箇所に介在させた水張り用ポンプ1002で構成され、押出手段12は、基端が脱窒循環槽5に連通して先端が水槽2に連通した押出用流路1201と、この押出用流路1201の任意の箇所に介在させた押出用ポンプ1202で構成されている。そして、図6のブロック図に示すように、水張り用ポンプ1002と押出用ポンプ1202を制御手段15に接続し、制御手段15は、水張りを行う場合には水張り用ポンプ1002を作動させ、押出を行う場合には押出用ポンプを作動させることとしている。
なお、図5に示す自動脱窒システム11は、水張り手段10及び押出手段12を循環手段11と別個に構成した点を特徴としており、その他の点は図1乃至図4に示した自動脱窒システム1と同様であるので、重複した説明は省略するとともに同一部品には同一符号を付した。
但し、必ずしも、図5に示す構成を採用する必要もなく、水張り手段10は、閉鎖系水域2内の水を脱窒循環槽5に取り込むことが可能であればよく、循環手段11は、脱窒塔9を通過させつつ脱窒循環槽5内の水を循環可能であればよく、及び、押出手段12は、脱窒循環槽5内の水を閉鎖系水域2に戻すことが可能であればよい。即ち、閉鎖系水域内の水を脱窒循環槽に取り込むための水張り手段と、脱窒塔を通過させつつ脱窒循環槽内の水を循環するための循環手段と、脱窒循環槽内の水を閉鎖系水域に戻すための押出手段を有していればよい。
また、前述の実施例では、硝酸イオンメーター6による検知結果に基づいて、制御手段が、第1及び第2の三方弁14a、14bと循環用ポンプ1102を制御する方法を説明したが、その他、例えばタイマーにより、水張りを行い時間、循環を行う時間、押出を行う時間を予め設定しておき、この設定時間に基づいて、制御手段が第1及び第2の三方弁14a、14bと循環用ポンプ1102を制御する方法を採用してもよく、あるいは、手動により、第1及び第2の三方弁14a、14bと循環用ポンプ1102の作動を制御してもよい。
本発明の自動脱窒システムによれば、換水を行うこと無く、閉鎖系水域内の硝酸濃度を低い値で一定に保つことを可能にしているため、硝酸濃度が高くなる可能性のある水域の全般に適用可能である。
本発明の閉鎖的水域の自動脱窒システムの実施例のシステム全体を説明するための図である。 本発明の閉鎖的水域の自動脱窒システムの実施例における脱窒塔を説明するための図である。 本発明の閉鎖的水域の自動脱窒システムの実施例の制御系を説明するための図である。 本発明の閉鎖的水域の自動脱窒方法の実施例を説明するためのフローチャートである。 本発明の閉鎖的水域の自動脱窒システムの他の形態のシステム全体を説明するための図である。 図5に示すシステムにおける制御系を説明するための図である。
符号の説明
1、11 自動脱窒システム
2 水槽
301 濾過装置
302 循環路
303 濾過用ポンプ
401 エアストーン
402 エアレーション
5 脱窒循環槽
6 硝酸イオンメーター
7 フロートスイッチ
8 ヒーター
9 脱窒塔
901 カラム
902 細菌着床部
903 生分解ポリマー
10 水張り手段
1001 水張り用流路
1002 水張り用ポンプ
11 循環手段
1101 第1の循環用流路
1102 循環用ポンプ
1103 第2の循環用流路
12 押出手段
1201 押出用流路
1202 押出用ポンプ
13 制御盤
14a 第1の三方弁
14b 第2の三方弁
15 制御手段
16 操作スイッチ
17 電源

Claims (6)

  1. 閉鎖系水域内(2)の水を取り込むための脱窒循環槽(5)と、
    該脱窒循環槽(5)内に取り込んだ水に含まれる硝酸を還元して窒素ガスにまで変換するための脱窒塔(9)と、
    閉鎖系水域(2)内の水を前記脱窒循環槽(5)に取り込むための水張り手段(10)と、
    前記脱窒塔(9)を通過させつつ前記脱窒循環槽(5)内の水を循環するための循環手段(11)と、
    前記脱窒循環槽(5)内の水を前記閉鎖系水域(2)に戻すための押出手段(12)と、
    前記脱窒循環槽(5)内に配設された、前記脱窒循環槽(5)内の水に含まれる硝酸濃度を検知するための硝酸濃度検知手段(6)と、
    前記脱窒循環槽(5)内に配設された、前記脱窒循環槽(5)内の水位を検知するための水位検知手段(7)と、
    前記脱窒循環槽(5)内に配設されたヒーター(8)と、
    装置全体の作動を制御するための制御手段(15)と、を具備するとともに、
    前記脱窒塔(9)は、嫌気性細菌を着床させるための細菌着床部(902)と、前記嫌気性細菌の栄養分としての生分解ポリマー(903)と、を内部に充填し、硝酸を含んだ水を通過させることにより、水に含まれる硝酸を還元して窒素ガスにまで変換可能とし、
    前記水張り手段(10)によって前記脱窒循環槽(5)内に閉鎖系水域(2)の水を取り込み、
    前記循環手段(11)によって前記脱窒循環槽(5)内の水を前記脱窒塔(9)との間で循環することで、前記脱窒循環槽(5)内の水に含まれる硝酸を還元して窒素ガスにまで変換し、
    前記押出手段(12)によって、硝酸が含まれていない前記脱窒循環槽(5)内の水を閉鎖系水域(2)に戻す、ことを可能とした閉鎖系水域の自動脱窒システム。
  2. 前記水張り手段(10)、循環手段(11)、及び押出手段(12)の作動を 前記制御手段(15)により自動制御することとしたことを特徴とする請求項1に記載の閉鎖系水域の自動脱窒システム。
  3. 前記制御手段(15)の制御により、
    前記水位検知手段(7)が脱窒循環槽(5)内の水位の低下を検知したときに、前記水張り手段(10)によって前記脱窒循環槽(5)内に閉鎖系水域(2)の水を取り込み、
    前記硝酸濃度検知手段(6)が前記脱窒循環槽(5)内の水に硝酸を検知したときに、検知している硝酸濃度が0mg/Lになるまで、前記循環手段(11)によって前記脱窒循環槽(5)内の水を前記脱窒塔(9)との間で循環し、
    前記硝酸濃度検知手段(6)が硝酸濃度を検知しないときに、前記押出手段(12)を介して前記脱窒循環槽(5)内の水を閉鎖系水域(2)に戻す、ことを特徴とする請求項2に記載の閉鎖系水域の自動脱窒システム。
  4. 前記制御手段(15)は、予め設定した時間に基づいて、前記水張り手段(10)、循環手段(11)、及び押出手段(12)の作動を自動制御することとしたことを特徴とする請求項2に記載の閉鎖系水域の自動脱窒システム。
  5. 前記循環手段(11)は、前記脱窒循環槽(5)内の水を前記脱窒塔(9)に供給するための、基端が前記脱窒循環槽(5)に連通するとともに先端が前記脱窒塔(9)に連通し、任意の箇所に循環ポンプ(1102)が介在された第1循環用流路(1101)と、前記脱窒塔(9)を通過して脱窒された水を前記脱窒循環槽(5)に戻すための、基端が前記脱窒塔(9)に連通するとともに先端が前記脱窒循環槽(5)に連通した第2の循環用流路(1103)と、を具備し、
    前記水張り手段(10)は、基端が前記閉鎖系水域(2)に連通し、先端が第1の三方弁(14a)を介して前記第1の循環用流路(1101)に連結した水張り用流路(1001)を具備し、
    前記押出手段(12)は、先端が前記閉鎖系水域(2)に連通し、基端が第2の三方弁(14b)を介して前記第2の循環用流路(1103)に連結した押出用流路(1201)を具備し、
    前記脱窒循環槽(5)内に閉鎖系水域の水を取り込むときは、前記第1の三方弁(14a)及び第2の三方弁(14b)の切り替えにより、第1の循環用流路(1101)による脱窒循環槽(5)と脱窒塔(9)との連通を遮断して前記水張り用流路(1001)と前記第1の循環用流路(1101)により前記閉鎖系水域(2)と脱窒塔(9)を連通し、前記第2の循環用流路(1103)により前記脱窒塔(9)と脱窒循環槽(5)を連通し、水張り用流路(1001)、第1の循環用流路(1101)の一部、脱窒塔(9)、第2の循環用流路(1103)を介して閉鎖系水域(2)内の水を脱窒循環槽(5)に取り込み、
    前記脱窒循環槽(5)内の水を循環させるときは、前記第1の三方弁(14a)及び第2の三方弁(14b)の切り替えにより、前記第1の循環用流路(1101)によって前記脱窒循環槽(5)と脱窒塔(9)を連通し、前記第2の循環用流路(1103)によって前記脱窒塔(9)と脱窒循環槽(5)を連通し、第1の循環用流路(1101)、脱窒塔(9)、第2の循環用流路(1103)を介して脱窒循環槽(5)内の水を循環し、
    前記脱窒循環槽(5)内の水を閉鎖系水域(2)に戻すときには、前記第1の三方弁(14a)及び第2の三方弁(14b)の切り替えにより、前記第1の循環用流路(1101)によって前記脱窒循環槽(5)と脱窒塔(9)を連通し、
    第2の循環用流路(1103)による脱窒塔(9)と脱窒循環槽(5)との連通を遮断して前記第2の循環用流路(1103)と前記押出用流路(1201)とにより前記脱窒塔(9)と閉鎖系水域(2)を連通し、第1の循環用流路(1101)、脱窒塔(9)、第2の循環用流路(1103)の一部、及び押出用流路(1201)を介して前記脱窒循環槽(5)内の水を閉鎖系水域(2)に押し出す、ことを特徴とする請求項1乃至請求項4のいずれかに記載の閉鎖系水域の自動脱窒システム。
  6. 前記脱窒塔(9)に充填した生分解ポリマー(903)が、植物油由来のポリマーであることを特徴とする請求項1乃至請求項5のいずれかに記載の閉鎖系水域の自動脱窒システム。
JP2008258846A 2008-10-03 2008-10-03 閉鎖系水域の自動脱窒システム Expired - Fee Related JP4602446B2 (ja)

Priority Applications (1)

Application Number Priority Date Filing Date Title
JP2008258846A JP4602446B2 (ja) 2008-10-03 2008-10-03 閉鎖系水域の自動脱窒システム

Applications Claiming Priority (1)

Application Number Priority Date Filing Date Title
JP2008258846A JP4602446B2 (ja) 2008-10-03 2008-10-03 閉鎖系水域の自動脱窒システム

Publications (2)

Publication Number Publication Date
JP2010088307A true JP2010088307A (ja) 2010-04-22
JP4602446B2 JP4602446B2 (ja) 2010-12-22

Family

ID=42251689

Family Applications (1)

Application Number Title Priority Date Filing Date
JP2008258846A Expired - Fee Related JP4602446B2 (ja) 2008-10-03 2008-10-03 閉鎖系水域の自動脱窒システム

Country Status (1)

Country Link
JP (1) JP4602446B2 (ja)

Cited By (7)

* Cited by examiner, † Cited by third party
Publication number Priority date Publication date Assignee Title
JP4768886B1 (ja) * 2011-03-02 2011-09-07 株式会社加藤建設 水中の窒素除去方法
JP2012075384A (ja) * 2010-10-01 2012-04-19 Taiyo Suiken:Kk 閉鎖系水域の自動脱窒システム
CN103250672A (zh) * 2012-02-17 2013-08-21 罗国勤 全自动定时换水器
CN105875477A (zh) * 2016-05-31 2016-08-24 武汉百瑞生物技术有限公司 循环水养殖系统及基于该系统的杂交鳢早期鱼苗培育方法
JPWO2014184948A1 (ja) * 2013-05-17 2017-02-23 俊介 高田 水の浄化装置及び方法
WO2019112044A1 (ja) 2017-12-07 2019-06-13 三菱ケミカル株式会社 水の浄化方法、水の浄化装置及び低水温下における該浄化装置の使用
WO2020004635A1 (ja) 2018-06-29 2020-01-02 三菱ケミカル株式会社 水浄化装置、養殖水浄化システム、水の浄化方法及び水生生物の生産方法

Citations (4)

* Cited by examiner, † Cited by third party
Publication number Priority date Publication date Assignee Title
JPH11123034A (ja) * 1997-10-22 1999-05-11 Mitsubishi Heavy Ind Ltd 水棲生物飼育装置
JPH11196708A (ja) * 1998-01-20 1999-07-27 Hitachi Metals Ltd アワビ飼育用水処理システム
JP2002159245A (ja) * 2000-11-27 2002-06-04 Matsushita Electric Works Ltd 魚介類飼育装置の浄化装置
JP2003158953A (ja) * 2001-11-27 2003-06-03 Rikujo Yoshoku Kogaku Kenkyusho:Kk 循環式養殖装置

Patent Citations (4)

* Cited by examiner, † Cited by third party
Publication number Priority date Publication date Assignee Title
JPH11123034A (ja) * 1997-10-22 1999-05-11 Mitsubishi Heavy Ind Ltd 水棲生物飼育装置
JPH11196708A (ja) * 1998-01-20 1999-07-27 Hitachi Metals Ltd アワビ飼育用水処理システム
JP2002159245A (ja) * 2000-11-27 2002-06-04 Matsushita Electric Works Ltd 魚介類飼育装置の浄化装置
JP2003158953A (ja) * 2001-11-27 2003-06-03 Rikujo Yoshoku Kogaku Kenkyusho:Kk 循環式養殖装置

Cited By (8)

* Cited by examiner, † Cited by third party
Publication number Priority date Publication date Assignee Title
JP2012075384A (ja) * 2010-10-01 2012-04-19 Taiyo Suiken:Kk 閉鎖系水域の自動脱窒システム
JP4768886B1 (ja) * 2011-03-02 2011-09-07 株式会社加藤建設 水中の窒素除去方法
CN103250672A (zh) * 2012-02-17 2013-08-21 罗国勤 全自动定时换水器
JPWO2014184948A1 (ja) * 2013-05-17 2017-02-23 俊介 高田 水の浄化装置及び方法
CN105875477A (zh) * 2016-05-31 2016-08-24 武汉百瑞生物技术有限公司 循环水养殖系统及基于该系统的杂交鳢早期鱼苗培育方法
WO2019112044A1 (ja) 2017-12-07 2019-06-13 三菱ケミカル株式会社 水の浄化方法、水の浄化装置及び低水温下における該浄化装置の使用
US11185059B2 (en) 2017-12-07 2021-11-30 Mitsubishi Chemical Corporation Purification method for water, purification device for water, and use of said purification device at low water temperature
WO2020004635A1 (ja) 2018-06-29 2020-01-02 三菱ケミカル株式会社 水浄化装置、養殖水浄化システム、水の浄化方法及び水生生物の生産方法

Also Published As

Publication number Publication date
JP4602446B2 (ja) 2010-12-22

Similar Documents

Publication Publication Date Title
JP4602446B2 (ja) 閉鎖系水域の自動脱窒システム
JP6480015B2 (ja) 脱窒装置および水生生物飼育システム
US11040901B2 (en) Removing nitrate from water
JP6129709B2 (ja) 水槽の水浄化装置
KR102133663B1 (ko) 밸러스트 수 처리 장치 및 밸러스트 수 처리 방법
KR102213378B1 (ko) 아쿠아포닉스 장치
JP6742128B2 (ja) オゾン処理と生物ろ過処理とを併存させた閉鎖循環型陸上養殖システムとその制御方法
JP5935076B2 (ja) 水処理装置
KR20230115379A (ko) 어류 밀도에 따른 가변형 순환여과식 양식 시스템
JP2017079628A (ja) 飼育水中の溶存酸素濃度を制御する方法
JP2015192627A (ja) 閉鎖型養殖システム及び養殖水の浄化方法
JP3887329B2 (ja) 魚介類の養殖装置
Uemoto et al. Biological filter capable of simultaneous nitrification and denitrification for Aquatic Habitat in International Space Station
JP5198532B2 (ja) 閉鎖系水域の自動脱窒システム
JP2008200637A (ja) 水処理施設、水処理設備、並びに水処理方法
US20180220628A1 (en) Closed rearing method and closed rearing apparatus
JP2017056447A (ja) 水処理システムおよび方法
JP2013063036A (ja) 水棲動物の飼育方法及び硝酸性窒素の除去方法
JP6529706B1 (ja) バラスト水処理方法
JP2635432B2 (ja) 飼育装置
JP7427222B2 (ja) 水生生物収容装置用の水質浄化装置
JP2000197421A (ja) 植物栽培用給液装置及び給液方法
KR20150054116A (ko) 다중 파장을 이용한 수질 개선 장치
JP2025051046A (ja) 養殖排水の処理システム
JP2025135913A (ja) アクアポニックスシステム

Legal Events

Date Code Title Description
A621 Written request for application examination

Free format text: JAPANESE INTERMEDIATE CODE: A621

Effective date: 20100428

A871 Explanation of circumstances concerning accelerated examination

Free format text: JAPANESE INTERMEDIATE CODE: A871

Effective date: 20100428

A975 Report on accelerated examination

Free format text: JAPANESE INTERMEDIATE CODE: A971005

Effective date: 20100524

A131 Notification of reasons for refusal

Free format text: JAPANESE INTERMEDIATE CODE: A131

Effective date: 20100715

A521 Request for written amendment filed

Free format text: JAPANESE INTERMEDIATE CODE: A523

Effective date: 20100820

TRDD Decision of grant or rejection written
A01 Written decision to grant a patent or to grant a registration (utility model)

Free format text: JAPANESE INTERMEDIATE CODE: A01

Effective date: 20100928

A01 Written decision to grant a patent or to grant a registration (utility model)

Free format text: JAPANESE INTERMEDIATE CODE: A01

A61 First payment of annual fees (during grant procedure)

Free format text: JAPANESE INTERMEDIATE CODE: A61

Effective date: 20100929

FPAY Renewal fee payment (event date is renewal date of database)

Free format text: PAYMENT UNTIL: 20131008

Year of fee payment: 3

R150 Certificate of patent or registration of utility model

Ref document number: 4602446

Country of ref document: JP

Free format text: JAPANESE INTERMEDIATE CODE: R150

Free format text: JAPANESE INTERMEDIATE CODE: R150

S531 Written request for registration of change of domicile

Free format text: JAPANESE INTERMEDIATE CODE: R313532

FPAY Renewal fee payment (event date is renewal date of database)

Free format text: PAYMENT UNTIL: 20131008

Year of fee payment: 3

R350 Written notification of registration of transfer

Free format text: JAPANESE INTERMEDIATE CODE: R350

R250 Receipt of annual fees

Free format text: JAPANESE INTERMEDIATE CODE: R250

S111 Request for change of ownership or part of ownership

Free format text: JAPANESE INTERMEDIATE CODE: R313113

S531 Written request for registration of change of domicile

Free format text: JAPANESE INTERMEDIATE CODE: R313531

R350 Written notification of registration of transfer

Free format text: JAPANESE INTERMEDIATE CODE: R350

R250 Receipt of annual fees

Free format text: JAPANESE INTERMEDIATE CODE: R250

R250 Receipt of annual fees

Free format text: JAPANESE INTERMEDIATE CODE: R250

LAPS Cancellation because of no payment of annual fees