JP2010088198A - ステッピングモータ及びレンズ駆動装置 - Google Patents
ステッピングモータ及びレンズ駆動装置 Download PDFInfo
- Publication number
- JP2010088198A JP2010088198A JP2008253868A JP2008253868A JP2010088198A JP 2010088198 A JP2010088198 A JP 2010088198A JP 2008253868 A JP2008253868 A JP 2008253868A JP 2008253868 A JP2008253868 A JP 2008253868A JP 2010088198 A JP2010088198 A JP 2010088198A
- Authority
- JP
- Japan
- Prior art keywords
- terminal
- coil
- stepping motor
- coil bobbin
- bobbin
- Prior art date
- Legal status (The legal status is an assumption and is not a legal conclusion. Google has not performed a legal analysis and makes no representation as to the accuracy of the status listed.)
- Pending
Links
- 229920006015 heat resistant resin Polymers 0.000 claims abstract description 12
- 230000002093 peripheral effect Effects 0.000 claims description 5
- 238000004804 winding Methods 0.000 abstract description 11
- 238000005476 soldering Methods 0.000 description 12
- 230000017525 heat dissipation Effects 0.000 description 6
- 230000003287 optical effect Effects 0.000 description 6
- RYGMFSIKBFXOCR-UHFFFAOYSA-N Copper Chemical compound [Cu] RYGMFSIKBFXOCR-UHFFFAOYSA-N 0.000 description 5
- 229910000679 solder Inorganic materials 0.000 description 5
- 239000000758 substrate Substances 0.000 description 5
- 239000002184 metal Substances 0.000 description 4
- 229910052751 metal Inorganic materials 0.000 description 4
- 229920005989 resin Polymers 0.000 description 4
- 239000011347 resin Substances 0.000 description 4
- 239000004020 conductor Substances 0.000 description 3
- 230000000694 effects Effects 0.000 description 3
- 230000008878 coupling Effects 0.000 description 2
- 238000010168 coupling process Methods 0.000 description 2
- 238000005859 coupling reaction Methods 0.000 description 2
- 238000012986 modification Methods 0.000 description 2
- 230000004048 modification Effects 0.000 description 2
- 238000007747 plating Methods 0.000 description 2
- 229920000106 Liquid crystal polymer Polymers 0.000 description 1
- 239000004977 Liquid-crystal polymers (LCPs) Substances 0.000 description 1
- 238000006243 chemical reaction Methods 0.000 description 1
- 238000009434 installation Methods 0.000 description 1
- 238000009413 insulation Methods 0.000 description 1
- 238000002844 melting Methods 0.000 description 1
- 230000008018 melting Effects 0.000 description 1
- 238000000034 method Methods 0.000 description 1
- 230000008569 process Effects 0.000 description 1
- 230000003014 reinforcing effect Effects 0.000 description 1
- 230000004044 response Effects 0.000 description 1
- 229910001220 stainless steel Inorganic materials 0.000 description 1
- 239000010935 stainless steel Substances 0.000 description 1
- 229920003002 synthetic resin Polymers 0.000 description 1
- 239000000057 synthetic resin Substances 0.000 description 1
- 229920005992 thermoplastic resin Polymers 0.000 description 1
Images
Landscapes
- Lens Barrels (AREA)
- Insulation, Fastening Of Motor, Generator Windings (AREA)
Abstract
【課題】コイルの端末に対する接続不良を防止し、コイルボビンの小型化とともに、ステッピングモータの組立て性を高めることにある。
【解決手段】ボビン本体(巻芯部4)の端面にフランジ部(6、8)を設け、このフランジ部に端子台(10)を設け、この端子台に突部(14、16)と凹部(18、20)とを設け、この突部にフランジ部の周縁方向に突出させた端子ピン(22)を備え、端子ピンにコイル(40)の端末(42)を取り付けるコイルボビン(2)が耐熱性樹脂で形成されている。端子台側のフランジ部を対向させ、各コイルボビンの突部と凹部とを噛み合わせて各コイルボビンの端子ピンを千鳥状又は直線状に配置させてコイルボビン対(28)とし、このコイルボビン対の突部と凹部との間に空間部(24)を形成している。
【選択図】図1
【解決手段】ボビン本体(巻芯部4)の端面にフランジ部(6、8)を設け、このフランジ部に端子台(10)を設け、この端子台に突部(14、16)と凹部(18、20)とを設け、この突部にフランジ部の周縁方向に突出させた端子ピン(22)を備え、端子ピンにコイル(40)の端末(42)を取り付けるコイルボビン(2)が耐熱性樹脂で形成されている。端子台側のフランジ部を対向させ、各コイルボビンの突部と凹部とを噛み合わせて各コイルボビンの端子ピンを千鳥状又は直線状に配置させてコイルボビン対(28)とし、このコイルボビン対の突部と凹部との間に空間部(24)を形成している。
【選択図】図1
Description
本発明は、コイル端末の外部接続に用いる樹脂ピンを一体に備えるコイルボビンを用いたステッピングモータ及びレンズ駆動装置に関する。
回転を直線移動に変換する回転・移動変換装置として、モータ回転によってレンズホルダー等を水平方向に移動させるレンズ駆動装置には、ステッピングモータが用いられている。
このステッピングモータのコイルボビンに関し、特許文献1には、コイルボビンのフランジに巻線の端部を巻き付ける端子ピンを設け、この端子ピンがボビン本体とともに耐熱性樹脂により一体成形され、端子ピンの根元部分に溝を位置決め手段として設け、この溝に巻線の端部を嵌め込んで巻線の端部を案内することが開示されている。
また、特許文献2には、ヨークの回りに樹脂性の端子ピンとともにコイルピンを一体成形し、樹脂性端子ピンに金属メッキを施し、コイルに巻く導線の端を巻き付け、半田付けすることにより、金属端子ピンと同じ効果を持たせることが開示されている。
また、特許文献3には、円筒状のコイル巻芯部と、このコイル巻芯部の両端部にそれぞれそ径方向外方に張り出した2つの鍔部とを備え、コイル巻芯部に巻線が巻回され、一方の鍔部には周縁部外方に突出して端子台が一体的に設けられ、この端子台に突設された端子ピンの外周には巻線が入り込み得る溝部が形成され、端子ピンに巻線の端部にからげられることが開示されている。
また、特許文献4には、18.6kg/cm2 荷重下における熱変形温度が250℃以上又は融点が280℃以上の耐熱性の熱可塑性樹脂で形成されてなる端子付きのコイルボビンが開示されている。
また、特許文献5には、回転軸の外周に軸方向に1対の固定子ユニットを併設し、各固定子ユニットの内部にそれぞれのボビンに巻回された導線を収納し、これら導線の両端末部を、前記固定子ユニットの端末処理部に接続してなるステッピングモータにおいて、各端末処理部を円周方向に1列化したことが開示されている。
特開平6−315238号公報
特開平4−244757号公報
特開平9−224342号公報
特開平3−95906号公報
実開平2−83681号公報
ところで、ステッピングモータのコイルボビンでは、ボビン本体に巻回したコイルの末端を外部への銅線と接続するために、ボビン本体に設けた端子台の金属製の端子ピンや樹脂性の端子ピン(特許文献2)にコイルの末端を絡げた後に半田付けして銅線と接続している。
ステッピングモータの小型化、薄型化の要請により、金属性の端子ピンの形成が困難であり、端子ピンの抜け落ちが発生して接続不良が生じていた。合成樹脂で形成する端子ピン(特許文献2)では半田付け性向上のための金属メッキが必要であった。
小型化や薄型化により、端子ピン間の間隔が狭くなると、半田付け時に半田ブリッジを生じ、短絡不良という不都合もある。
このような課題について、既述の特許文献1〜5にはその開示や、解決手段についての開示や示唆はない。
そこで、本発明の目的は、コイルの端末に対する接続不良を防止し、コイルボビンの小型化とともに、ステッピングモータの組立て性を高めることにある。
また、本発明の他の目的は、上記ステッピングモータを用いたレンズ駆動装置の提供にある。
本発明のステッピングモータ及びレンズ駆動装置の構成は、以下の通りである。
上記目的を達成するため、本発明のステッピングモータは、コイルを巻回するボビン本体の端面にフランジ部を設け、このフランジ部の周縁方向に突出する端子台を設け、この端子台に前記ボビン本体の幅方向に突部と凹部とを設け、この突部に前記フランジ部の周縁方向に突出させた端子ピンを備え、この端子ピンに前記コイルの端末を取り付けるコイルボビンが耐熱性樹脂で形成されてなるものである。
上記目的を達成するには、上記ステッピングモータにおいて、前記コイルの前記端子台側のフランジ部を対向させ、各コイルボビンの前記突部と前記凹部とを噛み合わせて各コイルボビンの端子ピンを千鳥状又は直線状に配置させてコイルボビン対とし、このコイルボビン対の前記突部と前記凹部との間に空間部を形成してもよい。斯かる構成によっても、上記目的を達成できる。
上記目的を達成するため、本発明のレンズ駆動装置は、上記ステッピングモータを駆動手段に用いたことである。斯かる構成によれば、上記目的を達成できる。
本発明によれば、次のような効果が得られる。
(1) 端子ピンを耐熱性樹脂でボビン本体と一体成形されているため、半田付け時の熱でピンが脱落することがないため、外部銅線との接続が確実に行われる。
(2) 端子台のボビン本体の幅方向に突部と凹部とを設け、端子ピンの間隔を広げるとともに、端子ピンの配置を千鳥状としたことから、モータの小型にもかかわらず端子ピン間の間隔を大きく取ることができることから、半田付け時における端子ピン間の短絡を防止することができる。
(3) ボビンの小型化、薄型化が可能になり、モータを小型化することができる。
(4) コイルボビンの噛み合わせ部の放熱性が高められる。
(5) このようなステッピングモータを用いたレンズ駆動装置によれば、ステッピングモータの上記効果と相俟ってレンズ駆動装置の小型化、組立て性及び放熱性の向上が図られる。
そして、本発明の他の目的、特徴及び利点は、添付図面及び各実施の形態を参照することにより、一層明確になるであろう。
〔第1の実施の形態〕
第1の実施の形態について、図1及び図2を参照して説明する。図1は、第1の実施の形態に係るコイルボビンを示す斜視図、図2は、コイルボビン対である。図1及び図2に示す構成は一例であって、斯かる構成に本発明が限定されるものではない。
このコイルボビン2は、ステッピングモータのステーターコイルを巻回し、そのコイルを支持する支持手段であって、図1に示すように、所定幅の巻芯部4と、この巻芯部4の両端に所定幅の環状体を成すフランジ部6、8とを備え、一方のフランジ部6には端子台10が形成されている。これら巻芯部4、フランジ部6、8及び端子台10は耐熱性樹脂によって一体成形された成形体である。巻芯部4はコイルボビン2のボビン本体の一例である。
端子台10は、フランジ部6と同一の肉厚で形成された支持部12を備え、この支持部12の外面側に長方形状で同一の突出長aを持つ矩形の突部14、16と、矩形の凹部18、20とを備えている。各突部14、16の上面は支持部12と同様に平坦面に形成されるとともに、各突部14、16の上面には角柱状の端子ピン22が形成されている。これら突部14、16及び端子ピン22もフランジ部6、8とともに耐熱性樹脂で一体成形された成形体であって、端子ピン22は樹脂ピンの一例である。コイルボビンを構成する耐熱性樹脂は、いわゆる液晶ポリマーを用いればよく、例えば、スミヤスーパー(住友化学製)等が耐熱性及び剛性に優れることから好適である。
突部14、16は、他方のコイルボビン2(図2)の凹部18、20とを噛み合わせるための手段であるとともに、端子ピン22の設置部分を補強する手段である。凹部18は、端子台10の幅方向の長さを確保し、中心軸Oを中心に端子台10の幅を左右対象にするとともに、他方のコイルボビン2(図2)の突部16を入れる収容部を構成している。また、凹部20は、突部14と突部16との間に介在しており、突部14側の端子ピン22と、突部16側の端子ピン22との間隔を広げ、絶縁間隔及び半田付け処理の容易性、半田ブリッジの発生を防止する手段である。
そこで、このコイルボビン2の巻芯部4の中心軸をOとすれば、突部14の突部16との対向面部26は、中心軸Oに直交する面部を構成している。また、突部14、16は同一の幅bであり、凹部18、20は同一の幅cであって、これら幅b、cは、幅cが幅bより僅かに大きく設定されている。即ち、b≒cで且つb<cである。
このコイルボビン2は、図2に示すように、中心軸Oを合わせ、端子台10側のフランジ部6を対向させて配置すると、互いの突部14、16と凹部18、20とを噛み合わせることができ、両者の合体によりコイルボビン対28が構成される。このコイルボビン対28では、両者の噛み合い状態に応じて4本の端子ピン22を直線状に配置することができるが、この実施の形態では、突部14、16の端面と凹部18、20の内面との間に間隔dが設定されている。斯かる構成とすれば、各コイルボビン2の各端子ピン22が千鳥状に配置され、同一幅の端子台10が平行に対向配置される。
この間隔dを形成したことにより、突部14、16の端面と凹部18、20の内面とで包囲された角筒状の空間部24が形成され、この空間部24が空気の通流を促し、放熱空間を構成する。
このようにコイルボビン2が耐熱性樹脂の成形体であって、端子ピン22も耐熱性樹脂で構成すれば、半田付け時の熱でピンの脱落という不都合を防止できる。
端子ピン22は千鳥状配置としたことから、ピン間隔を大きく取ることができ、コイルボビン対28の全長を短縮でき、小型化、薄型化が図ることができる。
コイルボビン2の接合側に間隔dによって空間部24が形成され、この空間部24が空気の通流が促され、放熱機能が高められる。
また、突部14、16と凹部18、20との噛み合せ構造が得られているので、コイルボビン2の結合の軽量化とともに強固に結合され、コイルボビン対28が剛性の高い結合構造となる。
次に、ステッピングモータについて、図3、図4、図5及び図6を参照する。図3は、ステッピングモータを示す斜視図、図4は、ステッピングモータのステーターコイル及び内ヨークを示す斜視図、図5は、ステッピングモータ及びフレキシブル基板を示す図、図6は、フレキシブル基板が接続されたステッピングモータを示す図である。図3、図4、図5及び図6は一例であって、斯かる構成に本発明が限定されるものではない。図3、図4、図5及び図6において、図1及び図2と同一部分には同一符号を付してある。
このステッピングモータ30は、図3に示すように、1対の外ヨーク32、34を備え、これら外ヨーク32、34の内部に既述のコイルボビン対28を備えている。外ヨーク32、34の端面には回転軸36が突出している。また、外ヨーク32、34の側面部にはその一部を切り欠いて窓部38が形成され、この窓部38には各コイルボビン2の端子台10が突出している。
各コイルボビン28には、図4に示すように、コイル40が巻回されており、その端末42が端子台10側に引き出されて端子台10の側面でクロスさせた後、各端子ピン22に巻回されて保持されている。端子ピン22に巻回された端末42は半田44をモールディングし、外部接続端子部46が形成されている。
また、各コイルボビン2の内部空間48には内ヨーク50が設置される。各内ヨーク50は内部空間48の内部に保持させる複数の極歯52と、円環状のフランジ部54とを備えている。極歯52は櫛歯状で環状に配置され、各フランジ部54は併設されてコイルボビン対28を構成するコイルボビン2のフランジ部6の間に設置され、各フランジ部6に把持される。
そして、このステッピングモータ30の側面に突出させ且つコイル40の端末42を取り付けた各端子ピン22は、図5の(A)に示すように、千鳥状に配置されている。これらが外部接続端子部46を構成することは既述の通りである。これに対し、フレキシブル基板56には、図5の(B)に示すように、千鳥状に配置された各端子ピン22に対応する複数のスルーホール58が形成され、このスルーホール58の周囲には配線導体60の半田付けランド62が形成されている。
そして、ステッピングモータ30は、各コイル40の端末42が巻き付けられた端子ピン22を対応する位置のスルーホール58に貫通させ、図6に示すように、半田付けランド62と端末42とを半田付け64によって電気的に接続することができる。これにより、フレキシブル基板56にコイルボビン対28の各コイル40が電気的に接続されるとともに、フレキシブル基板56とステッピングモータ30とが一体化される。
上記実施の形態から明らかなように、コイルボビン2を用いたステッピングモータ30では、コイル40の端末42を端子台10に形成した突部14、16に絡げて巻回した同一形状のコイルボビン2を対向させて組み合わせ千鳥状配置の外部接続端子部46を有したコイルボビン対28及び内ヨーク50を一体に備えるヨーク構造を実現でき、フレキシブル基板56の他、プリント配線基板の配線パターンに設けられたスルーホール58に外部接続端子部46を挿通した後に半田付けすることができ、ステッピングモータ30の組立て性が高められる。
上記実施の形態のステッピングモータ30の特徴事項や利点を列挙すれば次の通りである。
(1) 樹脂で形成された端子ピン22は耐熱性樹脂でボビン本体と一体成形されているため、半田付け時の熱でピンが脱落することがなく、外部銅線との接続を確実に行うことができる。
(2) 端子台10のボビン本体の幅方向に突部14、16と凹部18、20とを設け、端子ピン22の間隔を広げるとともに、端子ピン22の配置を千鳥状としたことから、ステッピングモータ30の小型にもかかわらず端子ピン間の間隔を大きく取ることができ、半田付け時における端子ピン間の短絡を防止することができる。
(3) ボビンの小型化、薄型化が可能になり、ステッピングモータ30の小型化を図ることができる。
(4) コイルボビンの噛み合せ部分に空間部24を備えているので、放熱性が高められる。
〔第2の実施の形態〕
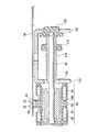
第2の実施の形態について、図7及び図8を参照する。図7は、第2の実施の形態に係るステッピングモータが搭載されたレンズ駆動装置を示す斜視図、図8は、モータ駆動部を示す断面図である。図7及び図8に示す構成は一例であって、斯かる構成に本発明が限定されるものではない。
このレンズ駆動装置102は、光ディスク装置に搭載されて光ピックアップを駆動する駆動手段であって、既述のステッピングモータ30を駆動手段に備えている。このレンズ駆動装置102は、図7に示すように、ベース104と、モータ駆動部106と、ナットホルダー108と、レンズホルダーユニット110とを備えている。
ベース104は、レンズ駆動装置102の装置フレームの一例であって、図示しない光ディスク装置等の光ピックアップ部に固定される。
モータ駆動部106は、回転駆動源である例えば、モータの回転を軸方向の直線移動に変換する手段の一例であって、モータにはステッピングモータ30が設置され、このステッピングモータ30の回転軸36上に設置されたリードスクリュー116と、このリードスクリュー116に取り付けられたナット118とを備えている。ナット118は、リードスクリュー116に螺合している。ステッピングモータ30の回転軸36は軸受フレーム部120にある立壁部122を通して軸受部124で支持されている。
ナットホルダー108は、ナット118とレンズホルダーユニット110とを連結する連結部材の一例であって、ナット118の移動をレンズホルダーユニット110に伝達する。
レンズホルダーユニット110はナット118の移動を受けて摺動させる摺動体の一例であるとともにレンズ126の保持手段であって、ガイドシャフト128、130に摺動可能に設置されている。レンズ126は、レンズ固定部に固定されている。ガイドシャフト128、130は、レンズホルダーユニット110を回転軸36の軸方向に摺動させるため、リードスクリュー116と平行に設置されている。ベース104には軸固定部132、134、136、138が形成され、軸固定部132、134にガイドシャフト128、軸固定部136、138にガイドシャフト130が支持されている。ガイドシャフト130は、ガイドシャフト128より長く、レンズホルダーユニット110と軸固定部138との間に弾性体として例えば、コイルバネ140が圧縮状態で設置されている。圧縮状態にあるコイルバネ140の復元力がレンズホルダーユニット110と軸固定部138との間に付与されている。この場合、復元力と同方向に張力を作用させる構成としてもよい。
モータ駆動部106は、図8に示すように、ステッピングモータ30が、外ヨーク32、34と、内ヨーク50と、回転子146と、回転軸36とを備えている。外ヨーク32、34は軸受フレーム部120の立壁部122に取り付けられ、内ヨーク50はコイルボビン対28とともに外ヨーク32、34に固定されている。回転子146が取り付けられた回転軸36が立壁部122の貫通孔148を貫通させ、対向側の軸受部124に支持されている。
回転軸36には同径のシャフトが用いられ、軸受部124と立壁部122とに跨がる部分にリードスクリュー116が取り付けられている。このリードスクリュー116は、回転軸36と同様に、ステンレス等の金属で形成され、リードスクリュー116の始端部側は、立壁部122の貫通孔148に挿入され、その中間部まで延長されている。このリードスクリュー116には既述のナット118が螺合されている。
斯かる構成によれば、既述のステッピングモータ30を用いているので、ステッピングモータ30の特徴と相俟ってレンズ駆動装置102の小型化、組立て性及び放熱性の向上が図られる。
以上説明したように、本発明の最も好ましい実施の形態等について説明したが、本発明は、上記記載に限定されるものではなく、特許請求の範囲に記載され、又は発明を実施するための最良の形態に開示された発明の要旨に基づき、当業者において様々な変形や変更が可能であることは勿論であり、斯かる変形や変更が、本発明の範囲に含まれることは言うまでもない。
本発明は、コイルの端末に対する接続不良を防止し、コイルボビンの小型化とともに、ステッピングモータの組立て性を高めることができ、端子ピンを耐熱性樹脂でボビン本体と一体成形しているため、半田付け時の熱でピンが脱落することがなく、外部銅線との接続が確実に行われ、ステッピングモータの小型化や光ディスク装置等の光ピックアップを駆動するレンズ駆動装置の小型化に寄与する等、有用である。
2 コイルボビン
4 巻芯部
6、8 フランジ部
10 端子台
12 支持部
14、16 突部
18、20 凹部
22 端子ピン
24 空間部
26 対向面部
28 コイルボビン対
30 ステッピングモータ
32、34 外ヨーク
36 回転軸
38 窓部
40 コイル
42 端末
44 半田
46 外部接続端子部
48 内部空間
50 内ヨーク
52 極歯
54 フランジ部
56 フレキシブル基板
58 スルーホール
60 配線導体
62 半田付けランド
64 半田付け
102 レンズ駆動装置
104 ベース
106 モータ駆動部
108 ナットホルダー
110 レンズホルダーユニット
116 リードスクリュー
118 ナット
120 軸受フレーム部
122 立壁部
124 軸受部
126 レンズ
128、130 ガイドシャフト
132、134 軸固定部
136、138 軸固定部
140 コイルバネ
146 回転子
148 貫通孔
4 巻芯部
6、8 フランジ部
10 端子台
12 支持部
14、16 突部
18、20 凹部
22 端子ピン
24 空間部
26 対向面部
28 コイルボビン対
30 ステッピングモータ
32、34 外ヨーク
36 回転軸
38 窓部
40 コイル
42 端末
44 半田
46 外部接続端子部
48 内部空間
50 内ヨーク
52 極歯
54 フランジ部
56 フレキシブル基板
58 スルーホール
60 配線導体
62 半田付けランド
64 半田付け
102 レンズ駆動装置
104 ベース
106 モータ駆動部
108 ナットホルダー
110 レンズホルダーユニット
116 リードスクリュー
118 ナット
120 軸受フレーム部
122 立壁部
124 軸受部
126 レンズ
128、130 ガイドシャフト
132、134 軸固定部
136、138 軸固定部
140 コイルバネ
146 回転子
148 貫通孔
Claims (3)
- コイルを巻回するボビン本体の端面にフランジ部を設け、このフランジ部の周縁方向に突出する端子台を設け、この端子台に前記ボビン本体の幅方向に突部と凹部とを設け、この突部に前記フランジ部の周縁方向に突出させた端子ピンを備え、この端子ピンに前記コイルの端末を取り付けるコイルボビンが耐熱性樹脂で形成されてなることを特徴とするステッピングモータ。
- 前記コイルの前記端子台側のフランジ部を対向させ、各コイルボビンの前記突部と前記凹部とを噛み合わせて各コイルボビンの端子ピンを千鳥状又は直線状に配置させてコイルボビン対とし、このコイルボビン対の前記突部と前記凹部との間に空間部を形成したことを特徴とする請求項1記載のステッピングモータ。
- 請求項2記載のステッピングモータを駆動手段に用いたことを特徴とするレンズ駆動装置。
Priority Applications (1)
| Application Number | Priority Date | Filing Date | Title |
|---|---|---|---|
| JP2008253868A JP2010088198A (ja) | 2008-09-30 | 2008-09-30 | ステッピングモータ及びレンズ駆動装置 |
Applications Claiming Priority (1)
| Application Number | Priority Date | Filing Date | Title |
|---|---|---|---|
| JP2008253868A JP2010088198A (ja) | 2008-09-30 | 2008-09-30 | ステッピングモータ及びレンズ駆動装置 |
Publications (1)
| Publication Number | Publication Date |
|---|---|
| JP2010088198A true JP2010088198A (ja) | 2010-04-15 |
Family
ID=42251605
Family Applications (1)
| Application Number | Title | Priority Date | Filing Date |
|---|---|---|---|
| JP2008253868A Pending JP2010088198A (ja) | 2008-09-30 | 2008-09-30 | ステッピングモータ及びレンズ駆動装置 |
Country Status (1)
| Country | Link |
|---|---|
| JP (1) | JP2010088198A (ja) |
Cited By (1)
| Publication number | Priority date | Publication date | Assignee | Title |
|---|---|---|---|---|
| JP2012055123A (ja) * | 2010-09-03 | 2012-03-15 | Nihon Densan Seimitsu Kk | コイル装置 |
Citations (5)
| Publication number | Priority date | Publication date | Assignee | Title |
|---|---|---|---|---|
| JPH0265648A (ja) * | 1988-08-30 | 1990-03-06 | Tokyo Electric Co Ltd | Pm形ステッピングモータ |
| JPH0572107U (ja) * | 1991-02-05 | 1993-09-28 | 三菱マテリアル株式会社 | 巻線ボビン |
| JPH065354U (ja) * | 1992-06-18 | 1994-01-21 | ブラザー工業株式会社 | モータにおける端子支持装置 |
| JPH10257747A (ja) * | 1998-03-26 | 1998-09-25 | Seiko Epson Corp | ステッピングモータ |
| JP2006238617A (ja) * | 2005-02-25 | 2006-09-07 | Sanyo Electric Co Ltd | コイル装置 |
-
2008
- 2008-09-30 JP JP2008253868A patent/JP2010088198A/ja active Pending
Patent Citations (5)
| Publication number | Priority date | Publication date | Assignee | Title |
|---|---|---|---|---|
| JPH0265648A (ja) * | 1988-08-30 | 1990-03-06 | Tokyo Electric Co Ltd | Pm形ステッピングモータ |
| JPH0572107U (ja) * | 1991-02-05 | 1993-09-28 | 三菱マテリアル株式会社 | 巻線ボビン |
| JPH065354U (ja) * | 1992-06-18 | 1994-01-21 | ブラザー工業株式会社 | モータにおける端子支持装置 |
| JPH10257747A (ja) * | 1998-03-26 | 1998-09-25 | Seiko Epson Corp | ステッピングモータ |
| JP2006238617A (ja) * | 2005-02-25 | 2006-09-07 | Sanyo Electric Co Ltd | コイル装置 |
Cited By (1)
| Publication number | Priority date | Publication date | Assignee | Title |
|---|---|---|---|---|
| JP2012055123A (ja) * | 2010-09-03 | 2012-03-15 | Nihon Densan Seimitsu Kk | コイル装置 |
Similar Documents
| Publication | Publication Date | Title |
|---|---|---|
| US7990000B2 (en) | Small diameter stepping motor, bobbin used therein and manufacturing method thereof | |
| JP6088762B2 (ja) | ステッピングモータ | |
| JP2015106971A (ja) | 駆動装置 | |
| US20060261684A1 (en) | Stepping motor | |
| TWI410023B (zh) | 步進馬達及電子機器(一) | |
| US7420303B2 (en) | Motor | |
| JP2008199835A (ja) | ステッピングモータ、それを用いた電子機器、及びその製造方法 | |
| US7911094B2 (en) | Stepping motor | |
| KR100412511B1 (ko) | 소형모터 | |
| JP2010088198A (ja) | ステッピングモータ及びレンズ駆動装置 | |
| JP2007147765A (ja) | レンズアクチュエータ | |
| JP5185590B2 (ja) | モータ | |
| JP6343331B2 (ja) | ステッピングモータ | |
| JP7429521B2 (ja) | モータ | |
| KR101113531B1 (ko) | 코일 접속부 및 이를 이용하는 모터 | |
| JP6062335B2 (ja) | ステッピングモータ | |
| JP4592518B2 (ja) | モータ | |
| JP2006078869A (ja) | レンズ駆動装置 | |
| JP6106841B2 (ja) | 電動機 | |
| JP6660210B2 (ja) | モータ | |
| JP2020137311A (ja) | モータ | |
| JP4629100B2 (ja) | ステッピングモータ | |
| JP6890714B2 (ja) | レンズ駆動装置及びカメラモジュール | |
| JP2015033215A (ja) | モータ | |
| KR101774582B1 (ko) | 스텝핑 모터 |
Legal Events
| Date | Code | Title | Description |
|---|---|---|---|
| A621 | Written request for application examination |
Effective date: 20110908 Free format text: JAPANESE INTERMEDIATE CODE: A621 |
|
| A977 | Report on retrieval |
Effective date: 20130116 Free format text: JAPANESE INTERMEDIATE CODE: A971007 |
|
| A131 | Notification of reasons for refusal |
Effective date: 20130122 Free format text: JAPANESE INTERMEDIATE CODE: A131 |
|
| A02 | Decision of refusal |
Free format text: JAPANESE INTERMEDIATE CODE: A02 Effective date: 20130604 |