JP2010087426A - 電子部品実装装置 - Google Patents

電子部品実装装置 Download PDF

Info

Publication number
JP2010087426A
JP2010087426A JP2008257723A JP2008257723A JP2010087426A JP 2010087426 A JP2010087426 A JP 2010087426A JP 2008257723 A JP2008257723 A JP 2008257723A JP 2008257723 A JP2008257723 A JP 2008257723A JP 2010087426 A JP2010087426 A JP 2010087426A
Authority
JP
Japan
Prior art keywords
axis
recognition
jig
mark
electronic component
Prior art date
Legal status (The legal status is an assumption and is not a legal conclusion. Google has not performed a legal analysis and makes no representation as to the accuracy of the status listed.)
Granted
Application number
JP2008257723A
Other languages
English (en)
Other versions
JP5271654B2 (ja
Inventor
Morio Azuma
盛夫 東
Current Assignee (The listed assignees may be inaccurate. Google has not performed a legal analysis and makes no representation or warranty as to the accuracy of the list.)
Juki Corp
Original Assignee
Juki Corp
Priority date (The priority date is an assumption and is not a legal conclusion. Google has not performed a legal analysis and makes no representation as to the accuracy of the date listed.)
Filing date
Publication date
Application filed by Juki Corp filed Critical Juki Corp
Priority to JP2008257723A priority Critical patent/JP5271654B2/ja
Publication of JP2010087426A publication Critical patent/JP2010087426A/ja
Application granted granted Critical
Publication of JP5271654B2 publication Critical patent/JP5271654B2/ja
Active legal-status Critical Current
Anticipated expiration legal-status Critical

Links

Images

Landscapes

  • Supply And Installment Of Electrical Components (AREA)

Abstract

【課題】吸着ノズルに吸着された冶具をθ軸で回転させながら、部品認識カメラで撮像し、θ軸の角度誤差を測定する際、部品認識カメラのレンズディストーションや撮像素子の解像度の制限に拘わらず、測定精度を向上させる。
【解決手段】搭載ヘッドにおいて吸着された測定用冶具の認識用マーク35の少なくとも1つを、下方から視野40の中央付近で撮像し、該認識用マーク35の位置認識を行う。θ軸を回転させながら、複数の角度の位置において行った該位置認識に基づいて、θ軸における角度誤差を測定する。測定用冶具の一部の撮像であるので、測定用冶具の大きさは視野40に入れるための上限がなく、大きくして測定精度を向上できる。又、視野40の中央付近で撮像するので、レンズディストーションの影響がない。
【選択図】図8

Description

本発明は、吸着した電子部品を、X軸及びY軸に鉛直なZ軸の方向の回転軸である、θ軸の任意の角度に回転させて基板へ搭載可能な電子部品実装装置に係り、特に、吸着ノズルに吸着された冶具をθ軸で回転させながら、認識用カメラで撮像し、撮像された画像の画像認識装置による認識結果に基づいて、θ軸の角度誤差の測定精度を向上させることができる電子部品実装装置に関する。
電子部品実装装置では、部品供給装置から電子部品を吸着する搭載ヘッドが、XY軸上に配置され、認識装置や基板へ移動可能になっている。更に、吸着した電子部品を、X軸及びY軸に鉛直なZ軸の方向を回転軸とするθ軸の、任意の角度に回転させて、基板へ搭載可能になっている。
近年、タクトUP(時間あたりの部品搭載点数の増大)が市場より求められており、ヘッドに装着するノズルが増え多ノズル化の傾向があり、更に、搭載ヘッド自体もタクトUPの目的で1マシンあたりのヘッドが増え多ヘッド化の傾向がある。同時に、部品の極小化、接合端子の狭ピッチ化、実装基板の高密度化が進み、部品の実装基板への搭載精度の向上が求められている。
このため、特許文献1では、部品の搭載精度向上における搭載角度精度を向上するための方法が開示されている。この技術では、まず、吸着ノズルの回転軸にタイミングベルトを使用して駆動する機構において、吸着ノズルに、その図7に示されるような冶具33を装着する。又、検出部により、この冶具33を下方から撮像し、その図8に示されるような撮像を得て、冶具33下面の基準穴34の位置から、θ軸の回転角度を検出することができ、更に基準値の回転角度に対する角度ずれを検出することができる。そして、この角度ずれ量を記憶し、部品実装作業時に回転角度ずれを補正している。
特開2002−185197号公報(図7、図8)
しかしながら、冶具33の下方から基準穴34の位置を撮像した画像に基づいて、その回転角度や角度ずれを計測する際、計測精度は、検査部の撮像素子の画素分解能に依存する限界がある。又、冶具33は大きい程、わずかな回転角度の相違でも、これをその外形の回転として把握し易いものの、特許文献1では、冶具33下面の全体を撮像する関係上、該冶具33の大きさには、撮像の視野に入るまでという上限がある。
例えば、検査部視野内に収められる、冶具33の下面の縦横サイズを□8mm(方形形状の一辺の長さが8mm。以下同様)とする。又、検査部の画素分解能を10μmとする。この画素分解能以下は計測不能であるとすれば、計測可能最小角度は0.143度となる。
なお、グレー処理等のソフト処理を実施し、検査部における画素分解能を高め、計測可能最小角度を若干高めることも可能であるが、ここでは説明を単純にするため、このようなソフト処理は実施しないこととする。
更に、撮像した画像に基づいて、その回転角度や角度ずれを計測する際、検査部の撮像におけるレンズディストーション(レンズの歪み)による計測精度の低下の問題がある。特に、このレンズディストーションは、レンズ中心よりもレンズの外側部分がより大きくなる。従って、冶具33を検査部視野内いっぱいで大きくとらえると、基準穴34の位置は、視野の外側となるので、レンズの歪み分により角度の認識精度が悪化することになる。又、レンズディストーションが小さいテレセントリックレンズは、一般的に高価で、レンズサイズも大きくなる。
あるいは、レンズの歪みが少ない検査部視野中央の限られた範囲でとらえるように、冶具33を小さくすると、この場合にも、検査部における計測可能最小角度が悪化することになる。例えば、冶具33の縦横サイズを□4mmと、上記より小さくした場合、検査部の画素分解能は10μmとし、又グレー処理等のソフト処理を実施して画素分解能を高めないとすれば、計測可能最小角度は0.286度となり、冶具33が□8mmの場合に比べて精度が半減することになる。
又、計測精度を向上するために、検査部のレンズ上において冶具33を移動しつつ、複数回撮像し、冶具33の下面を分割認識することも考えられる。しかしながら、この場合、この移動に伴ったXY軸の移動誤差分によって、認識精度が悪化する。又、検査部における認識時間と、冶具の認識位置を移動するための移動時間が余計に掛かり、計測時間が長引くこととなる。
本発明は、前記従来の問題点を解決するためのもので、吸着ノズルに吸着された冶具をθ軸で回転させながら、認識用カメラで撮像し、撮像された画像の画像認識装置による認識結果に基づいて、θ軸の角度誤差を測定する際、認識用カメラのレンズディストーションや撮像素子の解像度の制限に拘わらず、測定精度を向上させることができる電子部品実装装置を提供することを課題とする。
本発明は、部品供給装置から吸着した部品を認識装置や基板へ移動可能な搭載ヘッドが、XY軸上に配置され、吸着した電子部品を、X軸及びY軸に鉛直なZ軸の方向の回転軸である、θ軸の任意の角度に回転させて基板へ搭載可能な電子部品実装装置において、θ軸における複数の角度の位置における角度誤差を測定するための、中心マークを中心とする円周上に複数の認識用マークを配列した測定用冶具と、前記搭載ヘッドにおいて吸着された該測定用冶具の、前記認識用マークの少なくとも1つを、下方から視野中央付近で撮像する認識用カメラと、撮像した画像から、該認識用マークの位置認識を行う画像認識装置と、を備え、θ軸を回転させながら、複数の角度の位置において行った該位置認識に基づいて、θ軸における角度誤差を測定することにより、前記課題を解決したものである。
ここで、測定された角度誤差を補正値として保存しておき、吸着した部品を基板へ実装する際の、θ軸の回転角度を、該補正値に基づいて補正することができる。
なお、本発明において、特に限定されるものではないが、グレー処理等のソフト処理を実施し、検査部における画素分解能を高め、計測可能最小角度を若干高めることも可能である。
本発明によれば、認識用カメラの中心で測定用冶具の認識用マークを認識することが出来るため、認識用カメラのレンズに高価なテレセントリックレンズを使用しなくても測定用冶具の認識結果からレンズディストーションの影響を排除することが出来、計測精度が向上する。更に、検査部の認識用カメラの視野サイズや画素数に影響されることなく、計測精度を大幅に向上することが出来る。又、冶具を検査部で分割認識する必要がないため、分割認識に必要な計測時間や移動時間がないため短時間で補正出来、分割認識時にXY移動する分のXY移動誤差分の計測精度が向上する。
以下、図を用いて本発明の実施の形態を詳細に説明する。
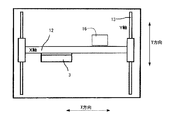
図1は、本発明が適用された実施形態の電子部品実装装置全体の斜視図である。
図示されるように、本実施形態の電子部品実装装置1は、中央部から少し後方で左右方向に延在されている回路基板搬送路2により搬送され、位置決めされた回路基板5上に、図示の下側に配設された部品供給装置11から供給される電子部品7(図4)を吸着ノズル4で吸着し実装する搭載ヘッド3と、該搭載ヘッド3をX方向及びY方向にそれぞれ移動させるX軸移動機構12及びY軸移動機構13を備えている。ここで、Y軸移動機構13は、X軸移動機構12と一体で搭載ヘッド3をY軸方向に移動させる。
又、該搭載ヘッド3は、吸着ノズル4をZ軸方向に昇降可能に移動させるZ軸移動機構を備えていると共に、吸着ノズル4を、ノズル軸(吸着軸)を中心に回転させるθ軸回転機構を備えている。
更に、該搭載ヘッド3には、回路基板5上を上方から撮像する基板認識装置(撮像装置)17が、支持部材を介して取付けられている。この基板認識用カメラ17は、回路基板5上に形成された基板マークや、装着ヘッド部原点基準の原点マークを上方から撮像し、認識するようになっている。この装着ヘッド部原点基準は、電子部品実装装置1において、搭載ヘッド3を移動して基板認識用カメラ17により撮像可能な範囲に設けたものである。
次に、図2は、本実施形態の電子部品実装装置内部におけるXY軸、及び、この上に配置される搭載ヘッドを上方から見た平面図である。
この図において、本実施形態のX軸移動機構12は、部品を吸着する吸着ノズル4を備えた搭載ヘッド3をX軸方向に移動させ、Y軸移動機構13は、X軸移動機構12と一体で搭載ヘッド3をY軸方向に移動させる。又、該搭載ヘッド3は、吸着ノズル4をZ軸方向に昇降可能に移動させるZ軸移動機構を備えていると共に、吸着ノズル4を、ノズル軸(吸着軸)を中心に回転させるθ軸回転機構を備えている。
又、X軸移動機構12及びY軸移動機構13によって移動される搭載ヘッド3の移動範囲には、図示されるように、部品認識用カメラ(認識用カメラ)16が配置されている。この部品認識用カメラ16は、上方に位置決めされた搭載ヘッド3の吸着ノズル4に吸着される電子部品7や、図7や図8により後述する測定用冶具34を下方から撮像し、種々の認識を行う。例えば、該部品認識用カメラ16は、測定用冶具34における認識用マーク35の位置認識を行う。
ここで、図3は、本実施形態の搭載ヘッドの構成を示す平面図である。
本実施形態では、図3に示すように、ヘッドに搭載するノズルを増やして多ノズル化とし、6つの吸着ノズル4を備えている。なお、更に、ヘッド自体もタクト・アップの目的で1マシンあたりの数を増やし、多ヘッド化としてもよい。
なお、搭載ヘッド3のヘッド部分8の図中左側に、又ヘッド部分9の右側には、それぞれ、CCDカメラによる基板認識カメラ17が設けられている。これら基板認識カメラ17は、基板5の基準マークや、装着ヘッド部原点基準の原点マークを上方から撮像し、基板5の搬入位置や、搭載ヘッド3の原点位置を正確に把握し、設定するようになっている。
次に、図4は、本実施形態に用いられる制御関係のハードウェア構成を示すブロック図である。
搭載ヘッド3は、図2に示すX軸モータ21が装着された図示されないX軸機構部により、図1において矢印で示されるX方向の軸移動がなされ、Y軸モータ22がそれぞれ装着された図示されないY軸機構部により、図1において矢印で示されるY方向の軸移動がなされる。
又、該搭載ヘッド3に内蔵される、Z軸モータ23が装着された図示されないZ軸機構部により、搭載ヘッド3は、Z軸方向(高さ方向)に昇降させられる。更に、θ軸モータ24が装着された図示されないθ軸回転機構により、該搭載ヘッド3の吸着ノズル4は、θ軸方向の軸移動がなされ、そのノズル中心軸(吸着軸)を中心にして回転させられる。
又、前述の部品認識用カメラ16及び基板認識用カメラ17は、いずれも、CCDカメラを用いるものであり、画像認識装置27に接続されている。まず、部品認識用カメラ16は、吸着ノズル4に吸着した電子部品7を下方から撮像し、認識するものである。又、基板認識用カメラ17は、回路基板5の基準マークや、装着ヘッド部原点基準の原点マークを上方から撮像し、認識する。
なお、部品認識用カメラ16及び基板認識用カメラ17は、CCDカメラに限定されるものではなく他の形態のカメラ、例えばCMOSカメラを用いることができる。
図4に示すように、これら部品認識用カメラ16及び基板認識用カメラ17は、CPU27c及びメモリ27bを有する画像認識装置27が内蔵する、A/D変換器27aに接続されている。該画像認識装置27は、部品認識用カメラ16によって撮影される電子部品7や、基板認識用カメラ17によって撮像される回路基板5上の基準マークによって、電子部品7の寸法や中心位置、又、θ軸を中心とする回転角を測定するシステムを構成している。該画像認識装置27は、コントローラ20からの指示を、記憶装置25を介して受ける。
このコントローラ20は、CPU、RAM、ROMを内蔵し、キーボード28、マウス29、画面表示装置26が接続されている。該画面表示装置26は、画像認識装置27にも接続されている。又、該コントローラ20は、前述したX軸モータ21、Y軸モータ22、Z軸モータ23、θ軸モータ24、記憶装置25が接続されている。該コントローラ20は、電子部品実装装置の実装動作の全体的な制御を行う。
ここで、前述の画像認識装置27は、部品認識用カメラ16が撮像した画像を認識するもので、部品認識用カメラ16で撮像された画像の画像信号を、A/D変換器27aによりデジタル信号に変換してメモリ27bに格納し、CPU27cが処理することで、吸着ノズル4に吸着した電子部品7の吸着ずれを測定して、回路基板5に搭載時の位置補正を行う。該画像認識装置27では、電子部品7の中心位置と吸着角度を演算し、電子部品7の吸着姿勢、吸着ずれを測定して、このような位置補正を行う。
更に、これら部品認識用カメラ16及び該画像認識装置27を中心として本発明が適用され、該画像認識装置27は、部品認識用カメラ16で撮像された測定用冶具34の画像に基づいて、該測定用冶具34における認識用マーク35の位置認識を行い、θ軸における角度誤差を測定し、部品実装時のθ軸における回転角度の補正データを求める検査部を構成している。測定用冶具34について、又上記の位置認識及び角度誤差の測定については、図7〜図13を用いて後述する。
なお、本発明の認識用カメラには、部品認識用カメラ16を流用し、設備コストを抑えるようにしているが、他の目的のカメラを用いるようにしてもよい。例えば、測定用冶具34の撮像専用のカメラを備えるようにしてもよい。
更には、該画像認識装置27は、基板認識用カメラ17が撮像した画像を認識するもので、基板認識用カメラ17で撮像された画像の画像信号を、A/D変換器27aによりデジタル信号に変換してメモリ27bに格納し、CPU27cが処理することで、回路基板5の基準マークや、装着ヘッド部原点基準の原点マークの位置を正確に把握し、これにより、回路基板5の搬入位置や、搭載ヘッド3の原点位置を正確に把握し、設定するようになっている。
又、画像認識装置27は、以上のように把握された、吸着ノズル4に吸着した電子部品7の吸着姿勢、吸着ずれ、回路基板5の搬入位置や、搭載ヘッド3の原点位置といった処理結果から、電子部品7を回路基板5に搭載する際の搭載位置の補正データを求める。更に、この補正データは、画像認識装置27からコントローラ20へ転送され、該補正データにより、回路基板5に搭載時の電子部品7の位置補正が行われる。
ここで、キーボード28とマウス29は、電子部品7のデータ(部品データと呼ぶ)などのデータを入力するために用いられる。又、記憶装置25は、フラッシュメモリなどで構成され、キーボード28とマウス29により入力された部品データ、及び不図示のホストコンピュータから供給される部品データなどを格納するのに用いられる。表示装置(モニタ)26は、部品データ、演算データ、及び部品認識用カメラ16で撮像した電子部品7の画像などを、その表示面26aに表示する。
次に、図5は、従来からの回転角度測定用の冶具33の一例を下方から見た平面図である。図6は、この冶具33を下方から撮像した画像を示す線図である。
従来は、図5のような外形形状の冶具33の下方から撮像して、その全体の図6に示すような画像を、検査部の視野40において得ていた。従って、その大きさは、検査部の視野に、その全体を入れるための上限がある。
更に、冶具を色々な角度に回転させて検査部で認識するため、検査部の視野が方形であれば、冶具を45°傾けた状態でも、冶具33の全体が視野に収まるように、冶具33の対角長さL1(図5、図6)が検査部の視野の幅L2(図6)や高さL3(図6)より小さい必要があった。
例として、検査部視野サイズL2及びL3が□10mmの場合で、冶具の対角長さL1に対して、上下にも左右にも1mmずつの余裕分が必要だとする。すると、冶具の対角長さL1は、(10mm−1mm×2=8mm)となる。又、冶具33の4辺が同じ長さでその形状が方形だとすると、冶具33の1辺の長さは5.6mmとなる。この場合、冶具の角の移動距離が10μmとなる回転角度は0.205°となる。
次に、図7は、本実施形態に用いられる測定用冶具34を下方から見た平面図である。又、図8は、測定用冶具34を下方から撮像して得た画像を示す線図である。
本実施形態の測定用冶具34は、下方から見ると、中心マークC1を中心とする半径L4の円形の輪郭であり、又、該円形の内側の、中心マークC1を中心とする半径L5の円周上に、認識用マーク35が配列されている。又、このような円形形状の測定用冶具34の、特定の認識用マーク35を含む一部のみを、部品認識用カメラ16により下方から撮像して、図8に示すような画像を、検査部の視野40において得ている。図8における視野40は、図7における破線37の部分を撮像したものである。
本実施形態では、特定の認識用マーク35を含む一部のみを撮像するため、測定用冶具34全体を視野40に入れる必要がなく、従って、測定用冶具34の大きさは、検査部の視野の大きさによる上限がない。測定用冶具34の大きさはノズルで吸着し、回転出来る範囲で大きくすることができる。例えば、認識用マーク35が配列されている円周の半径を25mmとし、認識用マーク35の直径をφ1mmとする。
この場合のマークの移動距離が10μmとなる回転角度は0.023°となる。従って、図5及び図6の従来方式の0.205°と比較すると、約10倍角度誤差が改善されている。
この認識用マーク35は、中心マークC1を中心とする円周上に回転角5°毎に配置され、360°の1回転に対して都合72個配列されている。認識用マーク35の大きさは、小さい方がレンズのディストーションの影響は受けなくなるが、あまり小さいと認識時の画素数が少なくなり認識精度に影響するので、この範囲で、且つ円周上に隣接する隣同士が重ならない大きさを選択する。
ここで、図8の画像では、第1の認識用マーク35の周辺が撮像されている。この図8に示すように、この第1の認識用マーク35の外側には、他の認識用マーク35に対して、この第1の認識用マーク35を識別するための、原点認識マーク36が設けられている。
又、本提案における冶具で角度補正をする場合、冶具に円弧上に配置されたマークの座標が正確でないと、取得される補正角度が影響を受けることになる。円周上に5°刻みでマークが配置されている場合、冶具の中心をノズルで吸着して円周上の第1の認識用マーク35を認識したら、冶具を5°回転して次の認識用マーク35を認識する。さらに5°ずつ回転して各マークを認識していく。各角度における角度補正値は、第1の認識用マーク35の認識座標に対する各マークの認識座標の差分から角度ずれ量を計算して求める。ここで、円周上に配置した各マークの座標が正確でない場合、角度ずれ量の計算結果にそのずれ分が乗ってしまうこととなる。そこで、各マークの座標を予め他の高精度な測定器にて測定しておき、各マークの座標の測定データをマーク認識時の補正角度の算出時に使用することにより、正確な角度補正値が取得可能となる。
なお、図8では、視野40において、第1の認識用マーク35を含め、認識用マーク35を3つおさめているが、視野40における認識用マーク35の数は、これに限定されるものではない。
図9は、本実施形態における全体的な処理を示すフローチャートである。
本実施形態では、まずステップS112において、次に述べる図10に示す、本発明を適用した角度補正値算出処理を行う。この後、ステップS116では、後述する図11に示す吸着搭載処理を行い、吸着ノズル4により電子部品7を回路基板5に実装していく。
図10は、本実施形態における角度補正値算出処理を示すフローチャートである。
この図において、まずステップS120では、冶具を設置場所に設置する。この後、ステップS122では、ヘッドの基板認識用カメラ17で冶具の中心マークC1を認識し、冶具中心を計算する。そして、ステップS124では、冶具中心にノズル回転中心を移動し、ノズルで冶具中心を吸着する。
この後、ステップS126では、吸着ノズル4を部品認識用カメラ16上に移動し、測定用冶具34の撮像しようとする中心マークC1を該部品認識用カメラ16のレンズの焦点に移動し、該中心マークC1を部品認識用カメラ16で認識する。次に、半径L5だけ搭載ヘッド3を移動することで、第1の認識用マーク35を部品認識用カメラ16の視野の中心に捉える。
次に、ステップS128及びステップS130を繰り返し、等間隔のθ軸の角度、即ち本実施形態では5°ずつθ軸を回転させながら、測定用冶具34において円周上に配列されている認識用マーク35を順に、第1の認識用マーク35から順に、72個の認識用マーク35を部品認識カメラで認識し、これら認識用マーク35の座標を算出する。又、第1の認識用マーク35の座標と、各認識用マーク35の座標との差に基づいて、第1の認識用マーク35を基準とした、各認識用マーク35までのθ軸の回転角度や、その角度誤差を計算し、これを誤差データ(補正データ)として記憶する。
図11は、本実施形態における吸着搭載処理を示すフローチャートである。
この図において、ステップS140では、部品吸着角度にθ軸を回転する。又、ステップS142では、電子部品7を吸着ノズル4で吸着する。ステップS144では、部品の認識角度における角度補正値を記憶装置から呼び出す。
ステップS146では、θ軸を認識角度 + 角度補正値に回転し、ステップS148において、部品を部品認識カメラで認識する。ステップS150では、部品の認識結果からノズルに対する部品の角度ずれ量を計算する。ステップS152では、部品の搭載角度における角度補正値を記憶装置から呼び出す。ステップS154では、θ軸を搭載角度 + 角度補正値に回転し、ステップS156において電子部品7を回路基板5に搭載する。
なお、前述の図10では、ステップS122において測定用冶具34の中心マークC1を認識してから、ステップS124において、該中心マークC1の中心が吸着ノズル4の中心C0と一致するように測定用冶具34を吸着している。しかしながら、測定用冶具34吸着時のZ軸方向の動作の傾きその他により、該中心マークC1の中心が吸着ノズル4の中心C0からずれて、測定用冶具34の吸着ずれが生じる可能性がある。
この中心マークC1の中心及び中心C0のずれ量は、部品認識用カメラ16により認識し、測定することができる。又、認識されたずれ量に従って、測定用冶具34の吸着ずれを補正しながら、測定用冶具34を吸着し直すことも考えられる。
図12は、本実施形態において吸着ずれを補正するようにした測定用冶具34の吸着処理を示すフローチャートである。
この図12の吸着処理は、前述の図10のステップS122に代えて実施することができる。これにより、図10の角度補正値算出処理において、測定用冶具34の吸着ずれを補正することができる。
まずステップS172では、搭載ヘッド3を移動させて、定位置に配置されている測定用冶具34を吸着ノズル4に吸着する。
ステップS172では、θ軸の回転軸C0に対する、測定用冶具34の中心マークC1のずれを測定する。このずれ測定では、搭載ヘッド3を移動させて吸着ノズル4で吸着した測定用冶具34を部品認識カメラ16上に位置させてから、測定用冶具34の中心マークC1を下方から撮像し、続いてθ軸を180°回転させ、もう一度撮像する。
図13は、本実施形態の冶具吸着処理における2回にわたる撮像で得られる画像を示す線図である。
例えば、この図において、C2は、1回目で撮像された測定用冶具34の中心マークC1の位置である。又、C3は、2回目で撮像された測定用冶具34の中心マークC1の位置であるとする。そして、C2からC3までの隔たりは、X軸方向では距離LXであり、Y軸方向では距離LYである。
すると、θ軸の回転軸C0に対して、吸着している測定用冶具34の中心マークC1の位置C2は、X軸において(LX/2)だけ、又Y軸において(LY/2)だけずれていることになる。つまり、吸着ノズル4による測定用冶具34の吸着位置が、X軸において(LX/2)だけ、又Y軸において(LY/2)だけずれていることになる。
ステップS174では、搭載ヘッド3を移動させて、吸着ノズル4に吸着している測定用冶具34を一旦定位置に返却する。
この後、ステップS176では、再度、測定用冶具34が配置されている位置に搭載ヘッド3を移動するが、この時、ずれ量の(LX/2)だけX軸方向に差し引くように位置補正し、又ずれ量の(LY/2)だけY軸方向に差し引くように位置補正する。そうして、再度、搭載ヘッド3に測定用冶具34を吸着する。このように位置補正することで、測定用冶具34の中心マークC1の位置がθ軸の回転軸C0に一致するように、測定用冶具34を吸着することができる。
なお、測定用冶具34については、図7に示すものに限定されるものではない。例えば、θ軸における角度誤差を測定すべき角度位置が、45°毎で十分であれば、認識用マーク35は、測定用冶具34において、(360°/45°=8個備えれば十分である。この場合、測定用冶具34の形状は、半径L4の円形である必要はなく、例えば、8つの認識用マーク35の外側を頂点とする、正八角形であってもよい。
本発明が適用された実施形態の電子部品実装装置全体の斜視図 上記実施形態の電子部品実装装置内部におけるXY軸、及び、この上に配置される搭載ヘッドを上方から見た平面図 前記実施形態の搭載ヘッドの構成を示す平面図 前記実施形態に用いられる制御関係のハードウェア構成を示すブロック図 従来からの回転角度測定用の冶具の一例を下方から見た平面図 上記回転角度測定用冶具を下方から撮像した画像を示す線図 前記実施形態に用いられる測定用冶具を下方から見た平面図 上記測定用冶具を下方から撮像して得た画像を示す線図 前記実施形態における全体的な処理を示すフローチャート 前記実施形態における角度補正値算出処理を示すフローチャート 前記実施形態における吸着搭載処理を示すフローチャート 前記実施形態において吸着ずれを補正するようにした測定用冶具の吸着処理を示すフローチャート 前記実施形態の冶具吸着処理における2回にわたる撮像で得られる画像を示す線図
符号の説明
1…電子部品実装装置
3…搭載ヘッド
4…吸着ノズル
5…回路基板
7…電子部品
16…部品認識用カメラ(認識用カメラ)
27…画像認識装置
34…測定用冶具
35…認識用マーク
36…原点認識マーク
C0…θ軸の回転軸
C1…中心マーク
L1…冶具33の対角長さ
L2、L3…検査部視野サイズ
L4…測定用冶具34の半径
L5…測定用冶具34において認識用マーク35が設けられる円周の半径

Claims (2)

  1. 部品供給装置から吸着した部品を認識装置や基板へ移動可能な搭載ヘッドが、XY軸上に配置され、吸着した電子部品を、X軸及びY軸に鉛直なZ軸の方向の回転軸である、θ軸の任意の角度に回転させて基板へ搭載可能な電子部品実装装置において、
    θ軸における複数の角度の位置における角度誤差を測定するための、中心マークを中心とする円周上に複数の認識用マークを配列した測定用冶具と、
    前記搭載ヘッドにおいて吸着された該測定用冶具の、前記認識用マークの少なくとも1つを、下方から視野中央付近で撮像する認識用カメラと、
    撮像した画像から、該認識用マークの位置認識を行う画像認識装置と、を備え、
    θ軸を回転させながら、複数の角度の位置において行った該位置認識に基づいて、θ軸における角度誤差を測定することを特徴とする電子部品実装装置。
  2. 請求項1において、測定された角度誤差を補正値として保存しておき、吸着した部品を基板へ実装する際の、θ軸の回転角度を、該補正値に基づいて補正するようにしたことを特徴とする電子部品実装装置。
JP2008257723A 2008-10-02 2008-10-02 電子部品実装装置 Active JP5271654B2 (ja)

Priority Applications (1)

Application Number Priority Date Filing Date Title
JP2008257723A JP5271654B2 (ja) 2008-10-02 2008-10-02 電子部品実装装置

Applications Claiming Priority (1)

Application Number Priority Date Filing Date Title
JP2008257723A JP5271654B2 (ja) 2008-10-02 2008-10-02 電子部品実装装置

Publications (2)

Publication Number Publication Date
JP2010087426A true JP2010087426A (ja) 2010-04-15
JP5271654B2 JP5271654B2 (ja) 2013-08-21

Family

ID=42251059

Family Applications (1)

Application Number Title Priority Date Filing Date
JP2008257723A Active JP5271654B2 (ja) 2008-10-02 2008-10-02 電子部品実装装置

Country Status (1)

Country Link
JP (1) JP5271654B2 (ja)

Cited By (1)

* Cited by examiner, † Cited by third party
Publication number Priority date Publication date Assignee Title
WO2017138113A1 (ja) * 2016-02-10 2017-08-17 ヤマハ発動機株式会社 表面実装機、認識誤差補正方法

Citations (2)

* Cited by examiner, † Cited by third party
Publication number Priority date Publication date Assignee Title
JP2000136944A (ja) * 1998-10-30 2000-05-16 Sony Corp 回転角度測定装置
JP2008205154A (ja) * 2007-02-20 2008-09-04 Matsushita Electric Ind Co Ltd 校正用の標体及びこれを用いた部品実装装置の校正方法

Patent Citations (2)

* Cited by examiner, † Cited by third party
Publication number Priority date Publication date Assignee Title
JP2000136944A (ja) * 1998-10-30 2000-05-16 Sony Corp 回転角度測定装置
JP2008205154A (ja) * 2007-02-20 2008-09-04 Matsushita Electric Ind Co Ltd 校正用の標体及びこれを用いた部品実装装置の校正方法

Cited By (5)

* Cited by examiner, † Cited by third party
Publication number Priority date Publication date Assignee Title
WO2017138113A1 (ja) * 2016-02-10 2017-08-17 ヤマハ発動機株式会社 表面実装機、認識誤差補正方法
CN108605432A (zh) * 2016-02-10 2018-09-28 雅马哈发动机株式会社 表面安装机、识别误差校正方法
JPWO2017138113A1 (ja) * 2016-02-10 2018-11-22 ヤマハ発動機株式会社 表面実装機、認識誤差補正方法
CN108605432B (zh) * 2016-02-10 2020-05-05 雅马哈发动机株式会社 表面安装机、识别误差校正方法
US10849261B2 (en) 2016-02-10 2020-11-24 Yamaha Hatsudoki Kabushiki Kaisha Surface mounter and method of correcting recognition error

Also Published As

Publication number Publication date
JP5271654B2 (ja) 2013-08-21

Similar Documents

Publication Publication Date Title
US8588510B2 (en) Image processing apparatus and image processing method
JP6333250B2 (ja) 部品保持状態検出方法および部品実装装置
JP2007220837A (ja) 電子部品実装方法及び装置
JP5507378B2 (ja) 電子部品実装装置
JP4494922B2 (ja) 電子部品実装装置の搭載誤差検出方法及び装置
CN101765361B (zh) 电子部件安装方法及其装置
JP2013251398A (ja) 部品実装装置および部品実装方法
JP6889778B2 (ja) 部品実装装置
JP6849815B2 (ja) 部品実装装置、撮影方法、実装順序の決定方法
JP4405009B2 (ja) ラインセンサーカメラを備えた検査機のキャリブレーション方法
JP5271654B2 (ja) 電子部品実装装置
JP2008294065A (ja) 電子部品の実装方法及び装置
JP6099116B2 (ja) バンプ付きicチップの回路基板上への実装装置及び実装方法
JP3269816B2 (ja) 部品実装装置
JP4890904B2 (ja) 部品位置検出方法及び装置
JP3779118B2 (ja) 撮像装置におけるカメラの位置ずれ検出方法、撮像装置におけるカメラの傾き検出方法、および、撮像装置におけるカメラの移動量補正方法
JP3114941B2 (ja) 部品実装装置
JP4900951B2 (ja) 生産ラインの検査システム及び検査方法
JP3923168B2 (ja) 部品認識方法及び部品実装方法
JP2000036698A (ja) 電子部品実装回路基板の検査方法及びその装置
JP6343819B2 (ja) バンプ付きicチップの回路基板上への実装装置及び実装方法
JP2007027302A (ja) 検査装置及び検査装置の位置決め方法
JP2009170586A (ja) 電子部品認識方法及び装置
JP2009212166A (ja) 部品移載装置および部品移載装置の部品認識方法
CN119354994A (zh) 检查装置、检查方法以及记录介质

Legal Events

Date Code Title Description
A621 Written request for application examination

Free format text: JAPANESE INTERMEDIATE CODE: A621

Effective date: 20110930

A977 Report on retrieval

Free format text: JAPANESE INTERMEDIATE CODE: A971007

Effective date: 20121120

A131 Notification of reasons for refusal

Free format text: JAPANESE INTERMEDIATE CODE: A131

Effective date: 20121127

A521 Written amendment

Free format text: JAPANESE INTERMEDIATE CODE: A523

Effective date: 20130123

A131 Notification of reasons for refusal

Free format text: JAPANESE INTERMEDIATE CODE: A131

Effective date: 20130212

A521 Written amendment

Free format text: JAPANESE INTERMEDIATE CODE: A523

Effective date: 20130327

TRDD Decision of grant or rejection written
A01 Written decision to grant a patent or to grant a registration (utility model)

Free format text: JAPANESE INTERMEDIATE CODE: A01

Effective date: 20130416

A61 First payment of annual fees (during grant procedure)

Free format text: JAPANESE INTERMEDIATE CODE: A61

Effective date: 20130513

R150 Certificate of patent or registration of utility model

Free format text: JAPANESE INTERMEDIATE CODE: R150

Ref document number: 5271654

Country of ref document: JP

Free format text: JAPANESE INTERMEDIATE CODE: R150