JP2010086941A - 燃料電池および電子機器 - Google Patents

燃料電池および電子機器 Download PDF

Info

Publication number
JP2010086941A
JP2010086941A JP2009141076A JP2009141076A JP2010086941A JP 2010086941 A JP2010086941 A JP 2010086941A JP 2009141076 A JP2009141076 A JP 2009141076A JP 2009141076 A JP2009141076 A JP 2009141076A JP 2010086941 A JP2010086941 A JP 2010086941A
Authority
JP
Japan
Prior art keywords
fuel
vaporization
plate
fuel vaporization
plates
Prior art date
Legal status (The legal status is an assumption and is not a legal conclusion. Google has not performed a legal analysis and makes no representation as to the accuracy of the status listed.)
Granted
Application number
JP2009141076A
Other languages
English (en)
Other versions
JP5370750B2 (ja
Inventor
Jusuke Shimura
重輔 志村
Hirotaka Takagi
裕登 高木
Current Assignee (The listed assignees may be inaccurate. Google has not performed a legal analysis and makes no representation or warranty as to the accuracy of the list.)
Sony Corp
Original Assignee
Sony Corp
Priority date (The priority date is an assumption and is not a legal conclusion. Google has not performed a legal analysis and makes no representation as to the accuracy of the date listed.)
Filing date
Publication date
Application filed by Sony Corp filed Critical Sony Corp
Priority to JP2009141076A priority Critical patent/JP5370750B2/ja
Publication of JP2010086941A publication Critical patent/JP2010086941A/ja
Application granted granted Critical
Publication of JP5370750B2 publication Critical patent/JP5370750B2/ja
Expired - Fee Related legal-status Critical Current
Anticipated expiration legal-status Critical

Links

Images

Classifications

    • YGENERAL TAGGING OF NEW TECHNOLOGICAL DEVELOPMENTS; GENERAL TAGGING OF CROSS-SECTIONAL TECHNOLOGIES SPANNING OVER SEVERAL SECTIONS OF THE IPC; TECHNICAL SUBJECTS COVERED BY FORMER USPC CROSS-REFERENCE ART COLLECTIONS [XRACs] AND DIGESTS
    • Y02TECHNOLOGIES OR APPLICATIONS FOR MITIGATION OR ADAPTATION AGAINST CLIMATE CHANGE
    • Y02EREDUCTION OF GREENHOUSE GAS [GHG] EMISSIONS, RELATED TO ENERGY GENERATION, TRANSMISSION OR DISTRIBUTION
    • Y02E60/00Enabling technologies; Technologies with a potential or indirect contribution to GHG emissions mitigation
    • Y02E60/30Hydrogen technology
    • Y02E60/50Fuel cells

Landscapes

  • Fuel Cell (AREA)

Abstract

【課題】従来よりも発電効率を向上させることが可能な燃料電池を提供する。
【解決手段】厚み方向で互いに接合された複数の燃料気化板321〜323はそれぞれ、開口部321a〜323aを有している。また、燃料気化板321〜323同士の接合面と、開口部321a〜323aの側面とにより、角部331,332が形成されている。これにより、角部331,332において、液体燃料21が通る流路の幅によらず、極めて大きな毛管力が得られる。その結果、流路抵抗を低減することにより、液体燃料21を迅速に濡れ広げることができる。
【選択図】図3

Description

本発明は、メタノール等と酸化剤ガス(酸素)との反応により発電を行う燃料電池およびそのような燃料電池を備えた電子機器に関する。
燃料電池は、正極に酸素ガスを供給し、負極に水素ガスやメタノールなどの燃料を供給して、両極上で酸化還元反応を起こすことによって発電するデバイスである。効率よく発電させるには、電極全面で均一な速度にて化学反応が進行するよう、酸素ガスや燃料などを均等にムラなく供給することが重要である。
正極が大気に露出しているタイプの燃料電池は、正極全面が空気中の酸素と直接触れているため、供給ムラによる性能低下は発生しづらい。しかし負極は、燃料タンクから導いた燃料を迅速かつ均等に濡れ広げないと、供給ムラとなってしまう。さらに負極は、反応生成物である二酸化炭素の排気も考えなければならないため、電極全体で均一に反応させることは非常に困難である。
もし、負極に供給される燃料の面内濃度がバラついていると、電極内で局所的な起電力のバラつきが生じ、場合によっては転極が発生してしまう。これは、残容量の異なる複数の乾電池が直列に接続されたのと類似の状況であり、発電のエネルギー変換効率が大幅に低下する原因となる。
また、発電にムラがあると発熱にもムラが生じてしまうため、負極の劣化も、面内でまだらに進行させてしまうことになる。この燃料供給の問題は、電極面積を大きくすればするほど顕著になり、セルの大型化を阻む一つの原因にもなっていた。
そこで、負極の全面に均等に燃料を供給する方法として、従来の気化型メタノール型燃料電池では、燃料を濡れ広げる多孔質体や繊維束、海綿体などが用いられている(例えば、特許文献1)。また、多孔質膜の表面に放射状、ひいては枝分かれした溝部を設け、この溝部に沿って燃料を拡散させることも提案されている(例えば、特許文献2参照。)
特開2003−297391号公報 特開2008−66275号公報(図17、図25)
ところが、上記特許文献1等の手法では、大きな毛管力を得ようとして孔径を小さくすると、流路抵抗によって面全体に濡れ広がるまでに時間がかかってしまい、かえって燃料供給の面内バラつきを促進させてしまう。一方、濡れ広がる時間を短くするために孔径を大きくすると、十分な毛管力が得られないために濡れ広がりにくくなってしまい、電極の端まで燃料を届けることができない。
ここで、特にポータブル機器に搭載する燃料電池の場合、毛管力をできるだけ大きくして、燃料の濡れ広がりに対する重力の影響を排除して姿勢依存性を最小にするのが理想であるが、現実には上記のような問題があった。したがって、実際には中程度の孔径を用いて、かつ、多孔質体そのものにも十分な厚みを持たせることによって、燃料供給の問題を回避していた。
一方、特許文献2に記載されたような多孔質膜の表面に放射状または枝分かれした溝部を設けた構造では、液体燃料が溝部を移動する途中で気化してしまうおそれがあった。そのため、溝部を被覆層で覆うと共に溝部の末端で被覆層に孔をあけて、溝部の末端のみを開放することが考えられる。しかし、この場合には、燃料が孔の近傍にしか供給されなくなり、未だ改善の余地があった。
このようにして、従来の燃料電池では、燃料を迅速に濡れ広げること、または燃料を面内で十分に分配することが困難であったため、発電部の負極に対して均一に燃料供給を行うことが難しかった。よって、そのような発電部の負極に対する燃料供給の不均一性を低減することにより、発電効率または出力を高めることが望まれていた。
本発明はかかる問題点に鑑みてなされたもので、その目的は、従来よりも発電効率または出力を向上させることが可能な燃料電池、およびそのような燃料電池を備えた電子機器を提供することにある。
本発明の第1の燃料電池は、発電部を含む電池本体と、液体燃料を収容する燃料タンクと、この燃料タンクから供給される液体燃料を気化させて気体燃料を発電部へ供給するための燃料気化部を有する燃料供給板とを備えたものである。ここで、上記燃料気化部は、厚み方向で互いに接合されると共に、各々が開口部を有する複数の燃料気化板により構成されている。また、これら燃料気化板同士の接合面と開口部の側面とにより、角部が形成されている。
本発明の第2の燃料電池は、発電部を含む電池本体と、液体燃料を収容する燃料タンクと、この燃料タンクから供給される液体燃料を気化させて気体燃料を発電部へ供給するための燃料気化部を有する燃料供給板とを備えたものである。ここで、上記燃料気化部は、厚み方向で互いに接合されると共に、各々が開口部を有する複数の燃料気化板により構成されている。また、これら複数の燃料気化板は、開口部として、燃料の導入口を含む主流路および主流路から分岐する枝流路を有する第1の燃料気化板と、主流路を覆う主流路被覆部および導入口を覆う導入口被覆部を有する第2の燃料気化板とを含んでいる。
本発明の第1の電子機器および本発明の第2の電子機器は、上記本発明の第1の燃料電池または本発明の第2の燃料電池をそれぞれ備えたものである。
本発明の第1の燃料電池および本発明の第1の電子機器では、厚み方向で互いに接合された複数の燃料気化板がそれぞれ開口部を有すると共に、これら燃料気化板同士の接合面と開口部の側面とにより角部が形成されていることにより、このような角部における曲率半径がゼロ(「0」)となり、この部分において極めて大きな毛管力が得られる。すなわち、液体燃料が通る流路の幅によらずに極めて大きな毛管力が得られるため、流路抵抗が低減され、液体燃料が迅速に濡れ広がる。
本発明の第2の燃料電池および本発明の第2の電子機器では、燃料は、第1の燃料気化板の導入口から主流路に入り、主流路から分岐する枝流路を流れ、第2の燃料気化板の開口部に入る。ここでは、第2の燃料気化板に、主流路を覆う主流路被覆部および導入口を覆う導入口被覆部が設けられているので、燃料が導入口および主流路で気化してしまうことが抑えられ、枝流路を介して面内で十分に分配される。
本発明の第1の燃料電池または本発明の第2の燃料電池では、電池本体が複数の発電部を含んで構成されると共に、燃料供給板が、燃料供給タンクにおける液体燃料を燃料気化部へ供給するための燃料供給部をさらに有しており、この燃料供給部が、燃料タンクから液体燃料が供給される入口および複数の発電部に各々対応する複数の出口との間に複数の流路を有し、これら複数の流路が、少なくとも一本に曲線を含むと共にすべて等距離となっているようにするのが好ましい。なお、「すべて等距離である」とは、入口と出口との間の距離が、複数の流路のすべてで等しくなっていることをいう。このように構成した場合、燃料タンクに収容される液体燃料は、燃料供給板の入口に供給され、そこから複数の流路を介して複数の出口に到達し、燃料気化部を介して、各出口に対応する発電部へと供給される。複数の流路は、少なくとも一本に曲線を含んでおり、この曲線の形状や曲がりぐあい(曲率半径)を調整することにより、複数の流路はすべて等距離とされている。よって、入口と複数の出口との間の直線距離の長短にかかわらず、ほぼ等量の液体燃料がほぼ同タイミングで複数の出口に到達し、燃料気化部を介して各発電部に供給される。よって、液体燃料を均一に複数の発電部に供給することができる。よって、燃料供給量のばらつきによる複数の発電部の起電力のばらつきが低減し、燃料電池全体の出力を向上させる(発電効率がさらに向上させる)ことが可能となる。
本発明の第1の燃料電池または本発明の第1の電子機器によれば、厚み方向で互いに接合された複数の燃料気化板がそれぞれ開口部を有すると共に、これら燃料気化板同士の接合面と開口部の側面とにより角部が形成されているようにしたので、このような角部において、液体燃料が通る流路の幅によらずに極めて大きな毛管力を得ることができ、流路抵抗を低減することにより液体燃料を迅速に濡れ広げることができる。よって、発電部の負極に対する燃料供給の不均一性を低減することができ、従来よりも発電効率を向上させることが可能となる。
本発明の第2の燃料電池または本発明の第2の電子機器によれば、第2の燃料気化板に、主流路を覆う主流路被覆部および導入口を覆う導入口被覆部を設けるようにしたので、導入口および主流路での燃料の気化を抑え、枝流路を介して燃料を面内で十分に分配することが可能となる。よって、発電部の負極に対する燃料供給の不均一性を低減し、従来よりも出力を向上させることが可能となる。
本発明の第1の実施の形態に係る燃料電池の構成を表す断面図である。 図1に示した燃料電池の電池本体側からみた構成を表す平面図である。 図1に示した燃料供給板における各積層板の構成を表す平面図である。 図3に示した燃料供給部の電池本体側からみた構成を表す平面図である。 図3に示した燃料気化部の電池本体側からみた構成を表す斜視図である。 図3に示した燃料気化部の構成の一部を拡大して表す斜視図である。 図6に示した燃料気化部の構成の一部を拡大して表す断面図である。 燃料気化部の他の構成例の一部を拡大して表す断面図である。 本発明の変形例1に係る燃料気化板における開口部の長軸方向を表す模式図である。 本発明の変形例2に係る燃料気化板における開口部の長軸方向を表す模式図である。 本発明の変形例3に係る燃料気化板における開口部の長軸方向を表す模式図である。 本発明の変形例4に係る燃料電池の構成を表す断面図である。 本発明の第2の実施の形態に係る燃料電池の構成を表す断面図である。 図13に示した燃料供給板における各積層板の構成を表す平面図である。 図13に示した枝流路および貫通孔の一部を拡大して表す斜視図である。 図14に示した各積層板の他の構成を表す平面図である。 図14に示した主流路被覆部および導入口被覆部の作用を説明するための図である。 変形例5に係る燃料電池の構成を表す断面図である。 本発明の適用例を表す斜視図である。 比較例に係る燃料電池の構成を表す断面図である。 図20に示した各積層板の構成を表す平面図である。 実施例の結果を表す図である。
以下、本発明の実施の形態について、図面を参照して詳細に説明する。なお、説明は以下の順序で行う。
1.第1の実施の形態(複数の燃料気化板が、開口部の長軸方向が互いに非平行となるように積層されている場合)
2.変形例1〜3(第1の実施の形態において、燃料気化板の枚数、開口部の長軸方向を異ならせた例)
3.変形例4(第1の実施の形態において、各電池セルと燃料気化部との間に熱伝導部を設けた例)
4.第2の実施の形態(燃料気化部が2枚の燃料気化板を有し、一方は燃料の導入口を含む主流路および枝流路を有し、他方は貫通孔、主流路被覆部および導入口被覆部を有する場合)
5.変形例5(燃料気化部が4枚の燃料気化板を有する場合)
6.適用例
7.実施例
(第1の実施の形態)
図1は、本発明の第1の実施の形態に係る燃料電池(燃料電池1)の断面構成(Y−Z断面構成)を表すものであり、図2は、図1に示した燃料電池1を電池本体の側からみた平面構成(X−Y平面構成)を表したものである。
この燃料電池1には、液体燃料(例えば、メタノール水)21を収容する燃料タンク20が設けられ、この燃料タンク20の上方には、電池本体5が設けられている。電池本体5は、水平方向に沿って配置された複数(例えば六つ)の電池セル5A〜5Fを含んでいる。なお、燃料タンク20は、例えば、液体燃料21の増減によっても内部に気泡などが入らずに体積が変化する容器(例えばビニール袋など)と、この容器を覆う直方体形状のケース(構造体)とにより構成される。
各電池セル5A〜5Fはそれぞれ、メタノールと酸素との反応により発電を行う直接メタノール型の発電部であり、電解質膜52を介して燃料電極(アノード電極、負極)51と酸素電極(カソード電極、正極)53とが対向配置されている。酸素電極53には図示しない空気供給ポンプが接続され、燃料電極51は電池セル5A〜5Fのうちの燃料タンク20側に形成されている。なお、電解質膜52は、例えばプロトン伝導体により構成される。
燃料タンク20内には、燃料タンク20内の液体燃料を吸引してノズル23から排出させるための燃料供給ポンプ22が設けられている。この燃料タンク20と電池セル5A〜5Fとの間、具体的には燃料タンク20の上面には、ノズル23から排出される液体燃料21を気化させて電池セル5A〜5Fへ供給するための燃料供給板3が設けられている。電池セル5A〜5F間およびこれらと燃料供給板3との間には、燃料漏れ防止部41が設けられており、液体燃料21の漏れを防止できるようになっている。
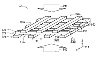
次に、図1および図2に加えて図3〜図8を参照して、燃料供給板3の構成について詳細に説明する。図3は、燃料供給板3における各積層板の平面構成(X−Y平面構成)を、燃料タンク20側から電池本体5(電池セル5A〜5F)側への積層方向(+Z方向)に沿って表したものである。
この燃料供給板3は、図1および図3に示したように、燃料タンク20側から電池本体5側への積層方向に沿った順に、燃料供給部31と燃料気化部32とから構成されている。燃料供給部31は、燃料供給タンク20における液体燃料21を燃料気化部32へ供給するためのものであり、後述する3枚の積層板により構成されている。また、燃料気化部32は、燃料供給部31から供給される液体燃料21を気化させて気体燃料を電池セル5A〜5Fへ供給するためのものであり(図1中の矢印参照)、ここでは後述する3枚の燃料気化板321〜323により構成されている。なお、燃料供給部31における各積層板は、液体燃料21により満たされている一方、燃料気化部32における各燃料気化板321〜323では、液体燃料21と気体燃料とが共存するようになっている。
最初に、図3および図4を参照して、燃料供給部31の詳細構成について説明する。
燃料供給部31は、図3に示したように、燃料タンク20側から順に、入口ILが形成されたタンク側供給板311と、流路31A〜31Fが形成された流路板312と、六つの出口OLが設けられたセル側供給板313とを積層した構成となっている。
タンク側供給板311は、例えば、厚みが0.2mm程度のステンレス鋼などの金属板
により構成されており、燃料供給部31の強度を確保する機能も有している。入口ILの直径は例えば1mm程度である。
流路板312は、例えば、厚みが0.05mm(50μm)程度であり、ステンレス鋼やマレイン酸変性ポリプロピレンの両面接着シートにより構成され、流路31A〜31Fの外形に合わせて切り抜きが設けられている。なお、流路31A〜31Fの入口IL付近には、燃料溜まりとして、入口ILよりも広めの切り抜きが設けられていてもよい。
セル側供給板313は、例えば、厚みが0.05mm(50μm)程度であり、ステンレス鋼などの金属板により構成されている。
また、このセル側供給板313には、出口OLとして六つの貫通孔が設けられている。このように流路板312とは別にセル側供給板313を設けることにより、出口OLの直径を流路31A〜31Fの幅よりも小さくして、出口OLに液体燃料21の圧力調節機能を持たせることができる。すなわち、流路31A〜31Fに比べて出口OLを狭くすることにより圧力損失を生じさせ(減圧機能)、出口OLから常に液体燃料21を一定圧力で吐出させる(整圧機能)ことができる。また、このようにすることにより、燃料電池1を傾けた場合であっても重力の影響を受けずに液体燃料21を出口OLから吐出させることが可能となる。そのためには、出口OLの直径はできるだけ小さいほうが望ましく、例えば1mm以下、具体的には0.2mm程度とすることが望ましい。なお、出口OLを小さくする代わりに、流路31A〜31Fの幅を途中で小さくする、両面接着シートの厚みを薄くする、あるいは出口OLに圧力弁(図示せず)などを設けることによっても同様の圧力調節機能を得ることが可能である。
図4は、燃料供給部31の電池本体5側からみた構成の一例を表したものである。この燃料供給部31は、燃料タンク20から液体燃料21が供給される入口ILと、電池セル5A〜5Fにそれぞれ対応する六つの出口OLとを有し、両者の間に六本の流路31A〜31Fが形成されている。これらの流路31A〜31Fは、液体燃料21を入口ILから六つの出口OLに分岐させて移動させるものであり、その幅や深さなどの寸法は液体燃料21の輸送方式(例えば、ポンプあるいは毛細管現象の利用)に応じて適切に設定されている。なお、各出口OLは、電池セル5A〜5Fに向けて開放されていればよい。
流路31A〜31Fは、曲線CA〜CFをそれぞれ含むと共に、すべて等距離となっている。これにより、この燃料電池1では、液体燃料21を、燃料気化部32を介して電池セル5A〜5Fに均一に供給することができるようになっている。なお、流路31A〜31Fは、曲線のみにより構成されていてもよいが、必要に応じて、例えば入口IL近傍の分岐直後の部分に直線を含んでいてもよい。
曲線CA〜CFは、その形状や曲がりぐあい(曲率半径)を調整することにより、入口ILと出口OLとの間の距離を、流路31A〜31Fのすべてで等しくすることを可能とするためのものである。入口ILは、燃料供給ポンプ22のノズル23の出口の位置により規定され、例えば図4に示したように燃料供給部31の中心からずれる場合もある。出口OLは、電池セル5A〜5Fの形状,寸法,配置および間隔などにより規定される。通常、電池セル5A〜5Fは矩形であり、出口OLは各電池セル5A〜5Fの中心に設けられる。入口ILおよび出口OLの位置は、いずれも自由な変更が難しい。
流路31A〜31Fは、曲線CA〜CFとして、円弧を含むことが好ましい。円弧は長さの計算が容易であり、製図・加工を容易にすることができるからである。図4では、流路31A〜31Fが円弧と直線とを含む場合を表している。ただし、曲線CA〜CFの形状は、円弧のほか、楕円やベジエ曲線など他の曲線でもよく、特に限定されない。
曲線CA〜CFの曲率半径はできる限り大きくすることが望ましい。流れが複雑にならず、複雑な流体シミュレーションによる構造決定を回避することができるからである。
このような流路31A〜31Fは、図4に示したように、入口ILから、入口ILを中心とするn角形N(nは流路31A〜31Fの数であり、本実施の形態では6である。)の頂点に向かう方向に形成されていることが好ましい。流路31A〜31Fを入口ILから直接分岐させないで途中から分岐させると、流れの慣性の影響により、液体燃料21を等分するように流路31A〜31Fを幾何的に簡単に設計することが困難になってしまうからである。
更に、このn角形Nは、正n角形(本実施の形態では正6角形)であれば、より好ましい。液体燃料21を均等に流路31A〜31Fに分岐させることができるからである。ここにいう「正n角形」とは、幾何学的に完全な正n角形だけでなく、流路31A〜31Fの加工精度などを考慮して、ほぼ正n角形といえる程度の対称性を有するn角形も含むものである。すなわち、流路31A〜31Fは、隣接する二つの流路の、分岐直後の直線部分のなす角θが、360÷(n+1)よりも大きく、360÷(n−1)よりも小さくなるように配置されていればよい。
加えて、流路31A〜31Fは、角を有しないことが好ましい。鋭角鈍角によらず、角は著しく流れを乱すおそれがあるからである。
次に、図3に加えて図5〜図8を参照して、燃料気化部32の詳細構成について説明する。
この燃料気化部32は、図3に示したように、厚み方向(積層方向)で互いに接合された3枚の燃料気化板321〜323により構成されている。ここでは、これら燃料気化板321〜323同士は、互いに拡散接合により接合されている。また、燃料気化板321〜323にはそれぞれ、所定方向に沿った長軸をなす開口部(開口部321a〜323a)が形成されている。具体的には、燃料気化板321には、図中の矢印P1で示したように、X軸方向を長軸方向とする開口部321aが形成されている。また、燃料気化板322には、図中の矢印P2で示したように、Y軸方向を長軸方向とする開口部322aが形成されている。また、燃料気化板323には、図中の矢印P3で示したように、X軸方向を長軸方向とする開口部323aが形成されている。すなわち、燃料気化部32では、互いに接合された燃料気化板同士(燃料気化板321,322同士および燃料気化板322,323同士)において、開口部の長軸方向が互いに非平行(ここでは、互いに直交)となっている。
なお、このような燃料気化部32全体としては、例えば図5(A)および図5(B)に示したような構造となっている。ここで、図5(B)に示した構造は、図5(A)に示した構造の一部を拡大して表したものである。
燃料気化板321〜323はそれぞれ、例えば厚みが0.1mm程度であり、液体燃料21に対する濡れ性が良い材料、すなわち、液体燃料21に対する接触角θの余弦が正(接触角θが90度未満)の材料により構成されている。後述する(1)により、液面の上昇高さhが正の値となるためには、接触角θの余弦は正(接触角θは90度未満)でなければならない(θ>90だとcosθ<0なので)からである。
このような燃料気化板321〜323の材料としては、例えば、ステンレス鋼、アルミニウム、銅などの金属、PETなどのポリエステル系樹脂、環状オレフィンコポリマー(
COC)、塩化ビニール樹脂、アクリル樹脂、酸化アルミニウムや酸化ケイ素がコーティングされた樹脂が適している。なお、これらにオゾン処理などを施して、メタノールに対する濡れ性を向上させてもよい。
ここで、この燃料気化部32では、図6中の矢印P41,P42で示したように、3枚の燃料気化板321〜323同士が、互いに拡散接合により接合されている。また、図中の矢印P51,P52で示したように、燃料気化板同士(燃料気化板321,322同士および燃料気化板322,323同士)の接合面と、開口部321a〜323aの側面とにより、複数の角部331,332(ここでは、直角部)が形成されている。
具体的には、例えば図7(A)に示したように、燃料気化板321,322同士の接合面と、開口部322aの側面とにより、複数の角部331(ここでは、直角部)が形成されている。また、例えば図7(B)に示したように、燃料気化板322,323同士の接合面と、開口部323aの側面とにより、複数の角部332(ここでは、直角部)が形成されている。これにより、詳細は後述するが、このような角部331,332における曲率半径はゼロ(「0」)となるため、この部分において極めて大きな毛管力が得られるようになっている。
この燃料電池1は、例えば次のようにして製造することができる。
まず、上述した厚みおよび材料よりなるタンク側供給板311およびセル側供給板313を用意し、例えばフォトエッチングなどを用いた加工により、タンク側供給板311に入口ILを形成し、セル側供給板313に六つの出口OLを形成する。
次いで、例えば上述した厚みおよび材料よりなる流路板312に、例えばプレス機による打ち抜き加工により、流路31A〜31Fの形状に合わせた切り抜きを設け、流路板312を間にしてタンク側供給板311とセル側供給板313とを貼り合わせることにより、燃料供給部31を形成する。
一方、上述した厚みおよび材料よりなる3枚の燃料気化板321〜323に、例えばフォトエッチングなどを用いた加工により、複数の開口部321a〜323aをそれぞれ形成し、燃料気化板321〜323を形成する。そして、これら燃料気化板321〜323同士を、例えば拡散接合によって接合させることにより、燃料気化部32を形成する。
続いて、これら燃料供給部31および燃料気化部32をそれぞれ、図3に示した積層順にて、燃料供給ポンプ22およびノズル23が取り付けられた燃料タンク20上に設置する。これにより、燃料タンク20上に燃料供給板3が形成される。この際、燃料供給板3を構成する6層の積層板を、全てステンレス鋼により構成した場合、各積層板をフォトエッチングにて穴開け加工したのち、それらを拡散接合によって互いに貼り合わせるようにすることが可能である。その場合、貼り合わせの際に接着剤などを用いていないため、燃料(例えば、メタノール)による脆化が防止される。なお、(ステンレス鋼+フォトエッチング+拡散接合)という組み合わせの他に、(PET樹脂+プレス打ち抜き加工+レーザー溶着)という組み合わせとしてもよい。後者の組み合わせとしたほうが、前者の組み合わせと比べて安価に製造することができる。
続いて、燃料供給板3上に、前述した材料よりなる電池本体5および燃料漏れ防止部41を設ける。以上により、図1に示した燃料電池装置1が製造される。
なお、複数の開口部321a〜323aを、上記したようにフォトエッチングなどを用いた加工により形成した場合、これら開口部321a〜323aの断面形状は、厳密には
例えば図8(A)および図8(B)に示したように、側面に突起342,343等を有したものとなる。ただし、燃料気化板同士(燃料気化板321,322同士および燃料気化板322,323同士)の接合面と、開口部321a〜323aの側面とにより、複数の角部331,332が形成されていればよく、この角部331,332は必ずしも直角でなくてもよい。すなわち、角部331,332は鋭角であっても鈍角であってもよい。後述するように、角部であればその部分における曲率半径はゼロ(「0」)となるため、極めて大きな毛管力が得られるからである。
次に、本実施の形態の燃料電池1の作用および効果について説明する。
この燃料電池1では、燃料タンク20に収容される液体燃料21が、燃料供給ポンプ22およびノズル23によって、燃料供給板3の入口ILに供給される。そして、燃料供給板3内の燃料供給部31によって液体燃料21が燃料気化部32へ供給され、液体燃料21が気化される。そして気化した燃料が分離シート42を通過して各電池セル5A〜5Cへ到達し、それらの燃料電極51へそれぞれ供給される。一方、図示しない空気供給ポンプによって、各電池セル5A〜5Cの酸素電極53へ空気(酸素)が供給される。すると、各燃料電極51において、反応により水素イオンと電子とが生成される。また、この水素イオンは電解質膜52を通って酸素電極53へ移動し、電子および酸素と反応して水が生成されると共に、二酸化炭素が副生成される。このようにして、燃料電池1において発電動作がなされる。
この際、燃料供給部31では、液体燃料21が、入口ILから燃料供給ポンプ22の圧力により流路31A〜31Fを介して出口OLに到達し、燃料気化部32へ供給される。具体的には、タンク側供給板311における入口ILから液体燃料21が注入されると、流路板312において液体燃料21が6分配され、セル側供給板313における出口OLを経て、液体燃料21が燃料気化部32(具体的には、燃料気化板321)に到達する。
ここで、本実施の形態の燃料電池1では、厚み方向で互いに接合された複数の燃料気化板321〜323がそれぞれ、所定方向に沿った長軸をなす開口部321a〜323aを有すると共に、これら燃料気化板321〜323同士の接合面と開口部321a〜323aの側面とにより、複数の角部331,332が形成されている。したがって、このような角部331,332における曲率半径はゼロ(「0」)となるため、この部分(角部331,332)において極めて大きな毛管力が得られる。すなわち、液体燃料21が通る流路の幅によらずに極めて大きな毛管力が得られるため、流路抵抗が低減され、液体燃料21が迅速に面内方向(X−Y平面方向)へ濡れ広がる。
これにより、セル側供給板313と燃料気化板321との接合辺に沿って、液体燃料21がX軸方向に浸透し(図3中の矢印P1参照)、その一部が燃料気化板322へ到達する。そして、この燃料気化板322に達した燃料は、燃料気化板321,322の接合辺に沿って、Y軸方向に浸透する(図3中の矢印P2参照)。このように、層間の接合辺に沿って上下左右(X軸方向およびY軸方向)に燃料が行き渡り、最表面となる燃料気化板323では、燃料がさらにX軸方向に浸透し、全面から均一な燃料が放出される。
ここで、角部331,332において極めて大きな毛管力が得られることにより、液体燃料21が迅速に浸透するメカニズムは、以下の通りである。まず、液体表面に毛管を接触させた際の液面上昇の式は、以下の(1)式にて表される。
Figure 2010086941
上記(1)式により、接触角θが90度未満の液体(ここでは、液体燃料21)では、液面の上昇高さhが正となり(毛管内の液面が上昇し)、その液面上昇は、毛管の半径rが小さければ小さいほど高くなる。すなわち、毛管力が大きくなる。そして、本実施の形態の角部331,332では、曲率半径はゼロである。よって、このような角部331,332では、理論上最大の毛管力が得られることになる。
ここで、従来の燃料電池における燃料供給部では、多孔質体や繊維束、海綿体などを用いる場合、毛管の半径を小さくすると流路抵抗が高くなり、濡れ広がりを悪くする方向に効いてしまう。つまり、濡れ広がりを良くするため毛管力を大きくしようとしても、限界がある。
これに対して、本実施の形態の燃料電池1では、角部331,332における曲率半径がゼロとなり、この部分において極めて大きな毛管力が得られる。すなわち、液体燃料21が通る流路の幅によらずに極めて大きな毛管力が得られるため、流路抵抗が低減され、液体燃料21が迅速に面内方向(X−Y平面方向)へ濡れ広がることになる。
なお、一実施例として、図3に示した6種類の積層板(外形寸法はすべて、30.5×45.5mm)を、SUS304のエッチング加工によって作製した場合について説明する。ここでは、これらの積層板を図3に示したように順番に積み重ねると共に、真空中かつ高温高圧条件にて層間を完全に接合して一体化させる(拡散接合)ことにより、燃料供給板3を得た。完成した燃料供給板3の燃料注入口(タンク側供給板311の入口IL)から液体燃料21を注入して、最上層の燃料気化板323における燃料の浸透の様子を目視で確認したところ、ほぼ全面に、ほぼ同じタイミングで燃料が浸透した様子が観察された。また、完成した燃料供給板3を用いて発電試験を行ったところ、燃料気化板321〜323を持たない従来の燃料供給板と比べて、出力のバラツキが大幅に低減したことが確認された。さらに、燃料電池1を用いた燃料電池システムを、立てたり倒したりして姿勢依存性の測定を行った実験においても、従来品よりも優れていたことが確認された。このようにして、従来よりも薄型でありながら、燃料電極51全面に燃料を迅速に濡れ広げることができ、発電の効率を高めることが可能となった。
また、本実施の形態の燃料電池1では、燃料供給部31において、流路31A〜31Fが曲線CA〜CFをそれぞれ含むと共に、すべて等距離とされている。これにより、入口ILと六つの出口OLとの直線距離の長短にかかわらず、ほぼ等量の液体燃料21がほぼ同タイミングで出口OLに到達する。よって、燃料気化部32において気化した燃料が均等に電池セル5A〜5Fに供給され、電池セル5A〜5Fの起電力のばらつきが小さくなり、燃料電池1の全体の出力が向上する。
以上のように本実施の形態では、厚み方向で互いに接合された複数の燃料気化板321〜323がそれぞれ所定方向に沿った長軸をなす開口部321a〜323aを有すると共に、これら燃料気化板321〜323同士の接合面と開口部321a〜323aの側面とにより角部331,332が形成されているようにしたので、このような角部331,332において、液体燃料21が通る流路の幅によらずに極めて大きな毛管力を得ることができ、流路抵抗を低減することにより液体燃料21を迅速に濡れ広げることができる。よって、電池セル5A〜5Cの燃料電極51に対する燃料供給の不均一性を低減することができ、従来よりも発電効率を向上させることが可能となる。
また、角部331,332において得られる毛管力が重力よりも大きくなるため、姿勢依存性を最小限に抑えることが可能となる。
また、互いに接合された燃料気化板同士(燃料気化板321,322同士および燃料気化板322,323同士)において、開口部の長軸方向が互いに非平行となっている(具体的には、互いに直交している)ようにしたので、液体燃料21を、一方向だけでなく2方向以上(すなわち、全面)に濡れ広げることができる。よって、開口部の長軸方向が互いに平行となっていて、液体燃料21が一方向だけに濡れ広げられる場合と比べ、より均等に燃料を供給することが可能となる。
さらに、燃料供給部31において、入口ILと六つの出口OLとの間を、曲線CA〜CFをそれぞれ含むと共にすべて等距離である流路31A〜31Fで結び、これらの流路31A〜31Fを介して液体燃料21を供給するようにしたので、液体燃料21を、燃料気化部32を介して電池セル5A〜5Fに均一に供給することができる。よって、燃料供給量のばらつきによる電池セル5A〜5Fの起電力のばらつきを低減し、燃料電池1全体の出力を向上させる(電池セル5A〜5Cにおける発電効率をより向上させる)ことができる。
次に、本発明の変形例をいくつか挙げて説明する。なお、これらの変形例において、上記実施の形態における構成要素と同一のものには同一の符号を付し、適宜説明を省略する。
(変形例1〜3)
図9〜図11はそれぞれ、本発明の変形例1〜3に係る燃料気化板における開口部の長軸方向を模式的に表したものである。
図9に示した変形例1では、燃料気化部32が3枚の燃料気化板321〜322により構成された場合に、互いに接合された燃料気化板同士(燃料気化板321,322同士および燃料気化板322,323同士)において、開口部の長軸方向(図中の矢印P11〜P13参照)が、互いに120°の角度をなしている(図中の角度α12,α23,α31参照)。このように構成した場合、液体燃料21が3方向に濡れ広げられるため、上記実施の形態と比べ、より均等に燃料を供給することが可能となる。
また、図10に示した変形例2では、燃料気化部32が2枚の燃料気化板(例えば、燃料気化板321,322)により構成された場合に、互いに接合された燃料気化板321,322同士において、開口部の長軸方向(図中の矢印P1〜P2参照)が、互いに直交している。このように、燃料気化部32が2枚の燃料気化板により構成されている場合には、開口部の長軸方向が互いに直交しているようにするのが最も好ましいといえる。
なお、図11に示した変形例3では、互いに接合された燃料気化板同士において、開口部の長軸方向が互いに平行となっている(図中の矢印P21〜P23(P21〜P22)
参照)。このように、例えば複数の電池セルが一方向に沿って配置されているような場合には、それに応じて開口部の長軸方向が互いに平行となっているようにしてもよい。
(変形例4)
図12は、本発明の変形例4に係る燃料電池(燃料電池1A)の断面構成(Y−Z断面構成)を表したものである。本変形例の燃料電池1Aでは、各電池セル5A〜5Cと燃料気化部32との間をそれぞれ接続する熱伝導部6A〜6Cが設けられており、各電池セル5A〜5Cで生ずる熱を燃料気化部32(燃料気化板321〜323)へ伝導させるようになっている。このように構成した場合、各電池セル5A〜5Cで生ずる熱を利用して、燃料気化部32の温度を上昇させることができる。よって、気化熱に起因した燃料気化部32におけるフラッディング現象を抑えることができ、電池セル5A〜5Cにおける発電効率をより向上させることが可能となる。
(第2の実施の形態)
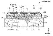
図13は、本発明の第2の実施の形態に係る燃料電池の断面構成を表したものである。この燃料電池2は、燃料気化部を除いては、上記第1の実施の形態と同様の構成を有している。よって、対応する構成要素については同一の符号を付して説明する。なお、図13では燃料タンク20を省略している。
電池本体5は、第1の実施の形態と同様に、六つの電池セル5A〜5Fを有している。各電池セル5A〜5Fは、第1の実施の形態と同様に、メタノールと酸素との反応により発電を行う直接メタノール型の燃料電池であり、燃料電極51と酸素電極53との間に電解質膜52を有している。電池セル5A〜5Fは、第1の実施の形態と同様に面内方向に例えば3行×2列に配置されると共に、接続部材(図示せず)により電気的に直列に接続された平面積層構造とされている。電池セル5A〜5Fのすきまは、フッ素ゴム,PP(ポリプロピレン)などの耐アルコール性の高い材料よりなるシール材54により封止されている。
燃料電極51および酸素電極53は、例えば、四辺形であり、カーボンペーパーなどよりなる集電体に、微細多孔質層(MPL;Micro Porous Layer)と、白金(Pt)あるいはルテニウム(Ru)などの触媒を含む触媒層とが形成された構成を有している。触媒層は、例えば、触媒を担持させたカーボンブラックなどの担持体をポリパーフルオロアルキルスルホン酸系プロトン伝導材料などに分散させたものにより構成されている。集電体と微細多孔質層との間(微細多孔質層の外側)には、必要に応じて、ガス拡散層(GDL;Gas Diffusion Layer )が設けられていてもよい。なお、酸素電極53には図示しない空気供給ポンプが接続されていてもよいし、接続部材(図示せず)に設けられた開口(図示せず)を介して外部と連通し、自然換気により空気すなわち酸素が供給されるようになっていてもよい。
電解質膜52は、例えば、スルホン酸基(−SO3 H)を有するプロトン伝導材料により構成されている。プロトン伝導材料としては、ポリパーフルオロアルキルスルホン酸系プロトン伝導材料(例えば、デュポン社製「Nafion(登録商標)」)、ポリイミドスルホン酸などの炭化水素系プロトン伝導材料、またはフラーレン系プロトン伝導材料などが挙げられる。
酸素電極53の外側には、カソード側板状部材61が設けられている。カソード側板状部材61は、電池本体5を保護する外装部材としての機能を有するものであり、例えば厚み1mm程度のアルミニウム板またはステンレス鋼板により構成されている。カソード側板状部材61は、酸化剤としての空気(酸素)を通過させるための貫通孔61Aを有している。なお、電池本体5の酸素電極53とカソード側板状部材61との間には、湿分保持のため、例えば、ポリエチレン等の多孔質膜62が設けられている。
燃料電極51の外側には、燃料供給板3が設けられている。この燃料供給板3には、燃料タンク20(図13には図示せず、図1参照。)から液体燃料21として例えばメタノールが供給されるようになっている。なお、電池本体5の燃料電極51と燃料供給板3との間には、例えば、多孔質フッ素樹脂およびポリエステルよりなる気液分離膜63が設けられている。
図14は、図13に示した燃料供給板3における各積層板の平面構成(X−Y平面構成)を、燃料タンク20(図13には図示せず、図1参照。)側から電池本体5(電池セル5A〜5F)側への積層方向(+Z方向)に沿って表したものである。燃料供給板3は、第1の実施の形態と同様に、燃料供給部31および燃料気化部35を有している。
燃料供給部31は、第1の実施の形態と同様に、タンク側供給板311,流路板312およびセル側供給板313を有している。なお、図14では、第1の実施の形態と異なり、入口ILがタンク側供給板311の中央に位置しており、これに対応して、流路板312の流路31A〜31Fの形状が異なっている。このことを除いては、タンク側供給板311および流路板312は、第1の実施の形態と同様に構成されている。セル側供給板313は、第1の実施の形態と同様に、電池セル5A〜5Fにそれぞれ対応する六つの出口OLを有している。
燃料気化部35は、出口OLから噴出した液体燃料21の流れを垂直方向から水平方向(面内方向)に変え、液体燃料21を燃料電極51の全面に均一に行き渡らせるための燃料分配部としての機能を有するものである。燃料気化部35は、燃料タンク20(図13には図示せず、図1参照。)側から電池本体5(電池セル5A〜5F)側への積層方向(+Z方向)に沿って、第1の燃料気化板351と、第2の燃料気化板352(以下、燃料気化板351,352と総称する。)を有している。燃料気化板351,352は、それぞれ開口部351a,352aを有すると共に、厚み方向(積層方向)で互いに接合されている。燃料気化部35の厚み(燃料気化板351,352の合計厚み)は、例えば25μmないし200μm程度であることが望ましい。
第1の燃料気化板351は、開口部351aとして、液体燃料21の導入口361を含む主流路362と、この主流路362から分岐する枝流路363とを有している。第2の燃料気化板352は、主流路362を覆う主流路被覆部372および導入口361を覆う導入口被覆部371を有している。これにより、この燃料電池では、燃料電極51に対する燃料供給の不均一性を低減し、発電効率を向上させることが可能となっている。
第2の燃料気化板352の開口部352aは、第1の燃料気化板351の枝流路363に連通している。これにより、枝流路363を通過してきた液体燃料21を、第2の燃料気化板352の開口部352aにおいて更にX−Y平面内方向に分配することが可能となる。
図15は、燃料気化板351,352の一部を拡大して表したものである。燃料気化板351,352同士の接合面と、枝流路363および開口部352aの側面とにより、角部381,382(ここでは、直角部)が形成されていることが好ましい。これにより、第1の実施の形態と同様に、角部381,382における曲率半径がゼロ(「0」)となり、この部分において極めて大きな毛管力を得ることが可能となる。
なお、燃料供給部31のセル側供給板313および第1の燃料気化板351との接合面と、枝流路353の側面とにより、角部383が形成されている。この角部383も、角部381,382と同様である。
また、第1の実施の形態と同様に、互いに接合された燃料気化板351,352同士において、枝流路363および開口部352aの長軸方向が互いに非平行となっていることが好ましい。このようにすることで、液体燃料21を、角部381,382に沿って、一方向だけでなく2方向以上(すなわち、全面)に濡れ広げることが可能となるからである。
具体的には、図14に示したように、導入口361は、セル側供給板313の六つの出口OLに対応し、主流路362はY方向を長軸とする直線状である。枝流路363は主流路362の両側に格子状または櫛歯状に設けられ、X方向を長軸としている。開口部352aは、例えば、Y方向を長軸とする多数の平行な長孔である。よって、枝流路363および開口部352aの長軸方向は互いに直交している。
また、図16に示したように、主流路362は、導入口361から放射状に設けられ、枝流路363は、主流路362の終点から、主流路362に交差する方向に(ここでは、直交して)設けられていてもよい。開口部352aは、例えば、Y方向を長軸とする多数の平行な長孔である。よって、枝流路363および開口部352aの長軸方向は互いに非平行となっている。
このような燃料気化板351,352は、第1の実施の形態と同様に、液体燃料21に対する濡れ性が良い材料、すなわち、液体燃料21に対する接触角θの余弦が正(接触角θが90度未満)の材料により構成されていることが好ましい。上述した数1により、液面の上昇高さhが正の値となるためには、接触角θの余弦は正(接触角θは90度未満)でなければならない(θ>90だとcosθ<0なので)からである。
具体的には、燃料気化板351,352は、第1の実施の形態と同様に、例えば、厚みが0.1mm程度であり、ステンレス鋼、アルミニウム、銅などの金属、PETなどのポリエステル系樹脂、環状オレフィンコポリマー(COC)、塩化ビニール樹脂、アクリル樹脂、酸化アルミニウムや酸化ケイ素がコーティングされた樹脂により構成されていることが好ましい。これらにオゾン処理などを施して、メタノールに対する濡れ性を向上させてもよい。
なお、燃料気化部35のうち最も電池本体5に近接した第2の燃料気化板352は、カソード側板状部材61と同様に、電池本体5を保護する外装部材としての機能を有していてもよい。その場合には、第2の燃料気化板352の厚みは、カソード側板状部材61と同様に、例えば1mm程度であることが好ましい。
燃料気化板351,352は、第1の実施の形態と同様に、互いに拡散接合により接合されていることが好ましい。貼り合せに接着剤などを用いていないので、液体燃料21による脆化を抑えることが可能となるからである。
この燃料電池2は、例えば、次のようにして製造することができる。
まず、上述した材料よりなる燃料電極51と酸素電極53との間に、上述した材料よりなる電解質膜52を挟み、熱圧着により接合し、電池セル5A〜5Fを形成する。
次いで、6個の電池セル5A〜5Fを3行×2列に配置し、接続部材(図示せず)により電気的に直列に接続する。なお、電解質膜52の周辺部には上述した材料よりなるシール材54を設け、このシール材54を接続部材(図示せず)にネジ締めにより固定する。
続いて、第1の実施の形態と同様にして、タンク側供給板311に入口ILを形成し、セル側供給板313に六つの出口OLを形成する。また、第1の実施の形態と同様にして、流路板312に、流路31A〜31Fの形状に合わせた切り抜きを設け、流路板312を間にしてタンク側供給板311とセル側供給板313とを貼り合わせることにより、燃料供給部31を形成する。
一方、上述した厚みおよび材料よりなる燃料気化板351,352を用意し、第1の燃料気化板351には、例えばフォトエッチングなどを用いた加工により、開口部351aとして、導入口361,主流路362および枝流路363を形成する。第2の燃料気化板352には、第1の燃料気化板351と同様の方法により、開口部352a,主流路被覆部372および導入口被覆部371を形成する。そののち、第1の実施の形態と同様にして、燃料気化板351,352を、例えば拡散接合によって接合させることにより、燃料気化部35を形成する。
燃料供給部31および燃料気化部35を形成したのち、これら燃料供給部31および燃料気化部35を、図14に示した積層順にて、電池本体5の燃料電極51側に設置し、燃料供給板3を形成する。
第1の実施の形態と同様に、燃料供給板3を構成する5層の積層板を、全てステンレス鋼により構成した場合、各積層板をフォトエッチングにて穴開け加工したのち、それらを拡散接合によって互いに貼り合わせるようにすることが可能である。その場合、貼り合わせの際に接着剤などを用いていないため、燃料(例えば、メタノール)による脆化が抑えられる。なお、(ステンレス鋼+フォトエッチング+拡散接合)という組み合わせの他に、(PET樹脂+プレス打ち抜き加工+レーザー溶着)という組み合わせとしてもよい。後者の組み合わせとしたほうが、前者の組み合わせと比べて安価に製造することができる。
そののち、連結された電池セル5A〜5Fの酸素電極53側にカソード側板状部材61を配置する。以上により、図13に示した燃料電池2が完成する。
この燃料電池2では、第1の実施の形態と同様に、液体燃料21が、燃料供給板3の入口ILに供給され、燃料供給板3内の燃料供給部31によって燃料気化部35へ供給され、燃料気化部35において気化される。そして気化した燃料が気液分離膜63を通過して各電池セル5A〜5Cへ到達し、それらの燃料電極51へそれぞれ供給される。一方、図示しない空気供給ポンプによって、各電池セル5A〜5Cの酸素電極53へ空気(酸素)が供給される。これにより、第1の実施の形態と同様にして、燃料電池2において発電動作がなされる。
その際、燃料供給部31では、第1の実施の形態と同様にして、液体燃料21が、入口ILから流路31A〜31Fを介して出口OLに到達し、燃料気化部35へ供給される。具体的には、タンク側供給板311における入口ILから液体燃料21が注入されると、流路板312において液体燃料21が6分配され、セル側供給板313における出口OLを経て、液体燃料21が燃料気化部35(具体的には、第1の燃料気化板351)に到達する。
ここでは、流路31A〜31Fが曲線CA〜CFをそれぞれ含むと共に、すべて等距離とされている。これにより、第1の実施の形態と同様に、入口ILと六つの出口OLとの直線距離の長短にかかわらず、ほぼ等量の液体燃料21がほぼ同タイミングで出口OLに到達する。よって、燃料気化部32において気化した燃料が均等に電池セル5A〜5Fに供給され、電池セル5A〜5Fの起電力のばらつきが小さくなり、燃料電池2の全体の出力が向上する。
燃料気化部35では、液体燃料21は、第1の燃料気化板351の導入口361から主流路362に入ったのち、主流路362から分岐する枝流路363を流れ、第2の燃料気化板352の開口部352aに入る。ここでは、第2の燃料気化板352に主流路被覆部372および導入口被覆部371が設けられているので、液体燃料21が導入口361および主流路362で気化してしまうことが抑えられ、枝流路363を介して面内で十分に分配される。また、気化した燃料の濃度の均一性も高くなる。
図17は、導入口被覆部371の有無による液体燃料21の気化状態の違いを拡大して表したものである。導入口被覆部371が設けられていない場合には、図17(B)に示したように、導入口361から入った液体燃料21は垂直方向の速度を持っているので、導入口361から噴出すると共に気化してしまう。気化した燃料は、導入口361の直上で矢印A1,A2に示したように等方的に拡散する。その拡散面は点線A3に示したような半球面となり、水平方向(面内方向)への分配が不足するおそれがある。
これに対して、導入口被覆部371が設けられている場合には、図17(A)に示したように、この導入口被覆部371によって、導入口361直上での液体燃料21の気化が抑えられる。また、導入口被覆部371によって、液体燃料21の流れが、垂直方向から矢印A4に示したような水平方向(面内方向)に変えられ、導入口被覆部371の端部から矢印A5に示したように気化および拡散する。その拡散面は、点線A6に示したような緩やかに傾斜した曲面となり、水平方向(面内方向)への分配が促進される。
また、この燃料電池2では、燃料気化板351,352同士の接合面と、枝流路363および開口部352aの側面とにより、角部381,382が形成されている。これにより、角部381,382における曲率半径がゼロ(「0」)となり、枝流路363の幅によらず、角部381,382において極めて大きな毛管力が得られる。従って、第1の実施の形態で説明したメカニズムにより、流路抵抗が低減され、液体燃料21が迅速に面内方向(X−Y平面方向)へ濡れ広がる。
更に、互いに接合された燃料気化板351,352同士において、枝流路363および開口部352aの長軸方向が互いに非平行となっている(具体的には、互いに直交している)ようにしたので、液体燃料21は、一方向だけでなく2方向以上(すなわち、全面)に濡れ広がる。よって、枝流路363および開口部352aの長軸方向が互いに平行となっていて、液体燃料21が一方向だけに濡れ広げられる場合と比べ、より均等に燃料が分配される。
例えば、図14および図15に示したように、燃料気化板351,352の接合辺に沿って、液体燃料21がX軸方向に浸透し(図14中の矢印P1参照)、その一部が第2の燃料気化板352の開口部352aへ到達する。開口部352aを通過した燃料は、燃料気化板351,352の接合辺に沿って、Y軸方向に浸透する(図14中の矢印P2参照)。このように、層間の接合辺に沿って上下左右(X軸方向およびY軸方向)に燃料が行き渡り、全面から均一な燃料が放出される。
このように本実施の形態では、第2の燃料気化板352に主流路被覆部372および導入口被覆部371を設けるようにしたので、導入口361および主流路362での液体燃料21の気化を抑え、枝流路363を介して液体燃料21を面内で十分に分配することが可能となる。よって、電池本体5の燃料電極51に対する燃料供給の不均一性を低減し、従来よりも発電効率を向上させることが可能となる。
(変形例5)
図18は、変形例5に係る燃料電池2Aの断面構成を表したものである。この燃料電池2Aは、燃料気化部35が4層の燃料気化板351〜354を有し、2枚の第1の燃料気化板351,351と、2枚の第2の燃料気化板352,352とが交互に積層されていることを除いては、上記第2の実施の形態と同様の構成を有し、同様にして製造することができる。本変形例では、2枚の第1の燃料気化板351,351と、2枚の第2の燃料気化板352,352とを交互に積層することにより、燃料を更に均一に分配することが可能となる。なお、燃料気化部35は4層に限られず、更に多層化することも可能であることは言うまでもない。
なお、上記第2の実施の形態および変形例5では、第1の燃料気化板351に導入口361および主流路362を設け、その第1の燃料気化板351に厚み方向で隣接する第2の燃料気化板352に主流路被覆部372および導入口被覆部371を設ける場合について説明した。しかしながら、変形例5のように燃料気化板351,352を多数積層する場合には、第1の燃料気化板351に導入口361および主流路362を設け、その第1の燃料気化板351との間に何層かをはさんで配置された上層の第2の燃料気化板352に主流路被覆部372および導入口被覆部371を設けることも可能である。
(適用例)
図19は、上記各実施の形態で説明した燃料電池を備えた電子機器の外観を表したものである。この電子機器100は、例えばノート型パーソナルコンピュータである機器本体110と、燃料電池120とを備えたポータブル電子機器であり、燃料電池120で発電される電気エネルギーにより機器本体110が駆動されるようになっている。
機器本体110は、例えば、文字等の入力操作のためのキーボード等を含む入力部111と、画像を表示する開閉可能な表示部112とを有している。なお、図11では、表示部112を開いた状態を表している。燃料電池120は、上記実施の形態の燃料電池1,2,2Aにより構成され、機器本体110の後面に取り付けられている。
更に、本発明の具体的な実施例について説明する。
(実施例1,2)
上記第2の実施の形態と同様にして、図13に示した燃料電池2を作製した。その際、第1の燃料気化板351の導入口361,主流路362および枝流路363と、第2の燃料気化板352の開口部352a,主流路被覆部372および導入口被覆部371とを、実施例1では図14に示した形状、実施例2では図16に示した形状でそれぞれ形成した。なお、燃料供給板3の各積層板としてはステンレス鋼を用い、拡散接合により互いに接合した。
(比較例1)
比較例1として、図20および図21に示したように、第2の燃料気化板352に主流路被覆部および導入口被覆部を設けず、多数の平行な長孔よりなる開口部352aのみを設けたことを除いては、上記実施例1,2と同様にして燃料電池を作製した。
得られた実施例1,2および比較例1の燃料電池について、出力を測定し、比較例1を100%としたときの出力比を調べた。その結果を図22に示す。図22から分かるように、実施例1,2のいずれについても、比較例1に比べて15%程度出力が向上した。すなわち、第2の燃料気化板352に、主流路被覆部372および導入口被覆部371を設けるようにすれば、従来よりも出力を向上させることが可能となることが分かった。
以上、実施の形態および実施例を挙げて本発明を説明したが、本発明はこれらの実施の形態等に限定されるものではなく、種々の変形が可能である。
例えば、上記第1の実施の形態等において説明した燃料供給部32(燃料気化板321〜323)が、電池セル5A〜5Cにおける燃料電極51(負極、アノード)を支持するためのアノードプレート(支持板)を兼ねているようにしてもよい。このように構成した場合、各電池セル5A〜5Cで生ずる熱を利用して、燃料気化部32の温度を直接的に上昇させることができる。よって、気化熱に起因した燃料気化部32におけるフラッディング現象を抑えることができ、電池セル5A〜5Fにおける発電効率をさらに向上させることが可能となる。
また、上記第1の実施の形態等では、流路31A〜31Fが曲線CA〜CFをそれぞれ含む場合について説明したが、流路31A〜31Fがすべて等距離である限り必ずしもすべての流路31A〜31Fに曲線が含まれている必要はなく、流路31A〜31Fの少なくとも一本に曲線が含まれていればよい。
また、上記第1の実施の形態等では、燃料電池1および燃料供給板3の構成について具体的に説明したが、燃料電池1または燃料供給板3は、他の構造あるいは他の材料により構成するようにしてもよい。例えば、燃料供給板3内の燃料供給部31において、タンク側供給板311を省略し、流路板312とセル側供給板313のみとしてもよい。その場合は流路板312に入口ILを設けるようにすることができる。また、流路板312は、両面接着シートの代わりに、アルミニウム(Al)またはアルミニウム(Al)を含む合金よりなる金属板の両面に、ポリプロピレン等の熱融着層を設けたものとしてもよい。
また、燃料供給部31の構成は、図3および図4に示した形状のものには限られず、他の形状のものとしてもよい。
また、上記第1の実施の形態等では、燃料電池1において、六つの電池セル5A〜5Fを3行×2列に配置した場合について説明したが、電池セルの数や配置は特に限定されず、八つの電池セルを4行×2列に配置するなど、適宜変更可能である。また、さらに上記第1の実施の形態等では、電池本体5が複数の電池セルを含んで構成されている場合について説明したが、電池本体5が一つの電池セルを含んで構成されているようにしてもよい。
更に、例えば、上記実施の形態等では、電池本体5が、複数の電池セル5A〜5Fを横方向(積層面内方向)に積層した平板発電体である場合について説明したが、本発明は、複数の電池セルを縦方向(積層方向)に積層して燃料電池スタックを構成する場合にも適用することができる。
また、上記実施の形態等において説明した各構成要素の材料および厚み、または燃料電池の発電条件などは限定されるものではなく、他の材料および厚みとしてもよく、または他の発電条件としてもよい。例えば、本発明は、固体の電解質膜に代えて液状の電解質(電解液)を用いる場合にも適用可能である。
また、本発明は、液体燃料を用いる燃料電池に限らず、水素など液体燃料以外の物質を燃料として用いる燃料電池についても適用可能である。加えて、例えば、液体燃料は、メタノールのほか、エタノールやジメチルエーテルなどの他の液体燃料でもよい。更にまた、本発明は、気化型だけでなく、液体燃料を供給する場合にも適用可能である。
加えて、上記第2の実施の形態では、燃料気化板351,352同士の接合面と、枝流路363および開口部352aの側面とにより、角部381,382を形成した場合について説明したが、第2の実施の形態は角部381,382を設けない場合にも適用可能である。
なお、変形例1〜4は、上記第2の実施の形態または変形例5にも適用可能である。
本発明の燃料電池は、例えば、携帯電話、電子写真機、電子手帳、ノートブック型パーソナルコンピュータ、カムコーダ、携帯型ゲーム機、携帯型ビデオプレーヤー、ヘッドフォンステレオまたはPDA(Personal Digital Assistants )等の携帯型の電子機器に好適に用いることが可能である。
1,2,2A…燃料電池、20…燃料タンク、21…液体燃料、22…燃料供給ポンプ、23…ノズル、3…燃料供給板、31…燃料供給部、31A〜31F…流路、311…タンク側供給板、312…流路板、313…セル側供給板、32,35…燃料気化部、321〜323…燃料気化板、321a〜323a,351a,352a…開口部、331,332,381〜383…角部、342,343…突起、351,353…第1の燃料気化板、352,354…第2の燃料気化板、361…導入口、362…主流路、363…枝流路、372…主流路被覆部、371…導入口被覆部、41……燃料漏れ防止部、5…電池本体、5A〜5F…電池セル、51…燃料電極(アノード極、負極)、52…電解質膜、53…酸素電極(カソード極、正極)、6A〜6C…熱伝導部、CA〜CF…曲線、IL…入口、OL…出口、N…n角形、d1〜d3…燃料気化板の厚み、w1〜w3…開口部の幅、α12,α23,α31…開口部の長軸方向同士がなす角度。

Claims (18)

  1. 発電部を含む電池本体と、
    液体燃料を収容する燃料タンクと、
    前記燃料タンクから供給される液体燃料を気化させて気体燃料を前記発電部へ供給するための燃料気化部を有する燃料供給板と
    を備え、
    前記燃料気化部は、厚み方向で互いに接合されると共に、各々が開口部を有する複数の燃料気化板により構成され、
    前記燃料気化板同士の接合面と前記開口部の側面とにより、角部が形成されている
    燃料電池。
  2. 前記開口部は所定方向に沿った長軸をなし、
    互いに接合された燃料気化板同士において、前記開口部の長軸方向が互いに非平行となっている
    請求項1に記載の燃料電池。
  3. 前記燃料気化部が、3つの燃料気化板により構成されている
    請求項2に記載の燃料電池。
  4. 互いに接合された燃料気化板同士において、前記開口部の長軸方向が、互いに120°の角度をなしている
    請求項3に記載の燃料電池。
  5. 前記燃料気化部が、2つの燃料気化板により構成されている
    請求項2に記載の燃料電池。
  6. 互いに接合された燃料気化板同士において、前記開口部の長軸方向が互いに直交している
    請求項5に記載の燃料電池。
  7. 前記複数の燃料気化板は、
    前記開口部として、燃料の導入口を含む主流路および前記主流路から分岐する枝流路を有する第1の燃料気化板と、
    前記主流路を覆う主流路被覆部および前記導入口を覆う導入口被覆部を有する第2の燃料気化板と
    を含む請求項1に記載の燃料電池。
  8. 前記第2の燃料気化板は、前記開口部として、前記枝流路に連通する貫通孔を有する
    請求項7に記載の燃料電池。
  9. 前記燃料気化部は、前記第1の燃料気化板と前記第2の燃料気化板とが交互に積層された構成を有する
    請求項7または8に記載の燃料電池。
  10. 前記電池本体が複数の発電部を含んで構成され、
    前記燃料供給板は、前記燃料供給タンクにおける液体燃料を前記燃料気化部へ供給するための燃料供給部をさらに有し、
    前記燃料供給部は、前記燃料タンクから液体燃料が供給される入口および前記複数の発電部に各々対応する複数の出口との間に複数の流路を有し、
    前記複数の流路は、少なくとも一本に曲線を含むと共にすべて等距離となっている
    請求項1ないし請求項9のいずれか1項に記載の燃料電池。
  11. 前記燃料気化板は、前記液体燃料に対する接触角θの余弦が正の材料により構成されている
    請求項1に記載の燃料電池。
  12. 前記燃料気化板の厚みが、前記開口部の幅よりも小さくなっている
    請求項1に記載の燃料電池。
  13. 前記発電部で生じた熱を前記燃料気化板へ伝導させる熱伝導部を備えた
    請求項1に記載の燃料電池。
  14. 前記発電部が、前記燃料供給板側から順に、負極、電解質膜および正極を含んで構成され、
    前記燃料気化板が、前記負極を支持するための支持板を兼ねている
    請求項1に記載の燃料電池。
  15. 複数の燃料気化板同士が、互いに拡散接合により接合されている
    請求項1に記載の燃料電池。
  16. 発電部を含む電池本体と、
    液体燃料を収容する燃料タンクと、
    前記燃料タンクから供給される液体燃料を気化させて気体燃料を前記発電部へ供給するための燃料気化部を有する燃料供給板と
    を備え、
    前記燃料気化部は、厚み方向で互いに接合されると共に、各々が開口部を有する複数の燃料気化板により構成され、
    前記複数の燃料気化板は、
    前記開口部として、燃料の導入口を含む主流路および前記主流路から分岐する枝流路を有する第1の燃料気化板と、
    前記主流路を覆う主流路被覆部および前記導入口を覆う導入口被覆部を有する第2の燃料気化板と
    を含む燃料電池。
  17. 燃料電池を備え、
    前記燃料電池は、
    発電部を含む電池本体と、
    液体燃料を収容する燃料タンクと、
    前記燃料タンクから供給される液体燃料を気化させて気体燃料を前記発電部へ供給するための燃料気化部を有する燃料供給板と
    を備え、
    前記燃料気化部は、厚み方向で互いに接合されると共に、各々が開口部を有する複数の燃料気化板により構成され、
    前記燃料気化板同士の接合面と前記開口部の側面とにより、角部が形成されている
    電子機器。
  18. 燃料電池を備え、
    前記燃料電池は、
    発電部を含む電池本体と、
    液体燃料を収容する燃料タンクと、
    前記燃料タンクから供給される液体燃料を気化させて気体燃料を前記発電部へ供給するための燃料気化部を有する燃料供給板と
    を備え、
    前記燃料気化部は、厚み方向で互いに接合されると共に、各々が開口部を有する複数の燃料気化板により構成され、
    前記複数の燃料気化板は、
    前記開口部として、燃料の導入口を含む主流路および前記主流路から分岐する枝流路を有する第1の燃料気化板と、
    前記主流路を覆う主流路被覆部および前記導入口を覆う導入口被覆部を有する第2の燃料気化板と
    を含む電子機器。
JP2009141076A 2008-09-05 2009-06-12 燃料電池および電子機器 Expired - Fee Related JP5370750B2 (ja)

Priority Applications (1)

Application Number Priority Date Filing Date Title
JP2009141076A JP5370750B2 (ja) 2008-09-05 2009-06-12 燃料電池および電子機器

Applications Claiming Priority (3)

Application Number Priority Date Filing Date Title
JP2008228254 2008-09-05
JP2008228254 2008-09-05
JP2009141076A JP5370750B2 (ja) 2008-09-05 2009-06-12 燃料電池および電子機器

Publications (2)

Publication Number Publication Date
JP2010086941A true JP2010086941A (ja) 2010-04-15
JP5370750B2 JP5370750B2 (ja) 2013-12-18

Family

ID=42250681

Family Applications (1)

Application Number Title Priority Date Filing Date
JP2009141076A Expired - Fee Related JP5370750B2 (ja) 2008-09-05 2009-06-12 燃料電池および電子機器

Country Status (1)

Country Link
JP (1) JP5370750B2 (ja)

Cited By (1)

* Cited by examiner, † Cited by third party
Publication number Priority date Publication date Assignee Title
JP2014137846A (ja) * 2013-01-15 2014-07-28 Nippon Telegr & Teleph Corp <Ntt> 平板型燃料電池

Citations (5)

* Cited by examiner, † Cited by third party
Publication number Priority date Publication date Assignee Title
JP2006019162A (ja) * 2004-07-02 2006-01-19 Toyota Motor Corp 燃料電池
JP2007123039A (ja) * 2005-10-27 2007-05-17 Fujitsu Ltd 燃料電池
JP2007157593A (ja) * 2005-12-07 2007-06-21 Toshiba Corp 燃料電池
JP2008066275A (ja) * 2006-08-11 2008-03-21 Sony Corp 燃料電池、電子機器および燃料供給方法
JP2009158407A (ja) * 2007-12-27 2009-07-16 Toshiba Corp 燃料電池

Patent Citations (5)

* Cited by examiner, † Cited by third party
Publication number Priority date Publication date Assignee Title
JP2006019162A (ja) * 2004-07-02 2006-01-19 Toyota Motor Corp 燃料電池
JP2007123039A (ja) * 2005-10-27 2007-05-17 Fujitsu Ltd 燃料電池
JP2007157593A (ja) * 2005-12-07 2007-06-21 Toshiba Corp 燃料電池
JP2008066275A (ja) * 2006-08-11 2008-03-21 Sony Corp 燃料電池、電子機器および燃料供給方法
JP2009158407A (ja) * 2007-12-27 2009-07-16 Toshiba Corp 燃料電池

Cited By (1)

* Cited by examiner, † Cited by third party
Publication number Priority date Publication date Assignee Title
JP2014137846A (ja) * 2013-01-15 2014-07-28 Nippon Telegr & Teleph Corp <Ntt> 平板型燃料電池

Also Published As

Publication number Publication date
JP5370750B2 (ja) 2013-12-18

Similar Documents

Publication Publication Date Title
JP5168950B2 (ja) 燃料電池、電子機器および燃料供給方法
JP5018150B2 (ja) 燃料電池、電子機器、燃料供給板および燃料供給方法
US7691519B2 (en) Fuel cell
JP5234879B2 (ja) 燃料電池
JP5370750B2 (ja) 燃料電池および電子機器
JP2007095541A (ja) 燃料電池
Peng et al. A high efficient micro-proton exchange membrane fuel cell by integrating micro-nano synergical structures
JP5360452B2 (ja) 燃料電池および電子機器
JP2011008959A (ja) 燃料電池
JP2011150853A (ja) 固体高分子型燃料電池
JP2009087844A (ja) 燃料電池の発電セル構造及び発電セルの湿潤調整方法
JP5059416B2 (ja) 燃料電池
JP4271166B2 (ja) 燃料電池
JP6104103B2 (ja) 燃料電池
WO2010013425A1 (ja) 燃料電池
US20110305968A1 (en) Fuel cell stack
JP2009170406A (ja) 燃料電池
JP2009134928A (ja) 燃料電池
JP6132697B2 (ja) 燃料電池
JP5383587B2 (ja) 燃料電池
JP2009146824A (ja) 燃料電池
JP2010157358A (ja) 燃料電池および電子機器
JP2010157359A (ja) 燃料電池および電子機器
JP2010160937A (ja) 燃料電池およびその製造方法
JP2006252939A (ja) 燃料電池システム

Legal Events

Date Code Title Description
A621 Written request for application examination

Free format text: JAPANESE INTERMEDIATE CODE: A621

Effective date: 20120214

A977 Report on retrieval

Free format text: JAPANESE INTERMEDIATE CODE: A971007

Effective date: 20130620

A131 Notification of reasons for refusal

Free format text: JAPANESE INTERMEDIATE CODE: A131

Effective date: 20130702

A521 Written amendment

Free format text: JAPANESE INTERMEDIATE CODE: A523

Effective date: 20130807

TRDD Decision of grant or rejection written
A01 Written decision to grant a patent or to grant a registration (utility model)

Free format text: JAPANESE INTERMEDIATE CODE: A01

Effective date: 20130822

A61 First payment of annual fees (during grant procedure)

Free format text: JAPANESE INTERMEDIATE CODE: A61

Effective date: 20130904

LAPS Cancellation because of no payment of annual fees