JP2010084863A - 運動案内装置 - Google Patents

運動案内装置 Download PDF

Info

Publication number
JP2010084863A
JP2010084863A JP2008255351A JP2008255351A JP2010084863A JP 2010084863 A JP2010084863 A JP 2010084863A JP 2008255351 A JP2008255351 A JP 2008255351A JP 2008255351 A JP2008255351 A JP 2008255351A JP 2010084863 A JP2010084863 A JP 2010084863A
Authority
JP
Japan
Prior art keywords
track rail
rail body
rolling element
moving block
guide device
Prior art date
Legal status (The legal status is an assumption and is not a legal conclusion. Google has not performed a legal analysis and makes no representation as to the accuracy of the status listed.)
Granted
Application number
JP2008255351A
Other languages
English (en)
Other versions
JP5224519B2 (ja
Inventor
Hiroaki Mochizuki
廣昭 望月
Hiroyuki Ishii
博幸 石井
Current Assignee (The listed assignees may be inaccurate. Google has not performed a legal analysis and makes no representation or warranty as to the accuracy of the list.)
THK Co Ltd
Original Assignee
THK Co Ltd
Priority date (The priority date is an assumption and is not a legal conclusion. Google has not performed a legal analysis and makes no representation as to the accuracy of the date listed.)
Filing date
Publication date
Application filed by THK Co Ltd filed Critical THK Co Ltd
Priority to JP2008255351A priority Critical patent/JP5224519B2/ja
Priority to US12/569,620 priority patent/US8272783B2/en
Priority to BRPI0903848-5A priority patent/BRPI0903848B1/pt
Priority to FR0956790A priority patent/FR2936576B1/fr
Publication of JP2010084863A publication Critical patent/JP2010084863A/ja
Application granted granted Critical
Publication of JP5224519B2 publication Critical patent/JP5224519B2/ja
Active legal-status Critical Current
Anticipated expiration legal-status Critical

Links

Images

Classifications

    • FMECHANICAL ENGINEERING; LIGHTING; HEATING; WEAPONS; BLASTING
    • F16ENGINEERING ELEMENTS AND UNITS; GENERAL MEASURES FOR PRODUCING AND MAINTAINING EFFECTIVE FUNCTIONING OF MACHINES OR INSTALLATIONS; THERMAL INSULATION IN GENERAL
    • F16CSHAFTS; FLEXIBLE SHAFTS; ELEMENTS OR CRANKSHAFT MECHANISMS; ROTARY BODIES OTHER THAN GEARING ELEMENTS; BEARINGS
    • F16C29/00Bearings for parts moving only linearly
    • F16C29/04Ball or roller bearings
    • F16C29/06Ball or roller bearings in which the rolling bodies circulate partly without carrying load
    • F16C29/0633Ball or roller bearings in which the rolling bodies circulate partly without carrying load with a bearing body defining a U-shaped carriage, i.e. surrounding a guide rail or track on three sides
    • F16C29/0635Ball or roller bearings in which the rolling bodies circulate partly without carrying load with a bearing body defining a U-shaped carriage, i.e. surrounding a guide rail or track on three sides whereby the return paths are provided as bores in a main body of the U-shaped carriage, e.g. the main body of the U-shaped carriage is a single part with end caps provided at each end
    • F16C29/0638Ball or roller bearings in which the rolling bodies circulate partly without carrying load with a bearing body defining a U-shaped carriage, i.e. surrounding a guide rail or track on three sides whereby the return paths are provided as bores in a main body of the U-shaped carriage, e.g. the main body of the U-shaped carriage is a single part with end caps provided at each end with balls
    • F16C29/064Ball or roller bearings in which the rolling bodies circulate partly without carrying load with a bearing body defining a U-shaped carriage, i.e. surrounding a guide rail or track on three sides whereby the return paths are provided as bores in a main body of the U-shaped carriage, e.g. the main body of the U-shaped carriage is a single part with end caps provided at each end with balls with two rows of balls, one on each side of the rail
    • AHUMAN NECESSITIES
    • A47FURNITURE; DOMESTIC ARTICLES OR APPLIANCES; COFFEE MILLS; SPICE MILLS; SUCTION CLEANERS IN GENERAL
    • A47BTABLES; DESKS; OFFICE FURNITURE; CABINETS; DRAWERS; GENERAL DETAILS OF FURNITURE
    • A47B88/00Drawers for tables, cabinets or like furniture; Guides for drawers
    • A47B88/40Sliding drawers; Slides or guides therefor
    • A47B88/483Sliding drawers; Slides or guides therefor with single extensible guides or parts
    • A47B88/487Sliding drawers; Slides or guides therefor with single extensible guides or parts with rollers, ball bearings, wheels, or the like
    • FMECHANICAL ENGINEERING; LIGHTING; HEATING; WEAPONS; BLASTING
    • F16ENGINEERING ELEMENTS AND UNITS; GENERAL MEASURES FOR PRODUCING AND MAINTAINING EFFECTIVE FUNCTIONING OF MACHINES OR INSTALLATIONS; THERMAL INSULATION IN GENERAL
    • F16CSHAFTS; FLEXIBLE SHAFTS; ELEMENTS OR CRANKSHAFT MECHANISMS; ROTARY BODIES OTHER THAN GEARING ELEMENTS; BEARINGS
    • F16C29/00Bearings for parts moving only linearly
    • F16C29/002Elastic or yielding linear bearings or bearing supports
    • FMECHANICAL ENGINEERING; LIGHTING; HEATING; WEAPONS; BLASTING
    • F16ENGINEERING ELEMENTS AND UNITS; GENERAL MEASURES FOR PRODUCING AND MAINTAINING EFFECTIVE FUNCTIONING OF MACHINES OR INSTALLATIONS; THERMAL INSULATION IN GENERAL
    • F16CSHAFTS; FLEXIBLE SHAFTS; ELEMENTS OR CRANKSHAFT MECHANISMS; ROTARY BODIES OTHER THAN GEARING ELEMENTS; BEARINGS
    • F16C29/00Bearings for parts moving only linearly
    • F16C29/005Guide rails or tracks for a linear bearing, i.e. adapted for movement of a carriage or bearing body there along
    • FMECHANICAL ENGINEERING; LIGHTING; HEATING; WEAPONS; BLASTING
    • F16ENGINEERING ELEMENTS AND UNITS; GENERAL MEASURES FOR PRODUCING AND MAINTAINING EFFECTIVE FUNCTIONING OF MACHINES OR INSTALLATIONS; THERMAL INSULATION IN GENERAL
    • F16CSHAFTS; FLEXIBLE SHAFTS; ELEMENTS OR CRANKSHAFT MECHANISMS; ROTARY BODIES OTHER THAN GEARING ELEMENTS; BEARINGS
    • F16C33/00Parts of bearings; Special methods for making bearings or parts thereof
    • F16C33/30Parts of ball or roller bearings
    • F16C33/32Balls
    • FMECHANICAL ENGINEERING; LIGHTING; HEATING; WEAPONS; BLASTING
    • F16ENGINEERING ELEMENTS AND UNITS; GENERAL MEASURES FOR PRODUCING AND MAINTAINING EFFECTIVE FUNCTIONING OF MACHINES OR INSTALLATIONS; THERMAL INSULATION IN GENERAL
    • F16CSHAFTS; FLEXIBLE SHAFTS; ELEMENTS OR CRANKSHAFT MECHANISMS; ROTARY BODIES OTHER THAN GEARING ELEMENTS; BEARINGS
    • F16C21/00Combinations of sliding-contact bearings with ball or roller bearings, for exclusively rotary movement
    • FMECHANICAL ENGINEERING; LIGHTING; HEATING; WEAPONS; BLASTING
    • F16ENGINEERING ELEMENTS AND UNITS; GENERAL MEASURES FOR PRODUCING AND MAINTAINING EFFECTIVE FUNCTIONING OF MACHINES OR INSTALLATIONS; THERMAL INSULATION IN GENERAL
    • F16CSHAFTS; FLEXIBLE SHAFTS; ELEMENTS OR CRANKSHAFT MECHANISMS; ROTARY BODIES OTHER THAN GEARING ELEMENTS; BEARINGS
    • F16C2233/00Monitoring condition, e.g. temperature, load, vibration
    • FMECHANICAL ENGINEERING; LIGHTING; HEATING; WEAPONS; BLASTING
    • F16ENGINEERING ELEMENTS AND UNITS; GENERAL MEASURES FOR PRODUCING AND MAINTAINING EFFECTIVE FUNCTIONING OF MACHINES OR INSTALLATIONS; THERMAL INSULATION IN GENERAL
    • F16CSHAFTS; FLEXIBLE SHAFTS; ELEMENTS OR CRANKSHAFT MECHANISMS; ROTARY BODIES OTHER THAN GEARING ELEMENTS; BEARINGS
    • F16C29/00Bearings for parts moving only linearly
    • F16C29/02Sliding-contact bearings

Landscapes

  • Engineering & Computer Science (AREA)
  • General Engineering & Computer Science (AREA)
  • Mechanical Engineering (AREA)
  • Bearings For Parts Moving Linearly (AREA)

Abstract

【課題】可動体をがたつかせずに円滑に案内した上で、可動体を本体部から分離するのも容易な運動案内装置を提供する。
【解決手段】ボール転走溝1aを有する軌道レール1に移動ブロック2を組み付ける。移動ブロック2は、軌道レール1のボール転走溝1aに対向する負荷ボール転走溝2aを含むボール循環路を有する。ボール循環路には多数のボールが配列される。軌道レール1は、ボール転走溝1aを有することなく、相手部品に取り付けられる取付けピース4と、ボール転走溝1aを有し、取付けピース4に脱着可能に取り付けられる軌道レール本体6と、を含む。取付けピース4を相手部品に取り付けた状態で、移動ブロック2が組み付けられた軌道レール本体6を取付けピース4から取り外すことができる。
【選択図】図3

Description

本発明は、本体部に対して可動体が相対的に直線運動又は曲線運動するのを案内する運動案内装置に関する。
この種の運動案内装置として、軌道レールと、多数の転動体を介して軌道レールにスライド可能に組み付けられる鞍状の移動ブロックと、を備えるリニアガイドが知られている。
軌道レールには、長手方向に沿って複数条の転動体転走溝が形成される。移動ブロックには、軌道レールの転動体転走溝に対向する複数条の負荷転動体転走溝、及び負荷転動体転走溝と平行に伸びる転動体戻し路が形成される。移動ブロックの移動方向の両端部には、一対のエンドプレートが取付けられる。エンドプレートには、負荷転動体転走溝の一端と転動体戻し通路の一端とを接続するU字状の方向転換路が形成される。これら負荷転動体転走溝、転動体戻し通路及び方向転換路によって構成されるサーキート状の転動体循環路には、複数の転動体が配列される。軌道レールに対する移動ブロックの相対的な運動によって、複数の転動体が軌道レールの転動体転走溝と移動ブロックの負荷転動体転走溝との間を転がり運動する。
従来の一般的な運動案内装置は、工作機械、半導体・液晶製造装置等の産業機械に組み込まれ、ベース等の本体部に対してテーブル等の可動体が直線運動や曲線運動するのを案内する。運動案内装置には、重量のある可動体を支持できるように高い剛性を持つこと、高精度に可動体を位置決めできるように高い走り精度を持つことが要求される。この要求を満足するため、軌道レール、移動ブロック及び転動体には剛性の高い鋼材が使用されている。そして、軌道レール及び移動ブロックは、本体部及び可動体にボルトを用いて直接固定される(例えば特許文献1参照)。
特開平6−307445号公報
しかし近年、運動案内装置の用途も多様化しつつある。産業機械のみならず、自動車、航空機、各家庭の民生品に組み込まれる場合も多くなってきた。運動案内装置が民生品に組み込まれた場合、運動案内装置には高い剛性、高い走り精度というよりもむしろ、可動体を本体部から取り外して清掃等のメンテナンスができるように、可動体を本体部から分離できることや、運動案内装置自体が軽量であることが要求される。もちろん、民生品に組み込まれたとしても、可動体をがたつかせずに円滑に案内できるという運動案内装置本来の特性も要求される。
しかし、軌道レール及び移動ブロックを本体部及び可動体にボルトを用いて直接固定する従来の一般的な運動案内装置を使用すると、可動体をがたつかせずに円滑に案内できるものの、移動ブロックのストロークを制限した場合、可動体を本体部から分離するためには、ボルトを取り外して可動体を移動ブロックから分離したり、ボルトを取り外して軌道レールを本体部から分離したりする必要があるので、可動体を本体部から分離することが困難になる。たとえ特許文献1に記載の運動案内装置のように、転動体転走溝が形成された軌道レールを分割し、分割レールを軌道レール本体に結合したとしても、可動体を本体部から分離し難いことには変わりはない。
そこで本発明は、可動体をがたつかせずに円滑に案内した上で、可動体を本体部から分離するのも容易な運動案内装置を提供することを目的とする。
以下、本発明について説明する。
上記課題を解決するために請求項1に記載の発明は、転動体転走部を有する軌道レールと、前記軌道レールの前記転動体転走部に対向する負荷転動体転走部を含む転動体循環路を有し、前記軌道レールに相対的に運動可能に組み付けられる移動ブロックと、前記移動ブロックの前記転動体循環路に配列される複数の転動体と、を備える運動案内装置において、前記軌道レールは、前記転動体転走部を有することなく、相手部品に取り付けられる取付け部材と、前記転動体転走部を有し、前記取付け部材に脱着可能に取り付けられる軌道レール本体と、を含む運動案内装置である。
請求項2に記載の発明は、請求項1に記載の運動案内装置において、前記軌道レール本体には、前記取付け部材が前記軌道レール本体の長手方向にスライドし、かつ前記長手方向に直交する方向に前記軌道レール本体から抜けるのを防止する取付け部材挿入溝が形成され、前記軌道レール本体と前記取付け部材との間には、前記長手方向に直交する断面においてこれらの間に生ずるすきまを無くすがたつき防止手段が設けられることを特徴とする。
請求項3に記載の発明は、請求項2に記載の運動案内装置において、前記がたつき防止手段は、先端に向かって厚みが薄くなる楔部を有し、前記すきまを無くすように前記軌道レール本体と前記取付け部材との間にかませられるテーパ部品を含むことを特徴とする。
請求項4に記載の発明は、請求項2又は3に記載の運動案内装置において、前記がたつき防止手段は、前記軌道レール本体に設けられ、前記取付け部材が前記軌道レール本体に対して前記長手方向へ所定量以上スライドするのを制限すると共に、前記すきまを無くすように前記取付け部材を前記軌道レール本体に密着させる弾性体を含むことを特徴とする。
請求項5に記載の発明は、請求項2ないし4のいずれかに記載の運動案内装置において、前記軌道レール本体の前記長手方向の全長は、前記取付け部材の前記長手方向の全長にほぼ等しいことを特徴とする。
請求項6に記載の発明は、請求項1ないし5のいずれかに記載の運動案内装置において、前記軌道レール本体には、前記取付け部材が前記軌道レール本体の長手方向にスライドし、かつ前記長手方向に直交する方向に前記軌道レール本体から抜けるのを防止する取付け部材挿入溝が形成され、前記軌道レール本体には、前記取付け部材挿入溝に挿入される前記取付け部材を露出させる開口部が設けられ、前記取付け部材には、軸の回りを揺動することによって前記開口部に係合したり前記開口部との係合を解除したりする係合体、及びこの係合体を前記軌道レール本体に向かって付勢する付勢部材が設けられ、前記軌道レール本体に前記取付け部材を取り付けるとき、前記軌道レール本体に挿入された前記取付け部材の前記係合体が前記開口部の位置まで到達すると、前記付勢部材の付勢力によって前記係合体が前記開口部に係合し、前記取付け部材を前記軌道レール本体から取り外すとき、前記開口部を通して前記係合体を押圧し、前記係合体と前記開口部との係合を解除することによって、前記取付け部材を前記軌道レール本体から前記長手方向に抜き取ることができることを特徴とする。
請求項7に記載の発明は、転動体転走部を有する軌道レールと、前記軌道レールの前記転動体転走部に対向する負荷転動体転走部を含む転動体循環路を有し、前記軌道レールに相対的に運動可能に組み付けられる移動ブロックと、前記移動ブロックの前記転動体循環路に配列される複数の転動体と、を備える運動案内装置において、前記移動ブロックは、前記転動体循環路を有することなく、相手部品に取り付けられる取付け部材と、前記転動体循環路を有し、前記取付け部材に脱着可能に取り付けられる移動ブロック本体と、を含む運動案内装置である。
本発明によれば、取付け部材を相手部品に取り付けた状態で、移動ブロックが組み付けられた軌道レール本体を取付け部材から取り外すことができるので、可動体を本体部から分離するのが容易になる。しかも、従来の運動案内装置と同様な転動体循環構造を採用するので、可動体をがたつかせずに円滑に案内することができ、また可動体のストロークも長くすることができる。
以下添付図面に基づいて、本発明の実施形態を詳細に説明する。図1は本発明の第一の実施形態の運動案内装置の斜視図を示す。軌道レール1は直線的に細長く伸びる。軌道レール1には、鞍状の移動ブロック2が直線運動可能に組み付けられる。軌道レールに対する移動ブロックの直線運動は相対的なものであり、軌道レールが移動ブロックに対して直線運動してもよい。軌道レール1及び移動ブロック2の一方が可動体に取り付けられ、他方が本体部に取り付けられる。
図2(a)は運動案内装置の平面図を示し、図2(b)は運動案内装置の側面図を示す。軌道レール1には、二つの移動ブロック2が組み付けられる。軌道レール1の長手方向の両端部には、移動ブロック2のストロークを制限するストッパ3が取り付けられる。
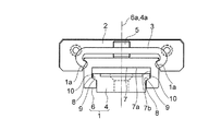
図3の運動案内装置の正面図に示されるように、ストッパ3は軌道レール1の幅方向に細長い鋼材をC形に折り曲げてなる。折り曲げられたストッパ3の両端部は軌道レール1のボール転走溝1aに引っ掛けられる。ストッパ3と軌道レール1との結合を強固なものにするため、ストッパ3には止めねじ5が螺合される。
軌道レール1は、相手部品である可動体又は本体部に取り付けられる取付け部材としての取付けピース4と、取付けピース4に着脱可能に取り付けられる軌道レール本体6と、から構成される。軌道レール本体6には、長手方向に伸びる取付けピース挿入溝7が形成される。この取付けピース挿入溝7は、軌道レール本体6の中心線6aに関して左右対称に形成され、軌道レール本体6の中心線6aに直交する底壁7aと、軌道レール本体6の中心線6aに平行な一対の側壁7bと、から構成される。側壁7bには、対向する一対の側壁7b間の上部の幅が下部よりも広がるように、下方に向かって傾斜する傾斜面8が形成される。取付けピース4もその中心線4aに関して左右対称に形成される。取付けピース4の左右の側面には、取付けピース挿入溝7の傾斜面に対応した傾斜面9が形成される。この傾斜面9によって取付けピース4の上部には、左右方向の幅を広げる拡大部10が形成される。
取付けピース挿入溝7には、取付けピース4が軌道レール本体6の長手方向にスライド可能に挿入される。取付けピース4の拡大部10の傾斜面9が取付けピース挿入溝7の傾斜面8に当接するので、長手方向に直交する方向(この図3では下方向)に取付けピース4が取付けピース挿入溝7から抜けるのが防止される。
ここで、取付けピース挿入溝7に対して取付けピース4をスライドさせるために、軌道レール本体6と取付けピース4との間には、長手方向に直交する断面においてすきまが空いている。しかし、すきまが空いていると、軌道レール本体6と取付けピース4との間にがたつきが発生する。がたつきを防止するために、軌道レール本体6と取付けピース4との間には、これらの間に生ずるすきまを無くすがたつき防止手段11,12が設けられる。がたつき防止手段11,12の構成については後述する。
図2(b)に示されるように、軌道レール本体6の取付けピース挿入溝7は、軌道レール本体6の長手方向の全長に渡って伸びる。取付けピース4も、取付けピース挿入溝7の長手方向のほぼ全長に渡って伸びる。がたつき防止手段11,12は、軌道レール本体6の長手方向の両端部に設けられ、軌道レール本体6の長手方向の両端部に生ずるがたを防止する。取付けピース4を取付けピース挿入溝7の長手方向のほぼ全長に渡って伸ばすことで、これらの間に生ずるがたを防止し易くなる。軌道レール本体6の長手方向の両端部にがたつき防止手段を設けることで、軌道レール本体6に生ずるがたを効果的に防止することができる。
また図2(b)に示されるように、取付けピース4には、取付けピース4が取付けピース挿入溝7から抜けるのを防止する抜け防止手段14が取り付けられる。軌道レール本体6には、取付けピース挿入溝7に挿入される取付けピース4を露出させる開口部15が空けられる。抜け防止手段14は、開口部15に係合し、取付けピース4が取付けピース挿入溝7から抜けるのを防止する。抜け防止手段の構成については後述する。
図4及び図5は、軌道レール本体6を示す。図4(a)は軌道レール本体6の平面図を示し、図4(b)は側面図(一部断面を含む)を示す。図5は長手方向に直交する断面図を示す。図5に示されるように、軌道レール本体6の下部は中抜きされ、取付けピース挿入溝7が形成される。取付けピース挿入溝7が、底壁7aと、一対の側壁7bを有すること、側壁7bには傾斜面8が形成されるのは上述した通りである。軌道レール本体6の左右側面それぞれには、軌道レール本体6の長手方向に沿って伸びる転動体転走部としての一条のボール転走溝1aが形成される。ボール転走溝1aの断面形状は二つの円弧を組み合わせたゴシックアーチ溝からなる。
図6はゴシックアーチ溝の詳細図を示す。ゴシックアーチ溝を構成する二つの円弧R1,R2の曲率半径はボール21の半径よりも僅かに大きい。二つの円弧R1,R2の中心C1,C2は、ボール21の中心線C3よりも距離αだけ外側(図6では右側)に位置する。そして、二つの円弧R1,R2の中心C1,C2は上下方向に距離βだけ離れている。ボール21と円弧R1又はR2の接触点とボール21の中心とを結んだ線が水平線となす接触角γは、45度に設定される。
この軌道レール本体6はアルミを押し出し成型することで製造される。押し出し成型と同時にボール転走溝1aが形成される。電解腐食を避けるために軌道レール本体6の表面はアルマイト処理される。軌道レール本体6の材質にはアルミの替わりにジュラルミン等の軽合金を用いてもよい。
図4(a)に示されるように、軌道レール本体6の上面には、長手方向に一定のピッチを空けて複数のアクセス孔22が加工される。アクセス孔22のピッチは後述する取付けピース4の通し孔36(図8(a)参照)のピッチに等しい。軌道レール本体6にアクセス孔22を加工することで、軌道レール本体6の軽量化を図ることができる。また、軌道レール本体6から移動ブロック2を抜かずに取付けピース4を相手部品に取り付けることができる。軌道レール本体6には、抜け防止手段14に係合する開口部15が空けられる。また、がたつき防止手段12に係合する係合開口部23が開けられる。
図4(b)及び図7に示されるように、軌道レール本体6の長さ方向の端部には、ピン挿入孔24が加工される。ピン挿入孔24は軌道レール本体6の左右の側壁部に形成される。ピン挿入孔24には水平方向に伸びるピン25が挿入される。ピン25にはがたつき防止手段を構成する弾性体としてのゴム製の弾性ストッパ11が巻かれる。弾性ストッパ11は円柱形状をなす。
図8及び図9は、取付けピース4を示す。図8(a)は取付けピース4の平面図を示し、図8(b)は側面図(一部断面を含む)を示す。図9は取付けピース4の先端側の正面図を示す。細長く伸びる取付けピース4の全長は軌道レール本体6とほぼ同一である。ただし、軌道レール本体6と異なり、取付けピース4には転動体転走部は形成されていない。
図10の断面図に示されるように、取付けピース4の左右の側面には、取付けピース挿入溝7の傾斜面8に対応した傾斜面9が形成される。この傾斜面9によって、取付けピース4の左右の上部には左右方向に幅を広げた拡大部10が形成される。取付けピース4の上面には、長手方向に凹溝39が形成される。取付けピース4も軌道レール本体6と同様にアルミを押し出し成型することで製造される。電解腐食を避けるために取付けピース4の表面もアルマイト処理される。
図8(a)に示されるように、取付けピース4の上面の凹溝39には、長手方向に一定のピッチを空けて複数の通し孔36が加工される。図10の断面図に示されるように、通し孔36は止めねじやボルトの形状に合わせられる。通し孔36に止めねじやボルトを通し、止めねじやボルトを相手部品に締めることにより、取付けピース4が相手部品に固定される。
図8(b)に示されるように、取付けピース4の挿入側の端部の高さは段違いに形成される。すなわち、取付けピース4の挿入側の端部には、高さの低いストッパ当接部37が形成される。取付けピース4を取付けピース挿入溝7に挿入したとき、このストッパ当接部37が弾性ストッパ11の下に入り込む。取付けピース4の端部には、ストッパ当接部37の上面に直交する当接面38が形成される。この当接面38が弾性ストッパ11に当たることで、取付けピース4の長手方向の位置が位置決めされる。
図11に示されるように、取付けピース4には抜け防止手段14が収容される収納溝27が形成される。収納溝27にはさらに、付勢部材であるコイルスプリング28(図14参照)が収容されるコイルスプリング収容溝29が形成される。取付けピース4の拡大部10には、軸挿入孔30が開けられる。軸挿入孔30には水平方向に伸びる軸26が挿入される。
図12は、抜け防止手段である係合体14の斜視図を示す。矩形状に形成される係合体14には、軸26が挿入される貫通孔14aが形成される。係合体14は軸26の回りを揺動する。係合体14の端部には階段状の突出部14bが形成される。係合体14が軸26の回りを揺動することによって、突出部14bが軌道レール本体6の開口部15に係合したり係合しなかったりする。係合体14の下面には、コイルスプリング28を受け入れるコイルスプリング収容溝14cが形成される。
図13は、がたつき防止手段であるテーパ部品12の斜視図を示す。プレート状のテーパ部品12は先端に向かって徐々に厚みが薄くなる楔部12aを有する。テーパ部品12の上面は平面に形成される。テーパ部品12の下面側を傾斜させることで楔部12aが形成される。テーパ部品12の上面には、軌道レール本体6に開けた係合開口部23(図4(a)参照)に係合するフック12bが形成される。フック12bは先端に向かって徐々に厚みが薄くなるテーパ形状に形成される。
図14は、取付けピース4の係合体14が軌道レール本体6の開口部15に係合した状態を示す。取付けピース4と係合体14との間にはコイルスプリング28が介在され、係合体14を軌道レール本体6に向かって付勢する。軌道レール本体6を取付けピース4に取り付けるとき、取付けピース挿入溝7に取付けピース4を挿入すると、係合体14はコイルスプリング28のばね力に抗して沈み込む。係合体14が軌道レール本体6の開口部15の位置まで到達すると、コイルスプリング28のばね力によって係合体14が軸26を中心にして上方向に揺動し、係合体14の突出部14bが開口部15に係合する。これにより、取付けピース4が軌道レール本体6から抜けるのを防止できる。一方、軌道レール本体6を取付けピース4から取り外すとき、開口部を通して係合体14を指で押圧すると、係合体14と開口部との係合が解除される。これにより、軌道レール本体6を取付けピース4から抜き取ることができる。係合体14及びコイルスプリング28は、ワンタッチで取付けピース4を軌道レール本体6に脱着することを可能にする。
図15は、取付けピース4の先端に取り付けられた弾性ストッパ11を示す。上述のように、取付けピース4の係合体14が軌道レール本体6の開口部15に係合することによって、取付けピース4が軌道レール本体6から抜けるのを防止できる。しかしこの状態でも、取付けピース4が軌道レール本体6の奥に向かってスライドできる状態にある。軌道レール本体6内の取付けピース4の位置決めをするために、軌道レール本体6には弾性ストッパ11が設けられる。取付けピース4が所定位置まで移動すると、取付けピース4の当接面38が弾性ストッパ11に突き当たる。これにより、取付けピース4の長手方向の位置決めが可能になる。
しかし、取付けピース4の当接面38を弾性ストッパ11に突き当てただけでは、長手方向に直交する断面での取付けピース4と軌道レール本体6との間のすきまを無くすことができない。すきまを無くすために、取付けピース4のストッパ当接部37を弾性ストッパ11の下に潜り込ませる。ストッパ当接部37によって圧縮変形した弾性ストッパは、その反力によって取付けピース4の先端部を軌道レール本体6に向かって下方向に付勢する。これにより、取付けピース4の傾斜面9(図3参照)が軌道レール本体6の傾斜面8(図3参照)に密着し、これらの間のすきまが無くなる。取付けピース4の傾斜面及び軌道レール本体6の傾斜面はいずれも中心線に関して左右対称に形成される。取付けピース4を軌道レール本体6に向かって押圧することで、これらが左右方向にも正確に位置決めされる。
取付けピース4の先端側のすきまを無くすことができても、取付けピース4の基端側のすきまが残る。図14に示されるように、取付けピース4の基端側のすきまを無くすために、軌道レール本体6の端部と取付けピース4の端部との間にはテーパ部品12がかませられる。テーパ部品12の楔部は取付けピース4を下方向に移動させる。取付けピース4の傾斜面9(図3参照)が軌道レール本体6の傾斜面8(図3参照)に密着し、これらの間のすきまが無くなる。テーパ部品12が差し込まれたとき、テーパ部品12の上面のフック12bが軌道レール本体6の係合開口部23に係合する。これにより、テーパ部品12が軌道レール本体6から抜けるのが防止される。テーパ部品12を取り外すときは、テーパ部品12の片持ち梁状に張り出している端部12dを指で下方向に曲げる。フック12bが係合開口部23から外れ、テーパ部品12が抜けるようになる。
図16は、移動ブロック2の斜視図(一部断面図を含む)を示す。移動部材としての移動ブロック2は、全体が鞍形状に形成され、軌道レール本体1の上面に対向する中央部と中央部の幅方向の両端部から垂下し、軌道レール本体6の側面に対向する一対の脚部を有する。軌道レール本体6は移動ブロック2の一対の袖部に挟まれる。軌道レール本体6と移動ブロック2との間にボール21を介在させた状態では、軌道レール本体6の長手方向と直交する方向に移動ブロック2を取り外すことができない。
移動ブロック2は、アルミ製の移動ブロック本体31と、移動ブロック本体31の移動方向の両端部に設けられる樹脂製のエンドプレート32と、から構成される。エンドプレート32には、軌道レールの外面に付着した異物や水分などが移動ブロック内に侵入するのを防ぎ、また移動ブロック2の内部の潤滑剤が外部に漏れるのを塞ぐエンドシール33が取り付けられる。
移動ブロック本体31の一対の袖部には、軌道レール本体6のボール転走溝1aに対向する負荷ボール転走溝2aが形成されると共に、負荷ボール転走溝2aと平行なボール戻し路34が形成される。エンドプレート32には、負荷ボール転走溝2aの一端とボール戻し路34の一端とを接続するU字形状の方向転換路35(図20参照)が形成される。これら負荷ボール転走溝2a、ボール戻し路34、方向転換路35から構成されるサーキット状のボール循環経路に複数のボール21が配列・収容される。
図17は移動ブロック本体31の詳細図を示す。移動ブロック本体31はアルミを押し出し成型することで製造される。移動ブロック本体31は全体が鞍形状に形成され、軌道レール本体6の上面に対向する中央部31aと、軌道レール本体6の左右側面に対向する一対の側壁部31bと、を有する。側壁部31bの内側面には、軌道レール本体6のボール転走溝1aに対向する負荷ボール転走溝2aが形成される。側壁部31bには、負荷ボール転走溝2aと平行な貫通孔からなるボール戻し路34が開けられる。移動ブロック本体31の上面には、移動ブロック本体31を相手部品に取り付けるための取付けねじ46が加工される。移動ブロック本体31の移動方向の端面には、エンドプレート32を取り付けるための取付けねじ47が加工される。
図18は負荷ボール転走溝2aの詳細図を示す。負荷ボール転走溝2aの断面形状は二つの円弧R1,R2を組み合わせたゴシックアーチ溝からなる。ゴシックアーチ溝を構成する二つの円弧弧R1,R2の曲率半径はボール21の半径よりも僅かに大きい。二つの円弧R1,R2の中心C1,C2は、ボール21の中心C3よりも距離αだけ外側(図18では右側)に位置する。そして、二つの円弧R1,R2の中心C1,C2間の距離は上下方向に距離βだけずれている。ボール21と円弧R1又はR2の接触点とボール21の中心C3とを結んだ線が水平線となす接触角γは、45度に設定される。負荷ボール転走溝2aをゴシックアーチ溝にすることで、ボール21が上下方向・左右方向のいずれの荷重も負荷できるようになる。
ボール21の材質には、ポリアセタール(POM)等の合成樹脂が用いられる。軌道レール本体6や移動ブロック本体31をアルミの押し出し成型で製造する場合、これらの寸法精度が粗くなるときもある。ボール21を樹脂製にすることで、ボール21が弾性変形し易くなり、軌道レール本体6や移動ブロックの寸法精度の粗さを吸収することができる。また、ボール21を樹脂製にすることで軽量化も図れる。なお、移動ブロック2のストロークはストッパ3によって制限され、移動ブロック2は軌道レール本体6から長手方向に抜けることはない。このため、移動ブロック2には、移動ブロック2が軌道レール本体6から抜けたとき、移動ブロック2からボール21が脱落するのを防止する機能は設けられていない。
図19及び図20は、軌道レール1に組み付けられた移動ブロック2を示す。軌道レール1に対して移動ブロック2を相対的に直線運動させると、軌道レール1のボール転走溝1aと移動ブロック2の負荷ボール転走溝2aとの間に介在されるボール21が転がり運動する。ボール21の転がり運動に伴い、ボール循環路に配列されるボール21が一斉に循環する。
本実施形態の運動案内装置によれば、移動ブロック2の基本構造及びボール21の循環構造を従来のリニアガイドと共通にすることで、がたつきがなく円滑に移動ブロック2を直線運動させることができる。また、軌道レール1のほぼ全長に渡って移動ブロック2をストロークさせることができるので、移動ブロックのストロークを大きくすることができる。これに対して、ボールが循環しない有限ストロークタイプの運動案内装置を使用すると、ストロークをかせぐためには案内部分を他段に重ねる必要がある。案内部分を多段に重ねると、がたつきが累積されて大きくなるので、円滑な案内ができなくなる。
図21は、本発明の運動案内装置を引出しに適用した例を示す。運動案内装置は第一の部材としての引出し41と第二の部材としてのケース42との間に取り付けられる。この例では、引出しの左右側面に軌道レール1が取り付けられ、ケース42の内側面に移動ブロック2が取り付けられる。本発明の運動案内装置を使用すると、がたが無く、しかも円滑に引出しを引き出すことができるので、高級感のある引出しにすることができる。したがって、航空機、自動車、システムキッチン、高級家具等に適した引出しになる。また、運動案内装置の各構成部品にアルミや樹脂を使用することで軽量化を図ることができる。
図22は、引出しへの運動案内装置の取付け方法の一例を示す。まず、取付けピース4を引出し41の側面に取り付ける。次に、軌道レール本体6に移動ブロック2を組み付けた状態で、移動ブロック2をケース42の内側面に取り付ける。次に、軌道レール本体6の取付けピース挿入溝7に取付けピース4を挿入し、取付けピース4を軌道レール本体6に取り付ける。最後にテーパ部品12を軌道レール本体6と取付けピース4との間にかませる。運動案内装置を取り外すときは上記と逆の動作が行われる。
軌道レール本体6を取付けピース4から着脱可能にすることで、取付けピース4を引出し41に、移動ブロック2をケース42に取り付けた状態で、軌道レール本体6を取付けピース4から取り外すことができる。すなわち、引出し41をケース42から分離することができるので、引出し41の清掃等のメンテナンスが容易になる。また、移動ブロック2を軌道レール本体6から抜き取る必要もなくなるので、ボール21が脱落するのを防止する保持器を設ける必要もなくなる。
図23は、本発明の第二の実施形態の運動案内装置を示す。この実施形態の運動案内装置においては、取付けピース51を移動ブロック52側に設けている。すなわち、移動ブロック52は、相手部品に取り付けられる取付けピース51と、取付けピース51に着脱可能に取り付けられ、ボール循環路を有する移動部材本体としての移動ブロック本体53と、から構成される。移動ブロック52には、移動方向に伸びる取付けピース挿入溝57が形成される。取付けピース51は、移動ブロック52の移動方向にスライド可能にかつ上下方向に抜けないように、取付けピース挿入溝57内に挿入される。移動ブロック本体53と取付けピース51との間に発生するがたつきを防止するために、これらの間にはテーパ部品58がかませられる。取付けピース51を相手部品に取り付けた状態で、軌道レール54に組み付けられた移動ブロック本体53を取付けピース51から取り外すことができるので、可動体を本体部から分離するのが容易になる。
なお本発明は上記実施形態に限られることなく、本発明の要旨を変更しない範囲で様々に変更可能である。例えば、転動体にはボールの他にローラを使用することができる。ボール転走溝の条数、断面形状は運動案内装置が受ける負荷荷重によって種々変更することができる。軽量化を図る観点から軌道レール及び移動ブロックの材質はアルミが望ましく、転動体の材質は合成樹脂が望ましいが、強度が必要な場合は鋼材を使用してもよい。
上記実施形態では可動側の引出しに軌道レールを取り付け、固定側のケースに移動ブロックを取り付けているが、逆であってもよい。運動案内装置の引き出しへの取付け位置は引出しの側面に限られることなく、引出しの下面であってもよい。また、本発明の運動案内装置の用途は引出しに限られることなく、分離を必要とする案内部分であれば、様々な用途に適用することができる。
本発明の第一の実施形態における運動案内装置の斜視図 運動案内装置の詳細図(図中(a)は平面図を示し、図中(b)は側面図を示す) 運動案内装置の正面図 軌道レール本体の詳細図(図中(a)は平面図を示し、図中(b)は側面図を示す) 軌道レール本体の断面図 図5のVI部詳細部 図4のVII部拡大図 取付けピースの詳細図(図中(a)は平面図を示し、図中(b)は側面図を示す) 図8のIX矢視図 図8のX−X線断面図 図8のXI部拡大図 係合体の斜視図 テーパ部品の斜視図 係合体が軌道レール本体の開口部に係合した状態を示す断面図 取付けピースが弾性ストッパに当接した状態を示す断面図 移動ブロックの斜視図(一部断面図を含む) 移動ブロック本体の詳細図(図中(a)は正面図を示し、(b)は側面図を示す) 移動ブロックの負荷ボール転走溝の詳細断面図 軌道レールに組み付けられた移動ブロックを示す断面図 移動ブロックの循環構造の拡大図 運動案内装置を引出しに適用した例を示す斜視図 引出しをケースから取り外した状態を示す斜視図 本発明の第二の実施形態における運動案内装置の正面図
符号の説明
1…軌道レール,1a…ボール転走溝(転動体転走部),2…移動ブロック,2a…負荷ボール転走溝(負荷転動体転走部),4…取付けピース(取付け部材),6…軌道レール本体,7…取付けピース挿入溝(取付け部材挿入溝),11…弾性ストッパ(弾性体、がたつき防止手段),12…テーパ部品(がたつき防止手段),12a…楔部,14…係合体(抜け防止手段),15…開口部,21…ボール(転動体),22…アクセス孔,26…軸,36…通し孔,51…取付けピース(取付け部材),52…移動ブロック,53…移動ブロック本体,54…軌道レール

Claims (7)

  1. 転動体転走部を有する軌道レールと、前記軌道レールの前記転動体転走部に対向する負荷転動体転走部を含む転動体循環路を有し、前記軌道レールに相対的に運動可能に組み付けられる移動ブロックと、前記移動ブロックの前記転動体循環路に配列される複数の転動体と、を備える運動案内装置において、
    前記軌道レールは、前記転動体転走部を有することなく、相手部品に取り付けられる取付け部材と、前記転動体転走部を有し、前記取付け部材に脱着可能に取り付けられる軌道レール本体と、を含む運動案内装置。
  2. 前記軌道レール本体には、前記取付け部材が前記軌道レール本体の長手方向にスライドし、かつ前記長手方向に直交する方向に前記軌道レール本体から抜けるのを防止する取付け部材挿入溝が形成され、
    前記軌道レール本体と前記取付け部材との間には、前記長手方向に直交する断面においてこれらの間に生ずるすきまを無くすがたつき防止手段が設けられることを特徴とする請求項1に記載の運動案内装置。
  3. 前記がたつき防止手段は、先端に向かって厚みが薄くなる楔部を有し、前記すきまを無くすように前記軌道レール本体と前記取付け部材との間にかませられるテーパ部品を含むことを特徴とする請求項2に記載の運動案内装置。
  4. 前記がたつき防止手段は、前記軌道レール本体に設けられ、前記取付け部材が前記軌道レール本体に対して前記長手方向へ所定量以上スライドするのを制限すると共に、前記すきまを無くすように前記取付け部材を前記軌道レール本体に密着させる弾性体を含むことを特徴とする請求項2又は3に記載の運動案内装置。
  5. 前記軌道レール本体の前記長手方向の全長は、前記取付け部材の前記長手方向の全長にほぼ等しいことを特徴とする請求項1ないし4のいずれかに記載の運動案内装置。
  6. 前記軌道レール本体には、前記取付け部材が前記軌道レール本体の長手方向にスライドし、かつ前記長手方向に直交する方向に前記軌道レール本体から抜けるのを防止する取付け部材挿入溝が形成され、
    前記軌道レール本体には、前記取付け部材挿入溝に挿入される前記取付け部材を露出させる開口部が設けられ、
    前記取付け部材には、軸の回りを揺動することによって前記開口部に係合したり前記開口部との係合を解除したりする係合体、及びこの係合体を前記軌道レール本体に向かって付勢する付勢部材が設けられ、
    前記軌道レール本体に前記取付け部材を取り付けるとき、前記軌道レール本体に挿入された前記取付け部材の前記係合体が前記開口部の位置まで到達すると、前記付勢部材の付勢力によって前記係合体が前記開口部に係合し、
    前記取付け部材を前記軌道レール本体から取り外すとき、前記開口部を通して前記係合体を押圧し、前記係合体と前記開口部との係合を解除することによって、前記取付け部材を前記軌道レール本体から前記長手方向に抜き取ることができることを特徴とする請求項1ないし5のいずれかに記載の運動案内装置。
  7. 転動体転走部を有する軌道レールと、前記軌道レールの前記転動体転走部に対向する負荷転動体転走部を含む転動体循環路を有し、前記軌道レールに相対的に運動可能に組み付けられる移動ブロックと、前記移動ブロックの前記転動体循環路に配列される複数の転動体と、を備える運動案内装置において、
    前記移動ブロックは、前記転動体循環路を有することなく、相手部品に取り付けられる取付け部材と、前記転動体循環路を有し、前記取付け部材に脱着可能に取り付けられる移動ブロック本体と、を含む運動案内装置。
JP2008255351A 2008-09-30 2008-09-30 運動案内装置 Active JP5224519B2 (ja)

Priority Applications (4)

Application Number Priority Date Filing Date Title
JP2008255351A JP5224519B2 (ja) 2008-09-30 2008-09-30 運動案内装置
US12/569,620 US8272783B2 (en) 2008-09-30 2009-09-29 Motion guide device
BRPI0903848-5A BRPI0903848B1 (pt) 2008-09-30 2009-09-30 dispositivo de guia de movimento
FR0956790A FR2936576B1 (fr) 2008-09-30 2009-09-30 Dispositif de guidage de mouvement

Applications Claiming Priority (1)

Application Number Priority Date Filing Date Title
JP2008255351A JP5224519B2 (ja) 2008-09-30 2008-09-30 運動案内装置

Publications (2)

Publication Number Publication Date
JP2010084863A true JP2010084863A (ja) 2010-04-15
JP5224519B2 JP5224519B2 (ja) 2013-07-03

Family

ID=42028044

Family Applications (1)

Application Number Title Priority Date Filing Date
JP2008255351A Active JP5224519B2 (ja) 2008-09-30 2008-09-30 運動案内装置

Country Status (4)

Country Link
US (1) US8272783B2 (ja)
JP (1) JP5224519B2 (ja)
BR (1) BRPI0903848B1 (ja)
FR (1) FR2936576B1 (ja)

Cited By (1)

* Cited by examiner, † Cited by third party
Publication number Priority date Publication date Assignee Title
CN105156471A (zh) * 2015-08-18 2015-12-16 浙江亚磊型钢冷拔有限公司 一种导轨型材

Families Citing this family (15)

* Cited by examiner, † Cited by third party
Publication number Priority date Publication date Assignee Title
US9382943B2 (en) * 2010-08-31 2016-07-05 Jonathan Manufacturing Corporation Compact slide assemblies
GB201116563D0 (en) * 2011-09-26 2011-11-09 Accuride Int Ltd Re-circulating ball sliding support assembly
US9670956B2 (en) 2012-04-03 2017-06-06 Jonathan Manufacturing Corporation Compact slide assemblies
US9279451B2 (en) 2012-04-03 2016-03-08 Jonathan Manufacturing Corporation Compact slide assemblies
JP5723356B2 (ja) * 2012-12-28 2015-05-27 Thk株式会社 運動案内装置
US9039107B2 (en) 2013-02-08 2015-05-26 Jonathan Manufacturing Corporation Slide assembly
US9313914B2 (en) 2013-03-13 2016-04-12 Jonathan Manufacturing Corporation Slide assembly
JP5808375B2 (ja) * 2013-09-27 2015-11-10 Thk株式会社 移動ユニット
USD835492S1 (en) * 2015-02-24 2018-12-11 Thk Co., Ltd. Slide rail
USD854398S1 (en) * 2016-02-15 2019-07-23 Gripple Limited Low profile bracket
JP1575127S (ja) * 2016-11-16 2017-05-01
USD875150S1 (en) * 2017-05-31 2020-02-11 Thk Co., Ltd. End plate for motion guide device
CN108527734A (zh) * 2018-05-24 2018-09-14 苏州旭玛电子科技有限公司 一种块状滑动件
EP3932827B1 (en) * 2020-07-03 2022-09-07 SNR Wälzlager GmbH Packaged linear guide assembly
JP1696218S (ja) * 2021-03-29 2021-10-04

Citations (11)

* Cited by examiner, † Cited by third party
Publication number Priority date Publication date Assignee Title
JPS5881215A (ja) * 1981-11-05 1983-05-16 Nippon Thompson Co Ltd 無限摺動用軸受ユニツト
JPS6014618A (ja) * 1983-07-04 1985-01-25 Hiroshi Teramachi クロス直線ベアリングユニツト
JPS6040818A (ja) * 1983-08-12 1985-03-04 Hiroshi Teramachi 直線摺動用ベアリング
JPS61112816A (ja) * 1973-01-19 1986-05-30 ジヨン ビイ、トムソン、ジユニア 軸方向にのびる溝を備えた軸を形成する方法
US4712927A (en) * 1987-03-16 1987-12-15 Robert Arrendiell Nested plastic extension slide
JPH0442917U (ja) * 1990-08-09 1992-04-13
JPH04347009A (ja) * 1991-05-22 1992-12-02 Nippon Thompson Co Ltd 直動転がり案内ユニット
JPH0560133A (ja) * 1991-08-23 1993-03-09 Nippon Thompson Co Ltd 防振性を有する直動案内摺動ユニツト
US5292198A (en) * 1992-03-11 1994-03-08 Julius Blum Gesellschaft M.B.H. Pull-out guide fitting for drawers
JPH08114221A (ja) * 1994-10-14 1996-05-07 Thk Kk 有限直線転がり軸受
EP1060829A1 (de) * 1999-06-16 2000-12-20 Schneeberger Holding AG Linearbewegungsführung

Family Cites Families (5)

* Cited by examiner, † Cited by third party
Publication number Priority date Publication date Assignee Title
US3897982A (en) * 1973-09-20 1975-08-05 Hiroshi Teramachi Slide way bearing
DE9209212U1 (de) * 1992-07-09 1993-11-04 Pies Gerrit Linearführung
JP3242487B2 (ja) 1993-04-23 2001-12-25 日本トムソン株式会社 転がり案内ユニット
US5730514A (en) * 1996-05-17 1998-03-24 Accuride International, Inc. Shock absorbing locking disconnect latch for ball bearing slides
JP4571730B2 (ja) * 1999-07-29 2010-10-27 Thk株式会社 相対可動装置

Patent Citations (11)

* Cited by examiner, † Cited by third party
Publication number Priority date Publication date Assignee Title
JPS61112816A (ja) * 1973-01-19 1986-05-30 ジヨン ビイ、トムソン、ジユニア 軸方向にのびる溝を備えた軸を形成する方法
JPS5881215A (ja) * 1981-11-05 1983-05-16 Nippon Thompson Co Ltd 無限摺動用軸受ユニツト
JPS6014618A (ja) * 1983-07-04 1985-01-25 Hiroshi Teramachi クロス直線ベアリングユニツト
JPS6040818A (ja) * 1983-08-12 1985-03-04 Hiroshi Teramachi 直線摺動用ベアリング
US4712927A (en) * 1987-03-16 1987-12-15 Robert Arrendiell Nested plastic extension slide
JPH0442917U (ja) * 1990-08-09 1992-04-13
JPH04347009A (ja) * 1991-05-22 1992-12-02 Nippon Thompson Co Ltd 直動転がり案内ユニット
JPH0560133A (ja) * 1991-08-23 1993-03-09 Nippon Thompson Co Ltd 防振性を有する直動案内摺動ユニツト
US5292198A (en) * 1992-03-11 1994-03-08 Julius Blum Gesellschaft M.B.H. Pull-out guide fitting for drawers
JPH08114221A (ja) * 1994-10-14 1996-05-07 Thk Kk 有限直線転がり軸受
EP1060829A1 (de) * 1999-06-16 2000-12-20 Schneeberger Holding AG Linearbewegungsführung

Cited By (1)

* Cited by examiner, † Cited by third party
Publication number Priority date Publication date Assignee Title
CN105156471A (zh) * 2015-08-18 2015-12-16 浙江亚磊型钢冷拔有限公司 一种导轨型材

Also Published As

Publication number Publication date
JP5224519B2 (ja) 2013-07-03
US8272783B2 (en) 2012-09-25
US20100080496A1 (en) 2010-04-01
BRPI0903848B1 (pt) 2020-07-21
FR2936576A1 (fr) 2010-04-02
FR2936576B1 (fr) 2016-11-11
BRPI0903848A2 (pt) 2010-12-21

Similar Documents

Publication Publication Date Title
JP5224519B2 (ja) 運動案内装置
JP6415032B2 (ja) 案内体及びこれを備えた運動案内装置
JP5723356B2 (ja) 運動案内装置
US8858082B2 (en) Circulation maintaining device for linear slide assembly
CN112996414B (zh) 引导装置
JP6392176B2 (ja) レールスライダユニット
EP2388488A1 (en) Linear guide device
US9714678B2 (en) Linear motion guide unit
US8408796B1 (en) Rolling element retainer belt and linear motion guide apparatus
JP4173420B2 (ja) リニアガイド
JP4500128B2 (ja) 直動案内ユニット
JP5672895B2 (ja) 直動案内装置の仮軸用アタッチメント
EP1363036A2 (en) Linear motion guide unit
JP5496156B2 (ja) スライドユニット及びスライドガイド装置
JP2002172438A (ja) 金型装置
US8419280B2 (en) Thin slide unit
JP2010249229A (ja) 運動案内装置
JP4635758B2 (ja) ストッパ装置およびそれを備えたリニアガイド装置
JP5199203B2 (ja) 収納ボックス
JP4738268B2 (ja) 小型直動案内ユニット
JP2012026534A (ja) 転動体保持スペーサ及びこれを用いた運動案内装置
JP2008240882A (ja) リニアガイド装置
CN101069025B (zh) 直动引导装置
JP2010052058A (ja) 運動案内装置
JP2008275069A (ja) エンドキャップ及びそれを備えたリニアガイド

Legal Events

Date Code Title Description
A621 Written request for application examination

Free format text: JAPANESE INTERMEDIATE CODE: A621

Effective date: 20110907

A977 Report on retrieval

Free format text: JAPANESE INTERMEDIATE CODE: A971007

Effective date: 20120720

A131 Notification of reasons for refusal

Free format text: JAPANESE INTERMEDIATE CODE: A131

Effective date: 20120731

A521 Request for written amendment filed

Free format text: JAPANESE INTERMEDIATE CODE: A523

Effective date: 20120928

A131 Notification of reasons for refusal

Free format text: JAPANESE INTERMEDIATE CODE: A131

Effective date: 20121205

A521 Request for written amendment filed

Free format text: JAPANESE INTERMEDIATE CODE: A523

Effective date: 20130201

TRDD Decision of grant or rejection written
A01 Written decision to grant a patent or to grant a registration (utility model)

Free format text: JAPANESE INTERMEDIATE CODE: A01

Effective date: 20130304

A61 First payment of annual fees (during grant procedure)

Free format text: JAPANESE INTERMEDIATE CODE: A61

Effective date: 20130308

R150 Certificate of patent or registration of utility model

Ref document number: 5224519

Country of ref document: JP

Free format text: JAPANESE INTERMEDIATE CODE: R150

Free format text: JAPANESE INTERMEDIATE CODE: R150

FPAY Renewal fee payment (event date is renewal date of database)

Free format text: PAYMENT UNTIL: 20160322

Year of fee payment: 3

R250 Receipt of annual fees

Free format text: JAPANESE INTERMEDIATE CODE: R250

R250 Receipt of annual fees

Free format text: JAPANESE INTERMEDIATE CODE: R250

R250 Receipt of annual fees

Free format text: JAPANESE INTERMEDIATE CODE: R250

R250 Receipt of annual fees

Free format text: JAPANESE INTERMEDIATE CODE: R250

R250 Receipt of annual fees

Free format text: JAPANESE INTERMEDIATE CODE: R250

R250 Receipt of annual fees

Free format text: JAPANESE INTERMEDIATE CODE: R250

R250 Receipt of annual fees

Free format text: JAPANESE INTERMEDIATE CODE: R250

R250 Receipt of annual fees

Free format text: JAPANESE INTERMEDIATE CODE: R250

R250 Receipt of annual fees

Free format text: JAPANESE INTERMEDIATE CODE: R250

R250 Receipt of annual fees

Free format text: JAPANESE INTERMEDIATE CODE: R250