JP2010083642A - 産業車両のための非常停止レバー配置構造 - Google Patents

産業車両のための非常停止レバー配置構造 Download PDF

Info

Publication number
JP2010083642A
JP2010083642A JP2008256307A JP2008256307A JP2010083642A JP 2010083642 A JP2010083642 A JP 2010083642A JP 2008256307 A JP2008256307 A JP 2008256307A JP 2008256307 A JP2008256307 A JP 2008256307A JP 2010083642 A JP2010083642 A JP 2010083642A
Authority
JP
Japan
Prior art keywords
lever
emergency stop
stop lever
receptacle
grip
Prior art date
Legal status (The legal status is an assumption and is not a legal conclusion. Google has not performed a legal analysis and makes no representation as to the accuracy of the status listed.)
Granted
Application number
JP2008256307A
Other languages
English (en)
Other versions
JP5611517B2 (ja
Inventor
Hidenobu Himeji
秀信 姫地
Current Assignee (The listed assignees may be inaccurate. Google has not performed a legal analysis and makes no representation or warranty as to the accuracy of the list.)
TCM Corp
Original Assignee
TCM Corp
Priority date (The priority date is an assumption and is not a legal conclusion. Google has not performed a legal analysis and makes no representation as to the accuracy of the date listed.)
Filing date
Publication date
Application filed by TCM Corp filed Critical TCM Corp
Priority to JP2008256307A priority Critical patent/JP5611517B2/ja
Publication of JP2010083642A publication Critical patent/JP2010083642A/ja
Application granted granted Critical
Publication of JP5611517B2 publication Critical patent/JP5611517B2/ja
Active legal-status Critical Current
Anticipated expiration legal-status Critical

Links

Images

Landscapes

  • Forklifts And Lifting Vehicles (AREA)
  • Mechanical Control Devices (AREA)
  • Auxiliary Drives, Propulsion Controls, And Safety Devices (AREA)

Abstract

【課題】 産業車両において非常停止レバーの操作性を向上させる。
【解決手段】 非常停止レバー7をフォークリフト前後方向に配設し、グリップ70を運転席2に配置する。バッテリーとコントローラの間を接断するリセプタクル8Bに係止部15を設け、レバー中間部7Cを係止部15に係止させる。レバー前端部7Aを、車両前部の側面の回転自在な支軸部16に連結する。操作者がグリップ70を下方に押し込むと、レバー前端部7Aが支軸部16の回りを回動して、非常停止レバー7が下方に揺動し、レバー中間部7Cが係止部15を介してリセプタクル8Bを下方に移動させる。逆に、グリップ70を上方に引き上げると、レバー前端部7Aが支軸部16の回りを回動して、非常停止レバー7が上方に揺動し、レバー中間部7Cが係止部15を介してリセプタクル8Bを上方に移動させる。これにより、バッテリーおよびコントローラ間が接断される。
【選択図】 図2

Description

本発明は、産業車両とくにフォークリフトのための非常停止レバー配置構造に関する。
従来、バッテリー式フォークリフト等の産業車両においては、実開平2−5336号公報の第6図に示すように、運転席前方の操作パネルに非常停止レバー(エマージェンシーレバー)が設けられている。
この非常停止レバーは、上下方向に配設されており、その上端のグリップが操作パネルの上方まで延びている。一方、車両のフレーム内には、バッテリーとその負荷回路系との間を接断するコネクタが設けられており、非常停止レバーの下端はコネクタのプラグ(リセプタクル)に連結されている。
非常停止レバーを操作する際には、操作者がレバー上端のグリップを下方に押し込む。すると、レバー下端がコネクタのプラグを下方に移動させ、これにより、プラグがコネクタ本体から外れて、バッテリーが負荷回路系から遮断される。また、車両を非常停止状態から復帰させる際には、操作者が運転席から降りて車両の横に回り、車両側面に形成された開口から手を入れてプラグをコネクタ本体に接続していた。
一般に、コネクタ本体とプラグとの嵌め合いは固く、プラグの抜き差しには相当の力が必要であった。ところが、前記従来の構造では、非常停止レバーのグリップが比較的高い位置に配置されているため、操作者はグリップを操作する際に腕の力のみでグリップを押し込まなければならず、非常停止レバーの操作性が悪かった。さらに、非常停止レバーを元の位置に復帰させる際には、操作者がわざわざ運転席から降りる必要があり、またプラグをコネクタ本体に差し込む際には、車両側面の開口に手を入れて作業する必要があり、操作性が悪かった。
実開平2−5336号公報(第6図参照)
なお、上記公報の第1ないし第5図には、非常停止レバーを操作パネル上で前後方向に配設するとともに、リンク機構を介してコネクタ本体からのプラグの離脱を行なえるようにしたものも提案されている。
しかしながら、この場合には、非常停止レバーのグリップが操作者の体から離れた位置に配置されており、このため、レバー操作がしにくい点に変わりはなく、また、非常停止後の非常停止レバーの復帰動作は、レバー操作で行なうことはできず、相変わらず操作者が運転席から降りて直接プラグをコネクタ本体に差し込む必要があるため、操作性が悪い。
本発明は、このような従来の実情に鑑みてなされたものであり、本発明が解決しようとする課題は、産業車両において非常停止レバーの操作性を向上できる非常停止レバー配置構造を提供することにある。
請求項1の発明に係る非常停止レバー配置構造においては、非常停止レバーを産業車両の実質的に前後方向に配設し、操作者が把持するレバー後端のグリップを産業車両の運転席まで延設して、グリップを上下方向揺動自在に設けるとともに、産業車両のバッテリーとコントローラの間を接断するためのリセプタクルに係止部を設け、レバー中間部を前記係止部に係止させ、レバー前端を、車両前部の側面に回転自在に設けられた支軸部に連結させる。
請求項1の発明によれば、非常停止レバーの操作の際には、操作者がレバー後端のグリップを下方に押し込む。すると、非常停止レバーのレバー前端が支軸部の回りを回動して、非常停止レバーが下方に揺動し、レバー中間部が係止部を介してリセプタクルを下方に移動させる。これにより、バッテリーおよびコントローラ間が遮断される。また、非常停止レバーを元の位置に復帰させる際には、操作者がグリップを上方に引き上げる。すると、非常停止レバーのレバー前端が支軸部の回りを逆方向に回動して、非常停止レバーが上方に揺動し、レバー中間部が係止部を介してリセプタクルを上方に移動させる。これにより、バッテリーおよびコントローラ間が接続される。
この場合には、非常停止レバーのグリップが、操作パネル上ではなく、運転席に配置されているので、操作者の体に近い位置でレバー操作を行なうことができ、操作性を向上できる。また、この場合、「てこの原理」により、グリップを下方に押し込む操作者の力よりも大きな力がレバー中間部に発生して、レバー中間部がリセプタクルを下方に移動させるので、操作性を向上できる。さらに、非常停止レバーを元の位置に復帰させる際には、操作者が運転席から降りる必要はなく、レバー操作のみで復帰動作を行なえるので、操作性を向上できる。
請求項2の発明においては、請求項1において、操作者がグリップを下方に押し込むと、非常停止レバーのレバー前端が支軸部の回りを回動して、非常停止レバーが下方に揺動し、レバー中間部が係止部を介してリセプタクルを下方に移動させることにより、バッテリーおよびコントローラ間が遮断されるようになっている。
請求項3の発明では、請求項1において、産業車両の運転席の前面パネルには、非常停止レバーのレバー中間部が挿通する切欠きまたは穴が形成されており、レバー中間部と切欠きまたは穴との間には、上下方向の間隙が設けられている。
この場合には、非常停止レバーのレバー中間部を車両側面の内側に配置することができるので、当該レバー中間部が車両側面の外側に張り出すのを防止できるとともに、レバー中間部と切欠きまたは穴との間の上下方向の間隙により、レバー中間部の上下方向のスムーズな揺動を許容できる。
請求項4の発明では、請求項1において、リセプタクルの側方には、当該リセプタクルの上下方向の移動を案内するガイドが設けられている。
この場合には、非常停止レバーの操作時に、レバー中間部によりリセプタクルが上下に移動する際には、リセプタクルの移動がガイドにより案内されるので、リセプタクルのスムーズな移動が可能になる。
請求項5の発明では、請求項1において、レバー中間部と係止部との間には、上下方向の間隙が設けられている。
この場合には、当該間隙により、レバー中間部が係止部に対して上下方向に若干量動き得るようになっているので、非常停止レバーの操作時には、レバー中間部の揺動によるレバー中間部の傾きの変化を吸収でき、これにより、レバー中間部によるリセプタクルの上下方向の移動をスムーズに行なえ、その結果、非常停止レバーの操作性を向上できる。
以上のように本発明によれば、非常停止レバーを車両前後方向に配設し、グリップを運転席まで延設して上下方向揺動自在に設けるとともに、バッテリーとコントローラの間を接断するリセプタクルに係止部を設け、レバー中間部を係止部に係止させ、レバー前端を車両前部の回転自在な支軸部に連結させるようにしたので、非常停止レバーの操作の際には、操作者がレバー後端のグリップを下方に押し込むと、レバー前端が支軸部の回りを回動して、非常停止レバーが下方に揺動し、レバー中間部が係止部を介してリセプタクルを下方に移動させ、これにより、バッテリーおよびコントローラ間が遮断される。また、非常停止レバーを元の位置に復帰させる際には、操作者がグリップを上方に引き上げると、レバー前端が支軸部の回りを逆方向に回動して、非常停止レバーが上方に揺動し、レバー中間部が係止部を介してリセプタクルを上方に移動させ、これにより、バッテリーおよびコントローラ間が接続される。
この場合には、非常停止レバーのグリップが、操作パネル上ではなく、運転席に配置されているので、操作者の体に近い位置でレバー操作を行なうことができ、操作性を向上できる。また、この場合、「てこの原理」により、グリップを下方に押し込む操作者の力よりも大きな力がレバー中間部に発生して、レバー中間部がリセプタクルを下方に移動させるので、操作性を向上できる。さらに、非常停止レバーを元の位置に復帰させる際には、操作者が運転席から降りる必要はなく、レバー操作のみで復帰動作を行なえるので、操作性を向上できる。
以下、本発明の実施例を添付図面に基づいて説明する。
図1ないし図4は、本発明の一実施例による産業車両用非常停止レバー配置構造を説明するための図であって、図1は本実施例による非常停止レバー配置構造が採用されたリーチ式バッテリーフォークリフトの平面斜視部分図、図2はフォークリフト前部の右側面を示す斜視部分図、図3は図2のIII-III線断面図、図4は非常停止レバーを操作した状態を示す斜視部分図である。なお、図2および図4においては、フォークリフト前部の外パネルを外した状態を示している。また、これらの図において、車両の前進方向(図1上方)を前方とし、その逆方向(同図下方)を後方とする。
図1に示すように、このフォークリフト1は、操作者が立ち姿勢で運転および操作を行なうためのスペースである運転席2と、運転走行を行なうためのハンドル3と、荷役操作を行なうためのリフト操作レバーなどが設けられたリフト操作部4と、運転席2の床面に設けられたブレーキペダル5と、運転席2のセンターフレーム(前面パネル)10に設けられ、操作者の腰を支持する腰当て部6と、運転席2のセンターフレーム10に形成された切欠き(または貫通孔)10aを挿通して、運転席2側に延設された上下方向揺動可能な非常停止レバー7とを備えている。
図2に示すように、非常停止レバー7は、フォークリフト1の実質的に前後方向に延びており、レバー前端部7Aと、操作者が把持するグリップ70を有するレバー後端部7Bと、これらの間に配置されたレバー中間部7Cとから構成されている。レバー中間部7Cは、レバー前端部7Aから後方に直線状に延びるとともに、その途中から下方に屈曲しつつ斜め下方に延びている。レバー後端部7Bは、レバー中間部7Cの後端から後方に直線状に延びている。レバー前端部7Aおよびレバー中間部7Cの直線状部分がフォークリフト前部に配置されており、レバー中間部7Cの屈曲部、レバー後端部7Bおよびグリップ70が運転席2に配置されている。
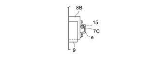
フォークリフト前部の右側面には、バッテリーおよびコントローラ(いずれも図示せず)の間を接断するためのコネクタ8が設けられている。コネクタ8は、コネクタ本体8Aと、これに抜き差し可能に設けられたリセプタクル8Bとから構成されている。コネクタ本体8Aおよびリセプタクル8Bには、一端がそれぞれコントローラおよびバッテリーに電気的に接続されたケーブル80、81の他端が接続されている。
リセプタクル8Bには、係止部15が取り付けられている。係止部15は、図3に示すように、例えば板金を略「Ω」状に折り曲げることにより構成されている。係止部15には、非常停止レバー7のレバー中間部7Cが挿通している。係止部15の内部空間とレバー中間部7Cとの間には、上下方向の間隙eが形成されている。
リセプタクル8Bの両側方には、リセプタクル8Bの上下方向の移動を案内するガイド9、9’が設けられている。また、非常停止レバー7のレバー前端部7Aは、フォークリフト前部の右側面から突出しかつ当該右側面に回転自在に支持された支軸部16に連結されている。
なお、運転席2のセンターフレーム10の切欠き10aと非常停止レバー7のレバー中間部7Cとの間には、上下方向の間隙が形成されている(図1および図2参照)。
次に、本実施例の作用効果について説明する。
非常停止レバー7の操作の際には、操作者がレバー後端部7Bのグリップ70を下方に押し込む。すると、非常停止レバー7のレバー前端部7Aが支軸部16の回りを図2反時計回りに回動して、非常停止レバー7が下方に揺動し、レバー中間部7Cが係止部15を介してリセプタクル8Bを下方に移動させる。これにより、バッテリーおよびコントローラ間が遮断される(図4参照)。
また、非常停止レバー7を元の位置に復帰させる際には、操作者がグリップ70を上方に引き上げる。すると、非常停止レバー7のレバー前端部7Aが支軸部16の回りを図4時計回りに回動して、非常停止レバー7が上方に揺動し、レバー中間部7Cが係止部15を介してリセプタクル8Bを上方に移動させる。これにより、バッテリーおよびコントローラ間が接続される(図2参照)。
この場合には、非常停止レバー7のグリップ70が、フォークリフト1の操作パネル上ではなく、運転席2に配置されているので、操作者の体に近い位置でレバー操作を行なうことができ、操作性を向上できる。また、この場合、「てこの原理」により、グリップ70を下方に押し込む操作者の力よりも大きな力がレバー中間部7Cに発生して、レバー中間部7Cがリセプタクル8Bを下方に移動させるので、操作性を向上できる。さらに、非常停止レバー7を元の位置に復帰させる際には、操作者が運転席2から降りる必要はなく、レバー操作のみで復帰動作を行なえるので、操作性を向上できる。
また、この場合には、非常停止レバー7の操作時に、レバー中間部7Cによりリセプタクル8Bが上下に移動する際には、リセプタクル8Bの移動がガイド9、9’により案内されるので、リセプタクル8Bのスムーズな移動が可能になる。
さらに、この場合には、レバー中間部7Cと係止部15との間に上下方向の間隙eが設けられており、当該間隙eにより、レバー中間部7Cが係止部15に対して上下方向に若干量動き得るようになっているので、非常停止レバー7の操作時には、レバー中間部7Cの揺動によるレバー中間部7Cの傾きの変化を吸収でき、これにより、レバー中間部7Cによるリセプタクル8Bの上下方向の移動をスムーズに行なえ、その結果、非常停止レバー7の操作性を向上できる。
なお、非常停止レバー7のレバー中間部7Cが、運転席2のセンターフレーム10に形成した切欠き10a内を挿通しているので、非常停止レバー7のレバー中間部7Cを車両側面の内側に配置することができ、これにより、当該レバー中間部7Cが車両側面の外側に張り出すのを防止できる。また、レバー中間部7Cと切欠き10aとの間に上下方向の間隙が設けられているので、当該間隙により、レバー中間部7Cの上下方向のスムーズな揺動を許容できる。
本発明の一実施例による非常停止レバー配置構造が採用されたリーチ式バッテリーフォークリフトの平面斜視部分図である。 フォークリフト前部の右側面を示す斜視部分図である。 図2のIII-III線断面図である。 非常停止レバーを操作した状態を示す斜視部分図である。
符号の説明
1: フォークリフト
2: 運転席

7: 非常停止レバー
7A: レバー前端部
7B: レバー後端部
7C: レバー中間部
70: グリップ

8B: リセプタクル

9、9’: ガイド
10: センターフレーム(前面パネル)
10a: 切欠き
15: 係止部
16: 支軸部

e: 間隙

Claims (5)

  1. 産業車両のための非常停止レバー配置構造であって、
    非常停止レバーを産業車両の実質的に前後方向に配設し、操作者が把持するレバー後端のグリップを産業車両の運転席まで延設して、前記グリップを上下方向揺動自在に設けるとともに、
    産業車両のバッテリーとコントローラの間を接断するためのリセプタクルに係止部を設け、レバー中間部を前記係止部に係止させ、
    レバー前端を、車両前部の側面に回転自在に設けられた支軸部に連結した、
    ことを特徴とする非常停止レバー配置構造。
  2. 請求項1において、
    操作者が前記グリップを下方に押し込むと、非常停止レバーの前記レバー前端が前記支軸部の回りを回動して、非常停止レバーが下方に揺動し、前記レバー中間部が前記係止部を介して前記リセプタクルを下方に移動させることにより、前記バッテリーおよびコントローラ間が遮断されるようになっている、
    ことを特徴とする非常停止レバー配置構造。
  3. 請求項1において、
    産業車両の運転席の前面パネルには、非常停止レバーの前記グリップ中間部が挿通する切欠きまたは穴が形成されており、前記グリップ中間部と前記切欠きまたは穴との間には、上下方向の間隙が設けられている、
    ことを特徴とする非常停止レバー配置構造。
  4. 請求項1において、
    前記リセプタクルの側方には、当該リセプタクルの上下方向の移動を案内するガイドが設けられている、
    ことを特徴とする非常停止レバー配置構造。
  5. 請求項1において、
    前記レバー中間部と前記係止部との間には、上下方向の間隙が設けられている、
    ことを特徴とする非常停止レバー配置構造。
JP2008256307A 2008-10-01 2008-10-01 産業車両のための非常停止レバー配置構造 Active JP5611517B2 (ja)

Priority Applications (1)

Application Number Priority Date Filing Date Title
JP2008256307A JP5611517B2 (ja) 2008-10-01 2008-10-01 産業車両のための非常停止レバー配置構造

Applications Claiming Priority (1)

Application Number Priority Date Filing Date Title
JP2008256307A JP5611517B2 (ja) 2008-10-01 2008-10-01 産業車両のための非常停止レバー配置構造

Publications (2)

Publication Number Publication Date
JP2010083642A true JP2010083642A (ja) 2010-04-15
JP5611517B2 JP5611517B2 (ja) 2014-10-22

Family

ID=42247982

Family Applications (1)

Application Number Title Priority Date Filing Date
JP2008256307A Active JP5611517B2 (ja) 2008-10-01 2008-10-01 産業車両のための非常停止レバー配置構造

Country Status (1)

Country Link
JP (1) JP5611517B2 (ja)

Citations (5)

* Cited by examiner, † Cited by third party
Publication number Priority date Publication date Assignee Title
JPS55165377U (ja) * 1979-05-07 1980-11-27
JPS56165377U (ja) * 1980-05-10 1981-12-08
JPH06215828A (ja) * 1993-01-12 1994-08-05 Toyota Autom Loom Works Ltd 産業車両におけるバッテリの電源開閉装置
JP2001026398A (ja) * 1999-07-15 2001-01-30 Toyota Autom Loom Works Ltd バッテリ式産業車両における電源遮断装置
JP2006019161A (ja) * 2004-07-02 2006-01-19 Shinmei Ind Co Ltd 着脱補助機能を有するプラグ

Patent Citations (5)

* Cited by examiner, † Cited by third party
Publication number Priority date Publication date Assignee Title
JPS55165377U (ja) * 1979-05-07 1980-11-27
JPS56165377U (ja) * 1980-05-10 1981-12-08
JPH06215828A (ja) * 1993-01-12 1994-08-05 Toyota Autom Loom Works Ltd 産業車両におけるバッテリの電源開閉装置
JP2001026398A (ja) * 1999-07-15 2001-01-30 Toyota Autom Loom Works Ltd バッテリ式産業車両における電源遮断装置
JP2006019161A (ja) * 2004-07-02 2006-01-19 Shinmei Ind Co Ltd 着脱補助機能を有するプラグ

Also Published As

Publication number Publication date
JP5611517B2 (ja) 2014-10-22

Similar Documents

Publication Publication Date Title
JP5879176B2 (ja) 電動車両
JP2015069823A (ja) 電動車両のバッテリ取付構造
JP5846992B2 (ja) 鞍乗型電動車両
JP4297020B2 (ja) バッテリ交換用台車における連結装置
CN103358872A (zh) 跨骑式电动车辆
CN113811483A (zh) 跨骑型电动车辆
JP2019073148A (ja) 電動作業車
JP5611517B2 (ja) 産業車両のための非常停止レバー配置構造
JP2010013034A (ja) 格納式車両用シート装置
JP2008132930A (ja) 作業機の操作機構
JP2010269903A (ja) ハンド走行フォークリフター
JP4289566B2 (ja) リーチ型フォークリフト
JP5252745B2 (ja) フォークリフト
JP4568342B2 (ja) 作業機
JP4624865B2 (ja) 作業車両
JP2010116114A (ja) 車両のシート装置
JP2015071324A (ja) 電動アシスト自転車
JP2009012911A (ja) フォーク延長アタッチメントを備えたフォークリフト
JP2013006512A (ja) ハンドブレーキレバー装置
JP3898204B2 (ja) 作業機装着構造
JP2018012563A (ja) リーチ式フォークリフト
CN212685516U (zh) 车辆
JP2010058615A (ja) 作業車両
JP4362357B2 (ja) 乗用田植機
JP2018122973A (ja) フォークリフト

Legal Events

Date Code Title Description
A621 Written request for application examination

Free format text: JAPANESE INTERMEDIATE CODE: A621

Effective date: 20110921

A977 Report on retrieval

Free format text: JAPANESE INTERMEDIATE CODE: A971007

Effective date: 20130522

A131 Notification of reasons for refusal

Free format text: JAPANESE INTERMEDIATE CODE: A131

Effective date: 20130524

A521 Written amendment

Free format text: JAPANESE INTERMEDIATE CODE: A523

Effective date: 20130722

A131 Notification of reasons for refusal

Free format text: JAPANESE INTERMEDIATE CODE: A131

Effective date: 20140114

A521 Written amendment

Free format text: JAPANESE INTERMEDIATE CODE: A523

Effective date: 20140315

TRDD Decision of grant or rejection written
A01 Written decision to grant a patent or to grant a registration (utility model)

Free format text: JAPANESE INTERMEDIATE CODE: A01

Effective date: 20140804

A61 First payment of annual fees (during grant procedure)

Free format text: JAPANESE INTERMEDIATE CODE: A61

Effective date: 20140903

R150 Certificate of patent or registration of utility model

Ref document number: 5611517

Country of ref document: JP

Free format text: JAPANESE INTERMEDIATE CODE: R150

R250 Receipt of annual fees

Free format text: JAPANESE INTERMEDIATE CODE: R250

S111 Request for change of ownership or part of ownership

Free format text: JAPANESE INTERMEDIATE CODE: R313111

S531 Written request for registration of change of domicile

Free format text: JAPANESE INTERMEDIATE CODE: R313531

S533 Written request for registration of change of name

Free format text: JAPANESE INTERMEDIATE CODE: R313533

R350 Written notification of registration of transfer

Free format text: JAPANESE INTERMEDIATE CODE: R350

R360 Written notification for declining of transfer of rights

Free format text: JAPANESE INTERMEDIATE CODE: R360

R360 Written notification for declining of transfer of rights

Free format text: JAPANESE INTERMEDIATE CODE: R360

R371 Transfer withdrawn

Free format text: JAPANESE INTERMEDIATE CODE: R371

S111 Request for change of ownership or part of ownership

Free format text: JAPANESE INTERMEDIATE CODE: R313111

R371 Transfer withdrawn

Free format text: JAPANESE INTERMEDIATE CODE: R371

S111 Request for change of ownership or part of ownership

Free format text: JAPANESE INTERMEDIATE CODE: R313111

R350 Written notification of registration of transfer

Free format text: JAPANESE INTERMEDIATE CODE: R350