JP2010083103A - 画像記録装置 - Google Patents

画像記録装置 Download PDF

Info

Publication number
JP2010083103A
JP2010083103A JP2008257551A JP2008257551A JP2010083103A JP 2010083103 A JP2010083103 A JP 2010083103A JP 2008257551 A JP2008257551 A JP 2008257551A JP 2008257551 A JP2008257551 A JP 2008257551A JP 2010083103 A JP2010083103 A JP 2010083103A
Authority
JP
Japan
Prior art keywords
ink
head unit
head
same
order
Prior art date
Legal status (The legal status is an assumption and is not a legal conclusion. Google has not performed a legal analysis and makes no representation as to the accuracy of the status listed.)
Granted
Application number
JP2008257551A
Other languages
English (en)
Other versions
JP5133189B2 (ja
Inventor
Hiroshi Hashi
寛 橋
Current Assignee (The listed assignees may be inaccurate. Google has not performed a legal analysis and makes no representation or warranty as to the accuracy of the list.)
Olympus Corp
Original Assignee
Olympus Corp
Priority date (The priority date is an assumption and is not a legal conclusion. Google has not performed a legal analysis and makes no representation as to the accuracy of the date listed.)
Filing date
Publication date
Application filed by Olympus Corp filed Critical Olympus Corp
Priority to JP2008257551A priority Critical patent/JP5133189B2/ja
Publication of JP2010083103A publication Critical patent/JP2010083103A/ja
Application granted granted Critical
Publication of JP5133189B2 publication Critical patent/JP5133189B2/ja
Active legal-status Critical Current
Anticipated expiration legal-status Critical

Links

Images

Landscapes

  • Ink Jet (AREA)

Abstract

【課題】インク色において同じチューブを用いたインク経路を形成した際にインクタンクと記録ヘッドまでの距離に違いにより流路抵抗値に差があると、記録ヘッドに供給されるインク供給量やノズル面圧が異なり、安定した画像記録品質の維持が難しい。
【解決手段】本体フレームに搭載される複数のインク色のヘッドユニットと、回動による開閉可能なホルダー部に搭載した複数インク色のインクカートリッジとを備え、記録媒体の搬送方向から見て、ヘッドユニットのインク色による配置に対して、インクカートリッジのインク色の順序を逆転して配置して、ヘッドユニットとインクカートリッジとを同径の同じ長さのチューブで接続して、全インク色のインク経路を同じ距離にすることにより、同じインクの流路抵抗値を得る画像記録装置である。
【選択図】 図5

Description

本発明は、記録媒体にインクを吐出して画像を記録する画像記録装置のインク経路構成に関する。
一般的なインクジェット方式による記録装置、所謂、インクジェットプリンタ(以下、プリンタと称する)は、サーマルヘッド方式或いは電気機械変換素子(ピエゾ)方式等の記録ヘッドから記録用紙等の記録媒体上にインクを吐出して、画像を記録(印刷)している。
このプリンタは、一軸方向(記録媒体の幅方向)に走査移動可能な記録ヘッドを用いたシリアル式インクジェットプリタと、同じく一軸方向に複数のノズルを列に配置した固定式記録ヘッドを用いたライン式インクジェットプリンタとがある。いずれのプリンタにおいても、画像記録の際に記録ヘッドからインクを吐出しているため、吐出したインクの量に相当する量のインクをインク供給源から記録ヘッドに供給している。
このインク供給源は、インクタンク交換や保守の容易性を図るために、通常に記録ヘッドへインクを供給するインク供給位置と、メンテナンスを行なう保守位置との間を移動できるように構成されている。例えば、特許文献1では、インク供給源である、インクタンクが複数装着されるインクタンクホルダがある軸を中心にして供給位置から保守位置まで回動できる構成となっている。
特開2004−25717号公報
前述した特許文献1による構成は、インクタンクホルダの近くに設けた1つの軸を中心に回動させているため、その軸に近い位置に配置されたインクタンクと、軸から離れた位置に配置されたインクタンクとでは、記録ヘッドまでの径路長が異なる。この径路長に差があることにより、インクタンク毎に記録ヘッドまでの流路抵抗値が異なっている。このため、インクタンク毎に記録ヘッドに供給されるインク供給量やノズル面圧が異なってしまうため、安定した画像記録品質を維持することが難しい。
そこで本発明は、記録ヘッドにインクを供給するインク供給源の保守の容易性を図りつつ、インク供給源を装置本体に対して相対移動させても各インク供給源から記録ヘッドまでの流路抵抗値のばらつきを低減することのできる画像記録装置を提供することを目的とする。
本発明は、上記目的を達成するために、任意の一方向に対して、予め定められたインク色の順序で等間隔に装置本体内に列状に配置され、インクを吐出して記録媒体上に画像を記録する複数のヘッドユニットと、前記ヘッドユニットの列端に配置された回動軸を中心として回動可能に設けられ、前記インク色の順序とは逆転された順序で前記等間隔に配置されたインク供給源と、同色のインクが用いられる前記ヘッドユニットと前記インク供給源との間のそれぞれのインク経路間を接続する同じ長さのチューブと、を有する画像記録装置を提供する。
本発明によれば、記録ヘッドにインクを供給するインク供給源の保守の容易性を図りつつ、インク供給源を装置本体に対して相対移動させても各インク供給源から記録ヘッドまでの流路抵抗値のばらつきを低減することのできる画像記録装置を提供することができる。
以下、図面を参照して本発明の実施形態について詳細に説明する。
図1乃至図6を参照して、本発明の第1の実施形態を説明する。まず、図1乃至図3は、第1の実施形態に係る画像記録装置の全体構成について説明する。尚、以下の説明において、図中、記録媒体の搬送方向をX軸方向または副走査方向とし、この搬送方向と直交する方向をY軸方向または主走査方向或いは記録媒体の幅方向としている。また、X軸及びY軸方向に直交する方向をZ軸方向または上下方向とする。
図1において、画像記録装置1は、記録媒体供給部11、媒体搬送部12、画像形成部13、排出部14、インク供給源18、装置本体フレーム100、及び制御部21で構成される。
記録媒体供給部11は、複数の記録媒体15を載置する供給トレイ25と、ピックアップローラ26とから構成されている。供給トレイ25には、記録媒体15として例えば、複数枚のカットシートが装填されている。ピックアップローラ26は、供給トレイ25に装填された記録媒体15に当接して、1枚ずつピックアップし、媒体搬送部12へ受け渡す。
媒体搬送部12は、レジストローラ29と、ローラ30と、搬送ベルト31と、プラテン32と、吸引ファン33と、から構成されている。レジストローラ29は、ピックアップローラ26により搬入された記録媒体15の先端を当接させて、搬送姿勢を矯正(斜行補正)すると共に、タイミングを調整して搬送ベルト31に受け渡しを行う。搬送ベルト31は、無端で帯状に形成され且つ、多数の孔が開口されている。この搬送ベルト31は、例えば、3つのローラ30に巻回され、一定のテンションが掛けられている。尚、ローラ30の少なくとも1つは、搬送モータが接続された駆動ローラであり、搬送ベルト31を移動させている。
また、搬送ベルト31の回動内に、プラテン32と吸引ファン33が設けられている。プラテン32は、少なくとも画像形成部13と対向する領域が画像形成面となるように配置されており、且つ、多数の孔が形成されている。吸引ファン33は搬送ベルト31の多数の孔からプラテン32の多数の孔を通して、エアーを吸引して、負圧を発生する。この負圧により、レジストローラ29から搬送された記録媒体15は、搬送ベルト31上に吸着された状態で所定の搬送速度で下流側へと搬送される。
この画像形成部13は、X軸方向に沿って配置される複数のインク色のヘッドユニット35(35K,35C,35M,35Y)と、各ヘッドユニット35に各色のインクを分配する分配タンク36(36K,36C,36M,36Y)と、少なくとも各ヘッドユニット35を保持するヘッドユニット保持部材37と、により構成される。ヘッドユニット35K,35C,35M,35Y及び分配タンク36K,36C,36M,36Yは、所定間隔で離間して配置される。尚、以下の説明において、符号に用いた英文字は、K:ブラック、C:シアン、M:マゼンタ、Y:イエローのインク色を示唆する。本実施形態においては、記録媒体15の搬送方向における上流側から下流側に向かって、ブラックK、シアンC、マゼンタM及びイエローYの順に配置されている。
各ヘッドユニット35K,35C,35M,35Yは、搬送方向と直交する方向に記録媒体15の幅以上となるように、ヘッドユニット保持部材37によって保持されている。本実施形態では、各ヘッドユニット35は、例えば、6個の短尺な記録ヘッドを千鳥状に配置することで記録媒体15の幅以上となるように構成されている。
本実施形態では、各分配タンク36K,36C,36M,36Yは、6個の短尺な記録ヘッドに所定色のインクを分配している。このように構成された画像形成部13では、ヘッドユニット35K,35C,35M,35Yの下方を記録媒体15が通過する際に、それぞれに画像データに基づき、各色のインクが吐出され、記録媒体15上にカラー画像又はモノクロ画像が形成されている。画像形成部13によって画像形成された記録媒体15は、排出部14の排出ローラ41によって排出トレイ42へと排出される。
また、インク供給源18は、各ヘッドユニット35K,35C,35M,35Yにインクを供給するインク供給源となるインクカートリッジ51(51K,51C,51M,51Y)で構成されている。
装置本体フレーム100は、図2及び図3に示すように、フロント側フレーム100aとリア側フレーム100bと底板100cによって構成されている。
この装置本体フレーム100には、フロント側フレーム100aとリア側フレーム100bとが底板100cの両側に設けられている。これらのフレーム内には、図1に示したように記録媒体供給部11、媒体搬送部12及び排出部14が搬送経路に沿って配置(図示せず)される。さらに、媒体搬送部12の上方に近接して画像形成部13が配置されている。また、フロント側フレーム100aには、インクカートリッジ51K,51C,51M,51Yを保持するインク供給源保持部200が設けられている。このインク供給源保持部200は、フロント側フレーム100aに取り付けられた支持部材202と、支持部材202と回動軸203を介して取り付けられたホルダー部201とで構成される。このホルダー部201は、回動軸203を中心に回動する。
また、ホルダー部201に対する各インクカートリッジ51の着脱方向は、Y軸方向に設定されている。
この構成により、正面側から図示しない外装パネルをあけることにより、各インクカートリッジ51の交換操作を行うことができる。尚、インク供給源保持部200をフロント側フレーム100aに取り付けたが、リア側フレーム100bに取り付けてもよい。
各インクカートリッジ51は、インク供給源保持部200に外れないように押圧されて保持される。各インクカートリッジ51は、先端部のインク供給口51aがチューブ52と連結してインクを供給する。空になった各インクカートリッジ51は、ユーザーによって装置正面方向へ引き抜かれて取り外しされる。
ホルダー部201は、図2に示すフロント側フレーム100aに対して略平行な閉位置(供給位置)と、図3に示すフロント側フレーム100aに対して略直交する開位置(保守位置)との間を、回動軸203を中心に回動する。ホルダー部201は、底板100c、つまり装置設置面に対して水平な状態を維持しつつ回動する。尚、各インクカートリッジ51は、供給位置において各ヘッドユニット35にインクを供給する。また、ホルダー部201は、閉位置にあるとき、図示しないストッパ機構によりフロント側フレーム100aに対して解除しない限り固定されている。尚、制御部21は、記録媒体供給部11、媒体搬送部12、画像形成部13、排出部14、インク供給源18をそれぞれ制御している。
次に、図4乃至図6を用い、本実施形態のインク経路について説明する。
図4は、本実施形態のインク供給路を概略的に示した図である。ここでは、ブラック色Kのインク経路を一例として説明する。他のインク色についても同様である。
図4に示すように、装置本体フレーム100内には、ヘッドユニット35Kが所定の位置に配置され、インク供給源保持部200のホルダー部201側には、インクカートリッジ51Kが装着されている。
ヘッドユニット35Kとインクカートリッジ51は、チューブ52によって接続されている。また、ヘッドユニット35Kには、画像記録を行うために所定の負圧をあたえる必要があるため、ヘッドユニット35Kのノズル面から高さHだけ低い位置にインクカートリッジ51Kが配置されている。
この高さHを設定することにより、ヘッドユニット35Kからインクが垂れることなく記録媒体15に画像記録を行う。そして、ヘッドユニット35Kが画像記録を行うことで消費されたインクがインクカートリッジ51Kから補給される。ここで、一般的にインク経路の流路抵抗は、チューブ52の長さに比例する。つまり、インクカートリッジ51Kとヘッドユニット35Kを接続するチューブ52の長さが、長ければ流路抵抗は大きくなり、短ければ流路抵抗は小さくなる。
このように流路抵抗が異なった場合、同じ圧力でインクカートリッジ51Kからヘッドユニット35Kにインクを供給した際、流路抵抗が小さければ、圧力損失が小さいため供給されるインクの流量は多くなり、流路抵抗が大きければ圧力損失が大きいため供給されるインクの流量は少なくなる。そのため、インク色に関わりなく、流路抵抗のバラツキをなくす必要がある。
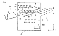
そこで、本実施形態では、図5(a),(b)に示す配置を採用している。
図5(a)は、インク供給源保持部200が閉位置の状態を示し、図5(b)は、インク供給源保持部200が開位置の状態を示している。図5(a)に示すように、装置本体フレーム100側には、各ヘッドユニット35が所定距離L〜4Lを離間して配置されている。ここでは、各ヘッドユニット間の距離をLとしている。本実施形態では、例えば搬送方向上流側からヘッドユニット35K、ヘッドユニット35C、ヘッドユニット35M、ヘッドユニット35Yの順序で同じ距離Lを空けて等間隔に配置される。また、列端のヘッドユニット、ここでは、ヘッドユニット35Yと回動軸203との距離もLとしている。この配置において、ホルダー部201が閉位置のときは、インクカートリッジ51は、ヘッドユニット35の長手方向における外側に配置され、ヘッドユニット35とインクカートリッジとが向かい合い、それぞれが正対する配置となる。具体的には、ホルダー部201が閉位置のとき、Y方向においてヘッドユニット35Kとインクカートリッジ51Yとが向かい合い、ヘッドユニット35Cとインクカートリッジ51Mとが向かい合っている。また、ヘッドユニット35M及びヘッドユニット35Yは、それぞれインクカートリッジ51C、51Kと向かい合っている。
装置本体フレーム100のフロント側フレーム100aには、インク供給源保持部200のホルダー部201が回動可能に取り付けられている。このホルダー部201には、搬送方向上流側からインクカートリッジ36Y、インクカートリッジ36M、インクカートリッジ36C、インクカートリッジ36Kの順序で装着されている。つまり、搬送方向上流側から見たヘッドユニット35K,35C,35M,35Yの順序と、インクカートリッジ51Y,51M,51C,51Kの順序とが逆転されている。
次に、図5(a),(b)に示す本実施形態におけるヘッドユニットとインクカートリッジの配置と、図6に示すインク経路長即ち、流路抵抗が考慮されていないヘッドユニットとインクカートリッジの配置について比較しつつ説明する。尚、説明の便宜上、図5及び図6における各インクカートリッジ間の間隔及び各インクカートリッジは同じ間隔Lであるものとする。
図5及び図6に示すように、何れの配置においても、各ヘッドユニット35と各インクカートリッジ51を接続するチューブ52,53は、インク供給源保持部200のホルダー部201が閉位置から開位置まで回動可能な長さを有している。
図5に示す本実施形態においては、搬送方向上流側から見たヘッドユニット35は、ヘッドユニット35K,35C,35M,35Yの順序で配置され、インクカートリッジ51は、インクカートリッジ51Y,51M,51C,51Kの順序で配置されている。この配置により、例えば、ヘッドユニット35Kからインクカートリッジ51Kまでのチューブは、4L+Lとなるため、全長は5Lとなる。同様に、ヘッドユニット35Cからインクカートリッジ51Cまでのチューブは、3L+2Lとなるため、全長は5Lとなる。以下、ヘッドユニット35M,35Yとインクカートリッジ51M,51Yにおいても、それぞれ全長は、[3L+2L],[L+4L]により、5Lとなる。
これに対して、図6による配置では、例えば、ヘッドユニット35Kからインクカートリッジ51Kまでのチューブの全長は、ヘッドユニット35Kから回動軸203までのチューブの長さが4Lであり、回動軸203からインクカートリッジ51Kまでのチューブの長さが4Lであるため、[4L+4L]により、全長は8Lとなる。
同様に、ヘッドユニット35Cからインクカートリッジ51Cまでのチューブの全長は、[3L+3L]により、全長は6Lとなる。ヘッドユニット35Mからインクカートリッジ51Mのチューブの全長は、[2L+2L]により4Lである。ヘッドユニット35Yからインクカートリッジ51Yまでのチューブの全長は、[L+L]によって全長は2Lとなる。
このように、図5に示すように、ヘッドユニット35及び各インクカートリッジ51を配置の順番を逆転させた配置を用いることにより、チューブの全長はインク色に拘わらず5Lである。これに対して、図6に示すような各ヘッドユニット35及び各インクカートリッジ51を配置すると、インク色毎によって、2L,4L,6L,8Lと最大では4倍のチューブの長さが異なってくる。
このように図6に示す配置では、最も長いチューブの長さが8Lであり、最も短いチューブの長さは2Lである。前述した様に、流路抵抗はチューブの長さに比例して大きくなるため、インク色毎に圧力損失が異なることになる。例えば、ヘッドユニットのクリーニングを行うために不図示の加圧ポンプによりインクカートリッジ51内を加圧し、ヘッドユニット35からインクを強制的に吐出させた際、長いチューブに標準を合わせて圧力設定を行うと、短いチューブには必要以上な圧力がかかってしまう。このような場合、短いチューブが用いられたヘッドユニットからは必要以上のインクが吐出され、インクを無駄に消費してしまう。また、ヘッドユニットにインクを初期充填する際にも同様なことが起こり、あるヘッドユニットでは充填に手間取り、あるヘッドユニットではノズルからインクが垂れ落ちている状態となる。
本実施形態においては、図5(a)に示すように順序を逆転して配置することにより、同じインク色において、各ヘッドユニット35と各インクカートリッジ36のインク経路長、即ち、チューブ52の長さがすべて、5Lとなる。各チューブ52は、回動軸203近傍を経由させて配線することにより、ホルダー部201が装置本体フレーム100(フロント側フレーム100a)に対して閉位置でも開位置でもチューブに不要な外力が加わることなく引き回される。
このよう、インク色が異なったとしても、同じ径の同じ長さのチューブを用いていることができるため、流路抵抗を等しくすることができる。よって、等しい流路抵抗は、同じインク供給量と、同じノズル面圧をかけることができ、安定した記録品質を維持することができる。
また、インク経路の構成がインク色に関わりなく全て共通となるため、部品の共用により部品の品種を削減でき、組立も同じ作業となるため、作業効率も上昇して、製造コストの低減を実現することができる。
尚、本実施形態では、各インクカートリッジ51間の間隔をヘッドユニットと同じ間隔で配置させたが、各インクカートリッジ51間の間隔が等しければヘッドユニットと同じ間隔にする必要はない。この場合においても、図6に示したように配置することよりインク色毎による流路抵抗のバラツキを抑えることができる。
次に、第1の実施形態の第1の変形例について説明する。
図7は、第1の変形例に係る概念的な装置構成を示し、図8は、ヘッドユニットにインクを供給するインク供給源の構成例を示している。
第1の変形例では、インク供給路において、ヘッドユニット35からインクカートリッジ51までのインク供給路中に電磁弁61とサブタンク62を追加した構成である。
この構成において、ヘッドユニット35のノズルのメニスカスは、サブタンク62によって形成する。電磁弁61は、開閉によりインクカートリッジ51からサブタンク62へのインク供給又は停止を行う。
また、図8に示すように、各ヘッドユニット35から各インクカートリッジ51までのチューブ52,54は、図5で説明したと同様な配置であり、インク色に関係なく全て同じ長さである。これら以外の構成部位は、図1に示した第1の実施形態と同等であり、ここでの説明は省略する。チューブ54の長さは一様であり、例えば、Lとする。
この第1の変形例は、図8(a)に示すように順序を逆転して配置することにより、インク色に拘わらず、サブタンク62を含む各ヘッドユニット35と各インクカートリッジ36のインク経路長、即ち、チューブ52,54による長さがすべて、6Lとなる。このよう、インク色が異なったとしても、同じ径の同じ長さのチューブを用いていることができるため、流路抵抗を等しくすることができる。よって、等しい流路抵抗は、同じインク供給量と、同じノズル面圧をかけることができ、安定した記録品質を維持することができる。
次に、第1の実施形態の第2の変形例について説明する。
図9は、第2の変形例に係る画像記録装置のインク経路の概念的な構成例を示し、図10(a),(b)は、ヘッドユニットにインクを供給するインク供給源の構成例を示している。
第2の変形例は、インク循環経路によるインク供給路が設けられた画像記録装置である。このインク循環経路は、上部タンク64からヘッドユニット35にインクを供給するインク供給路となるチューブ55(例えば、長さLとする)と、ヘッドユニット35から下部タンク63に吐出されなかったインクを排出するインク排出路となるチューブ56(例えば、長さLとする)と、下部タンク63から上部タンク64にポンプ65を用いて汲み上げてインクを帰還させるインク帰還路となるチューブ57(例えば、長さLとする)とで構成される。
下部タンク内には、図示しない液面センサが設けられている。この液面センサの検出信号に基づいて図示しない制御部の指示により電磁弁61が開かれ、インクカートリッジ51から下部タンク63にインクが補充される。 また、インクカートリッジ51から下部タンク63にインクを供給(補充)するチューブ52は、前述した第1の変形例と同等である。即ち、図10(a)に示すように、記録媒体の搬送方向から見て、ヘッドユニット35K,35C,35M,35Y(下部タンク63K,63C,63M,63Y)の順に対して、インクカートリッジ51Y,51M,51C,51Kの順序に配置される。このように、順序を逆転して配置することにより、インク色に拘わらず、各インクカートリッジ51から下部タンク63を含む各ヘッドユニット35までのインク経路長、即ち、チューブ52,55,57による長さをすべて同じにすることができる。
これにより、インク色が異なったとしても、同じ径の同じ長さのチューブを用いているため、流路抵抗は等しくなる。
尚、この第2の変形例では、インク循環経路において、上下部タンクとヘッドユニットの高さ位置関係により、自然落下によるインク循環とメニスカスを形成している。上部タンク64は、ヘッドユニット35よりも高さH1だけ高い位置に設けられている。この上部タンク64を上位(高い)に配置することにより、上部タンク64からヘッドユニット35にインクの自重(重力)により供給される。
また、メニスカスを形成するためにヘッドユニット35の記録ヘッド内のインク室(下方にノズルが設けられているインク貯留スペース)に負圧が働くように、下部タンク63はヘッドユニット35よりも高さH2だけ低く配置されている。これらのH1、H2は、設計仕様に基づく数値であり、設計時に求められた距離で配置される。
この第2の変形例においても、インクカートリッジからヘッドユニットまでを同じ径の同じ長さのチューブを用いることができ、流路抵抗を等しくできる。
次に、第2の実施形態について説明する。
図11には、本実施形態の画像記録装置のインク経路の概念的な構成例を示し、図12には、ヘッドユニットにインクを供給するインク供給源の構成例を示している。
本実施形態は、図11に示すように、インク供給源としてインクカートリッジ51とサブタンク62がインク供給源保持部200のホルダー部201に搭載されている構成である。ホルダー部201は、装置本体フレーム100のフロント側フレーム100aに回動軸203を用いて、回動可能に取り付けられている。
本実施形態では、図12(b)に示すように、インクカートリッジ51Y,51M,51C,51Kに対応したサブタンク62Y,62M,62C,62Kが同じ長さのチューブ52で接続している。
サブタンク62Y,62M,62C,62Kは、装置本体フレーム100内のヘッドユニット35K,35C,35M,35Yに対して、同じ長さのチューブ54により接続されている。チューブ54は、少なくとも、ホルダー部201が閉位置から開位置まで回動可能にする長さを有している。これらサブタンク62Y,62M,62C,62Kは、図12(a)に示すように、ホルダー部201が閉位置の時に搬送方向から見てヘッドユニット35K,35C,35M,35Yの順序に対して、サブタンク62Y,62M,62C,62Kの順序で配置される。
本実施形態によれば、前述した第1の実施形態と同等の効果を得ることができる。即ち、インク色が異なったとしても、同じ径の同じ長さのチューブを用いているため、流路抵抗を等しくすることができる。よって、等しい流路抵抗は、同じインク供給量と、同じノズル面圧をかけることができ、安定した記録品質を維持することができる。さらに、サブタンク62を搭載するホルダー部201は、大型化するがその反面、装置本体フレーム100内の構成が簡易化され、チューブの引き廻しが容易になる。またホルダー部201に搭載されているサブタンク62は修理や調整等が容易となる。
次に、第3の実施形態について説明する。
図13には、本実施形態の画像記録装置のインク循環経路の概念的な構成例を示し、図14(a),(b)には、ヘッドユニットにインクを供給するインク供給源の構成例を示している。 本実施形態は、図13に示すように、ホルダー部201に、インク供給源としてのインクカートリッジ51、上部サブタンク72及び下部サブタンク71が搭載されている構成である。尚、ヘッドユニット35、上部サブタンク72及び下部サブタンク71でインク循環経路を形成している。
このインク循環経路は、上部サブタンク72からヘッドユニット35にインクを供給するインク供給路となるチューブ55(例えば、長さLとする)と、ヘッドユニット35から下部サブタンク71に吐出されなかったインクを排出するインク排出路となるチューブ56(例えば、長さLとする)と、下部サブタンク71から上部サブタンク72にポンプ65を用いて汲み上げてインクを帰還させるインク帰還路となるチューブ57(例えば、長さLとする)とで構成される。さらに、インクカートリッジ51から下部サブタンク71に接続するインク補充のためのチューブ52が設けられている。さらに、チューブ52の途中には、インクの補充時には開き、通常の画像記録時には閉じる電磁弁61が配置される。さらに、上部サブタンク72及び下部サブタンク71を接続するインク帰還路となるチューブ57の途中には、下部サブタンク71から上部サブタンク72にインクを帰還させるポンプ63が設けられている。
また、ホルダー部201は、装置本体フレーム100のフロント側フレーム100aに回動軸203を用いて、回動可能に取り付けられている。
また、この構成において、図14(a)に示すように、ホルダー部201が閉位置の時に記録媒体の搬送方向から見て、ヘッドユニット35K,35C,35M,35Yの順に対して、インクカートリッジ51Y,51M,51C,51K(上下サブタンク71Y(72Y),71M(72M),71C(72C),71K(72K))の順序で等間隔に配置される。
このような配置により、本実施形態でインク帰還路を構成するチューブ55,56の合計の長さは、インク色に拘わらず同じ長さになる。また、チューブ52,57は可動する部分を含まず、同じ長さである。
従って、本実施形態のインク循環経路は、インク色が異なったとしても、同じ径の同じ長さのチューブを用いているため、流路抵抗を等しくすることができる。よって、等しい流路抵抗は、同じインク供給量と、同じノズル面圧をかけることができ、安定した記録品質を維持することができる。特に、本実施形態は、常にインクが循環している構成であるため、流路抵抗の違いは大きく影響を受けることとなり、この流路抵抗を全インク色において同じにすることにより、他のインク循環経路と比べて、著しく高品質な画像を得ることができる。
次に、第4の実施形態について説明する。
これまで説明した実施形態は、ヘッドユニット(記録ヘッド)がヘッドユニット保持部材37に固定された固定ライン型記録ヘッドであったが、これに限定されるものではない。例えば、図15に示すように、シリアルタイプの画像記録装置においても適用することができる。
本実施形態において、ヘッドユニット35K,35C,35M,35Yは、走査移動するヘッドユニット保持部材38上に、主走査方向に等間隔で列を成して配置される。ヘッドユニット35の列端、ここでは、主走査方向でヘッドユニット35Yから距離Lの位置に回動軸203を設けて、この回動軸を中心として回動するホルダー部201を設ける。本実施形態では、ヘッドユニット保持部材38とホルダー部201は、一体的に走査移動する。
ホルダー部201には、サブタンク51Y,51M,51C,51Kがヘッドユニット35K,35C,35M,35Yと同じ距離Lの等間隔で配置される。ヘッドユニット35とサブタンク51を回動させて向かい合わせた場合には、つまり、閉位置においてそれぞれが対向する配置となる。
装置本体フレーム100内のヘッドユニット35K,35C,35M,35Yに対して、同じ長さのチューブ54により接続されている。チューブ54は、少なくとも閉位置から開位置まで回動可能にする長さを有している。これらの配置は、図12(a)に示すように、ホルダー部201が閉位置の時に主走査方向から見てヘッドユニット35K,35C,35M,35Yの順序に対して、サブタンク51Y,51M,51C,51Kの順序で距離Lの等間隔に配置される。また、ヘッドユニット35Yから回動軸203までの距離はLとする。従って、本実施形態におけるヘッドユニット35とサブタンク51との距離は、インク色に拘わらず、距離5Lとなる。
本実施形態において、前述した第1の実施形態と同様に、各インク色に対して同じインクの流路抵抗を得ることができ、安定した記録品質を維持することを実現する。
以上説明したように、安定した記録品質を維持することを実現する各実施形態及び各変形例によれば、同径で同じ長さのチューブにより各色のインク経路が同一的に構成されるため、従来のように、インクの流量と圧力を所定の値にするために、タンクの配置に応じて流路抵抗値が同じとなるように経路の断面形状や長さを変える必要がない。
各インク色のインクカートリッジ、サブタンク及びチューブ等の全ての構成部材は、全色で共通して使用することができるため、必要な部材の種別を大幅に少なくすることができ、コストを削減することができる。
また、インク色に関わりなく、共通部材となるため、サービスパーツの種別が少なくなり、サービス作業時の利便性が高くなる。さらに、チューブ長さが共通なため、組立や交換作業時に、部材と接続対象となる部材と距離が規定されているため、正しい接続の時には弛みが無いようにチューブ長を決めることにより、他のインク色の部材まで届かない又は、大きく弛みが発生することとなり、作業者が視覚的に間違いとして認知でき、接続ミスが減ることとなる。
図1は、第1の実施形態に係る画像記録装置の全体構成を示すブロック図である。 図2は、装置本体フレームの構造を示し、ホルダー部が閉じた状態の正面を斜め上から見た図である。 図3は、装置本体フレームの構造を示し、ホルダー部が開いた状態の正面を斜め上から見た図である。 図4は、第1の実施形態におけるインク供給路を概略的に示した図である。 図5(a)は、第1の実施形態におけるインク供給源保持部が閉位置のヘッドユニットとインクカートリッジの位置関係を示し、図5(b)は、インク供給源保持部が開位置のヘッドユニットとインクカートリッジの位置関係を示す図である。 図6は、第1の実施形態と比較のために示す流路抵抗が考慮されていないヘッドユニットとインクカートリッジの位置関係を示す図である。 図7は、第1の実施形態の第1の変形例に係るインク供給路を概略的に示した図である。 図8(a)は、第1の実施形態の第1の変形例におけるインク供給源保持部が閉位置のヘッドユニットとインクカートリッジの位置関係を示し、図8(b)は、第1の変形例のインク供給源保持部が開位置のヘッドユニットとインクカートリッジの位置関係を示す図である。 図9は、第1の実施形態の第2の変形例に係るインク供給路を概略的に示した図である。 図10(a)は、第1の実施形態の第2の変形例におけるインク供給源保持部が閉位置のヘッドユニットとインクカートリッジの位置関係を示し、図10(b)は、第2の変形例のインク供給源保持部が開位置のヘッドユニットとインクカートリッジの位置関係を示す図である。 図11は、第2の実施形態に係るインク供給路を概略的に示した図である。 図12(a)は、第2の実施形態におけるインク供給源保持部が閉位置のヘッドユニットとインクカートリッジの位置関係を示し、図12(b)は、第2の実施形態のインク供給源保持部が開位置のヘッドユニットとインクカートリッジの位置関係を示す図である。 図13は、第3の実施形態に係るインク供給路を概略的に示した図である。 図14(a)は、第3の実施形態におけるインク供給源保持部が閉位置のヘッドユニットとインクカートリッジの位置関係を示し、図14(b)は、第3の実施形態のインク供給源保持部が開位置のヘッドユニットとインクカートリッジの位置関係を示す図である。 図15は、第4の実施形態に係るシリアルタイプの画像記録装置に適用した構成例を示す図である。
符号の説明
1…画像記録装置、11…記録媒体供給部、12…媒体搬送部、13…画像形成部、14…排出部、15…記録媒体、18…インク供給源、21…制御部、25…供給トレイ、26…ピックアップローラ、29…レジストローラ、30…ローラ、31…搬送ベルト、32…プラテン、33…吸引ファン、35,35K,35C,35M,35Y…ヘッドユニット、36,36K,36C,36M,36Y…分配タンク、37…ヘッドユニット保持部材、41…排出ローラ、42…排出トレイ、51,51K,51C,51M,51Y…インクカートリッジ、100…装置本体フレーム、100a…フロント側フレーム、100b…リア側フレーム、100c…底板、200…インク供給源保持部、201…ホルダー部、202…支持部材、203…回動軸。

Claims (9)

  1. 任意の一方向に対して、予め定められたインク色の順序で等間隔に装置本体内に列状に配置され、インクを吐出して記録媒体上に画像を記録する複数のヘッドユニットと、
    前記ヘッドユニットの列端に配置された回動軸を中心として回動可能に設けられ、前記インク色の順序とは逆転された順序で前記等間隔に配置されたインク供給源と、
    同色のインクが用いられる前記ヘッドユニットと前記インク供給源との間のそれぞれのインク経路間を接続する同じ長さのチューブと、
    を有することを特徴とする画像記録装置。
  2. 任意の一方向に対して、予め定められたインク色の順序で装置本体内に配置され、インクを吐出して記録媒体上に画像を記録する複数のヘッドユニットと、
    前記装置本体内で、前記複数のヘッドユニットのそれぞれに同じインク経路長で接続されて列状に等間隔で配置された複数のサブタンクと、
    前記サブタンクの列端に配置された回動軸を中心として回動可能に設けられ、前記インク色の順序とは逆転された順序で前記等間隔に配置された複数のインク供給源と、
    同色のインクが用いられる前記ヘッドユニットと前記インク供給源との間のそれぞれのインク経路間を接続する同じ長さのチューブと、
    を有することを特徴とする画像記録装置。
  3. 任意の一方向に対して、予め定められたインク色の順序で装置本体内に配置され、インクを吐出して記録媒体上に画像を記録する複数のヘッドユニットと、
    前記装置本体内で、前記複数のヘッドユニットのそれぞれに同じインク経路長で接続され、前記ヘッドユニットの配置位置よりも高位置に配置されてインクを供給する上部タンクと、
    前記装置本体内で、前記複数のヘッドユニットのそれぞれに同じインク経路長で接続されて列状に等間隔で配置され、前記ヘッドユニットの配置位置よりも低位置に配置されて前記ヘッドユニットから排出されたインクを収容し、前記上部タンクに前記インクを帰還させる複数の下部タンクと、
    前記下部タンクの列端に配置された回動軸を中心として回動可能に設けられ、前記インク色の順序とは逆転された順序で前記等間隔に配置された複数のインク供給源と、
    同色のインクが用いられる前記ヘッドユニットと上部タンクと下部タンクとによるインク循環経路間と、前記下部タンクとインク供給源との間のインク経路をそれぞれに接続するインク色毎で同じ長さのチューブと、
    を有することを特徴とする画像記録装置。
  4. 任意の一方向に対して、予め定められたインク色の順序で等間隔に装置本体内に列状に配置され、インクを吐出して記録媒体上に画像を記録する複数のヘッドユニットと、
    前記ヘッドユニットの列端に配置された回動軸を中心として回動可能に設けられ、前記インク色の順序とは逆転された順序で前記等間隔に配置された複数のサブタンクと、
    前記サブタンクのそれぞれに同じインク経路長で接続された複数のインク供給源と、
    同色のインクが用いられる前記ヘッドユニットと前記サブタンクと間のインク経路をそれぞれに接続する同じ長さのチューブと、
    を有することを特徴とする画像記録装置。
  5. 任意の一方向に対して、予め定められたインク色の順序で等間隔に装置本体内に列状に配置され、インクを吐出して記録媒体上に画像を記録する複数のヘッドユニットと、
    前記ヘッドユニットの列端に配置された回動軸を中心として回動可能に設けられ、前記インク色の順序とは逆転された順序で、前記ヘッドユニットの配置位置よりも高位置で前記等間隔に配置されてインクを供給する上部タンクと、
    前記回動軸を中心として回動可能に設けられ、前記インク色の順序とは逆転された順序で、前記ヘッドユニットの配置位置よりも低位置で前記等間隔に配置されて前記ヘッドユニットから排出されたインクを収容し、前記上部タンクに前記インクを帰還させる複数の下部タンクと、
    前記下部タンクのそれぞれに同じインク経路長で接続された複数のインク供給源と、
    同じインク色の前記ヘッドユニットと前記上部タンクと前記下部タンクとによるインク循環経路間と、前記下部タンクとインク供給源と間のそれぞれのインク経路を接続するインク色間で同じ長さのチューブと、
    を有することを特徴とする画像記録装置。
  6. 任意の一方向に反復する走査移動を行うヘッド支持部材と、
    前記ヘッド支持部材に予め定められたインク色の順序で等間隔に列状に配置され、インクを吐出して記録媒体上に画像を記録する複数のヘッドユニットと、
    前記ヘッド支持部材上で前記ヘッドユニットの列端に配置された回動軸を中心として回動可能に設けられ、前記インク色の順序とは逆転された順序で前記等間隔に配置されたインク供給源と、
    同色のインクが用いられる前記ヘッドユニットと前記インク供給源との間のそれぞれのインク経路間を接続する同じ長さのチューブと、
    を有することを特徴とする画像記録装置。
  7. 前記インク供給源は、前記回動軸に支持されるホルダー部に搭載され、前記回転軸による回動方向は、前記装置本体の設置面に対して平行であり、且つ前記ヘッドユニットの列に対して直交する方向であることを特徴とする請求項1乃至5の何れか1つに記載の画像記録装置。
  8. 前記チューブは、前記装置本体とホルダー部に架け渡される際に、前記回動軸を経由することを特徴とする請求項7に記載の画像記録装置。
  9. 前記回転軸による回動方向は、前記記録媒体の画像記録面に対して平行であり、且つ前記ヘッドユニットの列に対して直交する方向であることを特徴とする請求項6に記載の画像記録装置。
JP2008257551A 2008-10-02 2008-10-02 画像記録装置 Active JP5133189B2 (ja)

Priority Applications (1)

Application Number Priority Date Filing Date Title
JP2008257551A JP5133189B2 (ja) 2008-10-02 2008-10-02 画像記録装置

Applications Claiming Priority (1)

Application Number Priority Date Filing Date Title
JP2008257551A JP5133189B2 (ja) 2008-10-02 2008-10-02 画像記録装置

Publications (2)

Publication Number Publication Date
JP2010083103A true JP2010083103A (ja) 2010-04-15
JP5133189B2 JP5133189B2 (ja) 2013-01-30

Family

ID=42247528

Family Applications (1)

Application Number Title Priority Date Filing Date
JP2008257551A Active JP5133189B2 (ja) 2008-10-02 2008-10-02 画像記録装置

Country Status (1)

Country Link
JP (1) JP5133189B2 (ja)

Cited By (1)

* Cited by examiner, † Cited by third party
Publication number Priority date Publication date Assignee Title
US8870355B2 (en) 2012-09-28 2014-10-28 Brother Kogyo Kabushiki Kaisha Liquid ejecting apparatus

Citations (2)

* Cited by examiner, † Cited by third party
Publication number Priority date Publication date Assignee Title
JPH1029323A (ja) * 1996-07-12 1998-02-03 Canon Inc 液体吐出ヘッド、および、それに用いられる液体供給装置
JP2008126451A (ja) * 2006-11-17 2008-06-05 Olympus Corp インクジェット画像記録装置

Patent Citations (2)

* Cited by examiner, † Cited by third party
Publication number Priority date Publication date Assignee Title
JPH1029323A (ja) * 1996-07-12 1998-02-03 Canon Inc 液体吐出ヘッド、および、それに用いられる液体供給装置
JP2008126451A (ja) * 2006-11-17 2008-06-05 Olympus Corp インクジェット画像記録装置

Cited By (4)

* Cited by examiner, † Cited by third party
Publication number Priority date Publication date Assignee Title
US8870355B2 (en) 2012-09-28 2014-10-28 Brother Kogyo Kabushiki Kaisha Liquid ejecting apparatus
US9108421B2 (en) 2012-09-28 2015-08-18 Brother Kogyo Kabushiki Kaisha Liquid ejecting apparatus
US9415599B2 (en) 2012-09-28 2016-08-16 Brother Kogyo Kabushiki Kaisha Liquid ejecting apparatus
US9656471B2 (en) 2012-09-28 2017-05-23 Brother Kogyo Kabushiki Kaisha Liquid ejecting apparatus

Also Published As

Publication number Publication date
JP5133189B2 (ja) 2013-01-30

Similar Documents

Publication Publication Date Title
US8622533B2 (en) Inkjet recording apparatus and method for removing air bubbles in inkjet recording apparatus
JP2011178014A (ja) 液体噴射装置
JP7305404B2 (ja) インクジェット記録装置およびインクタンク
US7097290B2 (en) Ink supply from the main tank to the sub-tank in the printing device
US8733869B2 (en) Liquid ejection apparatus having retractable heads
JP5720273B2 (ja) インク収容容器及び画像形成装置
JP2008238787A (ja) 液体供給システム、液体供給装置、および液体供給方法
JP2009208385A (ja) 画像形成装置
JP5434673B2 (ja) 液体噴射装置
JP2007030450A (ja) 画像記録装置が備えるインク供給システム
JP5133189B2 (ja) 画像記録装置
JP5516019B2 (ja) 液体噴射装置
JP5282575B2 (ja) 画像形成装置
JP5776571B2 (ja) 液体吐出装置
JP5825116B2 (ja) 液体供給機構、画像形成装置
US8256876B2 (en) Ink passageways connecting inlet ports and chambers
US7396109B2 (en) Inkjet printing system with high drop-weight yellow
US20250303729A1 (en) Negative pressure regulation valve and inkjet recording apparatus including the same
US20250303728A1 (en) Inkjet recording apparatus
JP2013126773A (ja) 液体噴射装置
JP2019155715A (ja) 液体供給方法及びインク供給方法及び画像記録方法及び画像形成装置
JP2010069629A (ja) インクジェット記録装置、インクジェット記録ヘッド及びインク貯留部材
JP2018118383A (ja) インクジェット印刷装置
JP2010125701A (ja) インクジェットプリンタ
CN105774252A (zh) 液体喷出装置

Legal Events

Date Code Title Description
A711 Notification of change in applicant

Free format text: JAPANESE INTERMEDIATE CODE: A711

Effective date: 20110225

A711 Notification of change in applicant

Free format text: JAPANESE INTERMEDIATE CODE: A711

Effective date: 20110616

A621 Written request for application examination

Free format text: JAPANESE INTERMEDIATE CODE: A621

Effective date: 20110805

A711 Notification of change in applicant

Free format text: JAPANESE INTERMEDIATE CODE: A712

Effective date: 20111201

A977 Report on retrieval

Free format text: JAPANESE INTERMEDIATE CODE: A971007

Effective date: 20120924

TRDD Decision of grant or rejection written
A01 Written decision to grant a patent or to grant a registration (utility model)

Free format text: JAPANESE INTERMEDIATE CODE: A01

Effective date: 20121009

A01 Written decision to grant a patent or to grant a registration (utility model)

Free format text: JAPANESE INTERMEDIATE CODE: A01

A61 First payment of annual fees (during grant procedure)

Free format text: JAPANESE INTERMEDIATE CODE: A61

Effective date: 20121107

FPAY Renewal fee payment (event date is renewal date of database)

Free format text: PAYMENT UNTIL: 20151116

Year of fee payment: 3

R150 Certificate of patent or registration of utility model

Free format text: JAPANESE INTERMEDIATE CODE: R150

Ref document number: 5133189

Country of ref document: JP

Free format text: JAPANESE INTERMEDIATE CODE: R150

R250 Receipt of annual fees

Free format text: JAPANESE INTERMEDIATE CODE: R250

R250 Receipt of annual fees

Free format text: JAPANESE INTERMEDIATE CODE: R250

R250 Receipt of annual fees

Free format text: JAPANESE INTERMEDIATE CODE: R250

R250 Receipt of annual fees

Free format text: JAPANESE INTERMEDIATE CODE: R250

R250 Receipt of annual fees

Free format text: JAPANESE INTERMEDIATE CODE: R250

R250 Receipt of annual fees

Free format text: JAPANESE INTERMEDIATE CODE: R250

R250 Receipt of annual fees

Free format text: JAPANESE INTERMEDIATE CODE: R250

R250 Receipt of annual fees

Free format text: JAPANESE INTERMEDIATE CODE: R250

R250 Receipt of annual fees

Free format text: JAPANESE INTERMEDIATE CODE: R250

R250 Receipt of annual fees

Free format text: JAPANESE INTERMEDIATE CODE: R250

R250 Receipt of annual fees

Free format text: JAPANESE INTERMEDIATE CODE: R250