JP2010082479A - パチンコ機の遊技盤 - Google Patents

パチンコ機の遊技盤 Download PDF

Info

Publication number
JP2010082479A
JP2010082479A JP2010009932A JP2010009932A JP2010082479A JP 2010082479 A JP2010082479 A JP 2010082479A JP 2010009932 A JP2010009932 A JP 2010009932A JP 2010009932 A JP2010009932 A JP 2010009932A JP 2010082479 A JP2010082479 A JP 2010082479A
Authority
JP
Japan
Prior art keywords
game board
pachinko machine
display means
image
pixels
Prior art date
Legal status (The legal status is an assumption and is not a legal conclusion. Google has not performed a legal analysis and makes no representation as to the accuracy of the status listed.)
Granted
Application number
JP2010009932A
Other languages
English (en)
Other versions
JP4851602B2 (ja
Inventor
Mutsumi Shioda
睦 塩田
Hiroyuki Takami
博之 高見
Masazumi Kagami
政純 鏡味
Akimasa Hata
明政 畑
Yoshimori Sugita
義守 杉田
Current Assignee (The listed assignees may be inaccurate. Google has not performed a legal analysis and makes no representation or warranty as to the accuracy of the list.)
Ichinen Manufacturing Co Ltd
Original Assignee
Asama Seisakusho Co Ltd
Priority date (The priority date is an assumption and is not a legal conclusion. Google has not performed a legal analysis and makes no representation as to the accuracy of the date listed.)
Filing date
Publication date
Application filed by Asama Seisakusho Co Ltd filed Critical Asama Seisakusho Co Ltd
Priority to JP2010009932A priority Critical patent/JP4851602B2/ja
Publication of JP2010082479A publication Critical patent/JP2010082479A/ja
Application granted granted Critical
Publication of JP4851602B2 publication Critical patent/JP4851602B2/ja
Anticipated expiration legal-status Critical
Expired - Fee Related legal-status Critical Current

Links

Images

Landscapes

  • Pinball Game Machines (AREA)

Abstract

【課題】 静的平面的であったり高価であった装飾物の画像表示を、安価に動的立体的なものとして、遊興気分をさらに増大させる。
【解決手段】 装飾物の可視面の表示手段を、多条レンズ5と各レンズの長手方向に平行に配列された複数の画素7とにより構成し、視角のずれにより画像を変化させる。
【選択図】 図2

Description

本発明は、各種の装飾物が取り付けられたパチンコ機の遊技盤に関する。
パチンコ機の遊技盤には、図1に示すように、遊技盤1に変化を付けるために固定装飾物2、玉の落下等の接触により回転したり前後に揺れたりする可動装飾物3、玉の入賞に応じて稼働し玉払出し条件を表示する役物4等の装飾物が配設され、これら装飾物には種々の絵柄や模様付けがなされ、遊技盤をきらびやかに装飾している。従来こうした種々の絵柄や模様の表示に、シールやプラスチック等の製造物を取り付けただけの場合には、それ自体がダイナミックに変化したり、臨場感を与えるような立体的なものであったことはなく、やや遊技盤の変化に欠けるものであった。一方液晶表示装置を用いることによって画像に変化を与えることはできるが、装置が大がかりになってコストアップに繋がるという欠点があった。
特開平11−76529号公報 特開平4−322675号公報
以上のように、従来は静的平面的であったり、高価なものとなっていた装飾物の画像表示を、安価に動的立体的なものとして、遊興気分をさらに増大させることを課題とする。
上記の課題を解決するためになされた請求項1に記載の発明は、装飾物の可視面に、多条レンズと各レンズの長手方向に平行に配列された複数の画素とにより構成され、視角のずれにより画像を変化させるカード状表示手段を設けたパチンコ機の遊技盤において、前記複数の画素にあらかじめ異なる画像を描いておき、視覚のずれにより、カード状表示手段に複数の異なる画像が順次現れるようにしたことを特徴とするものである。
請求項2に記載の発明は、請求項1に記載の発明において、複数の画素の深度をずらすことにより、カード状表示手段に複数の異なる立体画像が順次現れるようにしたことを特徴とするものである。
請求項3に記載の発明は、請求項1〜2の何れかに記載の発明において、複数の画素にあらかじめ連続した動的画像を描いておき、視覚のずれにより、カード状表示手段に連続した動的画像が現れるようにしたことを特徴とするものである。
請求項4に記載の発明は、請求項1〜3の何れかに記載の発明において、装飾物の可視面が玉の接触により動くことにより、視覚がずれるようにしたことを特徴とするものである。
請求項5に記載の発明は、請求項1〜3の何れかに記載の発明において、装飾物の可視面が動力によって動くことにより、視覚がずれるようにしたことを特徴とするものである。
請求項6に記載の発明は、請求項5に記載の発明において、入賞状態に対応して画像を変化させるようにしたことを特徴とするものである。
本発明の表示手段を用いることによって、安価に遊技盤に変化を持たせるとともに立体感や臨場感をも同時に与えることが可能となって、遊興気分をさらに一層盛り上げることができる。
遊技盤面の構成を示す図。 多条レンズの構造を示す図。 一可動装飾物の正面図。 図3の可動装飾物の側面の断面図。 一可動装飾物の正面図。 図5の可動装飾物の側面の断面図。 一役物の正面図。 図7の役物の側面の断面図。
本発明を実施するのに用いた画像の表示手段は、図2に示すように、可視面に横方向に分割された多条レンズ5と各レンズの長手方向に平行に配列された複数の画素7とにより構成される。多条レンズ5は平行光に対してはレンズ焦点面12に像が結ばれる。そして、入射光6に対しては、Aに対しては画素aによって像が結ばれ、Bに対してはb、Cに対してはcという具合に画素7が対応して像が結ばれる。従って、可視面を傾角させて視角をずらすことにより、画素a〜eによって描かれる画像を、全く別の静止画像、例えば異なる風景画の如きもののシリーズとすることができる。また画素a〜eによって描かれる画像を一連の連続した動的画像とすれば、例えばロケットの打ち上げや噴水の突出画像という動きのあるものにすることができる。また画素の深度を若干ずらしてあるので、それぞれの画素を、例えば山の頂上から谷底に対応させることにより画像を立体的に表現することができる。本発明の各レンズにおける画素は高精細な加工技術を用いることにより、最大24コマ程度に分割可能である。従って、そのコマ数に応じた画像を出現させることが可能であり、画素を適宜選択して組み合わせることにより、一枚の写真が、動き、飛び出し、変化するダイナミックな画像を表現することができる。
第1の実施形態では本発明の表示手段を、図3〜4に示す回転羽根13を有する可動装飾物3の可視面10に取り付けた。玉8の落下に伴う接触により可視面10は回転し、これに伴って画像を変化させることができる。例えば、異なる風景を順次出現させることができる。
第2の実施形態では本発明の表示手段を、図5〜6に示す揺動体17を有する可動装飾物3の可視面10に取り付けた。玉8の落下に伴う接触により可視面10が前後に揺動し、これに伴って画像を連続的に変化させることができる。例えば、スポーツのゴールの瞬間等の一場面を再現させたり、玉が遊技者に向かって飛び出すような印象を与えるものとすることができる。
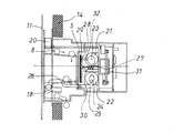
第3の実施形態では本発明の表示手段を、図7〜8に示す大当たり等の入賞状態を表示する役物4の可視面10に用いた。本図においては多条レンズ5と画素により構成されるカード状表示手段を光透過性のものとし、その下に発光体29を配置して、これらを傾角台28の上に貼り付けた。発光体29は大当り状態になった時には光を繰り返し放つものである。傾角台28は、その中央付近に設けた支軸30により傾角可能になっており、支軸30のやや上に取り付けられたバネ27により一端(図では右側)に引き付けられている。傾角台28の上部には傾角台を傾けるための棒32が取り付けられている。そして、玉が入賞した時には入賞状態に応じてモーター21が回転し、それに取り付けられている数段の段差を有するカム23が回転して、棒32を介して傾角台28の傾き角を変化させ、役物4の可視面10に大当り直前、大当り等の入賞状態を表示する画像を出現させる。
本役物においては、役物4の上部の左右に設けられた開閉羽根20が開いて玉8が入ることにより入賞状態になる。入賞した玉8は落下し、玉誘導片26により誘導されるが、玉誘導片26はモーター22に取り付けられたカム24によりレバー25に連動して上下に移動し、玉の転がり面から突き出たり退避したりして、玉の進路を変動させ大当り入賞口への入賞に偶然性を与え、大当たり入賞口への入賞により開閉羽根20の連続開閉回数を変化させる。そして、開閉羽根20が連続して開放されるような大当りが発生するときは、各大当りの節目において、一旦初期の画面に戻したのち、再度大当り画面を出現させる。例えば、噴水を大きく突出させる、花火を打ち上げる等のシーンを繰り返すことによって遊技効果を盛り上げることができる。
1 遊技盤
2 固定装飾物
3 可動装飾物
4 役物
5 多条レンズ
6 入射光
7 画素
8 玉
9 基枠
10 可視面
11 ガラス
12 レンズ焦点面
13 回転羽根
14 遊技盤枠
15 光源
16 ハーネス
17 揺動体
18 玉計数装置
19 玉入賞口
20 開閉羽根
21、22 モーター
23、24 カム
25 レバー
26 玉誘導片
27 バネ
28 傾角台
29 発光体
30 支軸
31 ソレノイド
32 棒

Claims (6)

  1. 装飾物の可視面に、多条レンズと各レンズの長手方向に平行に配列された複数の画素とにより構成され、視角のずれにより画像を変化させるカード状表示手段を設けたパチンコ機の遊技盤において、
    前記複数の画素にあらかじめ異なる画像を描いておき、視覚のずれにより、カード状表示手段に複数の異なる画像が順次現れるようにしたことを特徴とするパチンコ機の遊技盤。
  2. 複数の画素の深度をずらすことにより、カード状表示手段に複数の異なる立体画像が順次現れるようにしたことを特徴とする請求項1に記載のパチンコ機の遊技盤。
  3. 複数の画素にあらかじめ連続した動的画像を描いておき、視覚のずれにより、カード状表示手段に連続した動的画像が現れるようにしたことを特徴とする請求項1又は2に記載のパチンコ機の遊技盤。
  4. 装飾物の可視面が玉の接触により動くことにより、視覚がずれるようにしたことを特徴とする請求項1〜3の何れかに記載のパチンコ機の遊技盤。
  5. 装飾物の可視面が動力によって動くことにより、視覚がずれるようにしたことを特徴とする請求項1〜3の何れかに記載のパチンコ機の遊技盤。
  6. 入賞状態に対応して画像を変化させるようにしたことを特徴とする請求項5に記載のパチンコ機の遊技盤。
JP2010009932A 2010-01-20 2010-01-20 パチンコ機の遊技盤 Expired - Fee Related JP4851602B2 (ja)

Priority Applications (1)

Application Number Priority Date Filing Date Title
JP2010009932A JP4851602B2 (ja) 2010-01-20 2010-01-20 パチンコ機の遊技盤

Applications Claiming Priority (1)

Application Number Priority Date Filing Date Title
JP2010009932A JP4851602B2 (ja) 2010-01-20 2010-01-20 パチンコ機の遊技盤

Related Parent Applications (1)

Application Number Title Priority Date Filing Date
JP30852599A Division JP4473383B2 (ja) 1999-10-29 1999-10-29 パチンコ機の遊技盤

Publications (2)

Publication Number Publication Date
JP2010082479A true JP2010082479A (ja) 2010-04-15
JP4851602B2 JP4851602B2 (ja) 2012-01-11

Family

ID=42246972

Family Applications (1)

Application Number Title Priority Date Filing Date
JP2010009932A Expired - Fee Related JP4851602B2 (ja) 2010-01-20 2010-01-20 パチンコ機の遊技盤

Country Status (1)

Country Link
JP (1) JP4851602B2 (ja)

Citations (3)

* Cited by examiner, † Cited by third party
Publication number Priority date Publication date Assignee Title
JPS62263095A (ja) * 1986-05-12 1987-11-16 凸版印刷株式会社 抽選券
JPH08184911A (ja) * 1994-12-28 1996-07-16 Golf Daijiesutoshiya:Kk 動画写真教材
JPH1176529A (ja) * 1998-07-31 1999-03-23 Toyomaru Sangyo Kk 遊技機

Patent Citations (3)

* Cited by examiner, † Cited by third party
Publication number Priority date Publication date Assignee Title
JPS62263095A (ja) * 1986-05-12 1987-11-16 凸版印刷株式会社 抽選券
JPH08184911A (ja) * 1994-12-28 1996-07-16 Golf Daijiesutoshiya:Kk 動画写真教材
JPH1176529A (ja) * 1998-07-31 1999-03-23 Toyomaru Sangyo Kk 遊技機

Also Published As

Publication number Publication date
JP4851602B2 (ja) 2012-01-11

Similar Documents

Publication Publication Date Title
JP2009009009A (ja) 立体万華鏡装置と、この立体万華鏡装置を備える遊技機と、この立体万華鏡装置を備える遊具
JP2015006322A (ja) 遊技機
JP2020124233A5 (ja)
JP5673488B2 (ja) 遊技機の可動演出装置
JP4851602B2 (ja) パチンコ機の遊技盤
JP4473383B2 (ja) パチンコ機の遊技盤
JP5440552B2 (ja) 遊技機の可動演出装置
JP6006018B2 (ja) 遊技機
CN206391549U (zh) 一种3d体感钓鱼游戏机
JP2015136479A5 (ja) 遊技用装置
JP6349595B2 (ja) 遊技機
JP5477337B2 (ja) 遊技機の可動演出装置
JP5849262B2 (ja) 遊技機
JP2012061183A5 (ja)
JP5740603B2 (ja) 遊技機
JP5724957B2 (ja) パチンコ遊技機の演出役物装置
JP5990036B2 (ja) 遊技機、及び立体表示装置
JP5565535B1 (ja) 遊技機の可動演出装置
JP2007159791A (ja) 遊技機の表示装置
JP2009112564A (ja) 遊技機における物体可動構造
JP5070400B2 (ja) 遊技機
JP5962735B2 (ja) 遊技機
JP2003236040A (ja) 遊技機
JP6127175B2 (ja) 遊技機
JP6372763B2 (ja) 遊技機

Legal Events

Date Code Title Description
A621 Written request for application examination

Free format text: JAPANESE INTERMEDIATE CODE: A621

Effective date: 20100125

A131 Notification of reasons for refusal

Free format text: JAPANESE INTERMEDIATE CODE: A131

Effective date: 20110628

A521 Written amendment

Free format text: JAPANESE INTERMEDIATE CODE: A523

Effective date: 20110823

TRDD Decision of grant or rejection written
A01 Written decision to grant a patent or to grant a registration (utility model)

Free format text: JAPANESE INTERMEDIATE CODE: A01

Effective date: 20111018

A01 Written decision to grant a patent or to grant a registration (utility model)

Free format text: JAPANESE INTERMEDIATE CODE: A01

A61 First payment of annual fees (during grant procedure)

Free format text: JAPANESE INTERMEDIATE CODE: A61

Effective date: 20111020

R150 Certificate of patent or registration of utility model

Free format text: JAPANESE INTERMEDIATE CODE: R150

FPAY Renewal fee payment (event date is renewal date of database)

Free format text: PAYMENT UNTIL: 20141028

Year of fee payment: 3

R250 Receipt of annual fees

Free format text: JAPANESE INTERMEDIATE CODE: R250

LAPS Cancellation because of no payment of annual fees