JP2010080541A - 印刷装置 - Google Patents

印刷装置 Download PDF

Info

Publication number
JP2010080541A
JP2010080541A JP2008244807A JP2008244807A JP2010080541A JP 2010080541 A JP2010080541 A JP 2010080541A JP 2008244807 A JP2008244807 A JP 2008244807A JP 2008244807 A JP2008244807 A JP 2008244807A JP 2010080541 A JP2010080541 A JP 2010080541A
Authority
JP
Japan
Prior art keywords
substrate sheet
substrate
roll
conductive paste
printing apparatus
Prior art date
Legal status (The legal status is an assumption and is not a legal conclusion. Google has not performed a legal analysis and makes no representation as to the accuracy of the status listed.)
Granted
Application number
JP2008244807A
Other languages
English (en)
Other versions
JP5152665B2 (ja
Inventor
Hiroyuki Shirogane
金 弘 之 白
Masayuki Nagashima
島 正 幸 長
Tsutomu Uchiumi
海 勉 内
Takashi Ueno
野 嵩 上
Current Assignee (The listed assignees may be inaccurate. Google has not performed a legal analysis and makes no representation or warranty as to the accuracy of the list.)
Dai Nippon Printing Co Ltd
Original Assignee
Dai Nippon Printing Co Ltd
Priority date (The priority date is an assumption and is not a legal conclusion. Google has not performed a legal analysis and makes no representation as to the accuracy of the date listed.)
Filing date
Publication date
Application filed by Dai Nippon Printing Co Ltd filed Critical Dai Nippon Printing Co Ltd
Priority to JP2008244807A priority Critical patent/JP5152665B2/ja
Publication of JP2010080541A publication Critical patent/JP2010080541A/ja
Application granted granted Critical
Publication of JP5152665B2 publication Critical patent/JP5152665B2/ja
Expired - Fee Related legal-status Critical Current
Anticipated expiration legal-status Critical

Links

Images

Landscapes

  • Screen Printers (AREA)
  • Printing Methods (AREA)
  • Manufacturing Of Printed Wiring (AREA)

Abstract

【課題】基板シートの表面に導電性ペーストを転写させる回数を減少させること。
【解決手段】印刷装置は、巻き付けられた基板シート61を繰り出して供給するシート供給部1と、基板シート61の一方の面に基板凹部61bを形成する凹部形成部10と、基板シート61の他方の面に当接し、凹部形成部10に対して基板シート61を押しつける対向部11と、スクリーン版27に載置された導電性ペースト70を、スクリーン版27に設けられた貫通穴を通過させて、基板凹部61b内に転写させるスキージ22と、を備えている。スキージ22の下流側には、基板シート61の他方の面に当接し、導電性ペースト70が転写された基板凹部61bを押し戻して平らにする戻し部30が設けられている。戻し部30の下流側には、戻し部30を経た基板シート61を所定の大きさで断裁する断裁部50が設けられている。
【選択図】図1

Description

本発明は、基板シート上に複数の導電性バンプを形成するための印刷装置に関する。
従来から、銅箔などの基板シートの表面に複数の略円錐状の導電性バンプが形成された導電性バンプ付き基板シートと、プリプレグなどの絶縁材料部材とを交互に重ね合わせることにより形成される多層プリント配線板が知られている。このような多層プリント配線板において、基板シートの表面に形成された導電性バンプがプリプレグを貫通することによって、当該プリプレグの両側にある基板シート同士が導電性バンプによって電気的に接続されるようになっている(例えば、特許文献1乃至3など参照)。
そして、スクリーン版の表面に圧接されるスキージと、スキージをスクリーン版の表面に接離する方向に移動させる空気圧シリンダと、スキージがスクリーン版の表面に圧接された状態でスキージとスクリーン版とを相対移動させてスキージをスクリーン版に対して摺動させる駆動モータとを備え、スキージがスクリーン版の表面上を摺動することにより、半田ペーストなどの導電性ペーストがスクリーン版の貫通穴から押し出されてプリント基板などの基材の表面に印刷が行われる技術が知られている(特許文献4参照)。
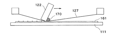
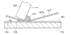
このような従来の技術を用いて、銀ペースト、半田ペーストなどの導電性ペーストを基板シートの表面に印刷する方法について、以下、図7および図8を用いて説明する。
まず、図7に示すような平板状の基板シート161を印刷定盤111上に載置し、この平板状の基板シート161の上方にわずかな距離を隔ててスクリーン版127を設置する。また、図8に示すようにスクリーン版127には、基板シート161に導電性バンプ171が形成されるべき位置に対応して複数の貫通穴127aが形成されている。そして、図7および図8に示すように、スキージ122により導電性ペースト170の転写を行い、この際に図8に示すようにスキージ122がスクリーン版127を下方に押圧してこのスクリーン版127と基板シート161とを当接させることにより、導電性ペースト170がスクリーン版127の貫通穴127aを通過して平板状の基板シート161上に付着される。
その後、基板シート161の乾燥を行うことにより、図9(a)−(d)に示すように基板シート161上の導電性ペースト170が硬化して略円錐状の導電性バンプ171が形成されることとなる。
ここで、基板シート161に形成される導電性バンプ171は、当該基板シート161の厚さ方向(図9(a)−(d)の上下方向)においてプリプレグ(図示せず)を貫通させるのに十分な高さが必要とされる(バンプ径の直径が150μmのときには120±40μm程度の高さが必要となる)。また、多層プリント配線板のファインピッチ化を行う場合には、略円錐状の導電性バンプ171について、同じ高さであっても底面積が小さくなるような形状、すなわちいわゆるアスペクト比の高い略円錐状とする必要がある。
特許第3167840号 特開2004−6577号公報 特開2002−305376号公報 特開平11−48446号公報
しかしながら、従来の導電性バンプ付き基板シートの製造方法においては、平板状の基板シート161上に導電性バンプ171を形成するにあたり、スクリーン印刷工程1回あたりの基板シート161に付着する導電性ペースト170の量はスクリーン版127の貫通穴127aにより定められる。このため、導電性ペースト170の量が十分ではなく、1回のスクリーン印刷工程では導電性バンプ171の高さがプリプレグを貫通させるのに十分な高さに達しない場合が多い。
より具体的には、導電性バンプ171によりプリプレグを貫通させる際には、図9(d)に示すような高さを有する略円錐状の導電性バンプ171が求められる。ここで、図9(a)−(d)は、従来の方法により基板シート161に導電性バンプ171が形成される過程を示す図であって、図9(a)(b)(c)(d)はそれぞれ、1回目、2回目、3回目および4回目のスクリーン印刷工程および乾燥工程(硬化工程)後の導電性バンプ171の形状を示している。このため、この例では、図7に示すようなスクリーン印刷工程を4回繰り返して行うことが必要とされる。
しかしながら、スクリーン印刷工程を1回行うたびに基板シート161の乾燥工程およびCCDカメラなどによるスクリーン版127の位置合わせ工程が必要となり、十分な高さの導電性バンプ171が形成されるまでこれらの工程も何度も繰り返す必要があり製造時間が非常にかかってしまう。また、スクリーン印刷工程を繰り返し行うと、スクリーン印刷工程実行回数をa、1回のスクリーン印刷工程において不良が発生する割合をbとしたときに、歩留まり率は(1−b)≒1−a×bとなり、スクリーン印刷工程の実行回数が増えれば増えるほど導電性バンプ付き基板シートの製造における歩留まり率が低下してしまう。
本発明は、このような点を考慮してなされたものであり、基板シートの表面に導電性ペーストを転写させる回数を減少させることができ、ひいては、導電性バンプ付き基板シートの製造時間を短縮することができるとともに、歩留まり率を高くすることができる印刷装置を提供することを目的とする。
本発明による印刷装置は、
巻き付けられた基板シートを繰り出して供給するシート供給部と、
前記シート供給部から繰り出された前記基板シートの一方の面に基板凹部を形成する凹部形成部と、
前記凹部形成部と対向して配置され、前記基板シートの他方の面に当接する対向部と、
スクリーン版に載置された導電性ペーストを、該スクリーン版に設けられた貫通穴を通過させて、前記基板凹部内に転写させるスキージと、
前記基板シートの他方の面に当接し、導電性ペーストが転写された前記基板凹部を押し戻して平らにする戻し部と、
前記戻し部を経た基板シートを所定の大きさで断裁する断裁部と、
を備えている。
本発明による印刷装置において、
前記基板シートに転写された導電性ペーストを硬化させて導電性バンプを形成する硬化部をさらに備えたことが好ましい。
このような印刷装置において、
前記戻し部と前記硬化部との間に設けられ、前記導電性ペーストを仮硬化させる仮硬化部をさらに備えたことが好ましい。
本発明による印刷装置において、
前記凹部形成部は、複数のロール凸部を有する金型ロールであることが好ましい。
本発明による印刷装置において、
前記対向部は、弾性材料からなり、前記基板シートが巻き架けられる対向ロールであることが好ましい。
本発明による印刷装置において、
前記対向部は、前記ロール凸部に対応した位置に設けられた複数のロール凹部を有し、前記基板シートが巻き架けられる対向ロールであることが好ましい。
本発明による印刷装置において、
前記戻し部は、前記基板シートの他方の面に当接し、該基板シートが巻き架けられる戻しロールであることが好ましい。
本発明による印刷装置において、
前記スクリーン版は略円筒形状からなり、該スクリーン版内に導電性ペーストが載置されることが好ましい。
本発明によれば、基板凹部内に導電性ペーストを転写させた後、当該基板凹部を押し戻して平らにするので、基板シートの表面に導電性ペーストを転写させる回数を減少させても、導電性バンプの高さを十分高くすることができる。このため、導電性バンプ付き基板シートの製造時間を短縮することができるとともに、導電性バンプ付き基板シートの製造における歩留まり率を高くすることができる。
また、本発明によれば、基板凹部の形成、導電性ペーストの転写および基板凹部の押し戻しをインラインで行うことができる。このため、省スペース化を図ることができ、かつ、スクリーン版に設けられた貫通穴と基板凹部との位置合わせの負担を軽減することもできる。
発明を実施するための形態
第1の実施の形態
以下、本発明に係る印刷装置の第1の実施の形態について、図面を参照して説明する。ここで、図1(a)(b)乃至図5(a)(b)は本発明の第1の実施の形態を示す図である。
図1(a)に示すように、印刷装置は、ロール状に巻き付けられた基板シート61(例えば、銅箔など金属箔)を繰り出して供給するシート供給リール(シート供給部)1と、シート供給リール1から繰り出された基板シート61の表面(一方の面)に基板凹部61bを形成する略円筒形状からなる金型ロール(凹部形成部)10と、金型ロール10と対向して配置され、基板シート61の裏面(他方の面)が巻き架けられ、当該裏面に当接し、凹部形成部に対して基板シート61を押しつける対向ロール(対向部)11と、を備えている。
このうち、金型ロール10は、図1(a)に示すように、複数のロール凸部10aを有しており、このロール凸部10aは、熱硬化樹脂、UV硬化樹脂、金属などから形成されている。なお、ロール凸部10aを樹脂で形成する場合には、スクリーン印刷法や光造型法などを用いることができ、ロール凸部10aを金属で形成する場合には、エッチング処理や電鋳法などを用いることができる。
また、対向ロール11は、弾性材料からなっており、より具体的には、表面が塩化ビニル、PP、PETなどの樹脂材で被覆されたロールや、NBR、ウレタン、フッ素などを含むゴムロールなどからなっていることが好ましい。
また、図1(a)に示すように、金型ロール10と対向ロール11の各々は回転駆動され、金型ロール10の回転方向と対向ロール11の回転方向は各々逆方向になっている(本実施の形態では、金型ロール10は時計回りに回転駆動され、対向ロール11は反時計回りに回転駆動される)。
また、図1(a)に示すように、金型ロール10の下流側であって対向ロール11の上方には、略円筒形状からなるスクリーン版27が配置されている。そして、当該スクリーン版27内には、導電性ペースト70が載置されるとともに、当該導電性ペースト70を貫通穴(図示せず)を通過させて基板凹部61b内に転写させるスキージ22が設けられている。なお、導電性ペースト70は、銀ペースト、半田ペーストなどからなっている。また、略円筒形状のスクリーン版27は基板シート61の動きにあわせて時計回りに回転するように構成されている。
ところで、上述した対向ロール11は、スキージ22に対向する位置(スキージ22に対して図1の下方側)に設けられており、スキージ22によって導電性ペースト70を転写させる際に、基板シート61を支持してバックアップロールとしても機能している。
また、図1(a)に示すように、スキージ22の下流側には、基板シート61の裏面(他方の面)が巻き架けられ、当該裏面に当接し、導電性ペースト70が転写された基板凹部61bを押し戻して平らにする戻しロール(戻し部)30が設けられている。
また、図1(a)に示すように、戻しロール30の下流側には、導電性ペースト70を仮乾燥させて仮硬化させる仮硬化部40が設けられている。この仮硬化部40は、例えば80℃の下で2〜3分の間、基板シート61上の導電性ペースト70を加熱して仮硬化させる。
また、図1(a)および図3に示すように、仮硬化部40の下流側には、基板シート61を所定の長さ(大きさ)で断裁する断裁部50が設けられている。なお、断裁部50の近傍には、断裁された基板シート61のうち、戻しロール30側に位置する長さの長い基板シート61の端部を把持する把持部(図示せず)が設けられている。
そして、断裁部50の下流側には、図1(a)および図3に示すように、断裁部50で所定の長さで断裁された基板シート61上の導電性ペースト70を、完全に硬化させて導電性バンプ71を形成する硬化部80が設けられている。この硬化部80は、図3に示すように、筐体82と、筐体82内に設けられた支持部81と、筐体82内で支持部81を上下方向に駆動する上下方向駆動部(図示せず)と、を有している。なお、硬化部80は、例えば160℃の下で30分の間、基板シート61上の導電性ペースト70を加熱して硬化させて導電性バンプ71を形成し、導電性バンプ付き基板シートを生成する。
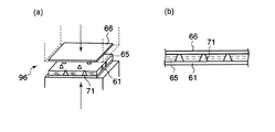
また、上述した印刷装置の下流側には、図4(a)に示すように、熱を加えつつ圧力を加える下方加熱ロール93と、下方加熱ロール93上に配置された下方緩衝材94と、熱を加えつつ圧力を加える上方加熱ロール91と、上方加熱ロール91下に配置された上方緩衝材92と、を有する絶縁材料配置装置90が設けられている。この絶縁材料配置装置90は、導電性バンプ付き基板シート上にプリプレグ(絶縁材料部材)65を配置させるために用いられる。
また、図5(a)に示すように、絶縁材料配置装置90の下流側には、プリプレグ65が配置された導電性バンプ付き基板シート上に、別の基板シート66を配置して加熱しつつ押圧する配置押圧装置96が設けられている。
次に、このような構成からなる本実施の形態の作用について述べる。
まず、スクリーン版27に設けられた貫通穴(図示せず)と、金型ロール10のロール凸部10aとの位置合わせが行われる(位置合わせ工程)(図1(a)参照)。
次に、シート供給リール1が回転駆動され、巻き付けられた基板シート61が当該シート供給リール1から繰り出される(図1(a)参照)。このとき、基板シート61の動きにあわせて、金型ロール10、対向ロール11および略円筒形状のスクリーン版27も回転駆動される。
次に、シート供給リール1から繰り出された基板シート61が、複数のロール凸部10aを有する金型ロール10と、ゴムなどの弾性材料からなる対向ロール11との間に達する(図1(a)参照)。このとき、金型ロール10は対向ロール11に向かって押圧力を付与し、対向ロール11は金型ロール10に向かって押圧力を付与する(基板シート61をニップする)。このため、基板シート61の表面に、複数の基板凹部61bが形成される(基板凹部形成工程)(図2(a)(b)参照)。
ここで、本実施の形態では、対向ロール11がゴムなどの弾性材料からなっているので、異なるパターンで基板シート61上に導電性バンプ71を形成する場合であっても、金型ロール10を取り替えるだけでよく、対向ロール11を取り替える必要はない。このため、余分な対向ロール11を準備する必要がなくコストを抑えることができ、かつ、対向ロール11を取り替える手間もなく作業効率を向上させることができる。
次に、複数の基板凹部61bが形成された基板シート61が、略円筒形状のスクリーン版27の下方に達する。そして、スキージ22によって、スクリーン版27に載置された導電性ペースト70が、貫通穴(図示せず)を通過して、基板凹部61b内に転写される(転写工程)(ロータリースクリーン印刷法)(図1(a)および図2(c)参照)。
なおこのとき、対向ロール11は、基板シート61を支持しており、バックアップロールとして機能している(図1(a)参照)。また、対向ロール11がバックアップロールとしても機能していることから明らかなように、金型ロール10とスキージ22との間で基板シート61の移動する距離が短い。このため、転写工程において、ロール凸部10aによる基板シート61と対向ロール11の変形は、未だ緩和していない状態になっており、深さの深い基板凹部61b内に導電性ペースト70を転写することができる。
ところで、本実施の形態では、上述のように位置合わせ工程が行われているので、スキージ22によって転写される導電性ペースト70を、基板シート61の基板凹部61b内に、確実に転写させることができる。
上述のように基板凹部61b内に導電性ペースト70が転写されると、基板シート61は戻しロール30に達する(図1(a)参照)。そして、当該戻しロール30によって、基板シート61の裏面が押圧されて、基板凹部61bが押し戻されて平らにされる(戻し工程)(図2(d)参照)。このため、導電性ペースト70の量を十分な量にすることができ、かつ、導電性ペースト70の高さを十分高くすることができる。
すなわち、本実施の形態によれば、スクリーン版27に載置された導電性ペースト70が基板凹部61b内に転写されるので、一度に大量の導電性ペースト70を基板シート61上に転写することができる。そして、このように導電性ペースト70が転写された基板凹部61bが、戻しロール30によって押し戻されて平らにされるので、スキージ22で導電性ペースト70を一度転写させるだけで、導電性ペースト70と高さを十分高くすることができる。
この結果、基板シート61の表面に導電性ペースト70を塗工する工程の回数を減少させることができ、ひいては、導電性バンプ付き基板シートの製造時間を短縮することができるとともに、導電性バンプ付き基板シートの製造における歩留まり率を高くすることもできる。
上述のようにして、基板凹部61bが押し戻されて平らになった基板シート61は、仮硬化部40内を、例えば80℃の温度で、2〜3分をかけて通過する。このため、基板シート61上の導電性ペースト70は仮乾燥され仮硬化される(仮硬化工程)(図1(a)および図3参照)。
次に、基板シート61は断裁部50に達し、当該断裁部50で、所定の長さで断裁される(断裁工程)(図1(a)および図3参照)。このとき、断裁された基板シート61のうち、戻しロール30側に位置する長さの長い基板シート61の端部は、把持部(図示せず)によって把持される。
次に、断裁された基板シート61のうち、硬化部80側に位置する長さの短い基板シート61が、筐体82内に移動され、支持部81によって支持される(図3参照)。そして、当該基板シート61は、筐体82内に例えば160℃の温度で30分の間、配置されて、導電性ペースト70が乾燥され硬化されて導電性バンプ71が形成される(硬化工程)(図2(e)参照)。
なお、断裁部50で断裁された次の基板シート61が筐体82内に移動されるときには、既に筐体82内に配置された基板シート61は、上下方向駆動部(図示せず)によって順次移動されることとなる(図3の矢印、参照)。
上述のように、硬化部80で導電性バンプ71が形成されると、導電性バンプ付き基板シートが生成されることとなる(図1(b)および図2(e)参照)。
ところで、本実施の形態では、基板凹部61bの形成、導電性ペースト70の転写、基板凹部61bの押し戻し、導電性ペースト70の仮硬化、基板シート61の断裁および導電性ペースト70の硬化の一連の工程をインラインで行うことができる。このため、省スペース化を図ることができる。また、一度、スクリーン版27に設けられた貫通穴と基板凹部61bとの位置合わせを行うと、シート供給リール1に巻き付けられた基板シート61がなくなったり、金型ロール10を取り替えたりするようなことなどがない限り、再度、貫通穴と基板凹部61bとの位置合わせを行う必要がない。このため、貫通穴と基板凹部61bとの位置合わせを行う負担を軽減することができる。
このようにして生成された導電性バンプ付き基板シートは、次に、絶縁材料配置装置90に移動される(図4(a)参照)。そして、下方加熱ロール93から下方緩衝材94を介して熱と圧力が加えられるとともに、上方加熱ロール91から上方緩衝材92を介して熱と圧力が加えられて、導電性バンプ付き基板シート上にプリプレグ65が配置される(絶縁材料部材配置工程)(図4(a)(b)参照)。
つまり、プリプレグ65が、上方加熱ロール91と下方加熱ロール93によって、硬化しない温度まで加熱されつつ圧力を加えられ、導電性バンプ71によって貫通される。この結果、基板シート61上であって導電性バンプ71が配置されている箇所以外の箇所に、未硬化のプリプレグ65が配置されることとなる。
次に、プリプレグ65が配置された導電性バンプ付き基板シートは、配置押圧装置96に移動される(図5(a)参照)。そして、配置押圧装置96によって、基板シート61と別の基板シート66に互いに向き合う方向の押圧力が付与されて、別の基板シート66内に導電性バンプ71が貫入されることとなる(押圧工程)(図5(a)(b)参照)。このとき、プリプレグ65が熱硬化温度以上に加熱された後で冷却されることによって、プリプレグ65が硬化して、基板シート61と基板シート66とが接着されることとなる。
なお、本実施の形態によれば、一回に転写される導電性ペースト70の量が多く、かつ、導電性ペースト70の高さが高くなっているので、下方に位置する基板シート61と上方に位置する別の基板シート66との間の電気的な抵抗を小さくすることができ、基板シート61,66間の導通不良をなくすことができる。
次に、基板シート61および別の基板シート66のうち、ランド領域と回路パターン(所定の領域)がマスクされる。その後、エッチングなどによって、基板シート61および基板シート66のうちランド領域と回路パターン以外が除去されて、回路が形成される(回路形成工程)。この結果、2層からなるプリント配線基板が生成される。ところで、上述した工程を適宜繰り返して行うことによって、2層以上の多層からなるプリント配線基板を生成することができる。
上述のように、本実施の形態によれば、基板シート61,66間の電気的な抵抗を小さくすることができるので、基板シート61,66間の低抵抗での導通を確実なものにすることができ、ひいては、不良が少なく、精度の良い多層プリント配線基板を生成することができる。
ところで、上記では、仮硬化工程を用いた態様を用いて説明したが、これに限られることなく、導電性ペースト70の種類などによっては、仮硬化工程を用いなくてもよい。
また、導電性ペースト70が紫外線硬化性の材料からなる場合には、導電性ペースト70を熱で乾燥させる代わりに、導電性ペースト70に紫外線を照射することによって硬化させてもよい。
第2の実施の形態
次に、図6により、本発明の第2の実施の形態について説明する。図6に示す第2の実施の形態は、弾性材料からなる対向ロール11の代わりに、ロール凸部10aに対応した位置に設けられた複数のロール凹部12bを有する対向ロール12を用いたものであり、その他の構成は図1(a)(b)乃至図5(a)(b)に示す第1の実施の形態と略同一である。
図6に示す第2の実施の形態において、図1(a)(b)乃至図5(a)(b)に示す第1の実施の形態と同一部分には同一符号を付して詳細な説明は省略する。
本実施の形態によれば、対向ロール12が、ロール凸部10aに対応した位置に設けられた複数のロール凹部12bを有するものからなっている。このため、基板凹部形成工程において、より深さの深い基板凹部61bを形成することができる。この結果、転写工程において、より量の多い導電性ペースト70を基板シート61上に転写することができ、かつ、より高さの高い導電性ペースト70を形成することができる。
このため、本実施の形態によれば、基板シート61,66間の電気的な抵抗をさらに小さくすることができ、基板シート61,66間の低抵抗での導通をより確実なものにすることができ、ひいては、より精度の良い多層プリント配線基板を生成することができる。
本発明の第1の実施の形態による印刷装置の構成を示す側方図と、当該印刷装置によって生成される導電性バンプ付き基板シートを示す側方図。 本発明の第1の実施の形態による印刷装置によって導電性バンプ付き基板シートが生成される態様を示した側方図。 本発明の第1の実施の形態による印刷装置の仮硬化部、断裁部および硬化部を示した側方図。 本発明の第1の実施の形態による絶縁材料配置装置の構成を示す側方図と、当該絶縁材料配置装置によって絶縁材料部材が配置された後の導電性バンプ付き基板シートを示した側方図。 本発明の第1の実施の形態による配置押圧装置の構成を示す斜視図と、当該配置押圧装置によって導電性バンプ付き基板シート上に基板シートが配置された後の状態を示した側方図。 本発明の第2の実施の形態による印刷装置の構成を示す側方図。 基板シートに導電性バンプを形成する従来の方法を示す側面図。 図7の部分拡大側面図。 従来の方法により基板シートに導電性バンプが形成される過程を示す図。
符号の説明
1 シート供給リール(シート供給部)
10 金型ロール(凹部形成部)
10a ロール凸部
11 対向ロール(対向部)
12 対向ロール(対向部)
12b ロール凹部
22 スキージ
27 スクリーン版
30 戻しロール(戻し部)
40 仮硬化部
50 断裁部
61 基板シート
61b 基板凹部
65 プリプレグ(絶縁材料部材)
70 導電性ペースト
71 導電性バンプ
80 硬化部
90 絶縁材料配置装置
96 配置押圧装置

Claims (8)

  1. 巻き付けられた基板シートを繰り出して供給するシート供給部と、
    前記シート供給部から繰り出された前記基板シートの一方の面に基板凹部を形成する凹部形成部と、
    前記凹部形成部と対向して配置され、前記基板シートの他方の面に当接する対向部と、
    スクリーン版に載置された導電性ペーストを、該スクリーン版に設けられた貫通穴を通過させて、前記基板凹部内に転写させるスキージと、
    前記基板シートの他方の面に当接し、導電性ペーストが転写された前記基板凹部を押し戻して平らにする戻し部と、
    前記戻し部を経た基板シートを所定の大きさで断裁する断裁部と、
    を備えたことを特徴とする印刷装置。
  2. 前記基板シートに転写された導電性ペーストを硬化させて導電性バンプを形成する硬化部をさらに備えたことを特徴とする請求項1に記載の印刷装置。
  3. 前記戻し部と前記硬化部との間に設けられ、前記導電性ペーストを仮硬化させる仮硬化部をさらに備えたことを特徴とする請求項2に記載の印刷装置。
  4. 前記凹部形成部は、複数のロール凸部を有する金型ロールであることを特徴とする請求項1に記載の印刷装置。
  5. 前記対向部は、弾性材料からなり、前記基板シートが巻き架けられる対向ロールであることを特徴とする請求項1に記載の印刷装置。
  6. 前記対向部は、前記ロール凸部に対応した位置に設けられた複数のロール凹部を有し、前記基板シートが巻き架けられる対向ロールであることを特徴とする請求項1に記載の印刷装置。
  7. 前記戻し部は、前記基板シートの他方の面に当接し、該基板シートが巻き架けられる戻しロールであることを特徴とする請求項1に記載の印刷装置。
  8. 前記スクリーン版は略円筒形状からなり、該スクリーン版内に導電性ペーストが載置されることを特徴とする請求項1に記載の印刷装置。
JP2008244807A 2008-09-24 2008-09-24 印刷装置 Expired - Fee Related JP5152665B2 (ja)

Priority Applications (1)

Application Number Priority Date Filing Date Title
JP2008244807A JP5152665B2 (ja) 2008-09-24 2008-09-24 印刷装置

Applications Claiming Priority (1)

Application Number Priority Date Filing Date Title
JP2008244807A JP5152665B2 (ja) 2008-09-24 2008-09-24 印刷装置

Publications (2)

Publication Number Publication Date
JP2010080541A true JP2010080541A (ja) 2010-04-08
JP5152665B2 JP5152665B2 (ja) 2013-02-27

Family

ID=42210679

Family Applications (1)

Application Number Title Priority Date Filing Date
JP2008244807A Expired - Fee Related JP5152665B2 (ja) 2008-09-24 2008-09-24 印刷装置

Country Status (1)

Country Link
JP (1) JP5152665B2 (ja)

Citations (4)

* Cited by examiner, † Cited by third party
Publication number Priority date Publication date Assignee Title
JPS61172740A (ja) * 1985-01-28 1986-08-04 Hiraoka & Co Ltd 印捺装置
JP2003094601A (ja) * 2001-09-27 2003-04-03 Elna Co Ltd 導電性バンプ形成方法及びその製造装置
JP2004200652A (ja) * 2002-12-05 2004-07-15 Murata Mfg Co Ltd 厚膜配線の形成方法及び積層型電子部品の製造方法
JP2006110825A (ja) * 2004-10-14 2006-04-27 Murata Mfg Co Ltd グラビア印刷機および積層セラミック電子部品の製造方法

Patent Citations (4)

* Cited by examiner, † Cited by third party
Publication number Priority date Publication date Assignee Title
JPS61172740A (ja) * 1985-01-28 1986-08-04 Hiraoka & Co Ltd 印捺装置
JP2003094601A (ja) * 2001-09-27 2003-04-03 Elna Co Ltd 導電性バンプ形成方法及びその製造装置
JP2004200652A (ja) * 2002-12-05 2004-07-15 Murata Mfg Co Ltd 厚膜配線の形成方法及び積層型電子部品の製造方法
JP2006110825A (ja) * 2004-10-14 2006-04-27 Murata Mfg Co Ltd グラビア印刷機および積層セラミック電子部品の製造方法

Also Published As

Publication number Publication date
JP5152665B2 (ja) 2013-02-27

Similar Documents

Publication Publication Date Title
CN101467312B (zh) 插座及其制造方法和半导体器件
JP5152665B2 (ja) 印刷装置
JP5056697B2 (ja) 印刷装置
CN100584152C (zh) 电子器件的制造方法
JP5067666B2 (ja) 印刷装置
JP5262509B2 (ja) 印刷装置
JP5088630B2 (ja) 導電性バンプ付き基板シート製造方法
JP5067667B2 (ja) 印刷方法
KR102783258B1 (ko) 솔더 레지스트층 평탄화 장치
JP5152663B2 (ja) 多層導電性バンプ付基板シート積層体製造方法および導電性バンプ付基板シート製造方法
JP2013211347A (ja) 配線板の製造方法
JP6078910B2 (ja) プリント配線基板製造方法、基板組合せ体およびプリント配線基板
JP5067671B2 (ja) 導電性バンプ付き基板シート製造方法
JP5332476B2 (ja) 導電性バンプ付き基板シート製造方法および多層プリント配線板製造方法
JP5257782B2 (ja) 導電性バンプ付基板シートの製造方法および多層プリント配線板の製造方法
JP5034625B2 (ja) 多層プリント配線板製造方法
JP5035668B2 (ja) 導電性バンプ付基板シート製造方法および多層プリント配線板製造方法
JP5152658B2 (ja) 多層導電性バンプ付基板シート積層体製造方法、導電性バンプ付基板シート製造方法、導電性バンプ付基板シート、および基板シート
JP5120713B2 (ja) 多層プリント配線板製造方法
JP5152659B2 (ja) 多層導電性バンプ付基板シート積層体製造方法および導電性バンプ付基板シート製造方法
JP5109900B2 (ja) 導電性バンプ付き基板シート製造方法
JP5176819B2 (ja) 多層プリント配線板の製造方法
JP5120717B2 (ja) 多層プリント配線板製造方法
JP2008262986A (ja) 多層プリント配線板製造方法および多層プリント配線板
KR20230103531A (ko) 솔더 레지스트 인쇄 방법

Legal Events

Date Code Title Description
A621 Written request for application examination

Free format text: JAPANESE INTERMEDIATE CODE: A621

Effective date: 20110707

A977 Report on retrieval

Free format text: JAPANESE INTERMEDIATE CODE: A971007

Effective date: 20120620

A131 Notification of reasons for refusal

Free format text: JAPANESE INTERMEDIATE CODE: A131

Effective date: 20120706

A521 Written amendment

Free format text: JAPANESE INTERMEDIATE CODE: A523

Effective date: 20120904

TRDD Decision of grant or rejection written
A01 Written decision to grant a patent or to grant a registration (utility model)

Free format text: JAPANESE INTERMEDIATE CODE: A01

Effective date: 20121109

A61 First payment of annual fees (during grant procedure)

Free format text: JAPANESE INTERMEDIATE CODE: A61

Effective date: 20121122

FPAY Renewal fee payment (event date is renewal date of database)

Free format text: PAYMENT UNTIL: 20151214

Year of fee payment: 3

R150 Certificate of patent or registration of utility model

Free format text: JAPANESE INTERMEDIATE CODE: R150

LAPS Cancellation because of no payment of annual fees