JP2010078901A - 画像形成装置用の運搬装置及びこれを用いた画像形成装置 - Google Patents

画像形成装置用の運搬装置及びこれを用いた画像形成装置 Download PDF

Info

Publication number
JP2010078901A
JP2010078901A JP2008247128A JP2008247128A JP2010078901A JP 2010078901 A JP2010078901 A JP 2010078901A JP 2008247128 A JP2008247128 A JP 2008247128A JP 2008247128 A JP2008247128 A JP 2008247128A JP 2010078901 A JP2010078901 A JP 2010078901A
Authority
JP
Japan
Prior art keywords
image forming
forming apparatus
main body
apparatus main
attachment
Prior art date
Legal status (The legal status is an assumption and is not a legal conclusion. Google has not performed a legal analysis and makes no representation as to the accuracy of the status listed.)
Granted
Application number
JP2008247128A
Other languages
English (en)
Other versions
JP5239689B2 (ja
Inventor
Keiji Sasaki
慶治 佐々木
Current Assignee (The listed assignees may be inaccurate. Google has not performed a legal analysis and makes no representation or warranty as to the accuracy of the list.)
Fujifilm Business Innovation Corp
Original Assignee
Fuji Xerox Co Ltd
Priority date (The priority date is an assumption and is not a legal conclusion. Google has not performed a legal analysis and makes no representation as to the accuracy of the date listed.)
Filing date
Publication date
Application filed by Fuji Xerox Co Ltd filed Critical Fuji Xerox Co Ltd
Priority to JP2008247128A priority Critical patent/JP5239689B2/ja
Publication of JP2010078901A publication Critical patent/JP2010078901A/ja
Application granted granted Critical
Publication of JP5239689B2 publication Critical patent/JP5239689B2/ja
Expired - Fee Related legal-status Critical Current
Anticipated expiration legal-status Critical

Links

Images

Landscapes

  • Electrophotography Configuration And Component (AREA)

Abstract

【課題】画像形成装置の開口部を利用して運搬用の把手部材を設けることを可能とした画像形成装置用の運搬装置及びこれを用いた画像形成装置を提供する。
【解決手段】画像形成装置本体1の一側面に設けられた着脱用の開口部3を介して、前記画像形成装置本体に着脱自在に装着される記録媒体収容容器を取り外した状態で、前記着脱用の開口部3を介して前記画像形成装置本体に着脱自在に装着され、前記画像形成装置本体を運搬する際に作業者が手を掛ける把手部材10を備えるように構成した。
【選択図】図1

Description

この発明は、画像形成装置用の運搬装置及びこれを用いた画像形成装置に関するものである。
特開平05−045944号公報 特開平08−044272号公報 特開平08−190332号公報 特開平10−235968号公報 特開2000−103137号公報
従来、この種の画像形成装置用の運搬装置に関する技術としては、例えば、特開平05−045944号公報、特開平08−044272号公報、特開平08−190332号公報、特開平10−235968号公報及び特開2000−103137号公報等に開示されたものが既に提案されている。
上記特開平05−045944号公報に係る画像形成装置は、本体が、その幅、奥行き、および高さのいずれの寸法よりも短い高さの分割体を上下分割可能に接続してなり、各分割体には、その高さ方向の辺が水平となる姿勢にして持ち運ぶための把手を設けるように構成したものである。
また、上記特開平08−044272号公報に係る画像形成装置は、画像形成装置本体に対して開閉自在に取り付けられた可動体を具備する画像形成装置において、画像形成装置本体内に収納可能で、且つ、画像形成装置本体外に引き出し可能に画像形成装置本体に支持された運搬用把手を設けると共に、運搬用把手を引き出したとき、前記可動体が画像形成装置本体外に突出不能となるように、該可動体をロックし、運搬用把手を画像形成装置本体内に収納したとき、そのロック状態を解除するロック手段を設けるように構成したものである。
さらに、上記特開平08−190332号公報に係る画像形成装置は、運搬用の把手を有する画像形成装置において、画像形成装置の筐体の側壁に設けた進退用穴から筐体の内外へ進退可能に支持され且つ運搬時に引き出し可能な把手と、上記把手と一体の締結手段とを有し、上記把手を筐体内に収納した時に画像形成装置の下方に位置する設置体面に該締結手段が締結するように構成したものである。
又、上記特開平10−235968号公報に係る画像形成装置は、装置本体が直方体形状をなす画像形成装置において、前記装置本体の長手方向中間位置を通る中心面と、前記装置本体の重心位置を通りその中心面と平行な重心面との間に位置して前記装置本体の長手側面に、該装置本体を持ち上げるときの把手を形成してなるように構成したものである。
更に、上記特開2000−103137号公報に係る画像形成装置は、用紙収納部の上に画像形成部を設けて装置本体を構成し、前記用紙収納部内に給紙トレイを前記装置本体の前後方向に出し入れ自在に備え、その給紙トレイから用紙を繰り出し、その用紙に前記画像形成部により画像を形成する画像形成装置において、前記用紙収納部と前記画像形成部との間に運搬用の把手を設け、その把手を前記装置本体の前後方向に引き出し・収納自在としてなるものである。
ところで、この発明が解決しようとする課題は、画像形成装置の開口部を利用して運搬用の把手部材を設けることを可能とした画像形成装置用の運搬装置及びこれを用いた画像形成装置を提供することにある。
すなわち、請求項1に記載された発明は、画像形成装置本体の一側面に設けられた着脱用の開口部を介して、前記画像形成装置本体に着脱自在に装着される記録媒体収容容器を取り外した状態で、前記着脱用の開口部を介して前記画像形成装置本体に着脱自在に装着され、前記画像形成装置本体を運搬する際に作業者が手を掛ける把手部材を備えたことを特徴とする画像形成装置用の運搬装置である。
また、請求項2に記載された発明は、前記把手部材は、不使用時、前記記録媒体収容容器に収容されることを特徴とする請求項1に記載の画像形成装置用の運搬装置である。
さらに、請求項3に記載された発明は、前記把手部材は、前記着脱用の開口部内に挿入した後、前記記録媒体収容容器の着脱方向と交差する方向に移動させることにより、前記着脱用の開口部の天井面に固定した状態で装着されることを特徴とする請求項1又は2に記載の画像形成装置用の運搬装置である。
又、請求項4に記載された発明は、前記把手部材は、前記記録媒体収容容器を前記画像形成装置本体の内部に案内する案内部に沿って移動するための摺動部を備え、前記摺動部の挿入方向奥側の上端部に、前記着脱用の開口部の天井面に固定される固定用突起を備えていることを特徴とする請求項1又は2に記載の画像形成装置用の運搬装置である。
更に、請求項5に記載された発明は、画像形成装置本体と、
前記画像形成装置本体の一側面に設けられた着脱用の開口部を介して、前記画像形成装置本体に着脱自在に装着される記録媒体収容容器と、
前記記録媒体収容容器を取り外した状態で、前記着脱用の開口部を介して前記画像形成装置本体に着脱自在に装着され、前記画像形成装置本体を運搬する際に作業者が手を掛ける把手部材を備えたことを特徴とする画像形成装置である。
請求項1に記載された発明によれば、画像形成装置の開口部を利用して運搬用の把手部材を設けることができる。
また、請求項2に記載された発明によれば、把手部材を紛失する虞れがなく、しかも把手部材が外部に露出することがないので、外観上優れている。
さらに、請求項3に記載された発明によれば、画像形成装置を運搬する際に、把手部材が不本位に外れるのを防止することができる。
又、請求項4に記載された発明によれば、画像形成装置本体の重量が大きい場合であっても、把手部材を開口部の奥側に挿入した状態で固定することができ、把手部材を画像形成装置本体に確実に固定することが可能となる。
更に、請求項5に記載された発明によれば、画像形成装置の開口部を利用して運搬用の把手部材を設けることができ、容易に運搬可能となる。
以下に、この発明の実施の形態について図面を参照して説明する。
実施の形態1
図2はこの発明の実施の形態1に係る画像形成装置用の運搬装置を適用した画像形成装置としてのプリンターを示す外観斜視図である。
このプリンターの本体1は、図2に示すように、略直方体形状に形成されており、当該プリンター本体1の一側面(図示例では、正面)には、当該プリンターで画像を形成する記録媒体としての記録用紙を収容する記録媒体収容容器としての給紙カセット2が着脱自在に装着されている。上記給紙カセット2は、プリンター本体1正面の下端部に設けられた着脱用の開口部3を介して、プリンター本体1の正面側に引き出すことによって着脱自在となっている。
また、上記プリンター本体1には、その正面を除いた背面及び両側面の下端部に、当該プリンター本体1を運搬する際に、作業者がプリンター本体1を持ち上げるために手を掛ける把手部が設けられている。なお、上記把手部9は、プリンター本体1の背面及び両側面のすべてに必ずしも設ける必要はなく、例えば、プリンター本体1の背面にのみ設けられていても良い。
さらに、上記プリンターは、給紙カセット2の内部に収容され、当該給紙カセット2から予め定められたタイミングで図示しない記録用紙を給送して、プリンター本体1の内部に設けられた図示しない画像形成部によって、モノクロ又はフルカラーのトナー画像を形成し、このトナー画像を記録用紙上に転写・定着した後に、排出口4からプリンター本体1の上面に設けられた排紙トレイ5上に排出することにより、画像のプリントを行うものである。
また、上記プリンター本体1の正面には、給紙カセット2の上部に、プリンター本体1の内部に詰まった記録用紙を除去したりするための開閉カバー6が設けられており、記録用紙の紙詰まり時などに、開閉カバー6の上端部に設けられた把手7に手を掛けて、開閉カバーの下端部を支点として手前側に開くことにより、プリンター本体1内の図示しない用紙搬送路を露出させ、紙詰まりした記録用紙を除去するように構成されている。
なお、上記プリンター本体1は、設置場所の省スペース化等に対応するために小型化されており、給紙カセット2の前面に設けられ、当該給紙カセット2を着脱するための前面パネル8と、開閉カバー6との間に殆ど隙間がなく、しかも給紙カセット2の前面パネル8は、給紙カセット2を着脱するためのものであって、この前面パネル8に手を掛けてプリンター本体1の全重量を支えることはできない。
そこで、この実施の形態では、プリンターを移動させる場合など、プリンター本体1の給紙カセット2を着脱する側面(図示例では正面)に、作業者が手を掛けてプリンター本体1を持ち上げる必要がある場合など、次のようにして、把手部材をプリンター本体1に装着して運搬するように構成されている。
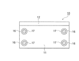
この実施の形態では、図1に示すように、プリンターを運搬する際に、プリンター本体1に作業者が手を掛けるための把手部材10を、プリンター本体1とは別の部材として備えている。この把手部材10は、図3に示すように、硬質の合成樹脂や金属等からなり、側面略L字形状に形成された板状部材からなるものである。
上記把手部材10は、図3及び図4に示すように、予め定められた長さに形成された第1板部11と、当該第1板部の手前側(給紙カセット着脱方向に沿った手前側)に上方へ向けて折り曲げた状態で一体的に設けられた第2板部12とから構成されている。また、上記把手部材10には、図4に示すように、第1板部11の下面と、第2板部12の外側面に、滑り止め用の凸条13、14が複数本横方向に沿って設けられている。さらに、上記把手部材10には、第1板部11の上面手前側から第2板部12の内側面上部に渡って、プリンター本体1の開閉カバー6の下端部に当接する当接部15が予め定められた厚さで設けられている。
また、上記把手部材10には、図4及び図5に示すように、当該把手部材をプリンター本体1の着脱用開口部3内の天井面に着脱自在に取り付けるための取付部材16が、第1板部11の上面に上向きに突出するように設けられている。上記取付部材16としては、図4に示すように、把手部材10の第1板部11の四隅近傍に設けれた金属や合成樹脂等からなる円柱形状の短い軸部材が用いられている。この取付部材としての軸部材16は、予め定められた外径を有する円柱形状の部材であり、軸方向の中間部であって、上方寄りの位置には、直径が小さくなるように切り欠いた細径部17が、予め定められた長さにわたって設けられている。
一方、上記把手部材10が取り付けられるプリンター本体1の着脱用開口部3内の天井面3aには、図6及び図7に示すように、当該天井面3aを形成するプリンター本体1の板金フレーム18に、把手部材10の軸部材16に対応した4箇所の位置に、軸部材16が挿入される挿入孔20がそれぞれ開口されている。これら4つの挿入孔20は、軸部材16の外径よりも若干大きな直径を有する円弧状の孔からなる挿入部21と、当該挿入部21の一方向、図示例では給紙カセット2の着脱方向と交差する一方向に予め定められた長さに渡って設けられ、軸部材16の細径部17よりも若干大きな幅を有する通路部22と、当該通路部22の幅が軸部材16の細径部17の外径よりも若干小さな間隔となるように狭めた狭通路部23と、当該狭通路部23の先端に設けられ、軸部材16の細径部17と略等しい外径を有する固定部24とを有するように構成されている。
尚、図6中、25は給紙カセット2から記録用紙を給紙する給紙ロールを、26は用紙搬送路をそれぞれ示している。
また、上記把手部材10は、図8に示すように、不使用時、給紙カセット2に設けれた収容用凹所27に収容されており、把手部材10を使用しないときに、紛失したりするのを防止可能となっている。
以上の構成において、この実施の形態に係る画像形成装置用の運搬装置を適用したプリンターは、次のようにして、小型の画像形成装置に対応しつつ、当該画像形成装置を運搬する際に、画像形成装置本体の記録媒体収容容器が設けられた側面に対しても、運搬用の把手部材を設けることが可能となっている。
すなわち、上記プリンターでは、図8に示すように、当該プリンターを移動させる場合など、給紙カセット2をプリンター本体1から引き出して取り外すとともに、図9に示すように、当該給紙カセット2の内部に収容された把手部材10を取り出す。そして、上記プリンターでは、図1に示すように、取り出された把手部材10を、プリンター本体1の着脱用開口部3を介して、当該着脱用開口部3の天井面3aに装着する。この把手部材10の装着は、図10及び図11に示すように、当該把手部材10の第1板部11に設けられた軸部材16の位置を、プリンター本体1の着脱用開口部3の天井面に設けられた挿入孔20に合わせた状態で、図11(a)に示すように、軸部材16を挿入孔20の挿入部21に挿入するとともに、図11(b)に示すように、把手部材10を給紙カセット2の着脱方向Aと交差するB方向にスライドさせるように移動させ、軸部材16の細径部17を狭通路部23を通過させた後、固定部24に嵌め合わされた状態で固定することによって行われる。
こうすることによって、上記把手部材10は、図1及び図10に示すように、着脱用開口部3を介して、プリンター本体1の板金フレーム18に確実に固定される。その際、上記把手部材10の内面に設けられた当接部材15が、プリンター本体1の開閉カバー6の下端部に当接し、当該把手部材10の荷重が開閉カバー6に平均化されて作用するため、開閉カバー6を損傷する虞れもない。
そして、作業者は、図1に示すように、プリンター本体1の前面に装着された把手部材10と、当該プリンター本体1の背面に予め設けられた図示しない把手部とにそれぞれ手を掛け、プリンター本体1を持ち上げることによって運搬するようになっている。
なお、上記プリンター本体1の両側面に図示しない把手部が設けられている場合であっても、プリンター本体1の両側面には、他の機器が置かれていて、これらの機器を移動させなければ、プリンター本体1の両側面に設けられた把手部に作業者が手を掛けることができない場合がある。
この実施の形態に係るプリンターでは、このような場合であっても、プリンター本体1の前面は、給紙カセット2を着脱する面であるため、通常、開放されており、プリンター本体1の背面側も壁面との間に通常隙間が設けられているため、作業者が手を入れることが可能であり、このような場合に特に有効である。
実施の形態2
図12及び図13はこの発明の実施の形態2を示すものであり、前記実施の形態1と同一の部分には同一の符号を付して説明すると、この実施の形態2では、把手部材の形状が前記実施の形態1と異なるように構成されている。
すなわち、この実施の形態2では、図12に示すように、把手部材10が給紙カセット2と略等しい幅を有する形状に形成されており、当該把手部材10の幅方向に沿った両端部には、プリンター本体1に装着する際に、把手部材10を案内する案内板30が下向きに折り曲げた状態で設けられている。
また、上記把手部材10の上端面31は、給紙カセット2の着脱方向に沿って予め定められた長さを有する矩形状に形成されており、当該上端面31には、その手前側の端部と、奥側の端部に、プリンター本体1の板金フレーム18に設けられた係止用の孔に係止される爪部がそれぞれ設けられている。なお、これらの爪部は、一方のみ設けても良い。
このように構成することにより、プリンター本体1が大型のものであって、当該プリンター本体1の重量が大きい場合であっても、把手部材10を着脱用の開口部3の奥側に挿入した状態で固定することができ、把手部材1をプリンター本体1に確実に固定することが可能となる。
その他の構成及び作用は、前記実施の形態1と同様であるので、その説明を省略する。
この発明の実施の形態1に係る画像形成装置としてのプリンターの運搬状態を示す外観斜視図である。 この発明の実施の形態1に係る画像形成装置としてのプリンターを示す外観斜視図である。 把手部材を示す斜視図である。 把手部材を示す断面図である。 把手部材を示す平面図である プリンターの要部を示す断面構成図である。 プリンターの要部を示す構成図である。 プリンターの給紙カセットを引き出した状態を示す外観斜視図である。 プリンターの把手部材を装着する状態を示す外観斜視図である。 把手部材の取付状態を示す断面図である。 把手部材の取付状態を示す構成図である。 この発明の実施の形態2に係る画像形成装置としてのプリンターを示す概略斜視図である。 把手部材の装着状態を示す概略斜視図である。
符号の説明
1:プリンター本体、2:給紙カセット、3:着脱用の開口部、10:把手部材。

Claims (5)

  1. 画像形成装置本体の一側面に設けられた着脱用の開口部を介して、前記画像形成装置本体に着脱自在に装着される記録媒体収容容器を取り外した状態で、前記着脱用の開口部を介して前記画像形成装置本体に着脱自在に装着され、前記画像形成装置本体を運搬する際に作業者が手を掛ける把手部材を備えたことを特徴とする画像形成装置用の運搬装置。
  2. 前記把手部材は、不使用時、前記記録媒体収容容器に収容されることを特徴とする請求項1に記載の画像形成装置用の運搬装置。
  3. 前記把手部材は、前記着脱用の開口部内に挿入した後、前記記録媒体収容容器の着脱方向と交差する方向に移動させることにより、前記着脱用の開口部の天井面に固定した状態で装着されることを特徴とする請求項1又は2に記載の画像形成装置用の運搬装置。
  4. 前記把手部材は、前記記録媒体収容容器を前記画像形成装置本体の内部に案内する案内部に沿って移動するための摺動部を備え、前記摺動部の挿入方向奥側の上端部に、前記着脱用の開口部の天井面に固定される固定用突起を備えていることを特徴とする請求項1又は2に記載の画像形成装置用の運搬装置。
  5. 画像形成装置本体と、
    前記画像形成装置本体の一側面に設けられた着脱用の開口部を介して、前記画像形成装置本体に着脱自在に装着される記録媒体収容容器と、
    前記記録媒体収容容器を取り外した状態で、前記着脱用の開口部を介して前記画像形成装置本体に着脱自在に装着され、前記画像形成装置本体を運搬する際に作業者が手を掛ける把手部材を備えたことを特徴とする画像形成装置。
JP2008247128A 2008-09-26 2008-09-26 画像形成装置用の運搬装置及びこれを用いた画像形成装置 Expired - Fee Related JP5239689B2 (ja)

Priority Applications (1)

Application Number Priority Date Filing Date Title
JP2008247128A JP5239689B2 (ja) 2008-09-26 2008-09-26 画像形成装置用の運搬装置及びこれを用いた画像形成装置

Applications Claiming Priority (1)

Application Number Priority Date Filing Date Title
JP2008247128A JP5239689B2 (ja) 2008-09-26 2008-09-26 画像形成装置用の運搬装置及びこれを用いた画像形成装置

Publications (2)

Publication Number Publication Date
JP2010078901A true JP2010078901A (ja) 2010-04-08
JP5239689B2 JP5239689B2 (ja) 2013-07-17

Family

ID=42209431

Family Applications (1)

Application Number Title Priority Date Filing Date
JP2008247128A Expired - Fee Related JP5239689B2 (ja) 2008-09-26 2008-09-26 画像形成装置用の運搬装置及びこれを用いた画像形成装置

Country Status (1)

Country Link
JP (1) JP5239689B2 (ja)

Cited By (3)

* Cited by examiner, † Cited by third party
Publication number Priority date Publication date Assignee Title
JP2012159694A (ja) * 2011-02-01 2012-08-23 Fuji Xerox Co Ltd 画像形成装置
JP2014095789A (ja) * 2012-11-08 2014-05-22 Toshiba Corp 画像形成装置
US9141074B2 (en) 2011-10-31 2015-09-22 Brother Kogyo Kabushiki Kaisha Image forming apparatus having side cover including finger receiving portion

Citations (3)

* Cited by examiner, † Cited by third party
Publication number Priority date Publication date Assignee Title
JP2001296707A (ja) * 2000-04-12 2001-10-26 Matsushita Electric Ind Co Ltd 画像形成装置
JP2005301181A (ja) * 2004-04-16 2005-10-27 Ricoh Co Ltd 画像形成装置
JP2008224735A (ja) * 2007-03-08 2008-09-25 Murata Mach Ltd 画像形成装置

Patent Citations (3)

* Cited by examiner, † Cited by third party
Publication number Priority date Publication date Assignee Title
JP2001296707A (ja) * 2000-04-12 2001-10-26 Matsushita Electric Ind Co Ltd 画像形成装置
JP2005301181A (ja) * 2004-04-16 2005-10-27 Ricoh Co Ltd 画像形成装置
JP2008224735A (ja) * 2007-03-08 2008-09-25 Murata Mach Ltd 画像形成装置

Cited By (3)

* Cited by examiner, † Cited by third party
Publication number Priority date Publication date Assignee Title
JP2012159694A (ja) * 2011-02-01 2012-08-23 Fuji Xerox Co Ltd 画像形成装置
US9141074B2 (en) 2011-10-31 2015-09-22 Brother Kogyo Kabushiki Kaisha Image forming apparatus having side cover including finger receiving portion
JP2014095789A (ja) * 2012-11-08 2014-05-22 Toshiba Corp 画像形成装置

Also Published As

Publication number Publication date
JP5239689B2 (ja) 2013-07-17

Similar Documents

Publication Publication Date Title
CN106004098B (zh) 打印装置
CN103895344B (zh) 记录装置
JP5239689B2 (ja) 画像形成装置用の運搬装置及びこれを用いた画像形成装置
JP2009057163A (ja) 画像形成装置
CN108237778B (zh) 打印系统以及增设单元
JP7066482B2 (ja) シート収容装置及び画像形成装置
JP2011151083A (ja) 電子部品供給装置
JP7086747B2 (ja) 液体吐出装置
JP4564377B2 (ja) 画像形成装置
JP7729156B2 (ja) 画像形成装置
JP4710813B2 (ja) トレイフィーダ
JP4831008B2 (ja) 印刷装置
US20100085608A1 (en) Image forming apparatus
CN102955387B (zh) 图像形成装置及其所使用的供纸盒
CN108622683A (zh) 罩体、介质收容盒
JP4651516B2 (ja) 電子機器
JP7148871B2 (ja) 記録装置
KR102429616B1 (ko) 수용체 및 테이프 리본 세트
JP4710812B2 (ja) トレイフィーダ
JP4085993B2 (ja) 画像形成装置
JP2008115002A (ja) カセット及びそれを備えた記録装置
KR101470760B1 (ko) 프린터용 리본카트리지
JP3959290B2 (ja) 画像形成装置
KR101583674B1 (ko) 테이프 피더
JP2006227371A (ja) トナー補給装置

Legal Events

Date Code Title Description
A621 Written request for application examination

Free format text: JAPANESE INTERMEDIATE CODE: A621

Effective date: 20110822

A977 Report on retrieval

Free format text: JAPANESE INTERMEDIATE CODE: A971007

Effective date: 20121012

A131 Notification of reasons for refusal

Free format text: JAPANESE INTERMEDIATE CODE: A131

Effective date: 20121016

A521 Request for written amendment filed

Free format text: JAPANESE INTERMEDIATE CODE: A523

Effective date: 20121212

TRDD Decision of grant or rejection written
A01 Written decision to grant a patent or to grant a registration (utility model)

Free format text: JAPANESE INTERMEDIATE CODE: A01

Effective date: 20130305

A61 First payment of annual fees (during grant procedure)

Free format text: JAPANESE INTERMEDIATE CODE: A61

Effective date: 20130318

FPAY Renewal fee payment (event date is renewal date of database)

Free format text: PAYMENT UNTIL: 20160412

Year of fee payment: 3

R150 Certificate of patent or registration of utility model

Free format text: JAPANESE INTERMEDIATE CODE: R150

Ref document number: 5239689

Country of ref document: JP

Free format text: JAPANESE INTERMEDIATE CODE: R150

S533 Written request for registration of change of name

Free format text: JAPANESE INTERMEDIATE CODE: R313533

R350 Written notification of registration of transfer

Free format text: JAPANESE INTERMEDIATE CODE: R350

LAPS Cancellation because of no payment of annual fees