JP2010076762A - 溶接構造閉断面フレーム - Google Patents

溶接構造閉断面フレーム Download PDF

Info

Publication number
JP2010076762A
JP2010076762A JP2009269705A JP2009269705A JP2010076762A JP 2010076762 A JP2010076762 A JP 2010076762A JP 2009269705 A JP2009269705 A JP 2009269705A JP 2009269705 A JP2009269705 A JP 2009269705A JP 2010076762 A JP2010076762 A JP 2010076762A
Authority
JP
Japan
Prior art keywords
frame
welded
welded structure
structure closed
closed section
Prior art date
Legal status (The legal status is an assumption and is not a legal conclusion. Google has not performed a legal analysis and makes no representation as to the accuracy of the status listed.)
Granted
Application number
JP2009269705A
Other languages
English (en)
Other versions
JP4993520B2 (ja
Inventor
Mitsuhiro Ema
光弘 江間
Yoshihaya Imamura
美速 今村
Toru Hashimura
徹 橋村
Current Assignee (The listed assignees may be inaccurate. Google has not performed a legal analysis and makes no representation or warranty as to the accuracy of the list.)
Kobe Steel Ltd
Original Assignee
Kobe Steel Ltd
Priority date (The priority date is an assumption and is not a legal conclusion. Google has not performed a legal analysis and makes no representation as to the accuracy of the date listed.)
Filing date
Publication date
Application filed by Kobe Steel Ltd filed Critical Kobe Steel Ltd
Priority to JP2009269705A priority Critical patent/JP4993520B2/ja
Publication of JP2010076762A publication Critical patent/JP2010076762A/ja
Application granted granted Critical
Publication of JP4993520B2 publication Critical patent/JP4993520B2/ja
Active legal-status Critical Current
Anticipated expiration legal-status Critical

Links

Images

Landscapes

  • Body Structure For Vehicles (AREA)

Abstract

【課題】衝突時等に外力が付加され圧壊するときに、フレームの溶接部で大きく開口したり破壊したりしない溶接構造閉断面フレームを提供する。
【解決手段】開断面を有する2個のアルミニウム合金製のフレーム部材1a及び1cをその開放端縁部同士を溶接することにより閉断面構造とした溶接構造閉断面フレームにおいて、内部に内部補強材5が設けられている。この内部補強材5は板材5bとこの板材5bに設けられた複数個の切り込みに挿入された補強部材5aとから構成されている。補強部材5aは、溶接線と直交方向の端部で、フレーム部材1a、1cに接触している。
【選択図】図7

Description

本発明は、自動車の車体フレーム及びサスペンションフレーム等の溶接構造閉断面フレームに関し、特に衝突時等においてフレームに外力が付加され圧壊するときに吸収エネルギーの低下がない溶接構造閉断面フレームに関する。
自動車等の車体には、乗員の安全性を確保するために、車体フレーム、特にサイドフレーム(サイドメンバ)、クラッシュボックス、バンパーステイ及びサスペンションフレーム等、車両衝突時にフレームの縦方向(軸方向)が圧壊して衝撃エネルギーを負担する中空の強度部材が設けられている。近時、車体軽量化の観点から、これらの中空の強度部材として、アルミニウム合金製の押出形材によって形成されるエネルギー吸収部材が提案されている(例えば特許文献1)。
しかしながら、中空の押出形材によるエネルギー吸収部材は、バンパーステイ等軸方向が直線状であるエネルギー吸収部材には好適であるが、例えば乗用車のフロントサイドフレーム(サイドメンバ)等は軸方向において屈曲しており、直線状の押出形材を曲げ加工によって成形しなければならず、高い加工精度が必要であり、また加工コストが高いという問題点がある。また、押出形材は断面形状が一定であり、部材強度の要求部位及び取り付け部位によって断面形状を変えることが難しく、フレームの設計面で制約があるという問題点もある。
このため、板材をプレス等によって成形した開断面部材をスポット溶接、アーク溶接又はレーザ溶接等により接合し、閉断面を形成したエネルギー吸収部材も提案されている(例えば特許文献2、特許文献3及び特許文献4)。
更に、エネルギー吸収部材において、その性能を向上する観点から、切り欠きなどの脆弱部を設けてエネルギー吸収性能を向上する方法(例えば特許文献5)、及び脆弱部のある補強部材によってエネルギー吸収性能を向上する方法(例えば特許文献6)等も提案されている。
特開2004−203202号公報 特開平7−310156号公報 特開平11−208504号公報 特開2003−175858号公報 特開平3−65634号公報 特開平11−342862号公報
しかしながら、上述の従来技術に開示された構造は、押出形材によるフレームよりも断面設計の自由度が大きくなるが、アルミニウム合金によって上述のような構造を有するエネルギー吸収部材を形成した場合、応力が集中しやすい溶接部が母材部(非溶接部)よりも弱いため、衝突時等フレームに外力が付加され圧壊するときに、溶接部が大きく開口してしまうという問題点がある。溶接部が開口し、破壊すると、圧壊時の吸収エネルギーが低下する虞があるばかりか、開口部は鋭利な破断面になるため、この破断面が露出すると乗員及び周辺環境を傷つける虞があるという問題点がある。
本発明はかかる問題点に鑑みてなされたものであって、衝突時等に外力が付加され圧壊するときに、フレームの溶接部で大きく開口したり破壊したりしない溶接構造閉断面フレームを提供することを目的とする。
本発明に係る溶接構造閉断面フレームは、開断面を有する2個のアルミニウム合金製のフレーム部材をその開放端縁部同士を溶接することにより閉断面構造とした溶接構造閉断面フレームにおいて、内部に内部補強材が配置されており、前記内部補強材は、内部に前記フレーム部材の長手方向に配置された板材と、この板材に所定間隔で切り込みを入れて前記切り込みにその面が前記板材の面に垂直になるように挿入して配置された複数個の補強部材とを有し、前記補強部材は、前記フレーム部材同士の溶接部が存在する相対した側面に当接していることを特徴とする。
例えば、前記2個のアルミニウム合金製のフレーム部材が突合せ継手溶接により接合されているか、又は、前記2個のアルミニウム合金製のフレーム部材が重ね継手溶接により接合されている。
本発明によれば、開断面を有する2個のアルミニウム合金製のフレーム部材を溶接することにより閉断面を構成する溶接構造閉断面フレームに対し、衝突時等、外力が付加され圧壊するときに、溶接された2個のフレーム部材が溶接部において大きく開口しないため、圧壊時の吸収エネルギーの低下がなく、鋭利な開口部破断面の露出により乗員及び周辺環境を傷つける虞がない。
本発明の第1参考例に係る溶接構造閉断面フレームを示す模式的斜視図である。 本発明の第2参考例に係る溶接構造閉断面フレームを示す模式的斜視図である。 (a)は本発明の第3参考例に係る溶接構造閉断面フレームを示す模式的側面図、(b)は(a)におけるA−A線断面図である。 (a)は本発明の第3参考例に係る溶接構造閉断面フレームを示す模式的側面図、(b)は(a)におけるA−A線断面図である。 (a)は本発明の第4参考例に係る溶接構造閉断面フレームを示す模式的側面図、(b)は(a)におけるA−A線断面図である。 (a)は本発明の第5参考例に係る溶接構造閉断面フレームを示す模式的側面図、(b)は(a)におけるA−A線断面図である。 (a)は本発明の実施形態に係る溶接構造閉断面フレームを示す模式的側面図、(b)は(a)におけるA−A線断面図である。 同じく本発明の実施形態の内部補強材5の形状を示す模式的斜視図である。 (a)は本発明の第6参考例に係る溶接構造閉断面フレームを示す模式的側面図、(b)は(a)におけるA−A線断面図である。 比較例1の溶接構造閉断面フレームを示す模式的斜視図である。 比較例2の溶接構造閉断面フレームを示す模式的斜視図である。 比較例2の溶接構造閉断面フレームの破壊状況を示す模式的斜視図である。 (a)は図12におけるA−A線断面図、(b)は同じくB−B線断面図である。 参考試験例2の溶接構造閉断面フレームの破壊状況を示す模式的斜視図である。 図14におけるA−A線断面図である。 (a)は参考試験例6の溶接構造閉断面フレームの破壊状況を示す模式的上面図、(b)は同じく模式的左側面図である。
以下、本発明の実施形態について、添付の図面を参照して具体的に説明する。先ず、本発明の第1参考例について説明する。図1は、本発明の第1参考例に係る溶接構造閉断面フレームを示す模式的斜視図である。アルミニウム合金板材がプレス加工等によって成形され、開断面を有するコの字状のフレーム部材1aが形成されている。このフレーム部材1aの内側面に当接して等間隔に矩形状を有する内部補強材2が接続され、フレーム部材1aと同形状を有するフレーム部材1bがフレーム部材1aと対向した状態で、その開放端縁部同士をミグ(MIG:Metal Inert Gas)溶接等によって接続され、これにより内部補強材2が設けられた口の字状の閉断面を有する溶接構造閉断面フレームが形成されている。本実施形態においてはフレームの溶接部が突合せ継手になっている。
次に、上述の如く構成された本参考例の溶接構造閉断面フレームの動作について説明する。車両の衝突時等、溶接構造閉断面フレームの長手方向に外力が付加されると、溶接構造閉断面フレームが変形する。これにより、外力によるエネルギーを吸収する。このとき、内部補強材2はフレーム部材の溶接部が存在する相対した面を結ぶ方向の圧縮強度がこの方向と直角であるいずれの方向の圧縮強度よりも高いため、溶接部が内側に凹むように変形することはなく、よって溶接部が開口することはない。
次に、本発明の第2参考例について説明する。図2は本参考例に係る溶接構造閉断面フレームを示す模式的斜視図である。図2において図1と同一構成物には同一符号を付して、その詳細な説明は省略する。アルミニウム合金板材がプレス加工等によって成形され、開断面を有するコの字状のフレーム部材1aが形成されている。このフレーム部材1aの内側面に当接して等間隔に矩形状を有する内部補強材2が接続され、フレーム部材1aの外側面の間隔と等しい内側面の間隔を有するフレーム部材1cがフレーム部材1aと対向した状態で、その開放端縁部同士が一部重なりを有した状態でミグ溶接等によって接続され、即ち重ねすみ肉溶接され、これにより内部補強材2が設けられた溶接構造閉断面フレームが形成されている。本実施形態においてはフレームの溶接部が重ね継手になっている。
次に、上述の如く構成された本参考例の溶接構造閉断面フレームの動作について説明する。上述の第1参考例に係る溶接構造閉断面フレームの動作と同様、車両の衝突時等、溶接構造閉断面フレームの長手方向に外力が付加されると、溶接構造閉断面フレームが変形する。これにより、外力によるエネルギーを吸収する。また、このとき上述の第1実施形態と同様の効果により溶接部が開口しない。
次に、本発明の第3参考例について説明する。図3(a)及び図4(a)は本参考例に係る溶接構造閉断面フレームを示す模式的側面図、図3(b)及び図4(b)は図3(a)及び図4(a)におけるA−A線断面図である。図3及び4において図1及び2と同一構成物には同一符号を付して、その詳細な説明は省略する。
アルミニウム合金板材がプレス加工等によって成形され、開断面を有するコの字状のフレーム部材1aが形成されている。このフレーム部材1aの内側面に当接して等間隔に内部補強材3が接続されている。この内部補強材3は、フレーム部材1aのコの字状の対向する辺よりも長く形成されており、フレーム部材1aの対向する2辺に接しない部分が内側に傾斜していることにより、隅部に傾斜部が設けられている。また、内部補強材3の長さとフレーム部材1aの内側の底面からフレーム部材1aの先端までの長さとの差は、フレーム部材1aの先端とフレーム部材1cの内側の底面までの長さと等しく設計されている。
本参考例においては、図4(b)に示すように、内部補強材3とフレーム部材1aとが、コの字状のフレームの側面のみにおいて接続されている。そして、フレーム部材1aの外側面の間隔と等しい内側面の間隔を有するフレーム部材1cがフレーム部材1aと対向し、一部が内部補強材3の高さによって決まる重なりを有した状態でミグ溶接等によって接続され、即ち重ねすみ肉溶接され、これにより内部補強材3が設けられた溶接構造閉断面フレームが形成されている。
重ね継手で溶接を行う場合、所望の重ね継手長さになるようにフレーム部材1aとフレーム部材1cとを位置決めすることが難しいが、本参考例においては内部補強材3が双方のフレーム部材の底面に当接する形状になっている。これにより、内部補強材3は溶接構造閉断面フレームを補強する機能だけでなく、フレーム溶接部の位置決めとしての機能も兼ね備えている。
次に、上述の如く構成された本参考例の溶接構造閉断面フレームの動作について説明する。上述の第1及び第2参考例に係る溶接構造閉断面フレームの動作と同様、車両の衝突時等、溶接構造閉断面フレームの長手方向に外力が付加されると、溶接構造閉断面フレームが変形する。このとき、第1及び第2参考例とは異なり、内部補強材3がフレーム部材1a及び1cの双方に接していることにより、外力によるエネルギーを吸収するときに、この吸収エネルギーがより高くなる。また、このとき、内部補強材3は隅部に傾斜部が設けられており、フレーム部材の溶接部が存在する相対した面を結ぶ方向の圧縮強度がこの方向と直角であるいずれの方向の圧縮強度よりも高いため、溶接部が内側に凹むように変形することはなく、よって溶接部が開口することはない。
次に、本発明の第4参考例について説明する。図5(a)は本参考例に係る溶接構造閉断面フレームを示す模式的側面図、図5(b)は図5(a)におけるA−A線断面図である。図5において図1乃至4と同一構成物には同一符号を付して、その詳細な説明は省略する。
上述の第3参考例は、図4に示すように内部補強材3とフレーム部材1aとがコの字状のフレームの側面のみにおいて接続されているのに対し、本第4参考例においては図5に示すように内部補強材3とフレーム部材1aとがコの字状のフレームの底面のみにおいて接続されている点が異なり、それ以外は第3参考例と同様の構造を有している。本参考例に係る溶接構造閉断面フレームは、上述の第3参考例の動作及び得られる効果に加え、内部補強材3が底面のみにおいて接続され、側面においては接続されていないため、側面が凸形状に変形する吸収形態が促され、この結果、溶接部の開口破断が起こらない。
次に、本発明の第5参考例について説明する。図6(a)は本参考例に係る溶接構造閉断面フレームを示す模式的側面図、図6(b)は図6(a)におけるA−A線断面図である。図6において図1乃至5と同一構成物には同一符号を付して、その詳細な説明は省略する。
アルミニウム合金板材がプレス加工等によって成形され、開断面を有するコの字状のフレーム部材1aが形成されている。また、フレーム部材1aの外側面の間隔と等しい内側面の間隔を有するフレーム部材1cの内側面に当接して等間隔に矩形状を有する内部補強材4が接続され、フレーム部材1aとフレーム部材1cとが対向したときにフレーム部材1aの先端部が内部補強材4の先端部に接するようになっている。これにより、内部補強材4は溶接構造閉断面フレームを補強する機能だけでなく、フレーム溶接部の位置決めとしての機能も兼ね備えている。フレーム部材1aとフレーム部材1cとを対向させ、一部が内部補強材4の高さによって決まる重なりを有した状態でミグ溶接等によって接続され、即ち重ねすみ肉溶接され、これにより内部補強材4が設けられた溶接構造閉断面フレームが形成されている。本参考例の動作及び得られる効果は上述の第2参考例と同様である。
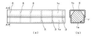
次に、本発明の実施形態について説明する。図7(a)は本実施形態に係る溶接構造閉断面フレームを示す模式的側面図、図7(b)は図7(a)におけるA−A線断面図である。図7において図1乃至6と同一構成物には同一符号を付して、その詳細な説明は省略する。
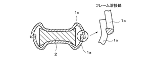
図8は本実施形態の内部補強材5の形状を示す模式的斜視図である。図8において図1乃至7と同一構成物には同一符号を付して、その詳細な説明は省略する。フレーム部材1cの長手方向の長さと同寸法を有する板材5bは切削加工等によって等間隔に切り込みを設けられ、この切り込みに溶接線と直角方向に内部補強部材5aが挿入されることによって内部補強材5が形成されている。内部補強材5は双方のフレーム部材の底面に当接する形状になっているため、内部補強材5は溶接構造閉断面フレームを補強する機能だけでなく、フレーム溶接部の位置決めとしての機能も兼ね備えている。また、内部補強材5はこれ自体で自立するため、内部補強材5とフレーム部材1a及び1cとは特に溶接されず、フレーム部材1cの内部に内部補強材5が挿入された状態でフレーム部材1aを対向させ、フレーム部材1aと1cとが一部が内部補強材5の高さによって決まる重なりを有した状態でミグ溶接等によって接続され、即ち重ねすみ肉溶接され、これにより内部補強材5が設けられた閉断面フレームが形成されている。
次に、上述の如く構成された本実施形態の溶接構造閉断面フレームの動作について説明する。上述の第1乃至5参考例に係る溶接構造閉断面フレームの動作と同様、車両の衝突時等、溶接構造閉断面フレームの長手方向に外力が付加されると、溶接構造閉断面フレームが変形する。このとき、第1及び第2参考例とは異なり、内部補強材5がフレーム部材1a及び1cの双方に接していることにより、外力によるエネルギーを吸収するときに、この吸収エネルギーがより高くなる。また、このとき、内部補強材5にはフレーム部材の溶接部が存在する相対した面を結ぶ方向と直角の方向に切り込みが設けられているため、この切り込みが設けられている方向の圧縮強度が弱くなり、従って、溶接部が存在する相対した面を結ぶ方向の圧縮強度が相対的に高くなり、これにより、溶接部が内側に凹むように変形することはなく、よって溶接部が開口することはない。
なお、上述の第1乃至5参考例における内部補強材2乃至4及び本発明の実施形態における板材5bは、溶接構造閉断面フレームの長手方向に等間隔に設けられているが、これらは必ずしも等間隔に設けられる必要はなく、溶接構造閉断面フレームの外部及び内部の構造を考慮して、適切な間隔で設けられることができる。
次に、本発明の第6参考例について説明する。図9(a)は本参考例に係る溶接構造閉断面フレームを示す模式的側面図、図9(b)は図9(a)におけるA−A線断面図である。図9において図1乃至8と同一構成物には同一符号を付して、その詳細な説明は省略する。
本参考例の内部補強材6は、一辺がフレーム部材1aの底辺の内側面の長さよりも短い口型押出形材がフレーム部材1aの長手方向の長さよりも短い長さに切断され、これらが複数個横に並べられた状態で溶接等により接続されて形成されている。そして、口型押出形材は、押出方向が溶接部が存在する面を結ぶ方向と一致するようにフレーム内に配置されている。この内部補強材6は押出形材が切断され、溶接等により接続されているだけであるため、上述の本発明の実施形態の内部補強材5のように切削加工により切り込みを入れて作成する方法に比べ、加工コストが非常に安価である。また、切断された口型押出形材同士の接続は、仮付け程度でよく、大きな接合強度は要求されない。
フレーム部材1aの内部に内部補強材6が挿入された状態でフレーム部材1cを対向させ、フレーム部材1aと1cとが一部が内部補強材6の高さによって決まる重なりを有した状態でミグ溶接等によって接続され、即ち重ねすみ肉溶接され、これにより内部補強材6が設けられた溶接構造閉断面フレームが形成されている。
次に、上述の如く構成された本第6参考例の溶接構造閉断面フレームの動作について説明する。上述の第1乃至5参考例及び本発明の実施形態に係る溶接構造閉断面フレームの動作と同様、車両の衝突時等、溶接構造閉断面フレームの長手方向に外力が付加されると、溶接構造閉断面フレームが変形する。このとき、第1及び第2参考例とは異なり、内部補強材6がフレーム部材1a及び1cの双方に接していることにより、外力によるエネルギーを吸収するときに、この吸収エネルギーがより高くなる。また、このとき、口型押出形材が、押出方向が溶接部が存在する面を結ぶ方向と一致するようにフレーム内に配置されているため、内部補強材6はフレーム部材の溶接部が存在する相対した面を結ぶ方向の圧縮強度がこの方向と直角であるいずれの方向の圧縮強度よりも高い。これにより、溶接部が内側に凹むように変形することはなく、よって溶接部が開口することはない。
なお、上述の第6参考例における内部補強材6は同一の押出形材から切断した同断面形状の形材を使用しているが、必ずしも同形状の形材を使用する必要はなく、溶接構造閉断面フレームの内部の構造を考慮して、複数種の形材を使用することもできる。
以下、本発明の効果を実証するための実施例について説明する。本発明の参考試験例1として、図1に示す上述の第1参考例に係る溶接構造閉断面フレームを作成した。フレーム部材1a及び1bは、板厚4mmのA5454P−Oアルミニウム合金板材を使用し、開断面を有するよう、プレス加工によって成形した。フレーム部材1a及び1bの長手方向の長さは500mm、底辺の長さは外側面において100mmである。
内部補強材2としては、同じく板厚4mmのA5454P−Oアルミニウム合金板材を矩形に成形し、フレーム部材1aの端部から50mmの部位から内側面に当接して100mmの等間隔で配置し、ミグ溶接によって接続した。
その後、フレーム部材1aと1bとを対向させた状態でフレーム溶接部が突合せ継手となるようにミグ溶接を行い、これにより高さが100mmの溶接構造閉断面フレームを作成した。また、ミグ溶接は線径1.2mmのA4043WY溶接ワイヤを使用し、通常のミグ溶接機によって行った。
これにより、高さ100mm、幅100mm、長さ500mmで、フレーム部材1aの内部に100mm間隔で5個の内部補強材2が配置され、突合せ継手を有する溶接構造閉断面フレームを作成した。
また、比較例1として、図10に示すように、上述の参考試験例1において、フレーム部材1aの内側面に内部補強材2を配置していないもの、即ち100mm×100mmの閉断面及び500mmの長さを有し、突合せ継手を有する溶接構造閉断面フレームを作成した。図10において図1乃至9と同一構成物には同一符号を付して、その詳細な説明は省略する。
また、本発明の参考試験例2として、図2に示す上述の第2参考例に係る溶接構造閉断面フレームを作成した。フレーム部材1a及び1cは、板厚4mmのA5454P−Oアルミニウム合金板材を使用し、開断面を有するよう、プレス加工によって成形した。フレーム部材1a及び1bの長手方向の長さは500mm、フレーム部材1aの底辺の長さは外側面において100mm、フレーム部材1cの底辺の長さは外側面において108mmである。
内部補強材2としては、同じく板厚4mmのA5454P−Oアルミニウム合金板材を矩形に成形し、フレーム部材1aの端部から50mmの部位から内側面に当接して100mmの等間隔で配置し、ミグ溶接によって接続した。
その後、フレーム部材1aと1cとが一部重なりを有した状態で、フレーム溶接部が重ね継手となるようにミグ溶接を行い、即ち重ねすみ肉溶接を行い、これにより高さが100mmの溶接構造閉断面フレームを作成した。また、ミグ溶接は線径1.2mmのA4043WY溶接ワイヤを使用し、通常のミグ溶接機によって行った。
これにより、高さ100mm、大きい方の幅108mm、小さい方の幅100mm、長さ500mmで、フレーム部材1aの内部に100mm間隔で5個の内部補強材2が配置され、重ね継手を有する溶接構造閉断面フレームを作成した。
また、比較例2として、図11に示すように、上述の参考試験例2において、フレーム部材1aの内側面に内部補強材2を配置していない溶接構造閉断面フレームを作成した。図11において図1乃至10と同一構成物には同一符号を付して、その詳細な説明は省略する。
また、本発明の参考試験例3として、図4に示す上述の第3参考例に係る溶接構造閉断面フレームを作成した。フレーム部材1a、1c及び内部補強材3には、参考試験例1及び2と同様に板厚4mmのA5454P−Oアルミニウム合金板材を使用した。図4(b)に示すように、内部補強材3とフレーム部材1aとは、コの字状のフレームの側面のみにおいてミグ溶接によって接続した。そして、フレーム部材1aとフレーム部材1cとを、一部が内部補強材3の高さによって決まる重なりを有した状態でミグ溶接によって接続し、即ち重ねすみ肉溶接を行い、これにより高さが100mmの溶接構造閉断面フレームを作成した。また、ミグ溶接は線径1.2mmのA4043WY溶接ワイヤを使用し、通常のミグ溶接機によって行った。
また、本発明の参考試験例4として、図5に示す上述の第4参考例に係る溶接構造閉断面フレームを作成した。参考試験例3の溶接構造閉断面フレームが図4に示すように内部補強材3とフレーム部材1aとがコの字状のフレームの側面のみにおいて溶接されているのに対し、本参考試験例4は図5に示すように内部補強材3とフレーム部材1aとがコの字状のフレームの底面のみにおいて溶接されている点が異なり、それ以外は実施例3と同様の構造を有するよう作成した。
また、本発明の参考試験例5として、図6に示す上述の第5参考例に係る溶接構造閉断面フレームを作成した。フレーム部材1a、1c及び内部補強材4には、参考試験例1乃至4と同様に板厚4mmのA5454P−Oアルミニウム合金板材を使用した。図6(b)に示すように、フレーム部材1cの内側面に当接して等間隔に矩形状を有する内部補強材4を配置し、ミグ溶接によって接続した。そして、フレーム部材1aとフレーム部材1cとを、一部が内部補強材4の高さによって決まる重なりを有した状態でミグ溶接によって接続し、即ち重ねすみ肉溶接を行い、これにより高さが100mmの溶接構造閉断面フレームを作成した。また、ミグ溶接は線径1.2mmのA4043WY溶接ワイヤを使用し、通常のミグ溶接機によって行った。
また、本発明の実施例として、図7に示す上述の本発明の実施形態に係る溶接構造閉断面フレームを作成した。フレーム部材1a、1c及び内部補強材5には、参考試験例1乃至5と同様に板厚4mmのA5454P−Oアルミニウム合金板材を使用した。フレーム部材1cの長手方向の長さと同寸法を有する板材5bに切削加工等によって等間隔に切り込みを設け、この切り込みに溶接線と直角方向に内部補強部材5aを挿入することによって内部補強材5を形成した。内部補強材5はこれ自体で自立するため、内部補強材5とフレーム部材1a及び1cとは特に接続せず、フレーム部材1cの内部に内部補強材5を挿入した状態でフレーム部材1aを対向させ、フレーム部材1aと1cとが一部が内部補強材5の高さによって決まる重なりを有した状態でミグ溶接によって接続し、即ち重ねすみ肉溶接を行い、これにより高さが100mmの溶接構造閉断面フレームを作成した。また、ミグ溶接は線径1.2mmのA4043WY溶接ワイヤを使用し、通常のミグ溶接機によって行った。
また、本発明の参考試験例6として、図9に示す上述の第6参考例に係る溶接構造閉断面フレームを作成した。一辺が80mmで肉厚が2.5mmのA6063−T5アルミニウム合金製口型押出形材を長さ85mmに切断し、この切断された口型押出形材同士を横に並べてミグ溶接により接続し、内部補強材6を形成した。フレーム部材1aの内部に内部補強材6を挿入した状態でフレーム部材1cを対向させ、フレーム部材1aと1cとが一部が内部補強材6の高さによって決まる重なりを有した状態でミグ溶接によって接続し、即ち重ねすみ肉溶接を行い、これにより高さが100mmの閉断面フレームを作成した。また、ミグ溶接は線径1.2mmのA4043WY溶接ワイヤを使用し、通常のミグ溶接機によって行った。
上述の実施例、参考試験例1乃至6、及び比較例1乃至2の評価は100tonの万能材料試験機により溶接構造閉断面フレームの縦方向(長手方向)の圧縮試験によって行った。圧縮試験は各溶接構造閉断面フレームを100mm圧縮し、各溶接構造閉断面フレームの全長が400mmになったところで終了し、各溶接構造閉断面フレームの破壊状況を観察した。
その結果、比較例1及び2の溶接構造閉断面フレーム、即ち内部補強材2が内側に設置されていない溶接構造閉断面フレームは、万能材料試験機によって縦圧縮荷重を付加していくと、溶接構造閉断面フレームの溶接部が内側に凹むように変形し、溶接部で開口し、破断した。
図12は比較例2の溶接構造閉断面フレームの破壊状況を示す模式的斜視図、図13(a)は図12におけるA−A線断面図、図13(b)は同じくB−B線断面図である。図12及び13において図1乃至11と同一構成物には同一符号を付して、その詳細な説明は省略する。特に、比較例2の重ね継手を有する溶接構造閉断面フレームは、上板と下板との界面と溶接金属部との交点に応力が集中するため、図13(b)に示すように、溶接部において大きく開口し、破断した。比較例1の突合せ継手を有する溶接構造閉断面フレームも、溶接部近傍に応力が集中し破断するものの、比較例2の溶接構造閉断面フレーム程大きくは開口しなかった。
一方、参考試験例1及び2の溶接構造閉断面フレーム、即ち内部補強材2が内側に接続されている溶接構造閉断面フレームは、図14に示すように溶接部が凸状に変形し、溶接金属に割れが入るものの、継手が破断して大きく開口することはなかった。図15は図14におけるA−A線断面図である。図14及び15において図1乃至13と同一構成物には同一符号を付して、その詳細な説明は省略する。
また、実施例及び参考試験例3乃至6は、いずれの溶接構造閉断面フレームにおいてもフレームの溶接部で大きく開口破断することはなかった。ただし、参考試験例3のように内部補強材3とフレーム部材1aとを、コの字状のフレームの側面のみにおいてミグ溶接によって接続したものは、内部補強材3と接している部分のフレームの溶接部は破断しないものの、内部補強材3と内部補強材3との間ではフレームの溶接部が破断した。ただし図12に示すように大きく開口することはなかった。
参考試験例4の溶接構造閉断面フレームは、参考試験例3と同様の内部補強材3を有しており、参考試験例3のように内部補強材3とフレーム部材1aとを、コの字状のフレームの側面のみにおいてミグ溶接によって溶接するのではなく、内部補強材3とフレーム部材1aとを、コの字状のフレーム部材1aの底面のみにおいてミグ溶接によって溶接したものである。参考試験例4においては、フレームの溶接部がある側面(コの字フレームの側面)が凸状に変形したが、溶接部が図12のように大きく開口し、破断することはなかった。
また、参考試験例6の溶接構造閉断面フレームは、図16に示すように内部補強材6の壁面がくの字状に変形したが、最も大きく変形した部位の前後(図16に示す部位A)においてもフレームの溶接部が内側に凹むようには変形しなかった。即ち、溶接構造閉断面フレームの縦方向の圧縮変形と同時に内部補強材6も変形し、図16に示す部位Aがフレーム部材1a及び1cに当接し、フレームの溶接部が内側に変形しないよう補強されるため、実施例、参考試験例1乃至6及び比較例1乃至2の中で破断(割れ)が最も少なかった。
開断面を有する2個のアルミニウム合金製のフレーム部材を溶接することにより閉断面を構成する溶接構造閉断面フレームにおいて、溶接構造閉断面フレームの内部にフレーム部材の内側面に当接して内部補強材を配置することにより、衝突時等フレームに外力が付加され圧壊するときに、溶接された2個のフレーム部材が溶接部において大きく開口しないため、圧壊時の吸収エネルギーの低下がなく、鋭利な開口部破断面の露出により乗員及び周辺環境を傷つける虞がない。
1a、1b、1c ; フレーム部材
2、3、4、5、6 ; 内部補強材
5a ; 内部補強部材
5b ; 板材

Claims (3)

  1. 開断面を有する2個のアルミニウム合金製のフレーム部材をその開放端縁部同士を溶接することにより閉断面構造とした溶接構造閉断面フレームにおいて、内部に内部補強材が配置されており、前記内部補強材は、内部に前記フレーム部材の長手方向に配置された板材と、この板材に所定間隔で切り込みを入れて前記切り込みにその面が前記板材の面に垂直になるように挿入して配置された複数個の補強部材とを有し、前記補強部材は、前記フレーム部材同士の溶接部が存在する相対した側面に当接していることを特徴とする溶接構造閉断面フレーム。
  2. 前記2個のアルミニウム合金製のフレーム部材が突合せ継手により溶接されていることを特徴とする請求項1に記載の溶接構造閉断面フレーム。
  3. 前記2個のアルミニウム合金製のフレーム部材が重ね継手により溶接されていることを特徴とする請求項1に記載の溶接構造閉断面フレーム。
JP2009269705A 2009-11-27 2009-11-27 溶接構造閉断面フレーム Active JP4993520B2 (ja)

Priority Applications (1)

Application Number Priority Date Filing Date Title
JP2009269705A JP4993520B2 (ja) 2009-11-27 2009-11-27 溶接構造閉断面フレーム

Applications Claiming Priority (1)

Application Number Priority Date Filing Date Title
JP2009269705A JP4993520B2 (ja) 2009-11-27 2009-11-27 溶接構造閉断面フレーム

Related Parent Applications (1)

Application Number Title Priority Date Filing Date
JP2006094614A Division JP4562677B2 (ja) 2006-03-30 2006-03-30 溶接構造閉断面フレーム

Publications (2)

Publication Number Publication Date
JP2010076762A true JP2010076762A (ja) 2010-04-08
JP4993520B2 JP4993520B2 (ja) 2012-08-08

Family

ID=42207670

Family Applications (1)

Application Number Title Priority Date Filing Date
JP2009269705A Active JP4993520B2 (ja) 2009-11-27 2009-11-27 溶接構造閉断面フレーム

Country Status (1)

Country Link
JP (1) JP4993520B2 (ja)

Cited By (1)

* Cited by examiner, † Cited by third party
Publication number Priority date Publication date Assignee Title
JP2020011688A (ja) * 2018-07-20 2020-01-23 日本製鉄株式会社 車両用構造部材

Citations (4)

* Cited by examiner, † Cited by third party
Publication number Priority date Publication date Assignee Title
JPH0920267A (ja) * 1995-07-07 1997-01-21 Hino Motors Ltd 自動車のピラー構造
JP2001262771A (ja) * 2000-03-23 2001-09-26 Daiken Trade & Ind Co Ltd パネル用芯材及びそれを用いたパネル
JP2003175858A (ja) * 2001-12-12 2003-06-24 Kobe Steel Ltd アルミニウム合金製車体フレーム
JP2004249807A (ja) * 2003-02-19 2004-09-09 Toyota Motor Corp 車体の骨格構造

Patent Citations (4)

* Cited by examiner, † Cited by third party
Publication number Priority date Publication date Assignee Title
JPH0920267A (ja) * 1995-07-07 1997-01-21 Hino Motors Ltd 自動車のピラー構造
JP2001262771A (ja) * 2000-03-23 2001-09-26 Daiken Trade & Ind Co Ltd パネル用芯材及びそれを用いたパネル
JP2003175858A (ja) * 2001-12-12 2003-06-24 Kobe Steel Ltd アルミニウム合金製車体フレーム
JP2004249807A (ja) * 2003-02-19 2004-09-09 Toyota Motor Corp 車体の骨格構造

Cited By (2)

* Cited by examiner, † Cited by third party
Publication number Priority date Publication date Assignee Title
JP2020011688A (ja) * 2018-07-20 2020-01-23 日本製鉄株式会社 車両用構造部材
JP7107055B2 (ja) 2018-07-20 2022-07-27 日本製鉄株式会社 車両用構造部材

Also Published As

Publication number Publication date
JP4993520B2 (ja) 2012-08-08

Similar Documents

Publication Publication Date Title
CN101378948B (zh) 具有封闭截面的框架
JP5211133B2 (ja) 車体前部構造
JP6228180B2 (ja) 車体前部構造
JP6604383B2 (ja) 鋼板部材組合せ構造、自動車用構造部材、センターピラー、バンパー、及びドアビーム
KR101947929B1 (ko) 자동차 부재
JP2008018792A (ja) 車両用衝撃吸収部材
CN107848475B (zh) 保险杠加强件和具备该保险杠加强件的车辆
KR20180100431A (ko) 자동차 부재
JP2002079388A (ja) 軸圧潰時の衝撃吸収に優れた衝撃吸収部材のレーザ溶接方法
JP2010083381A (ja) バンパーシステム及びその製造方法
JP2019073152A (ja) サイドレールおよびサイドレールの製造方法
JP4993520B2 (ja) 溶接構造閉断面フレーム
JP4469153B2 (ja) 自動車用バンパ装置
JP2006142917A (ja) 衝撃吸収特性に優れた衝撃吸収部材およびその溶接方法
JP4333310B2 (ja) 自動車用バンパ装置
JP2008168897A (ja) 自動車用バンパ装置
JP5131810B2 (ja) クラッシュボックス及びその製造方法
JP5180950B2 (ja) バンパー構造体
JP2005075293A (ja) 鉄道車両用衝撃吸収構造体
JP7184064B2 (ja) 自動車用構造部材、及びその製造方法
JP2019084847A (ja) 車両ボデー構造
JP6172426B1 (ja) 自動車部材
JP4505514B2 (ja) 自動車用バンパ装置

Legal Events

Date Code Title Description
A131 Notification of reasons for refusal

Free format text: JAPANESE INTERMEDIATE CODE: A131

Effective date: 20110823

A977 Report on retrieval

Free format text: JAPANESE INTERMEDIATE CODE: A971007

Effective date: 20110825

A521 Written amendment

Free format text: JAPANESE INTERMEDIATE CODE: A523

Effective date: 20111011

TRDD Decision of grant or rejection written
A01 Written decision to grant a patent or to grant a registration (utility model)

Free format text: JAPANESE INTERMEDIATE CODE: A01

Effective date: 20120501

A01 Written decision to grant a patent or to grant a registration (utility model)

Free format text: JAPANESE INTERMEDIATE CODE: A01

A61 First payment of annual fees (during grant procedure)

Free format text: JAPANESE INTERMEDIATE CODE: A61

Effective date: 20120501

FPAY Renewal fee payment (event date is renewal date of database)

Free format text: PAYMENT UNTIL: 20150518

Year of fee payment: 3

R150 Certificate of patent or registration of utility model

Free format text: JAPANESE INTERMEDIATE CODE: R150

Ref document number: 4993520

Country of ref document: JP

Free format text: JAPANESE INTERMEDIATE CODE: R150