JP2010076123A - 導電性バンプ付き基板シート製造方法 - Google Patents

導電性バンプ付き基板シート製造方法 Download PDF

Info

Publication number
JP2010076123A
JP2010076123A JP2008243898A JP2008243898A JP2010076123A JP 2010076123 A JP2010076123 A JP 2010076123A JP 2008243898 A JP2008243898 A JP 2008243898A JP 2008243898 A JP2008243898 A JP 2008243898A JP 2010076123 A JP2010076123 A JP 2010076123A
Authority
JP
Japan
Prior art keywords
substrate
flat plate
substrate sheet
base material
raised portion
Prior art date
Legal status (The legal status is an assumption and is not a legal conclusion. Google has not performed a legal analysis and makes no representation as to the accuracy of the status listed.)
Granted
Application number
JP2008243898A
Other languages
English (en)
Other versions
JP5109900B2 (ja
Inventor
Hiroyuki Shirogane
金 弘 之 白
Masayuki Nagashima
島 正 幸 長
Tsutomu Uchiumi
海 勉 内
Current Assignee (The listed assignees may be inaccurate. Google has not performed a legal analysis and makes no representation or warranty as to the accuracy of the list.)
Dai Nippon Printing Co Ltd
Original Assignee
Dai Nippon Printing Co Ltd
Priority date (The priority date is an assumption and is not a legal conclusion. Google has not performed a legal analysis and makes no representation as to the accuracy of the date listed.)
Filing date
Publication date
Application filed by Dai Nippon Printing Co Ltd filed Critical Dai Nippon Printing Co Ltd
Priority to JP2008243898A priority Critical patent/JP5109900B2/ja
Publication of JP2010076123A publication Critical patent/JP2010076123A/ja
Application granted granted Critical
Publication of JP5109900B2 publication Critical patent/JP5109900B2/ja
Expired - Fee Related legal-status Critical Current
Anticipated expiration legal-status Critical

Links

Images

Landscapes

  • Screen Printers (AREA)
  • Printing Methods (AREA)
  • Electric Connection Of Electric Components To Printed Circuits (AREA)

Abstract

【課題】長期間、スクリーン版を使用し続けることができ、かつ、スクリーン版と基材との間をわずかに離間させた状態で導電性ペーストを転写させることを容易に実現すること。
【解決手段】導電性バンプ付き基板シート製造方法は、印刷定盤30によって、各平板盛り上がり部62aの中央に平板凹部62bが形成されているような平板状部材62と、該平板状部材62上に載置され、各基板盛り上がり部61aの中央に基板凹部61bが形成されているような基板シート61とを含む基材60を保持する基材保持工程と、基材60上に、複数の貫通穴27aを有するスクリーン版27を位置づける位置づけ工程と、スクリーン版27の貫通穴27aから、基板シート61の基板盛り上がり部61aの基板凹部61bに、導電性ペースト70を転写させる基材転写工程と、を備えている。
【選択図】図4

Description

本発明は、多層プリント配線板を製造するときに用いられる導電性バンプ付き基板シートを製造する方法に関する。
従来から、被印刷体表面(基材の表面)上に、導電性ペースト保持用の孔(貫通穴)を所定位置に備えた可撓性のスクリーンマスク(スクリーン版)を張持し、スクリーンマスクを被印刷体表面に押圧するスキージ部材を被印刷体表面に沿って移動することによりスクリーンマスク上に載置した導電性ペーストを保持用の孔と被印刷体表面とで画定される空間に充填し、スクリーンマスクが被印刷体表面から離間するときの引張力で空間内に充填した導電性ペーストを略円錐形に成形するペーストバンプの形成方法であって、スクリーンマスクと被印刷体との間にスペーサを介在させることによって、孔下面と被印刷体とを僅かに離間させた状態でスキージ部材を移動させる方法が知られている(特許文献1および特許文献2、参照)。
このような方法によれば、少ない印刷回数で所望の高さの導電性バンプを形成することができ、導電性バンプ付基板の製造時間を短縮することができる。
また、スクリーン印刷工程実行回数をa、1回のスクリーン印刷工程において不良が発生する割合をbとした場合、歩留まり率は(1−b)≒1−a×bとなり、スクリーン印刷工程の実行回数が増えれば増えるほど導電性バンプ付き基板シートの製造における歩留まり率が低下してしまうのであるが、上述した方法によれば、スクリーン印刷工程の実行回数を減らすことができるので、歩留まり率を高くすることができる。
特開2004−6577号公報 特開2003−320640号公報
しかしながら、上述した従来の方法では、孔下面と被印刷体とを僅かに離間させた状態でスキージ部材を移動させるために、スクリーンマスクと被印刷体との間にスペーサを介在させている。このため、スクリーンマスクを洗浄するときにスペーサが剥がれたりしてしまうことがあり、長期間、スクリーンマスクを使用し続けることが難しい。また、そもそも、このようにスペーサ付きのスクリーンマスクを製造することは難しい。
本発明は、このような点を考慮してなされたものであり、基板シートの表面に導電性ペーストを塗工する工程の回数を減少させることができ、かつ、長期間、スクリーン版を使用し続けることができるとともに、スクリーン版と基材との間をわずかに離間させた状態で導電性ペーストを転写させることを容易に実現することができる導電性バンプ付き基板シートを製造する方法を提供することを目的とする。
本発明による導電性バンプ付き基板シート製造方法は、
印刷定盤によって、複数の平板盛り上がり部を有し各平板盛り上がり部の中央には平板凹部が形成されているような平板状部材と、該平板状部材上に載置され、該平板盛り上がり部に対応した基板盛り上がり部を有し各基板盛り上がり部の中央には基板凹部が形成されているような基板シートとを含む基材を保持する基材保持工程と、
前記基材上に、複数の貫通穴を有するスクリーン版を位置づけ、前記基板シートの各基板盛り上がり部の基板凹部と前記スクリーン版の各貫通穴との位置合わせを行う位置づけ工程と、
前記スクリーン版の前記貫通穴から、前記基板シートの前記基板盛り上がり部の前記基板凹部に、導電性ペーストを転写させる基材転写工程と、
を備えたことを特徴とする。
本発明による導電性バンプ付き基板シート製造方法において、
前記平板凹部が中央に形成されているような前記平板盛り上がり部は円環形状のものからなり、前記平板盛り上がり部に対応した基板盛り上がり部も円環形状のものからなることが好ましい。
あるいは、前記平板凹部が中央に形成されているような前記平板盛り上がり部は多角形形状のものからなり、前記平板盛り上がり部に対応した基板盛り上がり部も多角形形状のものからなっていてもよい。
本発明による導電性バンプ付き基板シート製造方法において、
前記基材を、前記基板シートの前記基板盛り上がり部の前記基板凹部に導電性ペーストが載置されるように、前記印刷定盤に対して位置づける基材位置決め工程をさらに備えたことが好ましい。
この際に、
前記基材位置決め工程は、画像取得装置によって前記印刷定盤に保持された基材の画像を取得する基材画像取得工程と、画像表示装置によって前記画像取得装置で取得された画像を表示する基材画像表示工程と、該画像表示装置で表示された画像に基づいて前記印刷定盤に対する前記基材の位置を調整する基材位置調整工程と、を有することがより好ましい。
本発明によれば、基板シートの基板盛り上がり部によって、スクリーン版と基材との間をわずかに離間させた状態を実現し、当該基板盛り上がり部の中央に形成された凹部に導電性ペーストを転写させる。このため、基板シートの表面に導電性ペーストを塗工する工程の回数を減少させることができ、かつ、長期間、スクリーン版を使用し続けることができるとともに、スクリーン版と基材との間をわずかに離間させた状態で導電性ペーストを転写させることを容易に実現することができる。しかも、基板盛り上がり部の中央に形成された凹部に導電性ペーストを転写させるため、この導電性ペーストは基板盛り上がり部により堰き止められることとなり、基板シートに転写された導電性ペーストが滲んでしまうことを抑止することができる。このことにより、導電性バンプの底面の径が大きくなってしまうことを抑止することができる。
発明を実施するための形態
実施の形態
以下、本発明に係る導電性バンプ付き基板シート製造方法の実施の形態について、図面を参照して説明する。ここで、図1乃至図8は本発明の実施の形態を示す図である。
本実施の形態において、導電性バンプ付き基板シート製造システムは、中央に基板凹部61bが形成された基板盛り上がり部61aを基板に形成する基板盛り上がり部生成装置(図1(a)(b)参照)と、基板シート61の基板盛り上がり部61aの基板凹部61bに導電性ペースト70を転写させる印刷装置(図3参照)と、を備えている。
基板盛り上がり部生成装置は、図1(a)(b)に示すように、複数の平板盛り上がり部62aを有する平板状部材62を吸引孔1aからの吸引力によって吸着して保持する保持部1と、平板状部材62の平板盛り上がり部62a上に載置された基板シート61(例えば、金属箔)に圧力を加えて、この基板シート61に、平板状部材62の平板盛り上がり部62aに対応する基板盛り上がり部61aを形成する加圧ローラ(加圧部)10と、を備えている。なお、平板状部材62には開口(図示せず)が設けられており、この開口を通じて吸着力が働いて基板シート61が保持される。
ここで、図2(a)に示すように、平板状部材62の平板盛り上がり部62aの中央には平板凹部62bが形成されている。また、図1(c)や図2(b)に示すように、加圧ローラ10により形成される、平板盛り上がり部62aに対応する基板盛り上がり部61aの中央にも基板凹部61bが形成されている。より具体的に説明すると、図2(a)(b)に示すように、平板凹部62bが中央に形成されているような平板盛り上がり部62aは、中央部が窪んだクレータ状の形状(すなわち、円環形状)となっており、基板凹部61bが中央に形成されているような基板盛り上がり部61aも、中央部が窪んだクレータ状の形状(すなわち、円環形状)となっている。なお、基板盛り上がり部61aや平板盛り上がり部62aの形状は、図2(a)(b)に示すような円環形状のものに限定されることはなく、例えば図2(c)に示すように、多角形形状(例えば、六角形形状)のものであってもよい。
ところで、平板状部材62としては、銅、SUS、アルミなどの金属シートや、PET、PP、PEなどのフィルムおよび樹脂シートなどを用いることができる。また、加圧ローラ10としては、ゴムロール、金属ロール、樹脂ロールなどを用いることができる。
また、本実施の形態では、基板シート61に平板状部材62の平板盛り上がり部62aに対応する基板盛り上がり部61aを形成する加圧部として加圧ローラ10を用いて説明するが(図1(a)(b)参照)、これに限られることなく、例えば、平プレスなどを用いてもよい。
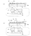
また、図3に示すように、印刷装置は、基材60を保持する印刷定盤30と、所定のパターンからなる複数の貫通穴27aが設けられたメタルマスクなどのスクリーン版27と、このスクリーン版27を保持する保持部26と、スクリーン版27上で走査し、スクリーン版27に載置された銀ペーストや半田ペーストなどの導電性ペースト70(図6参照)を貫通穴27aを介して基材60の基板シート61上に転写させるスキージ22と、を備えている。なお、上述したスキージ22と、このスキージ22を案内するガイド部材21とからスキージ機構20が構成されている。なお、ここで基材60は、複数の平板盛り上がり部62aを有する平板状部材62と、平板状部材62上に載置され、平板盛り上がり部62aに対応した基板盛り上がり部61aを有する基板シート61とからなっている。また、前述のように、基材60の基板シート61の各基板盛り上がり部61aの中央には基板凹部61bがそれぞれ形成されている。
また、図3に示すように、スキージ機構20の上流側には、印刷定盤30に保持された基材60の画像を取得するCCDカメラ(画像取得装置)11が配置されている。また、このCCDカメラ11には、CCDカメラ11によって取得された画像を表示する表示画面(画像表示装置)12が接続されている。
また、図3に示すように、印刷定盤30は、この印刷定盤30に対する基材60の位置を調整する位置調整装置35を有している。そして、この位置調整装置35には、操作者によって入力された指示を送る位置指示部16が接続されている。なお、基材60にはアライメントマーク(図示せず)が施されており、このアライメントマークをCCDカメラ11で撮影することによって、基材60の印刷定盤30に対する位置が位置決めされる。
なお、本実施の形態においては、上述したCCDカメラ11、表示画面12、位置調整装置35および位置指示部16から、印刷定盤30に対して基材60を位置づける位置決め機構が構成されている。また、印刷定盤30の下方には、この印刷定盤30を案内するガイド部材31が水平方向に延在している。
また、図4(a)(b)に示すように、位置調整装置35には、吸引孔35aが設けられており、この吸引孔35aからの吸引力によって基材60が保持されることとなる。なお、本実施の形態では、このように位置調整装置35の吸引孔35aによって基材60が吸着されて保持される態様を用いて説明するが、これに限られることなく、例えば、吸引孔を有する吸引板が位置調整装置35上に設けられ、当該吸引板からの吸引力によって基材60が吸着されて保持されるようにしてもよい。
次に、このような構成からなる本実施の形態の作用について述べる。
(基板盛り上がり部61aを有する基板シート61の生成)
最初に、中央に基板凹部61bが形成された基板盛り上がり部61aを有する基板シート61を生成する工程について説明する。
まず、保持部1の吸引孔1aからの吸引力によって、複数の平板盛り上がり部62aを有する平板状部材62が吸着して保持される(図1(a)参照)。ここで、図2(a)に示すように、平板盛り上がり部62aの中央には平板凹部62bが形成されている。次に、平板状部材62の複数の平板盛り上がり部62aと基板シート61とが当接される(当接工程)。より具体的には、平板状部材62上に、基板シート61が載置される(図1(a)参照)。
次に、当該基板シート61を平板状部材62に押圧した状態で加圧ローラ10が水平方向に移動される(図1(a)参照)。このとき、加圧ローラ10によって、基板シート61に圧力が加えられて、基板シート61に、平板状部材62の複数の平板盛り上がり部62aに対応する基板盛り上がり部61aが形成される(基板盛り上がり部形成工程)(図1(b)参照)。この際に、平板盛り上がり部62aの中央には平板凹部62bが形成されているので、基板盛り上がり部61aの中央にも、平板凹部62bに対応する基板凹部61bが形成されることとなる(図1(c)および図2(b)参照)。ここで、上述のようにして形成される基板盛り上がり部61aの外径は、最終的に形成される導電性バンプの外径と略同一の大きさまたはそれ以下の大きさであることが望ましい。また、基板盛り上がり部61aは、スクリーン印刷のスキージ圧(0.25MPa程度)でも破壊されない程度の硬度を有することが望ましい。
(導電性バンプ付き基板シートの生成)
次に、導電性バンプ付き基板シートを生成する工程について説明する。
まず、印刷定盤30の位置調整装置35によって、複数の平板盛り上がり部62aを有する平板状部材62と、平板盛り上がり部62aに対応した基板盛り上がり部61aを有する基板シート61とからなる基材60が、吸着して保持される(基材保持工程)(図3参照)。なお、基材60は、平板状部材62が下方に位置し、基板シート61が上方に位置するようにして、印刷定盤30上に載置される。
次に、スキージ機構20によって転写される導電性ペースト70が、基板シート61の基板盛り上がり部61aの中央に形成された基板凹部61bに載置されるように、基材60が印刷定盤30に対して位置づけられる(基材位置決め工程)(図3参照)。
具体的には、まず、CCDカメラ11によって、印刷定盤30に保持された基材60の画像が撮影される(基材画像取得工程)。次に、このようにCCDカメラ11によって撮影された基材60の画像が、表示画面12によって表示される(基材画像表示工程)。
次に、操作者が、表示画面12に表示された画像に基づいて、印刷定盤30を所定の位置に移動させるよう、位置指示部16に指示を入力する。そして、この指示に従って、位置調整装置35が駆動され、印刷定盤30に対する基材60の位置が調整される。例えば、基材60に施されたアライメントマークがCCDカメラ11の中心位置で撮影されるよう、操作者が位置指示部16に指示を入力する。そして、この指示に従って、位置調整装置35が駆動され、アライメントマークがCCDカメラ11の中心位置にくるよう、基材60の印刷定盤30に対する位置が調整される(基材位置調整工程)。
次に、印刷定盤30が、駆動部(図示せず)から付与される駆動力によって、ガイド部材31に沿って水平方向(図5の右側)に向かって移動される(図5参照)。この結果、基材60上に、複数の貫通穴27aを有するスクリーン版27が位置づけられる(位置づけ工程)(図4(a)参照)。具体的には、図4(a)に示すように、基板シート61の各基板盛り上がり部61aの基板凹部61bと、スクリーン版27の貫通穴27aとの位置が合わせられる。
次に、スキージ22がガイド部材21に沿ってスクリーン版27上で走査され、スクリーン版27に載置された導電性ペースト70が、貫通穴27aを介して基材60の基板シート61上に転写される(基材転写工程)(図4(b)および図6参照)。
ここで本実施の形態によれば、上述のように、基材転写工程の前に、表示画面12に表示された画像に基づいて、印刷定盤30を所定の位置に移動させることができる。このため、この基材転写工程において、スキージ機構20のスキージ22によって、スクリーン版27の貫通穴27aを経て転写される導電性ペースト70を、基板シート61の基板盛り上がり部61aの中央に形成された基板凹部61bに、確実に転写させることができる(図8参照)。
このため、スキージ機構20のスキージ22によって導電性ペースト70を基板シート61上に一回転写させるだけで、導電性バンプの高さを十分なものにすることができる。この結果、基板シート61の表面に導電性ペースト70を塗工する工程の回数を減少させることができ、ひいては、導電性バンプ付基板の製造時間を短縮することができる。また、導電性バンプ付き基板シートの製造における歩留まり率を高くすることもできる。
上述のように、導電性ペースト70が基板シート61の基板盛り上がり部61aの基板凹部61bに載置されると、印刷定盤30は水平方向(図7の左側)に移動し、初期位置に戻ることとなる(図7参照)。このとき、スキージ機構20も初期位置に戻る(図7参照)。
次に、基板シート61は平板状部材62から剥離される。その後、基板シート61の各基板凹部61bに設けられた導電性ペースト70が乾燥されて硬化される(基材硬化工程)。この結果、基板シート61上に略円錐状の導電性バンプが形成されて、導電性バンプ付き基板シートが生成される。なお、導電性ペースト70が紫外線硬化性の材料からなる場合には、導電性ペースト70を乾燥させる代わりに、導電性ペースト70に紫外線を照射することによって硬化させてもよい。
上述のようにして導電性バンプ付き基板シートが生成されると、この導電性バンプ付き基板シート上に未硬化の絶縁シート(図示せず)が配置されて、押圧される。このことによって、導電性バンプが絶縁シートを貫通して、導電性バンプ付き基板シート上に絶縁シートが位置づけられることとなる。
次に、別の(導電性バンプ付き)基板シート(最も上方に位置する基板シート61には導電性バンプは付いていない)が、未硬化の絶縁シート上に載置され、その後押圧される。このことによって、下方に位置する導電性バンプ付き基板シートの導電性バンプが、上方に位置する(導電性バンプ付き)基板シートの裏面内に貫入されることとなる。次に、絶縁シートが硬化され、その後、(導電性バンプ付き)基板シートに回路が形成される。
このような工程を繰り返し行うことによって、多層プリント配線板が製造されることとなる。
ところで、本実施の形態によれば、図4(a)(b)に示すように、基板盛り上がり部61aによって、スクリーン版27と基材60との間をわずかに離間させることができるので(間隙Gが設けられるので)、スクリーン版27から基板シート61への導電性ペースト70の転写量を増やすにあたり、従来技術のようにスペーサを用いる必要がない。このため、スクリーン版27を洗浄するときにスペーサが剥がれたりしてしまうこともなく、長期間、スクリーン版27を使用し続けることができる。
また、本実施の形態によれば、導電性ペースト70が基板凹部61bに転写されてから導電性ペースト70が乾燥されて導電性バンプが形成されるまでの間、各導電性バンプは基板盛り上がり部61aにより区切られることとなる。このため、導電性ペースト70の径が大きな場合であっても、隣接する導電性ペースト70同士が繋がってしまうことを防止することができ、ひいては、多層プリント配線板でショートが発生することを防止することができる。
(a)(b)は、本発明の実施の形態による基板盛り上がり部生成装置の構成を示す概略側方図、(c)は、(b)に示す平板状部材の平板盛り上がり部および基板シートの基板盛り上がり部の拡大側面図。 (a)は、平板盛り上がり部を有する平板状部材の斜視図、(b)は、平板状部材およびその上に載置された基板シートの斜視図、(c)は、他の形状の平板状部材およびその上に載置された他の形状の基板シートの斜視図。 本発明の実施の形態による印刷装置を側方から見た概略側方図。 本発明の実施の形態によるスキージ機構における位置づけ工程と基材転写工程を示した拡大側方図。 本発明の実施の形態による印刷装置の一駆動状態を示した概略側方図。 図5に示した状態から進んだ状態にある印刷装置を示した概略側方図。 図6に示した状態から進んだ状態にある印刷装置を示した概略側方図。 基板シートの基板盛り上がり部の基板凹部に転写された導電性ペーストを示す拡大側面図。
符号の説明
1 保持部
10 加圧ローラ(加圧部)
11 CCDカメラ(画像取得装置)
12 画像表示装置
22 スキージ
27 スクリーン版
27a 貫通穴
30 印刷定盤
35 位置調整装置
60 基材
61 基板シート
61a 基板盛り上がり部
61b 基板凹部
62 平板状部材
62a 平板盛り上がり部
62b 平板凹部
70 導電性ペースト

Claims (5)

  1. 印刷定盤によって、複数の平板盛り上がり部を有し各平板盛り上がり部の中央には平板凹部が形成されているような平板状部材と、該平板状部材上に載置され、該平板盛り上がり部に対応した基板盛り上がり部を有し各基板盛り上がり部の中央には基板凹部が形成されているような基板シートとを含む基材を保持する基材保持工程と、
    前記基材上に、複数の貫通穴を有するスクリーン版を位置づけ、前記基板シートの各基板盛り上がり部の基板凹部と前記スクリーン版の各貫通穴との位置合わせを行う位置づけ工程と、
    前記スクリーン版の前記貫通穴から、前記基板シートの前記基板盛り上がり部の前記基板凹部に、導電性ペーストを転写させる基材転写工程と、
    を備えたことを特徴とする導電性バンプ付き基板シート製造方法。
  2. 前記平板凹部が中央に形成されているような前記平板盛り上がり部は円環形状のものからなり、前記平板盛り上がり部に対応した基板盛り上がり部も円環形状のものからなることを特徴とする請求項1に記載の導電性バンプ付き基板シート製造方法。
  3. 前記平板凹部が中央に形成されているような前記平板盛り上がり部は多角形形状のものからなり、前記平板盛り上がり部に対応した基板盛り上がり部も多角形形状のものからなることを特徴とする請求項1に記載の導電性バンプ付き基板シート製造方法。
  4. 前記基材を、前記基板シートの前記基板盛り上がり部の前記基板凹部に導電性ペーストが載置されるように、前記印刷定盤に対して位置づける基材位置決め工程をさらに備えたことを特徴とする請求項1に記載の導電性バンプ付き基板シート製造方法。
  5. 前記基材位置決め工程は、画像取得装置によって前記印刷定盤に保持された基材の画像を取得する基材画像取得工程と、画像表示装置によって前記画像取得装置で取得された画像を表示する基材画像表示工程と、該画像表示装置で表示された画像に基づいて前記印刷定盤に対する前記基材の位置を調整する基材位置調整工程と、を有することを特徴とする請求項4に記載の導電性バンプ付き基板シート製造方法。
JP2008243898A 2008-09-24 2008-09-24 導電性バンプ付き基板シート製造方法 Expired - Fee Related JP5109900B2 (ja)

Priority Applications (1)

Application Number Priority Date Filing Date Title
JP2008243898A JP5109900B2 (ja) 2008-09-24 2008-09-24 導電性バンプ付き基板シート製造方法

Applications Claiming Priority (1)

Application Number Priority Date Filing Date Title
JP2008243898A JP5109900B2 (ja) 2008-09-24 2008-09-24 導電性バンプ付き基板シート製造方法

Publications (2)

Publication Number Publication Date
JP2010076123A true JP2010076123A (ja) 2010-04-08
JP5109900B2 JP5109900B2 (ja) 2012-12-26

Family

ID=42207150

Family Applications (1)

Application Number Title Priority Date Filing Date
JP2008243898A Expired - Fee Related JP5109900B2 (ja) 2008-09-24 2008-09-24 導電性バンプ付き基板シート製造方法

Country Status (1)

Country Link
JP (1) JP5109900B2 (ja)

Citations (4)

* Cited by examiner, † Cited by third party
Publication number Priority date Publication date Assignee Title
JPH06120229A (ja) * 1992-10-06 1994-04-28 Rohm Co Ltd 半導体部品におけるバンプ電極の形成方法及びバンプ電極付き半導体部品
JP2005340230A (ja) * 2004-05-24 2005-12-08 Sony Corp プリント配線板および部品実装体の製造方法
JP2006173460A (ja) * 2004-12-17 2006-06-29 Renesas Technology Corp 半導体装置の製造方法
JP2010052223A (ja) * 2008-08-27 2010-03-11 Dainippon Printing Co Ltd 導電性バンプ付き基板シート製造方法

Patent Citations (4)

* Cited by examiner, † Cited by third party
Publication number Priority date Publication date Assignee Title
JPH06120229A (ja) * 1992-10-06 1994-04-28 Rohm Co Ltd 半導体部品におけるバンプ電極の形成方法及びバンプ電極付き半導体部品
JP2005340230A (ja) * 2004-05-24 2005-12-08 Sony Corp プリント配線板および部品実装体の製造方法
JP2006173460A (ja) * 2004-12-17 2006-06-29 Renesas Technology Corp 半導体装置の製造方法
JP2010052223A (ja) * 2008-08-27 2010-03-11 Dainippon Printing Co Ltd 導電性バンプ付き基板シート製造方法

Also Published As

Publication number Publication date
JP5109900B2 (ja) 2012-12-26

Similar Documents

Publication Publication Date Title
CN1688935A (zh) 苯胺印刷版,苯胺印刷装置,苯胺印刷版的制造方法和印刷物的制造方法
JP5088630B2 (ja) 導電性バンプ付き基板シート製造方法
JP5067666B2 (ja) 印刷装置
JP5067667B2 (ja) 印刷方法
JP5067671B2 (ja) 導電性バンプ付き基板シート製造方法
JP5109900B2 (ja) 導電性バンプ付き基板シート製造方法
JP5077766B2 (ja) 印刷装置および印刷方法
JP5083132B2 (ja) 多層プリント配線板製造方法
JP2016068412A (ja) パッド印刷用の転写パッド、パッド印刷装置およびパッド印刷方法
JP5332476B2 (ja) 導電性バンプ付き基板シート製造方法および多層プリント配線板製造方法
JP2008155557A (ja) 印刷方法および印刷装置
JP5176819B2 (ja) 多層プリント配線板の製造方法
JP6101934B2 (ja) スクリーン印刷機及び部品実装ライン
JP2013021111A (ja) 導電性バンプ付き基板シートの製造装置および製造方法
JP5125915B2 (ja) 導電性バンプ付き基板シート製造方法
JP5402784B2 (ja) 導電性バンプ付基板シートの製造方法および多層プリント配線板の製造方法
JP6782094B2 (ja) スクリーン印刷方法およびスクリーン印刷装置
JP5262509B2 (ja) 印刷装置
JP2010080545A (ja) 導電性バンプ付き基板シート、導電性基板シートおよび多層プリント配線板
KR102205137B1 (ko) 라미네이션용 기판 고정장치 및 이를 이용한 라미네이션 방법
JP2010067687A (ja) 多層プリント配線板製造方法および導電性バンプ付基板シート製造方法
JP2010080544A (ja) 導電性バンプ付き基板シートの製造方法および多層プリント配線板の製造方法
JP5034625B2 (ja) 多層プリント配線板製造方法
JP5152659B2 (ja) 多層導電性バンプ付基板シート積層体製造方法および導電性バンプ付基板シート製造方法
JP2010080539A (ja) 印刷装置

Legal Events

Date Code Title Description
A621 Written request for application examination

Free format text: JAPANESE INTERMEDIATE CODE: A621

Effective date: 20110623

TRDD Decision of grant or rejection written
A01 Written decision to grant a patent or to grant a registration (utility model)

Free format text: JAPANESE INTERMEDIATE CODE: A01

Effective date: 20120911

A01 Written decision to grant a patent or to grant a registration (utility model)

Free format text: JAPANESE INTERMEDIATE CODE: A01

A61 First payment of annual fees (during grant procedure)

Free format text: JAPANESE INTERMEDIATE CODE: A61

Effective date: 20120924

FPAY Renewal fee payment (event date is renewal date of database)

Free format text: PAYMENT UNTIL: 20151019

Year of fee payment: 3

R150 Certificate of patent or registration of utility model

Free format text: JAPANESE INTERMEDIATE CODE: R150

LAPS Cancellation because of no payment of annual fees