JP2010073583A - 電線のスプライス部形成方法および電線のスプライス部 - Google Patents

電線のスプライス部形成方法および電線のスプライス部 Download PDF

Info

Publication number
JP2010073583A
JP2010073583A JP2008241570A JP2008241570A JP2010073583A JP 2010073583 A JP2010073583 A JP 2010073583A JP 2008241570 A JP2008241570 A JP 2008241570A JP 2008241570 A JP2008241570 A JP 2008241570A JP 2010073583 A JP2010073583 A JP 2010073583A
Authority
JP
Japan
Prior art keywords
splice
insulating resin
wire
resin plate
splice portion
Prior art date
Legal status (The legal status is an assumption and is not a legal conclusion. Google has not performed a legal analysis and makes no representation as to the accuracy of the status listed.)
Granted
Application number
JP2008241570A
Other languages
English (en)
Other versions
JP5181967B2 (ja
Inventor
Daiki Nagai
大樹 永易
Current Assignee (The listed assignees may be inaccurate. Google has not performed a legal analysis and makes no representation or warranty as to the accuracy of the list.)
Sumitomo Wiring Systems Ltd
Original Assignee
Sumitomo Wiring Systems Ltd
Priority date (The priority date is an assumption and is not a legal conclusion. Google has not performed a legal analysis and makes no representation as to the accuracy of the date listed.)
Filing date
Publication date
Application filed by Sumitomo Wiring Systems Ltd filed Critical Sumitomo Wiring Systems Ltd
Priority to JP2008241570A priority Critical patent/JP5181967B2/ja
Publication of JP2010073583A publication Critical patent/JP2010073583A/ja
Application granted granted Critical
Publication of JP5181967B2 publication Critical patent/JP5181967B2/ja
Expired - Fee Related legal-status Critical Current
Anticipated expiration legal-status Critical

Links

Images

Landscapes

  • Connections Effected By Soldering, Adhesion, Or Permanent Deformation (AREA)
  • Insulated Conductors (AREA)

Abstract

【課題】複数の電線のスプライス部を低コストで小型化、薄型化し、該スプライス部を幹線の外周面に搭載したワイヤハーネスの小径化、軽量化も可能とする。
【解決手段】ジョイントバスバーのジョイント部から間隔をあけて突設した複数の接続端子部に、複数の電線端末に接続した端子をそれぞれ嵌合接続してスプライス部を設け、前記スプライス部に軟化させた絶縁樹脂板を被せ、前記絶縁樹脂板を真空成形方法または加圧成形方法で前記スプライス部の外面を覆っている。
【選択図】図1

Description

本発明は電線のスプライス部形成方法、該形成方法で形成される電線のスプライス部に関し、詳しくは、複数の電線のスプライス部の保護材を簡単に設けると共に薄型化、軽量化を図るものである。
従来、複数の電線のスプライス接続にジョイントコネクタが用いられており、本出願人は、特開2001−176628号公報(特許文献1)において、図6に示すジョイントバスバー3を備えたジョイントコネクタ1を提供している。
前記ジョイントコネクタ1は、樹脂成形品からなるハウジング2内にジョイントバスバー3を収容したものである。前記ジョイントバスバー3のジョイント部3aから間隔をあけて突設した複数の接続端子部3bをハウジング2のキャビティ2a内に突出させ、キャビティ2a内に挿入した複数の電線w端末の端子4を前記接続端子部3bにそれぞれ嵌合接続することによりスプライス部を形成している。
しかし、前記のようなジョイントコネクタ1では、ジョイントバスバー3を金型で成形される樹脂成形品のハウジング2に収容しているため、製造コストが上昇すると共にジョイントコネクタ1が大型化、重量化する。また、スプライスする電線本数によってハウジングに設ける端子収容室の個数が相違し、共用化する空きの端子収容室が増加し、ジョイントコネクタが大型する。
ジョイントコネクタ1を、車両に配索するワイヤハーネスW/Hの幹線W/H−1から分岐させる複数の電線w同士の接続に用いる場合、図7のようにジョイントコネクタ1をワイヤハーネスW/Hの幹線W/H−1の外周面に配置してテープ巻き等で固定すると、ジョイントコネクタ1が幹線W/H−1の外周面から突出し、ワイヤハーネスW/Hが部分的に肥大化して大きな配索スペースが必要となると共に、ワイヤハーネスW/H全体の重量も増大するという問題がある。
特開2001−176628号公報
本発明は前記問題に鑑みてなされたものであり、複数の電線のスプライス部を収容する保護材を低コストで薄型化、軽量化し、該スプライス部を幹線の外周面に搭載したワイヤハーネスの小径化、軽量化も可能とすることを課題としている。
前記課題を解決するため、第1の発明として、ジョイントバスバーのジョイント部から間隔をあけて突設した複数の接続端子部に、複数の電線端末に接続した端子をそれぞれ嵌合接続してスプライス部を設け、
前記スプライス部に軟化させた絶縁樹脂板を被せ、
前記絶縁樹脂板を真空成形方法または加圧成形方法で前記スプライス部の外面を覆っていることを特徴とする電線のスプライス部形成方法を提供している。
前記のように、ジョイントバスバーの各接続端子部と電線端末の各端子を嵌合接続してスプライス部を形成し、真空成形方法または加圧成形方法で前記スプライス部の外面を絶縁樹脂板で覆う構成としている。該構成によれば、従来のジョイントコネクタのような樹脂成形品からなるハウジングを設けなくても、外面を覆う絶縁樹脂板によってスプライス部をしっかりと絶縁保護し、製造コストも低減させることができる。かつ、スプライス部の外周面に沿って絶縁樹脂板が湾曲して覆うため、小さいスプライス部では絶縁樹脂板で覆う外径を小さくでき、小型化を図ることができる。
また、前記絶縁樹脂板で覆われたスプライス部は可撓性を有していると共に薄型かつ軽量である。したがって、ワイヤハーネスの幹線から分岐する複数の電線同士の接続のために前記構成のスプライス部を形成した場合でも、前記薄型のスプライス部をワイヤハーネスの幹線外周面になめらかに沿わせながらテープ巻き固定することができるため、スプライス部の固定に伴うワイヤハーネスの大径化や重量化を防止することができる。
また、第2の発明として、1本の電線の端末側に長さ方向に間隔をあけて絶縁被覆を剥離して芯線を露出させた中間芯線露出部を複数設ける一方、他の複数の電線端末の絶縁被覆を剥離して芯線を露出させた端末芯線露出部を設け、
前記各中間芯線露出部に前記複数の電線の端末芯線露出部をそれぞれ中間圧着端子で加締接続してスプライス部を設け、
前記スプライス部に軟化させた絶縁樹脂板を被せ、
前記絶縁樹脂板を真空成形方法または加圧成形方法で前記スプライス部の外面を覆っていることを特徴とする電線のスプライス部形成方法を提供している。
前記第2の発明では、複数の電線を中間スプライスすることによってスプライス部を形成している。この中間スプライス部の外面を、第1の発明と同様に、真空成形方法または加圧成形方法によって絶縁樹脂板で覆う構成としている。
即ち、スプライス部は、1本の電線に設けた複数の中間芯線露出部に、他の複数の電線の端末芯線露出部をそれぞれ中間圧着端子で加締接続するだけのシンプルな構造であるため、絶縁樹脂板で覆われたスプライス部は第1の発明のスプライス部よりさらに薄型、軽量となる。よって、該スプライス部を幹線の外周面に固定したワイヤハーネスの小径化、軽量化も一層容易に実現できる。
前記絶縁樹脂板としては、厚さ0.2mm〜3mmのポリプロピレン、ポリアミド、ポリエチレンテレフタレートから選択される絶縁樹脂板を用いることが好ましい。
前記絶縁樹脂板でスプライス部の外面を被覆する真空成形方法としては、例えば、断面凹形状で底板部に空気を吸引する吸引管を連結した真空成形機の内部にスプライス部を載置して真空成形を行うことが好ましい。具体的には、前記真空成形機の底板部に、スプライス部を載置する載置台を突設し、載置台の載置面および側面に前記吸引管と繋がる吸気孔を設けていることが好ましい。前記載置台にスプライス部を載置した後、絶縁樹脂板を所定温度に加熱、軟化させた状態で載置したスプライス部の上面側に前記絶縁樹脂板をセットし、前記吸引管および載置台の吸気孔より真空吸引することで、載置したスプライス部の外面全体を絶縁樹脂板で覆うことが可能となる。該絶縁樹脂板としては、厚さ0.2〜3mm程度の絶縁樹脂シートやラミネート用シートが好適に用いられる。
一方、前記スプライス部の上下に加熱、軟化させた絶縁樹脂板を配置して重ね合わせ、該積層体を上下の金型に挟み込んで加圧成形を行うことによっても、外面を絶縁樹脂板で覆ったスプライス部を形成することができる。
このように、スプライス部の上下に絶縁樹脂シートを配置し、上下金型に挟んで加圧加熱すると、前記絶縁樹脂シートはスプライス部をラミネートする状態になると共に、互いに接着する。
第3の発明として、前記したスプライス部形成方法で形成されている電線のスプライス部を提供している。
さらに、第4の発明として、車両に配索されるワイヤハーネスであって、
該ワイヤハーネスの幹線から分岐する複数の電線で前記スプライス部が形成されており、該スプライス部を前記幹線の外周面にテープ巻きして搭載していることを特徴とするワイヤハーネスを提供している。
前述したように、第3の発明のスプライス部は、従来のジョイントコネクタと同様の絶縁保護機能を備えつつ、ジョイントコネクタよりはるかに薄型かつ軽量であるため、該スプライス部を幹線の外周面に搭載した第4の発明のワイヤハーネスも、従来に比べて大幅に小径化、軽量化することが可能となる。
前述したように、第1の発明によれば、ジョイントバスバーの各接続端子部と電線端末の各端子を嵌合接続してスプライス部を形成し、真空成形方法または加圧成形方法で前記スプライス部の外面を絶縁樹脂板で覆う構成としているため、従来のジョイントコネクタのような樹脂成形品からなるハウジングを設けなくても、外面を覆う絶縁樹脂板によってスプライス部をしっかりと絶縁保護することができ、製造コストも低減することができる。
また、前記絶縁樹脂板で覆われたスプライス部は可撓性を有していると共に薄型かつ軽量であるため、ワイヤハーネスの幹線から分岐する複数の電線同士の接続のために前記構成のスプライス部を形成した場合でも、前記薄型のスプライス部をワイヤハーネスの幹線の外周面になめらかに沿わせながらテープ巻き固定することができ、スプライス部の固定に伴うワイヤハーネスの大径化や重量化を防止することができる。
また、第2の発明によれば、スプライス部は、1本の電線に設けた複数の中間芯線露出部に、他の複数の電線の端末芯線露出部をそれぞれ中間圧着端子で加締接続するだけのシンプルな構造であるため、絶縁樹脂板で外面を覆ったスプライス部はさらに薄型、軽量となり、該スプライス部を幹線の外周面に固定したワイヤハーネスの小径化、軽量化も一層容易に実現できる。
以下、本発明の実施形態を図面を参照して説明する。
図1乃至図4に第1実施形態を示す。
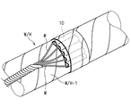
図1は、車両に配索されるワイヤハーネスW/Hの幹線W/H−1から分岐する複数の電線w同士を接続する本実施形態のスプライス部10を示しており、図2(A)に示す樹脂板被覆前のスプライス部11の外面に、真空成形方法で絶縁樹脂板14を被覆することにより、本発明のスプライス部10を形成している。
樹脂板被覆前のスプライス部11は、ジョイントバスバー12のジョイント部12aから間隔をあけて突設した複数の接続端子部12bに、電線w端末に接続したメス端子13をそれぞれ嵌合接続させた構成としている[図2(B)、(C)]。
樹脂板被覆前のスプライス部11を図3に示す真空成形機20にセットし、該スプライス部11の外面に絶縁樹脂板14を被覆する。
真空成形機20は断面凹形状を有し、底板部20aに空気を吸引する吸引管20bを連結している。また、底板部20aには、スプライス部11を載置する載置台21を突設し、載置台21の載置面21aおよび側面21bには前記吸引管20bに繋がる複数の吸気孔21cを設けている。
真空成形にあたっては、まず、真空成形機20の載置台21にスプライス部11を載置する。スプライス部11は、ワイヤハーネスW/Hの幹線W/H−1の外周面とテープ巻き固定する際に下面側となる面を載置面21aとの接触面としている。
載置台21に載置されたスプライス部11の上面側に、加熱、軟化させた絶縁樹脂板14をセットする[図3(A)]。絶縁樹脂板14として、本実施形態では、厚さ1.5mmのポリプロピレン製の樹脂板14を用い、加熱温度は130℃程度としている。
続いて、吸引管20bおよび載置台21の吸気孔21cから空気を吸引して真空状態にし、絶縁樹脂板14をスプライス部11の外面および載置台21の側面21bに密着させる[図3(B)]。
冷却後、絶縁樹脂板14で被覆されたスプライス部10を載置台21から取り外し、下面側の絶縁樹脂板14の浮きを抑えて形状を整えることにより、図1に示す本発明のスプライス部10を得ることができる。
前記スプライス部10を、図4に示すように、ワイヤハーネスW/Hの幹線W/H−1の外周面にテープ巻きすることによりスプライス部10のワイヤハーネスW/Hへの搭載が完了する。
前記のように、ジョイントバスバー12の各接続端子部12bと電線w端末の各端子13を嵌合接続してスプライス部11を形成し、真空成形方法でスプライス部11の外面を絶縁樹脂板14で覆う構成としているため、従来のジョイントコネクタのような樹脂成形品からなるハウジングを設けなくても、外面を被覆する絶縁樹脂板14によってスプライス部11をしっかりと絶縁保護することができ、製造コストも低減することができる。
また、絶縁樹脂板14で外面を覆ったスプライス部10は可撓性を有していると共に薄型かつ軽量であるため、スプライス部10をワイヤハーネスW/Hの幹線W/H−1の外周面になめらかに沿わせながらテープ巻き固定することができ、スプライス部10の固定に伴うワイヤハーネスW/Hの大径化や重量化を防止することができる。
なお、第1実施形態では、真空成形方法により絶縁樹脂板14をスプライス部11の外面に被覆しているが、スプライス部11の上下に加熱、軟化させた絶縁樹脂板14を配置して重ね合わせ、該積層体を上下の金型で挟んで加圧成形することによっても、本発明のスプライス部10を形成することができる。其の際、絶縁樹脂板14としてラミネート材を用いると、スプライス部10を絶縁樹脂板14でラミネートでき、かつ、ラミネート材同士を接着することができる。
図5は第2実施形態を示している。
第2実施形態では、幹線から分岐された複数の電線wのうち、1本の電線w1の端末側に長さ方向に間隔をあけて中間芯線露出部w1aを設け、他の複数の電線w2の端末芯線露出部w2aを前記各中間芯線露出部w1aに中間圧着端子30で加締接続して、図5(A)に示す樹脂板被覆前のスプライス部11を形成している点以外は第1実施形態と同様としている。
前記のように、スプライス部11は、1本の電線w1に設けた複数の中間芯線露出部w1aに、他の複数の電線w2の端末芯線露出部w2aをそれぞれ中間圧着端子30で加締接続するだけのシンプルな構造であるため、絶縁樹脂板14で被覆されたスプライス部10はさらに薄型、軽量となり、該スプライス部10を幹線W/H−1の外周面に固定したワイヤハーネスW/Hの小径化、軽量化も一層容易に実現できる。
第1実施形態のスプライス部を示す概略斜視図であるである。 (A)は樹脂板被覆前のスプライス部を示す概略斜視図、(B)は該スプライス部を構成するジョイントバスバーの概略斜視図、(C)はジョイントバスバーの接続端子部と電線端末の端子との嵌合状態を示す概略断面図である。 真空成形で絶縁樹脂板をスプライス部の外面を被覆する工程を示し、(A)は真空成形直前の状態、(B)は真空成形直後の状態を示す概略断面図である。 第1実施形態のスプライス部を幹線の外周面にテープ巻きして搭載したワイヤハーネスの概略斜視図である。 (A)は第2実施形態における樹脂板被覆前のスプライス部の概略平面図、(B)は中間芯線露出部を示す概略平面図、(C)は(A)の要部拡大図、(D)は(C)のA−A断面図である。 従来例を示す図である。 従来例を示す図である。
符号の説明
10 スプライス部
11 樹脂板被覆前のスプライス部
12 ジョイントバスバー
12a ジョイント部
12b 接続端子部
13 端子
14 絶縁樹脂板
20 真空成形機
20a 底板部
20b 吸引管
21 載置台
21a 載置面
21b 側面
21c 吸気孔
30 中間圧着端子
w、w1、w2 電線
w1a 中間芯線露出部
w2a 端末芯線露出部

Claims (4)

  1. ジョイントバスバーのジョイント部から間隔をあけて突設した複数の接続端子部に、複数の電線端末に接続した端子をそれぞれ嵌合接続してスプライス部を設け、
    前記スプライス部に軟化させた絶縁樹脂板を被せ、
    前記絶縁樹脂板を真空成形方法または加圧成形方法で前記スプライス部の外面を覆っていることを特徴とする電線のスプライス部形成方法。
  2. 1本の電線の端末側に長さ方向に間隔をあけて絶縁被覆を剥離して芯線を露出させた中間芯線露出部を複数設ける一方、他の複数の電線端末の絶縁被覆を剥離して芯線を露出させた端末芯線露出部を設け、
    前記各中間芯線露出部に前記複数の電線の端末芯線露出部をそれぞれ中間圧着端子で加締接続してスプライス部を設け、
    前記スプライス部に軟化させた絶縁樹脂板を被せ、
    前記絶縁樹脂板を真空成形方法または加圧成形方法で前記スプライス部の外面を覆っていることを特徴とする電線のスプライス部形成方法。
  3. 請求項1または請求項2に記載の形成方法で形成されている電線のスプライス部。
  4. 車両に配索されるワイヤハーネスであって、
    該ワイヤハーネスの幹線から分岐する複数の電線で請求項3に記載のスプライス部が形成されており、該スプライス部を前記幹線の外周面にテープ巻きして搭載していることを特徴とするワイヤハーネス。
JP2008241570A 2008-09-19 2008-09-19 ワイヤハーネス Expired - Fee Related JP5181967B2 (ja)

Priority Applications (1)

Application Number Priority Date Filing Date Title
JP2008241570A JP5181967B2 (ja) 2008-09-19 2008-09-19 ワイヤハーネス

Applications Claiming Priority (1)

Application Number Priority Date Filing Date Title
JP2008241570A JP5181967B2 (ja) 2008-09-19 2008-09-19 ワイヤハーネス

Publications (2)

Publication Number Publication Date
JP2010073583A true JP2010073583A (ja) 2010-04-02
JP5181967B2 JP5181967B2 (ja) 2013-04-10

Family

ID=42205163

Family Applications (1)

Application Number Title Priority Date Filing Date
JP2008241570A Expired - Fee Related JP5181967B2 (ja) 2008-09-19 2008-09-19 ワイヤハーネス

Country Status (1)

Country Link
JP (1) JP5181967B2 (ja)

Cited By (1)

* Cited by examiner, † Cited by third party
Publication number Priority date Publication date Assignee Title
JP2021113741A (ja) * 2020-01-20 2021-08-05 住友電装株式会社 ワイヤハーネス

Citations (4)

* Cited by examiner, † Cited by third party
Publication number Priority date Publication date Assignee Title
JPH09102332A (ja) * 1995-07-31 1997-04-15 Yazaki Corp フラット回路体のジョイント部及びその製造方法
JPH09137881A (ja) * 1995-11-15 1997-05-27 Sumitomo Wiring Syst Ltd スプライス部用絶縁キャップを備えたクランプ
JPH1126036A (ja) * 1997-07-01 1999-01-29 Sumitomo Wiring Syst Ltd ワイヤハーネスの電線端末接合部の保護構造
JP2005166506A (ja) * 2003-12-03 2005-06-23 Sumitomo Wiring Syst Ltd 端末集中スプライス部の保護材

Patent Citations (4)

* Cited by examiner, † Cited by third party
Publication number Priority date Publication date Assignee Title
JPH09102332A (ja) * 1995-07-31 1997-04-15 Yazaki Corp フラット回路体のジョイント部及びその製造方法
JPH09137881A (ja) * 1995-11-15 1997-05-27 Sumitomo Wiring Syst Ltd スプライス部用絶縁キャップを備えたクランプ
JPH1126036A (ja) * 1997-07-01 1999-01-29 Sumitomo Wiring Syst Ltd ワイヤハーネスの電線端末接合部の保護構造
JP2005166506A (ja) * 2003-12-03 2005-06-23 Sumitomo Wiring Syst Ltd 端末集中スプライス部の保護材

Cited By (2)

* Cited by examiner, † Cited by third party
Publication number Priority date Publication date Assignee Title
JP2021113741A (ja) * 2020-01-20 2021-08-05 住友電装株式会社 ワイヤハーネス
JP7371505B2 (ja) 2020-01-20 2023-10-31 住友電装株式会社 ワイヤハーネス

Also Published As

Publication number Publication date
JP5181967B2 (ja) 2013-04-10

Similar Documents

Publication Publication Date Title
JP5672158B2 (ja) コネクタの製造方法
JP5792011B2 (ja) フラットケーブル防水コネクタ構造、及びその接続方法
JP2545518Y2 (ja) フラットケーブルの接続部
US20160134049A1 (en) Waterproof connector
JP2012164451A (ja) ワイヤハーネスに設けられるシールド体の製造方法
JP5181967B2 (ja) ワイヤハーネス
WO2018012236A1 (ja) コネクタ及びこれを備えた電気接続アセンブリ
WO2015056561A1 (ja) ワイヤーハーネス及び保護部材
JP5954165B2 (ja) ワイヤハーネス
JP7688058B2 (ja) 端子金具および端子付き電線
JP5732901B2 (ja) ワイヤハーネスにおける短絡回路の形成方法
JP2008270108A (ja) 同軸フラットケーブルおよびその製造方法
JP5110003B2 (ja) 同軸フラットケーブルの製造方法
JP7817230B2 (ja) ワイヤハーネス組付体
JP2002158061A (ja) ワイヤーハーネスの保護構造
JP3745446B2 (ja) フラット回路体の製造方法及び真空成形型
JP2001319714A (ja) 平型電線の端末処理方法
JPH10261444A (ja) 電線分岐部の被覆層形成方法及び被覆構造
JP2005078811A (ja) フレキシブルフラットケーブルの電極部構造、フレキシブルフラットケーブル及びフレキシブルフラットケーブルの製造方法
JP2001006773A (ja) フラットケーブルとバスバーとの接続構造及び接続方法
JPH10188682A (ja) ワイヤーハーネス及びその製造方法
JP2025098743A (ja) ワイヤハーネス組付体
JPH06181009A (ja) ケーブルコア及び多芯ケーブル
JP2003197042A (ja) シールドワイヤーハーネス構造及びシールドワイヤーハーネスの製造方法
JP2025098682A (ja) ワイヤハーネス組付体

Legal Events

Date Code Title Description
A621 Written request for application examination

Free format text: JAPANESE INTERMEDIATE CODE: A621

Effective date: 20110330

A977 Report on retrieval

Free format text: JAPANESE INTERMEDIATE CODE: A971007

Effective date: 20120831

A131 Notification of reasons for refusal

Free format text: JAPANESE INTERMEDIATE CODE: A131

Effective date: 20120911

A521 Written amendment

Free format text: JAPANESE INTERMEDIATE CODE: A523

Effective date: 20121112

TRDD Decision of grant or rejection written
A01 Written decision to grant a patent or to grant a registration (utility model)

Free format text: JAPANESE INTERMEDIATE CODE: A01

Effective date: 20121218

A61 First payment of annual fees (during grant procedure)

Free format text: JAPANESE INTERMEDIATE CODE: A61

Effective date: 20121231

R150 Certificate of patent or registration of utility model

Free format text: JAPANESE INTERMEDIATE CODE: R150

FPAY Renewal fee payment (event date is renewal date of database)

Free format text: PAYMENT UNTIL: 20160125

Year of fee payment: 3

LAPS Cancellation because of no payment of annual fees