JP2010071572A - 冷凍装置 - Google Patents

冷凍装置 Download PDF

Info

Publication number
JP2010071572A
JP2010071572A JP2008240307A JP2008240307A JP2010071572A JP 2010071572 A JP2010071572 A JP 2010071572A JP 2008240307 A JP2008240307 A JP 2008240307A JP 2008240307 A JP2008240307 A JP 2008240307A JP 2010071572 A JP2010071572 A JP 2010071572A
Authority
JP
Japan
Prior art keywords
drain pan
drain
low
compressor
radiator
Prior art date
Legal status (The legal status is an assumption and is not a legal conclusion. Google has not performed a legal analysis and makes no representation as to the accuracy of the status listed.)
Granted
Application number
JP2008240307A
Other languages
English (en)
Other versions
JP5322551B2 (ja
Inventor
Hirofumi Yanagi
裕文 柳
Fumihiko Kurita
文彦 栗田
Takeshi Ishii
武 石井
Hiroshi Mukoyama
洋 向山
Current Assignee (The listed assignees may be inaccurate. Google has not performed a legal analysis and makes no representation or warranty as to the accuracy of the list.)
Sanyo Electric Co Ltd
Original Assignee
Sanyo Electric Co Ltd
Priority date (The priority date is an assumption and is not a legal conclusion. Google has not performed a legal analysis and makes no representation as to the accuracy of the date listed.)
Filing date
Publication date
Application filed by Sanyo Electric Co Ltd filed Critical Sanyo Electric Co Ltd
Priority to JP2008240307A priority Critical patent/JP5322551B2/ja
Publication of JP2010071572A publication Critical patent/JP2010071572A/ja
Application granted granted Critical
Publication of JP5322551B2 publication Critical patent/JP5322551B2/ja
Expired - Fee Related legal-status Critical Current
Anticipated expiration legal-status Critical

Links

Images

Landscapes

  • Removal Of Water From Condensation And Defrosting (AREA)

Abstract

【課題】ドレン水の冷熱を利用して冷却効率の向上を図ることが可能な冷凍装置を提供すること。
【解決手段】冷却器8から流下するドレン水を受ける第1ドレン皿23と、この第1ドレン皿23から流出したドレン水を受ける第2ドレン皿24とを備え、冷凍サイクルR中の放熱器15の出口配管部32を第1ドレン皿23上に配置するとともに、圧縮機14の吐出配管部31を第2ドレン皿24上に配置したことを特徴とする。
【選択図】図3

Description

本発明は、ドレン皿を備える冷凍装置に関する。
一般に、圧縮機、放熱器、減圧手段及び冷却器を備えて冷凍サイクルを構成する冷凍装置として低温ショーケースが知られている。この種の低温ショーケースでは、通風路に配置された冷却器と熱交換した冷気を陳列室内に強制循環して当該陳列室内の商品を冷却している。この場合、冷却器には運転により着霜が生じるため、定期的若しくは任意時刻に冷却器の除霜が行われる。
この除霜の方法としては、冷却器への冷媒の供給を停止した状態で送風機のみを運転する、いわゆるOFFサイクル除霜、冷却器を電気ヒータで加熱するヒータ除霜、または、冷却器にホットガス(高温冷媒)を流入させるホットガス除霜等があるが、いずれの場合にも冷却器からはドレン水(霜が融解した除霜水、又は結露水)が滴下するためこれを処理する必要がある。
このドレン水の処理を行う場合、通常、蒸発皿(ドレン皿)を設置してこの蒸発皿内に上記ドレン水を受容する。そして、蒸発皿を電気ヒータにより強制的に加熱しつつ、送風機にて外気を通風して蒸発皿内のドレン水を蒸発させていた(例えば、特許文献1参照)。
特開2002−295958号公報
しかしながら、従来の構成では、蒸発皿に配置された電気ヒータは、低温ショーケースが運転されている間、連続して通電されていたため、ドレン水が蒸発皿内に存在しない場合には、無駄な電力を消費する状況となっていた。
さらに、従来の構成では、ドレン水を電気ヒータで蒸発させることにより機外に排出されていたため、このドレン水の冷熱を十分に利用することができなかった。
そこで、本発明の目的は、上述した従来の技術が有する課題を解消し、ドレン水の冷熱を利用して冷却効率の向上を図ることが可能な冷凍装置を提供することにある。
上記目的を達成するために、本発明は、圧縮機、放熱器、減圧手段及び冷却器を備えて冷凍サイクルを構成する冷凍装置において、前記冷却器から流下するドレン水を受ける第1ドレン皿と、この第1ドレン皿から流出したドレン水を受ける第2ドレン皿とを備え、前記冷凍サイクル中の所定の冷却対象部を前記第1ドレン皿上に配置するとともに、前記圧縮機の吐出配管を前記第2ドレン皿上に配置したことを特徴とする。
この構成によれば、冷凍サイクル中の所定の冷却対象部を第1ドレン皿上に配置したことにより、この第1ドレン皿に溜まったドレン水で当該冷却対象部を流れる冷媒が冷却されるため、ドレン水の冷熱を有効に利用して冷凍サイクルにおける冷却効率の向上を図ることができる。さらに、第1ドレン皿から流出したドレン水を受ける第2ドレン皿上に圧縮機の吐出配管を配置したことにより、第1ドレン皿で冷却対象部と熱交換して温められたドレン水は、第2ドレン皿に流れ、この第2ドレン皿上で圧縮機の吐出配管を流れる冷媒の温熱で更に温められる。このため、容易にドレン皿上のドレン水を蒸発させることができる。
この構成において、前記冷却対象部は、前記放熱器の出口配管部であり、この出口配管部を流れる冷媒を前記第1ドレン皿に溜まったドレン水で冷却する構成としても良い。この構成によれば、放熱器の出口配管部を流れる冷媒が第1ドレン皿に溜まったドレン水で過冷却されるため、簡単な構成でドレン水の冷熱を利用できるとともに、当該過冷却された分だけ、冷凍サイクルの冷却効率の向上を図ることができる。
また、前記圧縮機は、低段側圧縮部と高段側圧縮部とを有する二段圧縮型の圧縮機であり、前記冷却対象部は、前記低段側圧縮部の低段吐出配管部であり、この低段吐出配管部から吐出される冷媒を前記第1ドレン皿に溜まったドレン水で冷却した後に前記高段側圧縮部に戻す構成としても良い。この構成によれば、低段側圧縮部の低段吐出配管部から吐出される冷媒が第1ドレン皿に溜まったドレン水で中間冷却され、この中間冷却された冷媒が高段側圧縮部に戻されるため、雰囲気温度が高い環境下においても、高段側圧縮部から吐出される冷媒温度を低く抑えることができる。このため、耐熱温度基準の低い潤滑油、構成部品を使用することができ、コストの低減を図ることができる。
また、前記第2ドレン皿の上方に前記第1ドレン皿を重ねて配置した構成としても良い。この構成によれば、第1ドレン皿及び第2ドレン皿をコンパクトに配置することができるため、これらドレン皿を備える冷凍装置の小型化を図ることができる。
本発明によれば、冷凍サイクル中の所定の冷却対象部を第1ドレン皿上に配置したことにより、この第1ドレン皿に溜まったドレン水で当該冷却対象部を流れる冷媒が冷却されるため、ドレン水の冷熱を有効に利用して冷凍サイクルにおける冷却効率の向上を図ることができる。さらに、第1ドレン皿から流出したドレン水を受ける第2ドレン皿上に圧縮機の吐出配管を配置したことにより、第1ドレン皿で冷却対象部と熱交換して温められたドレン水は、第2ドレン皿に流れ、この第2ドレン皿上で圧縮機の吐出配管を流れる冷媒の温熱で更に温められる。このため、容易にドレン皿上のドレン水を蒸発させることができる。
以下、本発明の一実施形態について説明する。
(第1実施形態)
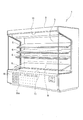
図1は、本実施形態にかかるショーケースの斜視図であり、図2は、ショーケースの側部断面図を示す。
本実施形態で説明する冷凍装置としてのショーケース1は、図1に示すように、前面が開放された多段オープン型のものであり、例えば、コンビニエンスストアなどの店舗に設置されて商品を冷却しながら陳列販売するための低温ショーケースである。このショーケース1は、図1及び図2に示すように、外側を構成するショーケース本体3と、このショーケース本体3の内部に設けられた略コ字形状の断熱壁部4と、この断熱壁部4のコ字形状の内側に設けられた内壁部5と、この内壁部5に取り付けられた複数段(本実施形態では4段)の陳列棚6とを備えている。
断熱壁部4と内壁部5との間には、図2に示すように、冷気が送流されるダクト7が形成されており、このダクト7の内部には、空気を冷却するための冷却器8と、この冷却器8の下方に配置され、冷却器8に向けて上方へ空気(冷気)を送る送風機9とが配置されている。
また、ショーケース1の上側には、ダクト7の上側端部と接続された冷気吹出口10が形成される一方、下側には、ダクト7の下側端部と接続された冷気吸込口11が形成されている。これにより、送風機9で送られた空気が冷却器8で冷却された後に上側へ送流され、冷気吹出口10から陳列棚6の付近へ放出される一方、陳列棚6の付近の冷気は、冷気吸込口11からダクト7内へ吸い込まれ、再び送風機9で冷却器8へ送流されるようになっている。この冷気の循環の流れを、図2中矢印12で示す。
また、ショーケース1の下側部分であって、断熱壁部4の下方には機械室19が形成されており、この機械室19には、冷媒管13を介して冷却器8に接続される冷却ユニット20が配設され、これら冷却器8と冷却ユニット20とによって冷凍サイクルR(図3)が構成されている。
冷却ユニット20は、冷媒を圧縮する圧縮機14と、この圧縮機14で圧縮された高温、高圧のガス冷媒を冷却する放熱器15と、上記冷却器8で発生したドレン水を受ける第1ドレン皿23と、この第1ドレン皿23から流出したドレン水を受ける第2ドレン皿24とを備える。第1ドレン皿23は、第2ドレン皿24の上方に積層して配置され、放熱器15よりも機体背面側でユニットベース21上に載置されている。このユニットベース21の下方には、第2ドレン皿24から流出したドレン水を受けるメンテナンストレー25が配置されている。このメンテナンストレー25は、ユーザが引き出して溜まったドレン水を排出するためのものであり、本構成では、メンテナンストレー25に所定量を超えたドレン水が溜まると、その旨をユーザに報知するようになっている。
放熱器15と第1ドレン皿23及び第2ドレン皿24との間には送風機22が配置されており、この送風機22の運転により、放熱器15は、図1に示すように、前面パネル16の吸気穴16aから取り込んだ外気によって冷却される。放熱器15を冷却した空気は、図2に示すように、第1ドレン皿23及び第2ドレン皿24上を通過した後、ショーケース本体3と断熱壁部4との間を通過して上方の排出口17から外部へ排出されることになる。この外部空気の流れを図2中矢印18で示す。
次に、ショーケース1の冷凍サイクルRについて説明する。
図3は、冷凍サイクルRを示す冷媒回路図である。
冷凍サイクルRは、図3に示すように、圧縮機14と放熱器15と膨張弁(減圧装置)26及び冷却器8を冷媒配管で順次接続して形成されており、圧縮機14と放熱器15との間に設けられたと吐出配管部31と、放熱器15と膨張弁(減圧手段)26との間に設けられた冷却対象部としての放熱器15の出口配管部32とを備える。
この出口配管部32は、並設された複数の直管部と、これら直管部を1パスに連結する曲管部とを備えて蛇行するように形成され、第1ドレン皿23上に配置されている。また、吐出配管部31は、出口配管部32と同様に、並設された複数の直管部と、これら直管部を1パスに連結する曲管部とを備えて蛇行するように形成され、第2ドレン皿24上に配置されている。この図3では、作図の便宜上、出口配管部32を吐出配管部31から離れた位置に記載しているが、本実施形態では、出口配管部32及び吐出配管部31は、それぞれ第1ドレン皿23及び第2ドレン皿24に配置された状態で上下に積層配置されている。
また、本実施形態では、放熱器15は、圧縮機14から吐出された高温の冷媒が流入する高温側放熱器15Aと、この高温側放熱器15Aの冷媒下流側に直列に接続され、当該高温側放熱器15Aに流入する冷媒よりも低温の低温側放熱器15Bとを備え、上記出口配管部32は、低温側放熱器15Bの出口側に設けられている。
また、高温側放熱器15A及び低温側放熱器15Bは、ショーケース1のユニットベース21の前面側に並設され、高温側放熱器15Aの風下側に第1ドレン皿23及び第2ドレン皿24が配置され、低温側放熱器15Bの風下側に圧縮機14が配置されている。
この構成によれば、第1ドレン皿23及び第2ドレン皿24は、高温側放熱器15Aの風下側に配置されるため、第1ドレン皿23及び第2ドレン皿24には、当該高温側放熱器15Aで熱交換した高温の空気が送風される。このため、第1ドレン皿23及び第2ドレン皿24に溜まったドレン水は、この高温の空気と接触することにより、当該ドレン水の蒸発の促進を図ることができる。
また、圧縮機14は、低温側放熱器15Bの風下側に配置されているため、この低温側放熱器15Bで熱交換した空気は、上記高温側放熱器15Aで熱交換した空気よりも低温となる。このため、この低温の空気を圧縮機14に向けて送風することにより、この圧縮機14が十分に冷却される。なお、上記したように、高温側放熱器15Aで熱交換した空気は高温となるため、この高温側放熱器15Aに送風する送風機22Aは、当該高温側放熱器15Aの風上側に設け、モータ等の保護を図っている。
次に、第1ドレン皿23及び第2ドレン皿24の配置構成について説明する。
図4は、各ドレン皿への空気の流れを説明する側断面図であり、図5は、各ドレン皿へのドレン水の流れを示す側断面図である。この図4では、各ドレン皿にドレン水を排出するための排水管の記載を省略し、図5では、ドレン皿に配置される吐出配管部31及び出口配管部32の記載を省略している。
第1ドレン皿23は、図4に示すように、第2ドレン皿24と空気が通風可能な間隔を設け、不図示のブラケット等で固定することにより、当該第2ドレン皿24の上方に配置されている。第1ドレン皿23には、出口配管部32が、当該出口配管部32の直管部が機体の前後方向、すなわち通風方向に並ぶように配置され、出口配管部32の上方には、ドレン水蒸散板35が配置されている。このドレン水蒸散板35は、吸水性の素材で形成されており、第1ドレン皿23の上縁よりも上方に延在している。これにより、第1ドレン皿23に溜まったドレン水は、ドレン水蒸散板35によって吸い上げられるため、このドレン水蒸散板35で送風空気と接触することにより蒸発される。また、第2ドレン皿24上の吐出配管部31の配置構成、及びドレン水蒸散板35については、第1ドレン皿23と同様であるため説明を省略する。
また、第1ドレン皿23の上方には、図5に示すように、冷却器8で生じたドレン水を第1ドレン皿23に導く導水配管36が設けられ、この導水配管36を通じたドレン水は第1ドレン皿23上に溜まる。第1ドレン皿23の底面には、この第1ドレン皿23に溜まったドレン水を当該第1ドレン皿23の下方に配置された第2ドレン皿24に排出するための第1排水管37が設けられている。この第1排水管37は、導水配管36と上面視で重ならない位置に設けられており、第1排水管37の上端部37Aは、第1ドレン皿23の底面よりも高さHだけ高い位置に形成されている。これにより、第1ドレン皿23には、高さHに相当する量のドレン水を貯留することができ、この高さHを超える量のドレン水が流入した場合に、第1排水管37を通じて、第1ドレン皿23から第2ドレン皿24にオーバーフローする。
また、第2ドレン皿24の底面には、この第2ドレン皿24に溜まったドレン水をメンテナンストレー25に排出するための第2排水管38が設けられている。この第2排水管38は、上記第1排水管37と上面視で重ならない位置に設けられており、上記第1排水管37と同様に、第2排水管38の上端部38Aは、第2ドレン皿24の底面よりも高さHだけ高い位置に形成されている。これにより、第2ドレン皿24には、高さHに相当する量のドレン水を貯留することができ、この高さHを超える量のドレン水が流入した場合に、第2排水管38を通じて、第2ドレン皿24からメンテナンストレー25にオーバーフローする。このドレン水の流れを図5中矢印40で示す。
次に、第1実施形態の作用について説明する。
図6は、上記冷凍サイクルRのp−h線図である。
この図6において、点Aは、圧縮機14出口、点Bは、低温側放熱器15B出口、点Cは、出口配管部32出口、点Dは、膨張弁26出口、点Eは、圧縮機14入口での各圧力Pとエンタルピhとの関係を示している。
上述のように、第1ドレン皿23上には、放熱器15の出口配管部32が配置される。この第1ドレン皿23には、通常、冷却器8から流下したドレン水が溜まるため、第1ドレン皿23上に出口配管部32を配置することにより、この出口配管部32を流れる冷媒を当該ドレン水の冷熱で過冷却することができる。ここで、冷却器8から流下したドレン水は、一般に、第1ドレン皿23周囲の雰囲気温度よりも低いため、ドレン水の冷熱を利用することにより、空冷するものに比べて、出口配管部32を流れる冷媒をより低温に冷却することができる。
このため、本実施形態によれば、第1ドレン皿23上に出口配管部32を配置したことにより、第1ドレン皿23に出口配管部32を配置しない場合に比べて、図6に示すように、差分Δhに相当するだけ冷却能力を向上させることができ、ドレン水の冷熱を利用して冷却効率の向上を図ることができる。
また、本実施形態では、第1ドレン皿23から流出したドレン水を受ける第2ドレン皿24上に圧縮機14の吐出配管部31を配置したことにより、第1ドレン皿23で出口配管部32と熱交換して温められたドレン水が溜まるため、第2ドレン皿24上に吐出配管部31を配置することにより、この吐出配管部31を流れる冷媒の温熱で当該第2ドレン皿24上のドレン水を更に温めることができる。これにより、送風機22の送風空気により、第2ドレン皿24上のドレン水の蒸発を促進させることができる。
更に、本実施形態によれば、第2ドレン皿24の上方に第1ドレン皿23を重ねて配置したため、これら第1ドレン皿23及び第2ドレン皿24をショーケース1の機械室19内にコンパクトに配置することができるため、ショーケース1の小型化を図ることができる。
(第2実施形態)
次に、第2実施形態にかかる冷凍サイクルR1について説明する。
図7は、冷凍サイクルR1を示す冷媒回路である。
この冷凍サイクルR1は、図7に示すように、二段圧縮型の圧縮機41と、中間冷却器42とを備える点で上記冷凍サイクルRと構成を異にしている。この圧縮機41は、図示は省略するが、密閉容器内に配置される駆動要素としての電動要素と、この電動要素により駆動されて低圧のガス冷媒を中間圧まで圧縮して吐出する低段側圧縮部と、この低段側圧縮部で圧縮された中間圧のガス冷媒を冷却した後に再び密閉容器内に吸入し、高圧まで圧縮して吐出する高段側圧縮部とを備えて構成されている。
圧縮機41の低段側圧縮部の吐出口41Aには、中間冷却器42の入口が接続され、この中間冷却器42の出口には、冷却対象部としての低段吐出配管部33が接続され、この低段吐出配管部33は、上記した第1ドレン皿23上に配置されている。また、低段吐出配管部33の出口は、圧縮機41の高段側圧縮部の吸込口41Bに接続されており、圧縮機41の低段側圧縮部で圧縮された中間圧の冷媒は、中間冷却器42、及び、第1ドレン皿23上に配置された低段吐出配管部33で冷却された後、上記吸込口41Bを通じて、高段側圧縮部に戻されるようになっている。
本実施形態では、中間冷却器42は、放熱器15と別体に形成し、この中間冷却器42に隣接して中間冷却器用送風機43を配置しているが、当該中間冷却器42を放熱器15と一体に形成して、これら中間冷却器42及び放熱器15を送風機22で空冷する構成としても良い。
また、高段側圧縮部の吐出口41Cには、上記した吐出配管部31、放熱器15、膨張弁26及び冷却器8が順次接続され、この冷却器8の出口は圧縮機41の低段側圧縮部の吸込口41Dに接続されている。また、吐出配管部31は、上記した第2ドレン皿24上に配置されている点は、上記第1実施形態と同様である。
次に、第2実施形態の作用について説明する。
図8は、上記冷凍サイクルR1のp−h線図である。
この図8において、点Fは、圧縮機41の低段側圧縮部出口、点Gは、中間冷却器42出口、点Hは、低段吐出配管部33出口、点Iは、高段側圧縮部出口、点Jは、放熱器15出口、点Kは、膨張弁26出口、点Lは、圧縮機41の低段側圧縮部入口での各圧力Pとエンタルピhとの関係を示している。
上述のように、第1ドレン皿23上には、低段吐出配管部33が配置される。この第1ドレン皿23には、通常、冷却器8から流下したドレン水が溜まるため、第1ドレン皿23上に低段吐出配管部33を配置することにより、低段側圧縮部から吐出されて低段吐出配管部33を流れる中間圧力の冷媒を当該ドレン水の冷熱で中間冷却することができる。
これによれば、この第2実施形態によれば、第1ドレン皿23上に低段吐出配管部33を配置したことにより、第1ドレン皿23に低段吐出配管部33を配置しない場合に比べて、図8に示すように、差分Δh1に相当するだけ圧縮機41の高段側圧縮部の吸込口41Bでのエンタルピhを低減することができる。このため、高段側圧縮部の吐出口41Cから吐出されるガス冷媒の吐出温度を低く抑えることができることにより、例えば、雰囲気温度が高い環境下においても、耐熱温度基準の低い潤滑油、構成部品(例えば、シール部材や圧縮機の駆動モータのモータ巻線等)を使用することができ、コストの低減を図ることができる。
次に別の実施形態について説明する。
上記した第1実施形態では、冷却ユニット20を内蔵したショーケース1について説明したが、別の実施形態では、冷却ユニット20がショーケース本体3(すなわち冷却器8)と別置きされた別置型ショーケースについて説明する。この種の別置型ショーケースでは、一般に、冷却器から流下したドレン水は、ドレンパンで受けた後に、排水口を通じて直接外部の排水配管に排水される。このため、別の実施形態では、排水されるドレン水の冷熱を積極的に利用する点に特徴を有する。
この構成では、図9に示すように、ショーケース本体内に冷却器から流下したドレン水を受けるドレンパン50を備え、このドレンパン50には、他の部分よりも深底に形成してドレン水を一時的に貯留可能な貯留部50Aが形成されている。そして、この貯留部50Aに上記した出口配管部32が配置されている。これによれば、第1実施形態と同様に、ドレン水の冷熱を利用して冷却効率の向上を図ることができる。この構成では、ドレンパン50は第1のドレン皿としての機能を有する。
また、この構成に限らず、図10に示すように、ドレンパン60の排水口61の下方に上記した第1ドレン皿23を設け、この第1ドレン皿23上に出口配管部32を配置する構成としても良い。この構成によっても、第1実施形態と同様に、ドレン水の冷熱を利用して冷却効率の向上を図ることができる。
以上、本発明の一実施形態について説明したが、本発明はこれに限定されるものではなく、種々の変更実施が可能である。例えば、上記した第1実施形態では、放熱器15を高温側放熱器15Aと低温側放熱器15Bとを別個に配置する構成について説明したが、両者を一体に構成しても構わないのは勿論である。
また、上記実施形態では、第1ドレン皿23と第2ドレン皿24とを上下に重ねて配置する構成としたが、第1ドレン皿23から第2ドレン皿にドレン水が流れる構成であれば、これらドレン皿を並設しても良い。
本実施形態にかかるショーケースの斜視図である。 ショーケースの側部断面図を示す。 第1実施形態の冷凍サイクルを示す冷媒回路図である。 各ドレン皿への空気の流れを説明する側断面図である。 各ドレン皿へのドレン水の流れを示す側断面図である。 第1実施形態の冷凍サイクルのp−h線図である。 第2実施形態の冷凍サイクルを示す冷媒回路図である。 第2実施形態の冷凍サイクルのp−h線図である。 別の実施形態にかかるドレン皿と出口配管部との配置関係を示す断面図である。 別の実施形態にかかるドレン皿と出口配管部との配置関係を示す断面図である。
符号の説明
1 ショーケース(冷凍装置)
8 冷却器
9 送風機
14、41 圧縮機
15 放熱器
15A 高温側放熱器
15B 低温側放熱器
19 機械室
20 ユニットベース
22 送風機
23 第1ドレン皿
24 第2ドレン皿
25 メンテナンストレー
31 吐出配管部
32 出口配管部(冷却対象部)
33 低段吐出配管部(冷却対象部)
36 導水配管
37 第1排水管
38 第2排水管
42 中間冷却器
R、R1 冷凍サイクル

Claims (4)

  1. 圧縮機、放熱器、減圧手段及び冷却器を備えて冷凍サイクルを構成する冷凍装置において、
    前記冷却器から流下するドレン水を受ける第1ドレン皿と、この第1ドレン皿から流出したドレン水を受ける第2ドレン皿とを備え、
    前記冷凍サイクル中の所定の冷却対象部を前記第1ドレン皿上に配置するとともに、前記圧縮機の吐出配管を前記第2ドレン皿上に配置したことを特徴とする冷凍装置。
  2. 前記冷却対象部は、前記放熱器の出口配管部であり、この出口配管部を流れる冷媒を前記第1ドレン皿に溜まったドレン水で冷却することを特徴とする請求項1に記載の冷凍装置。
  3. 前記圧縮機は、低段側圧縮部と高段側圧縮部とを有する二段圧縮型の圧縮機であり、前記冷却対象部は、前記低段側圧縮部の低段吐出配管部であり、この低段吐出配管部から吐出される冷媒を前記第1ドレン皿に溜まったドレン水で冷却した後に前記高段側圧縮部に戻したことを特徴とする請求項1に記載の冷凍装置。
  4. 前記第2ドレン皿の上方に前記第1ドレン皿を重ねて配置したことを特徴とする請求項1乃至3のいずれかに記載の冷凍装置。
JP2008240307A 2008-09-19 2008-09-19 冷凍装置 Expired - Fee Related JP5322551B2 (ja)

Priority Applications (1)

Application Number Priority Date Filing Date Title
JP2008240307A JP5322551B2 (ja) 2008-09-19 2008-09-19 冷凍装置

Applications Claiming Priority (1)

Application Number Priority Date Filing Date Title
JP2008240307A JP5322551B2 (ja) 2008-09-19 2008-09-19 冷凍装置

Publications (2)

Publication Number Publication Date
JP2010071572A true JP2010071572A (ja) 2010-04-02
JP5322551B2 JP5322551B2 (ja) 2013-10-23

Family

ID=42203537

Family Applications (1)

Application Number Title Priority Date Filing Date
JP2008240307A Expired - Fee Related JP5322551B2 (ja) 2008-09-19 2008-09-19 冷凍装置

Country Status (1)

Country Link
JP (1) JP5322551B2 (ja)

Cited By (5)

* Cited by examiner, † Cited by third party
Publication number Priority date Publication date Assignee Title
JP2014035136A (ja) * 2012-08-09 2014-02-24 Mitsubishi Electric Corp ショーケース
WO2015104952A1 (ja) * 2014-01-08 2015-07-16 東芝キヤリア株式会社 オープンショーケース
JP2018185062A (ja) * 2017-04-24 2018-11-22 ホシザキ株式会社 冷却貯蔵庫
JP2020016391A (ja) * 2018-07-25 2020-01-30 ダイキン工業株式会社 冷凍装置の熱源ユニット。
JP2023013083A (ja) * 2021-07-15 2023-01-26 株式会社日立産機システム 圧縮機

Citations (6)

* Cited by examiner, † Cited by third party
Publication number Priority date Publication date Assignee Title
JPS55150981U (ja) * 1979-04-18 1980-10-30
JPS55166383U (ja) * 1979-05-18 1980-11-29
JPS5650988U (ja) * 1979-09-27 1981-05-06
JPS61156883U (ja) * 1985-03-20 1986-09-29
JP2002295958A (ja) * 2001-03-29 2002-10-09 Sanyo Electric Co Ltd 冷却装置のドレン水処理装置
JP2004085105A (ja) * 2002-08-27 2004-03-18 Sanyo Electric Co Ltd 冷蔵庫

Patent Citations (6)

* Cited by examiner, † Cited by third party
Publication number Priority date Publication date Assignee Title
JPS55150981U (ja) * 1979-04-18 1980-10-30
JPS55166383U (ja) * 1979-05-18 1980-11-29
JPS5650988U (ja) * 1979-09-27 1981-05-06
JPS61156883U (ja) * 1985-03-20 1986-09-29
JP2002295958A (ja) * 2001-03-29 2002-10-09 Sanyo Electric Co Ltd 冷却装置のドレン水処理装置
JP2004085105A (ja) * 2002-08-27 2004-03-18 Sanyo Electric Co Ltd 冷蔵庫

Cited By (10)

* Cited by examiner, † Cited by third party
Publication number Priority date Publication date Assignee Title
JP2014035136A (ja) * 2012-08-09 2014-02-24 Mitsubishi Electric Corp ショーケース
WO2015104952A1 (ja) * 2014-01-08 2015-07-16 東芝キヤリア株式会社 オープンショーケース
CN105992535A (zh) * 2014-01-08 2016-10-05 东芝开利株式会社 开放式展示柜
JPWO2015104952A1 (ja) * 2014-01-08 2017-03-23 東芝キヤリア株式会社 オープンショーケース
JP2019074308A (ja) * 2014-01-08 2019-05-16 東芝キヤリア株式会社 オープンショーケース
JP2018185062A (ja) * 2017-04-24 2018-11-22 ホシザキ株式会社 冷却貯蔵庫
JP2020016391A (ja) * 2018-07-25 2020-01-30 ダイキン工業株式会社 冷凍装置の熱源ユニット。
JP2024057108A (ja) * 2018-07-25 2024-04-23 ダイキン工業株式会社 冷凍装置の熱源ユニット
JP2023013083A (ja) * 2021-07-15 2023-01-26 株式会社日立産機システム 圧縮機
JP7716251B2 (ja) 2021-07-15 2025-07-31 株式会社日立産機システム 圧縮機

Also Published As

Publication number Publication date
JP5322551B2 (ja) 2013-10-23

Similar Documents

Publication Publication Date Title
CN105004027B (zh) 致冷单元
CN101815910A (zh) 冷冻装置
US20070214823A1 (en) Heat exchanging device for refrigerator
JP5322551B2 (ja) 冷凍装置
WO2006031002A1 (en) Continuously operating type showcase
JP2018048799A (ja) 冷蔵庫
JP2009079778A (ja) 冷蔵庫
KR20080103855A (ko) 냉동시스템
JP4033219B2 (ja) 自動販売機
JP5405158B2 (ja) 蒸発器
JP2011247501A (ja) 冷気循環式ショーケース
JP5139093B2 (ja) 冷却装置
JP5340587B2 (ja) ショーケース
JP5157418B2 (ja) 自動販売機
JP2009097756A (ja) 冷凍装置
JP2007078228A (ja) 冷気循環式ショーケース
JP4666956B2 (ja) 冷却貯蔵庫
JP2010071540A (ja) ショーケース
JP4440069B2 (ja) 冷却加温システムとそれを用いた自動販売機
JP2010078167A (ja) ショーケース
JPH09269179A (ja) 冷却装置の除霜装置
JP2010043757A (ja) 冷媒回路装置
JP3742726B2 (ja) ショーケース
JP5481824B2 (ja) 自動販売機
JP4513707B2 (ja) 自動販売機

Legal Events

Date Code Title Description
A621 Written request for application examination

Free format text: JAPANESE INTERMEDIATE CODE: A621

Effective date: 20110912

A977 Report on retrieval

Free format text: JAPANESE INTERMEDIATE CODE: A971007

Effective date: 20121218

A131 Notification of reasons for refusal

Free format text: JAPANESE INTERMEDIATE CODE: A131

Effective date: 20130108

A521 Written amendment

Free format text: JAPANESE INTERMEDIATE CODE: A523

Effective date: 20130306

RD02 Notification of acceptance of power of attorney

Free format text: JAPANESE INTERMEDIATE CODE: A7422

Effective date: 20130306

TRDD Decision of grant or rejection written
A01 Written decision to grant a patent or to grant a registration (utility model)

Free format text: JAPANESE INTERMEDIATE CODE: A01

Effective date: 20130618

A61 First payment of annual fees (during grant procedure)

Free format text: JAPANESE INTERMEDIATE CODE: A61

Effective date: 20130716

LAPS Cancellation because of no payment of annual fees