JP2010070335A - インクジェットプリンタ - Google Patents

インクジェットプリンタ Download PDF

Info

Publication number
JP2010070335A
JP2010070335A JP2008240781A JP2008240781A JP2010070335A JP 2010070335 A JP2010070335 A JP 2010070335A JP 2008240781 A JP2008240781 A JP 2008240781A JP 2008240781 A JP2008240781 A JP 2008240781A JP 2010070335 A JP2010070335 A JP 2010070335A
Authority
JP
Japan
Prior art keywords
recording paper
printing
unit
platen
roller
Prior art date
Legal status (The legal status is an assumption and is not a legal conclusion. Google has not performed a legal analysis and makes no representation as to the accuracy of the status listed.)
Granted
Application number
JP2008240781A
Other languages
English (en)
Other versions
JP5309829B2 (ja
Inventor
Akihito Yamamoto
章仁 山本
Current Assignee (The listed assignees may be inaccurate. Google has not performed a legal analysis and makes no representation or warranty as to the accuracy of the list.)
Noritsu Koki Co Ltd
Original Assignee
Noritsu Koki Co Ltd
Priority date (The priority date is an assumption and is not a legal conclusion. Google has not performed a legal analysis and makes no representation as to the accuracy of the date listed.)
Filing date
Publication date
Application filed by Noritsu Koki Co Ltd filed Critical Noritsu Koki Co Ltd
Priority to JP2008240781A priority Critical patent/JP5309829B2/ja
Publication of JP2010070335A publication Critical patent/JP2010070335A/ja
Application granted granted Critical
Publication of JP5309829B2 publication Critical patent/JP5309829B2/ja
Active legal-status Critical Current
Anticipated expiration legal-status Critical

Links

Images

Landscapes

  • Accessory Devices And Overall Control Thereof (AREA)
  • Separation, Sorting, Adjustment, Or Bending Of Sheets To Be Conveyed (AREA)
  • Ink Jet (AREA)
  • Handling Of Sheets (AREA)
  • Handling Of Cut Paper (AREA)

Abstract

【課題】記録紙吸引用の吸引用孔を有するプラテン23と、プラテン23上を搬送される記録紙を吸引用孔を介して吸引してプラテン23上に吸着保持する吸引装置36と、プラテン23に対向して配設され、該プラテン23上を搬送される記録紙に対してインクを吐出して画像を印刷するインクヘッドHとを備え、表側面への印刷が終了した記録紙を表裏反転させて裏側面への印刷を行うことで両面印刷可能に構成されたインクジェットプリンタAにおいて、裏側面印刷時に記録紙先端部がプラテン23から浮き上がったまま搬送される吸着ミスを防止する。
【解決手段】表側面への印刷終了後の記録紙が有する湾曲特性を変更するか又は該湾曲を除去することで、記録紙の裏側面の印刷に際して記録紙がプラテン23上に進入するときにその先端部をプラテン23表面に当接させる変更機構100を備える。
【選択図】図4

Description

本発明は、プリントヘッドから記録紙に対してインクを吐出することで、該記録紙に画像を印刷するインクジェットプリンタに関する技術分野に属する。
この種のインクジェットプリンタにおいては、記録紙の印刷品質を向上させる上で、プリントヘッドと記録紙との距離を一定(設定距離)に保つ必要があり、このため、例えば、特許文献1に示すインクジェットプリンタでは、プリントヘッドに対向して配設される記録紙支持用のプラテンに複数の吸引用孔を設けておき、プラテン上を搬送される記録紙を、プラテン下側に配設された吸引ファンにより吸引してその表面に吸着保持するようにしている。
また、前記インクジェットプリンタにおいては、近年、印刷画像の高画質化のニーズの他に、記録紙の両面に印刷を行いたいとする顧客ニーズが高まっており、これに応えるべく、例えば、特許文献2に示すインクジェットプリンタでは、記録紙の一方側にプリントヘッドを配設しておき、記録紙の一側の面に印刷した後に、該記録紙を表裏反転させて印刷部へ再供給して他側の面に印刷することで、記録紙の両面に印刷を行うようにしている。
特開2007−331255号公報 特開2006−192838号公報
ところで、前記特許文献2に示す両面印刷を行うインクジェットプリンタおいて、各面の印刷品質を向上させるべく、前記特許文献1に示す記録紙吸引構造を採用することが考えられる。
しかしながら、前記インクジェットプリンタにおいては、一般的に、記録紙の一側の面への印刷処理を行うことによって、当該記録紙には、その搬送方向中間部が両端部(先端部及び後端部)に対して既印刷面側に突出する湾曲特性が発生してしまう。このため、記録紙の他側面への印刷を行うべくその表裏を反転させた場合に、記録紙がプラテン上に進入する際、記録紙の先端部(搬送方向下流側端部)が該他側に反り上がって、プラテンから浮き上がってしまう。この結果、記録紙先端部に吸引ファンの吸引力を十分に作用させることができず、記録紙先端部が浮き上がったままその搬送が続行されて、記録紙とプリントヘッドとの擦れにより印刷品質が低下したり、記録紙の先端部がプリントヘッドに衝突して印刷エラーを引き起こしたりするという問題がある。
本発明は、斯かる点に鑑みてなされたものであり、その目的とするところは、記録紙吸引用の吸引用孔を有するプラテンと、プラテン上を搬送される記録紙を吸引用孔を介して吸引してプラテン上に吸着保持する吸引手段と、プラテンに対向して配設され、該プラテン上を搬送される記録紙に対してインクを吐出して画像を印刷するインクヘッドとを備え、一側面の印刷が終了した記録紙を表裏反転させてその他側面の印刷を行うことで両面印刷可能に構成されたインクジェットプリンタにおいて、その構成に工夫を凝らすことで、一側面を印刷後の他側面の印刷に際して、記録紙先端部がプラテンから浮き上がることによる吸着ミスを防止して、印刷エラーを回避するとともに、記録紙の印刷品質の向上を図ろうとすることにある。
前記の目的を達成するために、この発明では、記録紙の両面印刷が可能に構成されたインクジェットプリンタにおいて、前記印刷部に再供給される前記一側の面への印刷終了後の記録紙が有する湾曲特性を変更するか又は該湾曲を除去する特性変更処理を行うことで、前記印刷部に再供給される記録紙が前記プラテン上に進入する際にその搬送方向下流側端部を該プラテン表面に略当接させる変更機構を備えるようにした。
具体的には、請求項1の発明では、プリントヘッドからインクを吐出させて記録紙の片側面に印刷を行う印刷部と、該印刷部へ記録紙を供給する記録紙供給部と、前記印刷部において、前記プリントヘッドに対向するように配設され、前記記録紙供給部より供給された記録紙を支持するとともに該記録紙吸引用の吸引用孔を有するプラテンと、前記印刷部に設けられ、該記録紙供給部より供給された記録紙を、前記吸引用孔を介して吸引することで該プラテン上に吸着保持させる吸引手段と、前記印刷部に設けられ、該記録紙を、印刷時に該プラテンに吸着された状態で該記録紙供給部とは反対側へ搬送する印刷搬送部と、前記印刷部にて一側の面に印刷された記録紙を表裏反転させて該印刷部へ再供給する記録紙再供給部とを備え、該印刷部において、該記録紙再供給部より再供給された記録紙の他側の面に印刷することによって、該記録紙の両面に印刷を行うインクジェットプリンタを対象とする。
そして、前記記録紙再供給部に設けられ、前記印刷部に再供給される前記一側の面への印刷終了後の記録紙が有するその搬送方向に沿った湾曲特性を変更するか又は該湾曲を除去する特性変更処理を行う変更機構をさらに備え、前記変更機構は、前記印刷部に再供給される記録紙が前記プラテン上に進入する際にその先端部が該プラテン表面に略当接するように前記特性変更処理を行うよう構成されているものとする。
前記の構成によれば、前記変更機構は、前記印刷部に再供給される一側面への印刷終了後の記録紙が有する湾曲特性(つまり該一側面への印刷により発生した湾曲特性)を変更するか又は該湾曲を除去する特性変更処理を行うことで、当該記録紙が前記プラテン上に進入する際にその先端部(搬送方向下流側端部)を該プラテン表面に略当接させる。
これにより、印刷部において記録紙の他側面への印刷を行うにあたって、記録紙の先端部がプラテン上に進入したときに、該記録紙先端部に対して、前記吸引手段による吸引力を十分に作用させることができる。
このため、吸引手段による吸着ミスを防止して、記録紙先端部をプラテン表面に確実に吸着保持させることができる。したがって、記録紙先端部とプリントヘッドとの擦れによる記録紙の印刷品質の低下や、記録紙先端部がプリントヘッドに衝突することによる印刷エラーを確実に防止することが可能となる。
また、前記のように記録紙先端部をプラテン表面に吸着させることができれば、その後に記録紙がプラテン上に進入するに伴って、該記録紙の先端部から後端部に至る全範囲を順次確実にプラテン表面に吸着保持させることができる。したがって、プリントヘッドと記録紙との距離を一定に維持して(記録紙の平面性を確保して)、記録紙の印刷品質を向上させることができる。
請求項2の発明では、請求項1の発明において、前記一側の面への印刷終了後の記録紙が有するその搬送方向に沿った湾曲特性は、該記録紙の前記搬送方向中間部が両端部に対して既印刷面側である該一側に突出する特性であるものとする。
このように、前記一側の面への印刷終了後の記録紙が有する湾曲特性(記録紙の一側面への印刷により記録紙に発生する湾曲特性)が、他側面への印刷に際して(記録紙を表裏反転させた際に)記録紙先端部がプラテンから浮き上がり易い特性を有するものであっても、前記の如く変更機構を設けることで、裏面印刷時における吸着ミスを防止することができる。
請求項3の発明では、請求項2の発明において、前記特性変更処理は、前記一側の面への印刷終了後の記録紙が有するその搬送方向に沿った湾曲特性とは逆向きの湾曲特性を付与する処理であるものとする。
これによれば、変更機構により特性変更処理が実行されると、当該記録紙には、前記一側面の印刷により発生した湾曲特性とは逆向きの湾曲特性が付与される。
したがって、前記一側の面への印刷終了後の記録紙が有する湾曲特性が、前記の如く記録紙の搬送方向中間部が既印刷面側(一側)に突出する特性を有するものであれば、その後に変更機構による形状特性変更処理が実行されることで、該記録紙の湾曲特性は、その搬送方向中間部が未印刷面側(他側)に突出する特性に変更されることとなる。このため、記録紙の他側の面への印刷に際して、記録紙先端部をプラテン表面に当接させてその浮き上がりを防止することができる。よって、記録紙先端部をプラテン表面に確実に吸着保持させることができて、請求項1の発明と同様の作用効果を得ることができる。
請求項4の発明では、請求項1乃至3のいずれか一つの発明において、前記印刷部よりも前記搬送方向下流側には、該印刷部にて印刷が行われた記録紙の印刷面に温風を吹き付けて乾燥処理を施す乾燥部が設けられており、前記変更機構は、前記乾燥部に対して前記搬送方向下流側に配設されて、該乾燥部にて乾燥処理が施された直後の記録紙に対して前記特性変更処理を実行するように構成されているものとする。
この構成によれば、乾燥風(温風)により加熱されて変形し易くなった記録紙に対して、変更機構による特性変更処理を実行することができ、これにより、記録紙の湾曲特性を容易に変更又は除去することができる。したがって、記録紙の他側面への印刷時における吸着ミスをより一層確実に防止することができる。
以上説明したように、本発明のインクジェットプリンタによると、記録紙の両面印刷を行うインクジェットプリンタにおいて、前記印刷部に再供給される前記一側の面への印刷終了後の記録紙が有する湾曲特性を変更するか又は該湾曲を除去する特性変更処理を行うことで、前記印刷部に再供給される記録紙が前記プラテン上に進入する際にその搬送方向下流側端部を該プラテン表面に略当接させる形状変更機構を備えるようにしたから、記録紙の他側面への印刷に際して記録紙先端部がプラテンから浮き上がることによる吸着ミスを防止して、印刷エラーを回避するとともに、記録紙の印刷品質を向上させることができる。
以下、本発明の実施形態を図面に基づいて詳細に説明する。
図1は、本発明の実施形態に係るインクジェットプリンタAの外観を示し、図2は、インクジェットプリンタAの内部の構成を概略的に示す。このインクジェットプリンタAは、写真プリントシステムに用いられるものであって、例えば、画像データを取得して必要な補正処理等を行う受付ブロックから通信ケーブルを介して伝送される画像データに基づいて記録紙P(図3、図6等参照)に印刷を行うものである。この記録紙Pは、所定の大きさの単票紙であり、この大きさとしては複数種類の大きさが予め設定されている(記録紙Pの大きさに応じて記録紙Pの長さ及び幅が決まっている)。
前記インクジェットプリンタAは、下面にキャスター3が設けられた筐体2を有するプリンタ本体部1と、このプリンタ本体部1の筐体2の一側面の上部に着脱自在に取り付けられかつ複数枚の記録紙Pをその厚み方向に重ねた状態で収容可能なカセット5と、前記筐体2の上面に着脱自在に取り付けられた両面印刷ユニット7とを備えている。尚、本実施形態では、前記カセット5が取り付けられる側(図2の左側)をプリンタ前側といい、その反対側(図2の右側)をプリンタ後側という。また、図2の紙面と垂直な方向は、プリンタ左右方向であって、前記カセット5に収容されかつプリンタ本体部1及び両面印刷ユニット7において搬送される記録紙Pの幅方向と一致している。
図2に示すように前記両面印刷ユニット7がプリンタ本体部1に取り付けられた状態で、後に詳細に説明するように記録紙Pの表裏両面に印刷することが可能になる。一方、記録紙Pの片面のみに印刷し、両面印刷が必要でない場合には、通常、両面印刷ユニット7をプリンタ本体部1から外しておく(図13参照)。但し、両面印刷ユニット7がプリンタ本体部1に取り付けられた状態であっても、記録紙Pの片面のみに印刷することは可能である。両面印刷した記録紙Pを複数枚束ねることで、フォトアルバムないしフォトブックを作製することができる。
前記カセット5は、記録紙Pの大きさ毎に異なるものであり、オペレータは、カセット5をプリンタ本体部1に取り付けたときに、そのカセット5に対応した記録紙Pの大きさ(長さ及び幅)を、不図示の操作スイッチにより入力する。また、不図示の操作部材の操作によって、後述の補正機構81の幅規制部材84,85(図10参照)を、記録紙Pの幅に対応した位置への位置合わせを行う。尚、カセット5に例えばICチップを設けて、このICチップに記録紙Pの大きさ等を記憶するようにしておき、カセット5が取り付けられたときに、プリンタ本体部1が該ICチップの記憶内容を読み取るようにしてもよい。こうすれば、オペレータの前記入力作業は不要になる。また、オペレータの操作スイッチによる前記入力結果、又はICチップの記憶内容の読み取り結果に応じて、補正機構81の幅規制部材84,85の位置合わせをモータにより自動で行うようにしてもよい。
図3に詳細に示すように、前記カセット5内には、記録紙Pをその厚み方向に重ねた状態でセットするためのセットトレイ11が配設されている。このセットトレイ11は、カセット5内において、該セットトレイ11のプリンタ前後方向の略中央にてプリンタ左右方向に延びる軸11a回りに回動可能に支持されている。セットトレイ11は、そのプリンタ後側端が上昇する側に回動するようにバネで付勢されている。これにより、セットトレイ11上にセットされた複数枚の記録紙Pのうち最上部の記録紙Pが、カセット5内のプリンタ後側端部の上部に配設された送出しローラ14に当接することになる。
前記送出しローラ14は、プリンタ本体部1の側に配設された不図示のモータにより図3で反時計回り方向に駆動されるようになっており、このモータにより送出しローラ14が回転駆動されると、最上部の記録紙Pが1枚だけプリンタ後側へ移動してカセット5の外側へ送り出される。このとき、最上部の記録紙Pの下側に位置する記録紙Pが最上部の記録紙Pに引き摺られて複数枚の記録紙Pがカセット5の外側へ同時に送り出されないようにするために、送出しローラ14が所定量だけ回転すると、トレイ押下げ機構16によって、セットトレイ11のプリンタ後側端が下降するようになされている。
前記トレイ押下げ機構16は、前記プリンタ本体部1に、プリンタ左右方向に延びる軸17a回りに回動可能に支持されたトレイ押下げレバー17と、このトレイ押下げレバーを前記軸17a回りに回動させるためのレバー回動カム18とを有している。このレバー回動カム18は、不図示のモータにより軸18a回りに回動するようになされている。また、トレイ押下げレバー17の一端部は、カセット5をプリンタ本体部1に取り付けたときに、カセット5内に、セットトレイ11のプリンタ後側端部の上側に位置するように進入する。一方、トレイ押下げレバー17の他端部は、レバー回動カム18のカム面に当接している。この当接状態を常に維持するためにトレイ押下げレバー17は、前記他端部がレバー回動カム18の側へ移動するように(つまり一端部が上側に移動するように)バネで付勢されている。
そして、送出しローラ14が所定量だけ回転したときに、レバー回動カム18が回転し、これにより、トレイ押下げレバー17の前記一端部がセットトレイ11のプリンタ後側端部に当接してこれを押下げる。これにより、最上部の記録紙Pの下側に位置する記録紙Pが最上部の記録紙Pに引き摺られるのが防止され、複数枚の記録紙Pがカセット5の外側へ同時に送り出されなくなる。尚、レバー回動カム18が半回転すると、トレイ押下げレバー17の前記一端部が上昇し始め、これに伴って、セットトレイ11のプリンタ後側端が前記バネにより上昇して、次に最上部となる記録紙Pが送出しローラ14に当接する。レバー回動カム18が1回転したとき、レバー回動カム18の回転が停止し、トレイ押下げレバー17は初期の状態に戻る。
前記送出しローラ14によりカセット5の外側に送り出された記録紙Pは、プリンタ本体部1における後述の印刷部21へ供給されるようになっている。このことで、カセット5の送出しローラ14は、印刷部21へ記録紙Pを供給する記録紙供給部を構成する。
前記プリンタ本体部1の筐体2内の上部における前記カセット5の取付部近傍には、前記画像データに基づいて印刷を行う印刷部21が設けられている。この印刷部21は、図4及び図5に詳細に示すように、記録紙Pの片側面(上側面)に印刷するプリントヘッドHと、前記送出しローラ14より供給された記録紙Pを、該記録紙Pへの印刷時に該送出しローラ14とは反対側(プリンタ後側)へ搬送する印刷搬送部22と、この印刷搬送部22より搬送される記録紙Pを支持するプラテン23とを備えている。
前記印刷搬送部22の上流側端部(プリンタ前側端部)には圧着型の上流側ローラ対24が、また印刷搬送部22の下流側端部(プリンタ後側端部)には圧着型の下流側ローラ対25がそれぞれ配設されている。これら上流側ローラ対24及び下流側ローラ対25の下側に位置する駆動ローラ24a,25aが不図示の同じモータで駆動されるようになっている。また、上流側ローラ対24及び下流側ローラ対25の上側に位置する従動ローラ24b,25bは、その対応する下側の駆動ローラ24a,25aに対して圧着された状態と該圧着が解除された状態とを切り換えることが可能になっている。
前記上流側ローラ対24を挟んでその上流側及び下流側には、記録紙Pを検出する第1及び第2センサ27,28(共に投光部と受光部とからなる)がそれぞれ配設されている。第1センサ27は、前記カセット5又は両面印刷ユニット7より記録紙Pの先端がプリンタ本体部1の筐体2内に入ったことを検出するものであり、この検出により、前記上流側ローラ対24の駆動ローラ24aを駆動する。第2センサ28は、上流側ローラ対24より送り出された記録紙Pの先端を検出するものであり、この第2センサ28による記録紙P先端の検出から、記録紙Pの印刷開始部分がプリントヘッドHの下側位置に達するような量だけ上流側ローラ対24により記録紙Pを搬送したときに、当該記録紙Pへの印刷を開始する。また、第2センサ28による記録紙Pの先端の検出から、記録紙Pの先端が下流側ローラ対25のところに達するような量だけ上流側ローラ対24により記録紙Pを搬送したときに、上流側ローラ対24を圧着状態から圧着解除状態にしかつ下流側ローラ対25を圧着解除状態から圧着状態にして、今度は下流側ローラ対25で記録紙Pを搬送する。
前記プリントヘッドHは、記録紙Pの上側位置において記録紙Pの幅方向(プリンタ左右方向)と一致する主走査方向X(図5参照)に延びる2本のガイドレール31に沿って移動可能に構成されている。また、プリントヘッドHは、主走査方向Xと垂直であって記録紙Pの移動方向(プリンタ前後方向)と一致する副走査方向Y(図5参照)に並ぶ2つのヘッドユニット32を有しており、これら2つのヘッドユニット32の下面に設けられている多数のインク吐出ノズル(図示省略)から複数色のインクを下側へ向けて吐出することで、記録紙Pの上側面に対して所定の画像を印刷できるようになっている。本実施形態では、ヘッドユニット32が副走査方向Yに2段に並んで配設されているが、ヘッドユニット32は2段である必要はなく、1段や3段以上であってもよい。
前記両ヘッドユニット32は同一構成であり、各々、主走査方向Xに配設された、各色のインクを吐出するための複数のノズルアレイを有している。この各ノズルアレイにおいて、前記インク吐出ノズルが副走査方向Yに列状に配設されている。これにより、各ヘッドユニット32は、単体でカラー画像を形成可能な構成とされている。そして、記録紙Pは、前記上流側ローラ対24又は下流側ローラ対25により一定の単位搬送量で間欠的に(ステップ状に)副走査方向Yに搬送され、この間欠搬送時における記録紙Pの各停止時に、プリントヘッドHが主走査方向Xに一走査(一往動作又は一復動作)されて、この走査時に、主走査方向Xの各位置で、各ヘッドユニット32の各色のインク吐出ノズルからインクが記録紙Pの上側面に対して同時に吐出される。つまり、プリントヘッドHの一走査後に、記録紙Pが単位搬送量だけ搬送され、その後、再びプリントヘッドHが一走査され、この動作が繰り返し行われて、所望の画像が印刷されることになる。
ここで、本実施形態におけるプリントヘッドHのインク吐出のための構成としては、インクが充填された圧力室内の容積がピエゾ素子によって変化することで、圧力室に連通するインク吐出ノズルからインクを吐出する一般的なピエゾ方式のものを採用している。
前記プラテン23は板状の部材からなり、その上面が記録紙Pを支持する支持面23aとされている。このプラテン23には、厚み方向(上下方向)に貫通して支持面23aに開口する多数の吸引用孔23b(図5参照)が設けられている。プラテン23の下側には、該プラテン23と共に空間を形成するケース体35が配設され、このケース体35の下側に、ファン等を含む吸引装置36が配設されている。そして、前記吸引用孔23bは、前記ケース体35内の空間と連通し、この空間は、吸引装置36の吸込み口と連通しており、吸引装置36の作動により吸引用孔23bを介してプラテン23の支持面23a側に負圧が生じ、このことで、記録紙Pがプラテン23の支持面23a上に吸着保持されることになる。これにより、印刷時の記録紙Pの平面性を確保して印刷品質を向上させることが可能になる。
また、プラテン23の支持面23aには、インク吸収材38を収容するための、副走査方向Yに延びる凹部23c(図5参照)が形成されている。このインク吸収材38は、記録紙P全体に画像を印刷する縁なし印刷を行う際に、プリントヘッドH(ヘッドユニット32)より吐出したインクの一部が前記支持面23a上の記録紙Pの幅方向の端縁から外側に外れてはみ出したとしても、その外側に外れたインクによりプラテン23の支持面23aが汚れるのを防止するために設けられたものである。このため、前記凹部23cは、支持面23aにおいて該支持面23a上の記録紙Pの幅方向の端縁に対応する位置でかつ副走査方向YにおけるプリントヘッドHに対応する位置において、該端縁に沿って延びる(つまり副走査方向Yに延びる)ように形成されている。図5の例では、5種類の幅の記録紙Pに対応可能にするべく、片側5個ずつの合計10個の凹部23cが設けられている。前記インク吸収材38は、インク吸収性に優れた、例えばスポンジ状のものが好ましい。
ここで、前記縁なし印刷を行う場合、記録紙Pの幅方向については端縁ぎりぎりにインクを吐出し、その端縁からはみ出したインクを前記インク吸収材38により吸収するようにしているが、記録紙Pの先端及び後端ぎりぎりにはインクを吐出せず、所定量(例えば2mm)だけ余白をあけて印刷を行う。そして、この余白を後述のカッター40により切断することで、縁なしに仕上げる。このようにするのは、記録紙Pの先端又は後端に向けてインクを吐出すると、そのインクが前記吸引用孔23bによる吸い込み作用により吸引用孔23bへ引き込まれて印刷品質が低下するとともに、支持面23aがインクで汚れるからである。
前記プリンタ本体部1の筐体2内の上部における前記印刷搬送部22の下流側には、印刷搬送部22の下流側端部(下流側ローラ対25)より送り出された記録紙Pを、表裏反転しかつ搬送の向きが逆向きになるようにUターンさせるUターン部45が設けられている。
前記Uターン部45と印刷搬送部22との間には、前記縁なし印刷を行う場合において記録紙Pの先端及び後端における前記余白を切断するカッター40が配設されている。このカッター40は、記録紙Pの搬送経路の上側に配置された固定刃40aと、記録紙Pの搬送経路の下側に配置され、不図示のモータにより該固定刃40aに対して上下方向に移動する可動刃40bとで構成され、可動刃40bが記録紙Pの下側から上側に移動することで記録紙Pを切断する。この切断による切り屑は、筐体2の下部に配設された屑箱41(図2参照)に落下して収容される。尚、記録紙Pの両面に印刷を行う場合には、両面に印刷を行った後にカッター40により前記余白を切断する。
前記Uターン部45には、該Uターン部45の上流側部分に配設されかつ印刷搬送部22からの記録紙Pを挟持してプリンタ後側(下流側)へと排出するとともに、印刷部21に再供給される記録紙Pの湾曲特性を変更する処理(以下、特性変更処理という)を行う搬送ローラ対44を含む変更機構100(詳細は後述する)と、変更機構100より排出される記録紙Pを挟持してさらにプリンタ後側へ搬送する圧着型の搬送ローラ対46と、該搬送ローラ対46により搬送されてきた記録紙Pの搬送の向きを上側へ変更する第1向き変更部材47と、この第1向き変更部材47の下流側に配設されかつ記録紙Pを挟持して上側へ搬送する圧着型の2組の搬送ローラ対48と、該搬送ローラ対48により搬送されてきた記録紙Pの搬送の向きをプリンタ前側へ変更する第2向き変更部材49と、Uターン部45の下流側端部に配設され、記録紙Pを挟持してUターン部45から排出する圧着型の搬送ローラ対50と、この搬送ローラ対50の近傍位置に配設されかつ記録紙Pが当該位置にあることを検出する第3センサ51(投光部と受光部とからなる)とが設けられている。尚、前記2組の搬送ローラ対48の間には、下側の搬送ローラ対48から送り出された記録紙Pの先端を上側の搬送ローラ対48へと導く一対のガイド板52が、搬送路を挟むように配設されている。
Uターン部45の上流側部分における搬送ローラ対46と変更機構100との間で該変更機構100の上流側近傍には、前記印刷部21において記録紙Pの上側面に付着したインクを乾燥させるための乾燥風(温風)Wを該記録紙Pの上側面に吹き付ける乾燥装置53が設けられている。この乾燥装置53は、該乾燥装置53内に空気を取り込むための吸入ファン54と、この吸入ファン54で取り込んだ空気を加熱する加熱ヒータ55と、乾燥装置53の下端部に開口して、加熱ヒータ55で加熱された空気を乾燥風Wとして記録紙Pの上側面に吹き付ける排気ノズル部56と、乾燥装置53内の温度を検出して加熱ヒータ55を緊急停止させる安全サーモ57とを備えている。前記乾燥装置53の下側でかつ変更機構100の上流側には、記録紙Pの先端部(搬送方向下流側端部であって前端部ともいう)を検出する第5センサ193(図4参照)が配設されている。
前記Uターン部45の全搬送ローラ対44,46,48,50において、記録紙Pにおける前記印刷部21による印刷面とは反対側の面に接触するローラ(上流側部分における搬送ローラ対44,46では下側のローラであり、その下流側の2組の搬送ローラ対48ではプリンタ後側のローラであり、搬送ローラ対50では、上側のローラである)は、それぞれ駆動ローラ44a,46a,48a,50aとされ、前記印刷面に接触するローラ(搬送ローラ対44,46では上側のローラであり、搬送ローラ対48ではプリンタ前側のローラであり、搬送ローラ対50では、下側のローラである)は、それぞれ従動ローラ44b,46b,48b,50bとされている。これら従動ローラ44b,46b,48b,50bは、駆動ローラ44a,46a,48a,50aよりも軟質な材料で構成されている。例えば、駆動ローラ44a,46a,48a,50aはポリプロピレンからなり、従動ローラ44b,46b,48b,50bは発泡ウレタンからなる。このように前記印刷面に接触する従動ローラ44b,46b,48b,50bを軟質にすることで、記録紙Pの搬送速度の許容速度を高めることが可能になる。また、前記印刷面とは反対側の面に接触する駆動ローラ44a,46a,48a,50aを硬質にすることで、記録紙Pの搬送精度を確保して、蛇行等を生じ難くすることができる。
前記全ての駆動ローラ44a,46a,48a,50aは同じモータ(図示せず)により駆動される。そして、この駆動ローラ44a,46a,48a,50aの回転速度、つまり搬送ローラ対44,46,48,50による記録紙Pの搬送速度は可変に構成されている。すなわち、前記乾燥装置53による前記インクの乾燥度合いは、インクジェットプリンタAが設置された環境条件(温度や湿度等)に応じて変化するため、これに応じて搬送速度を変更する。また、前記両面印刷ユニット7がプリンタ本体部1に取り付けられている場合には、記録紙Pが両面印刷ユニット7により搬送されている間に前記インクが乾燥すればよいので、乾燥装置53により前記インクが完全には乾燥しないような比較的速い速度に設定する。一方、両面印刷ユニット7がプリンタ本体部1に取り付けられていない場合(図13参照)には、Uターン部45から搬送ローラ対50により排出された記録紙Pは、そのまま筐体2の外側に排出されて筐体2の上面に重ねて載置されるようになっており、このため、乾燥装置53により前記インクがほぼ完全に乾燥するような遅めの速度に設定する。
前記第3センサ51は、記録紙Pの後端を検出して、該記録紙PのUターン部45からの排出を検出するものである。前記両面印刷ユニット7がプリンタ本体部1に取り付けられていない場合には、記録紙Pの筐体2外側への排出を検出することになる。一方、両面印刷ユニット7がプリンタ本体部1に取り付けられている場合には、記録紙Pの後端の検出から、該後端が搬送ローラ対50から外れる量だけ記録紙Pが搬送されたときに、両面印刷ユニット7での記録紙Pの搬送速度を変更(アップ)する。
前記両面印刷ユニット7は、筐体2の上面を覆う第1ユニット8と、前記カセット5の上方に位置する第2ユニット9との2分割構造になっている。そして、両面印刷ユニット7がプリンタ本体部1に取り付けられている状態で、第1ユニット8のみを筐体2から取り外すことが可能になっている。この第1ユニット8が取り外された状態で、筐体2の上面に設けたメンテナンス開口(通常時は蓋で塞がれる)を介して印刷部21(特にプリントヘッドH等)のメンテナンス作業を行うことができる。したがって、両面印刷ユニット7をプリンタ本体部1に取り付けた後においても、印刷部21のメンテナンス作業を容易に行うことができる。
前記両面印刷ユニット7の第1ユニット8内には、前記Uターン部45から送り出された記録紙Pを、前記印刷部21を超えて前記カセット5の側(印刷部21に対してプリンタ前側)へ搬送するリバース搬送部61が設けられている。このリバース搬送部61には、記録紙Pを挟持してプリンタ前側へ搬送する圧着型の3組の搬送ローラ対62と、リバース搬送部61の下流側端部(第1ユニット8のプリンタ前側端部)の位置に配設されかつ記録紙Pが当該位置にあることを検出する第4センサ63(投光部と受光部とからなる)とが設けられている。
前記リバース搬送部61における搬送路は、プリンタ前側へ向かって下側に僅かに傾斜する直線路とされている。この傾斜の理由は以下の通りである。すなわち、前記Uターン部45の搬送ローラ対50の高さ位置は、両面印刷ユニット7がプリンタ本体部1に取り付けられていない場合に記録紙Pが載置される筐体2上面に、十分な枚数の記録紙Pが載置可能な高さ位置にする必要がある。一方、第2ユニット9内における後述のスイッチバック部66では、スイッチバックした記録紙Pを印刷搬送部22の上流側端部へ供給する後述の供給ローラ対69の数を、記録紙Pの最小長さとの関係を考慮して出来る限り減らすことが望ましく、このためにはスイッチバック部66は印刷搬送部22に近い高さ位置にする必要がある。このことから、Uターン部45とスイッチバック部66とを接続するリバース搬送部61における搬送路を前記の如く傾斜させている。
前記リバース搬送部61の全搬送ローラ対62において、記録紙Pにおける前記印刷部21による印刷面とは反対側の面に接触するローラ(上側のローラ)は、駆動ローラ62aとされ、前記印刷面に接触するローラ(下側のローラ)は、従動ローラ62bとされている。前記Uターン部45の搬送ローラ対44,46,48,50と同様に、従動ローラ62bは、駆動ローラ62aよりも軟質な材料で構成されている。
前記全ての駆動ローラ62aは同じモータ(図示せず)により駆動される。そして、この駆動ローラ62aの回転速度、つまり搬送ローラ対62による記録紙Pの搬送速度は、前記Uターン部45の搬送ローラ対44,46,48,50の駆動ローラ44a,46a,48a,50aと同様に、可変に構成されている。前述の如く、第3センサ51による記録紙Pの後端の検出から、該後端が搬送ローラ対50から外れる量だけ記録紙Pが搬送されたときに、搬送速度をアップする。すなわち、Uターン部45では搬送経路が曲線であるため、印刷面を傷付けることなく安定して搬送できる速度にする必要があり、また、記録紙Pの後端が搬送ローラ対50よりも上流側に位置する状態では、搬送ローラ対62による記録紙Pの搬送速度をUターン部45での搬送速度と同じにする必要があるが、記録紙Pの後端が搬送ローラ対50から外れれば、記録紙Pを直線の搬送経路で搬送するので、許容速度が上昇し、搬送速度をアップする。但し、下流側に存在する記録紙Pの状況(存在枚数や存在位置)によって、搬送速度を調整する。
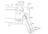
前記第2ユニット9内には、前記リバース搬送部61より搬送されてきた記録紙Pを、スイッチバックさせて該記録紙Pの後端側から前記印刷搬送部22の上流側端部へ供給するスイッチバック部66が設けられている。このスイッチバック部66には、下側の駆動ローラ67aと上側の従動ローラ67bとからなる圧着型のスイッチバックローラ対67と、このスイッチバックローラ対67の上流側において搬送路を挟むように設けられ、前記リバース搬送部61より搬送されてきた記録紙Pをスイッチバックローラ対67へ導く一対の第1ガイド部材68と、スイッチバックした記録紙Pを印刷搬送部22の上流側端部へ供給する圧着型の供給ローラ対69と、スイッチバックローラ対67と供給ローラ対69との間において搬送路を挟むように設けられ、スイッチバックした記録紙Pを供給ローラ対69へ導く一対の第2ガイド部材70とが設けられている。
前記スイッチバックローラ対67の駆動ローラ67aは、不図示のモータにより、記録紙Pを挟持してプリンタ前側へ搬送する正回転と、記録紙Pを挟持してプリンタ後側へ搬送する逆回転とが可能に構成されている。
前記スイッチバックローラ対67及び第1ガイド部材68は、不図示のモータにより、スイッチバックローラ対67の駆動ローラ67aの回転軸回りに一体的に回動可能になっており、これにより、スイッチバックローラ対67の従動ローラ67bが、駆動ローラ67aに対してほぼ真上に位置する第1の位置(図6参照)と、駆動ローラ67aに対してプリンタ後側に位置する第2の位置(図7参照)とに切り換えられるようになっている。また、第1ガイド部材68は、従動ローラ67bが第1の位置にあるときには、リバース搬送部61における搬送路の延長上に位置し(図6参照)、従動ローラ67bが第2の位置にあるときには、前記第2ガイド部材70の延長上に位置する(図7参照)。
ここで、リバース搬送部61より搬送されてきた記録紙Pをスイッチバックさせる方法を説明する。スイッチバックローラ対67が、リバース搬送部61より搬送されてきた記録紙Pを受け取る際には、駆動ローラ67aは正回転しており、従動ローラ67bは第1の位置にある。そして、前記第4センサ63が記録紙Pの後端を検出してから、当該後端が第1ガイド部材68に位置するような量だけスイッチバックローラ対67により記録紙Pをプリンタ前側へ搬送したところで(図6参照)、駆動ローラ67aの正回転を停止する。このとき、記録紙Pの少なくとも前端部(先端部)は、後述の載置トレイ74上に位置する。
続いて、スイッチバックローラ対67及び第1ガイド部材68を図6で時計回り方向に回動させて従動ローラ67bを第1の位置から第2の位置へ切り換える。これにより、記録紙Pの先端側(プリンタ前側)が持ち上げられて、スイッチバックローラ対67に対して上側でかつプリンタ前側に配設された2つの補助ローラ72に当接した状態で湾曲する(図7参照)。
その後、駆動ローラ67aを逆回転させて、記録紙Pをその後端側から供給ローラ対69の側へ向けて搬送する。このとき、記録紙Pの搬送に伴って補助ローラ72が回転し、これにより、スイッチバックする記録紙Pの後端側部分(駆動ローラ67aの正回転時の先端側部分に相当)がスムーズに移動するとともに、第2ユニット9の内壁面等に擦れて傷が付くようなこともない。スイッチバックローラ対67によりスイッチバックする記録紙Pは、第1ガイド部材68及び第2ガイド部材70を通って、供給ローラ対69のところに達する(図8参照)。
前記供給ローラ対69は、不図示のモータにより駆動される駆動ローラ69aと、この駆動ローラ69aに対して圧着される従動ローラ69bとからなる。この従動ローラ69bの駆動ローラ69aに対する圧着状態は、後述の如く解除することが可能になっている(スイッチバックローラ対67の従動ローラ67bも同様)。
前記供給ローラ対69の下側には、プリンタ本体部1の筐体2におけるプリンタ前側面の上部に設けられた一対の第3ガイド部材73が、搬送路を挟むように配設されており、この第3ガイド部材73を介して記録紙Pが印刷搬送部22の上流側端部へ供給されることになる。このように両面印刷ユニット7を介して印刷搬送部22に供給された記録紙Pの上側面は、当該記録紙Pに対して印刷部21にて最初に印刷された側(以下、表側という)の面(表側面)とは反対側(以下、裏側という)の面(裏側面)であり、未だ印刷されていない面である。そして、最初の印刷時と同様に裏側面に印刷することで、当該記録紙Pの両面に印刷されることになる。
前記スイッチバックローラ対67は、リバース搬送部61より搬送されてきた記録紙Pを、スイッチバックさせないで第2ユニット9の外側へ排出する役目もしている。すなわち、スイッチバックローラ対67は、記録紙Pを第2ユニット9の外側へ排出する際には、駆動ローラ67aの正回転を途中で停止しないで回転し続ける。そして、第2ユニット9の外壁のプリンタ前側面には、スイッチバックローラ対67により送り出された記録紙Pを受け止めて載置する載置トレイ74が設けられている。前記のように両面に印刷された記録紙Pや、表側面のみの印刷で済ませる記録紙Pは、スイッチバックローラ対67によって第2ユニット9の外側へ排出されて載置トレイ74上に載置されることになる。
前記第2ユニット9の外壁のプリンタ前側面における前記載置トレイ74の上側には、載置トレイ74に載置された記録紙Pに埃等が付着するのを防止するカバー部材75が、載置トレイ74の上側を覆うように片持ち状に支持されている。このカバー部材75は、その基端部(プリンタ後側端部)にてプリンタ左右方向に延びる軸75a回りに回動可能に支持されており、カバー部材75を前記軸75a回りに回動させて基端部から上側へ延びるように立てた状態にすることも可能である。
前記第2ユニット9の外壁の上面における前記スイッチバックローラ対67の近傍には、記録紙Pを手差し挿入することが可能な手差し挿入用開口部77が形成されている。この手差し挿入用開口部77には、一対の手差し用ガイド部材78が、手差し挿入される記録紙Pを厚み方向に挟むように配設され、この手差し用ガイド部材78により、手差し挿入された記録紙Pの先端をスイッチバックローラ対67の側へ導く。また、手差し挿入用開口部77は、蓋部材79(図1参照)により覆われており、オペレータは、記録紙Pを手差し挿入する際には、この蓋部材79を開けるとともに、不図示のモードスイッチを操作して、手差しモードに切り換える。これにより、図9に示すように、スイッチバックローラ対67の従動ローラ67bが第2の位置に切り換えられるとともに、駆動ローラ67aが逆回転する。そして、オペレータが記録紙Pを手差し挿入用開口部77から挿入する。このとき、前記カバー部材75を立てた状態にしておけば、カバー部材75が記録紙Pを支持する受け皿の役目を果たし、記録紙Pの挿入が容易になる。こうして記録紙Pを手差し挿入用開口部77から挿入すると、その記録紙Pがスイッチバックローラ対67によって供給ローラ対69の側へ向けて搬送され、スイッチバックして搬送される記録紙Pと同様に、供給ローラ対69によって、印刷搬送部22(印刷部21)へ供給される。
前記スイッチバック部66における第2ガイド部材70のプリンタ左右両側には、図10に示すように、印刷搬送部22へ供給される記録紙Pの幅方向の位置を補正する補正機構81が設けられている。この補正機構81は、前記スイッチバックローラ対67の従動ローラ67bを圧着解除状態にする左右一対の上側解除レバー82と、前記供給ローラ対69の従動ローラ69bを圧着解除状態にする左右一対の下側解除レバー83と、前記記録紙Pの幅方向両側端に当接する左右一対の幅規制部材84,85とを有している。
図11に示すように、前記各上側解除レバー82及び各下側解除レバー83は、プリンタ左右方向に延びる軸82a,83a回りにそれぞれ回動可能になっている。各上側解除レバー82の一端部は、前記スイッチバックローラ対67における第2の位置にある圧着状態の従動ローラ67bの軸端部の近傍に位置する一方、各上側解除レバー82の他端部は、プリンタ左右方向に延びる軸86aに支持された解除カム86のカム面に当接している。また、各下側解除レバー83の一端部は、前記供給ローラ対69の従動ローラ69bの軸端部に連結されている一方、各下側解除レバー83の他端部は、前記解除カム86のカム面に当接している。
前記解除カム86はその軸86aと共に不図示のモータにより回転するようになっており、この解除カム86が90°回転することにより、図12に示すように、各上側解除レバー82が軸82a回りに同図で時計回り方向に回動してスイッチバックローラ対67の従動ローラ67bが圧着解除状態とされるとともに、各下側解除レバー83が軸83a回りに同図で反時計回り方向に回動して供給ローラ対69の従動ローラ69bが圧着解除状態とされる。そして、解除カム86がさらに90°回転すると、スイッチバックローラ対67及び供給ローラ対69の従動ローラ67b,69bが圧着状態とされる。
前記幅規制部材84,85は、前述したようにオペレータの操作によって、印刷処理する記録紙Pの幅に対応した位置に位置している。すなわち、幅規制部材84,85は、印刷処理する記録紙Pの幅方向両側端にそれぞれ当接する位置に位置している。これら幅規制部材84,85は、互いの対向面に開口する矩形の溝部が形成されるように折り曲げられてなり、これらの溝部の底面が記録紙Pの幅方向両側端にそれぞれ当接する。尚、前記溝部の底面の上流側部分は、記録紙Pが溝部内に導かれるように、上流側に向かって搬送路の幅方向外側に傾斜している。
そして、一方(図10で左側)の幅規制部材84は、オペレータの操作によって位置付けられた位置を挟んで所定量だけ記録紙Pの幅方向に移動可能に構成されていて、他方(図10で右側)の幅規制部材85に対して近付くようにバネで付勢されている。また、前記幅規制部材85は、オペレータの操作によって位置付けられた位置に固定されている。前記幅規制部材84の付勢により記録紙Pが幅規制部材85の側に押されて、記録紙Pの幅規制部材85側の端が幅規制部材85に当接する。このときの記録紙Pの位置が搬送路の幅方向の基準位置となるように幅規制部材85が配置されている。
しかし、前記幅規制部材84の付勢力は比較的弱く、このため、記録紙Pがスイッチバックローラ対67、又は、スイッチバックローラ対67及び供給ローラ対69により搬送されている際には、前記幅規制部材84は、該ローラ対67,69による搬送力に負けて、記録紙Pを幅規制部材85の側に押すことはできない。すなわち、幅規制部材84の付勢力は、スイッチバックローラ対67及び供給ローラ対69の従動ローラ67b,69bを前記切換え機構により圧着解除状態に切り換えたときに、記録紙Pをその幅方向に移動させることが可能な値に設定されている。このため、幅規制部材84は、記録紙Pの搬送中は、記録紙Pの幅方向の位置を補正することはできず、記録紙Pの蛇行に伴って記録紙Pの幅方向に移動する。この結果、記録紙Pは、前記基準位置から図10で左側にずれる傾向にある。
そこで、補正機構81は、スイッチバックローラ対67及び供給ローラ対69の従動ローラ67b,69bを圧着解除状態に切り換えることで、幅規制部材84の付勢により記録紙Pを幅規制部材85の側へ移動させることによって、搬送路に対する記録紙Pの幅方向の位置を補正する。具体的には、記録紙Pの先端が所定位置(例えば供給ローラ対69の少し下流側)に達したときに、スイッチバックローラ対67及び供給ローラ対69による記録紙Pの搬送を停止し、その後、スイッチバックローラ対67及び供給ローラ対69の従動ローラ67b,69bを前記切換え機構により圧着解除状態にする。これにより、記録紙Pはフリー状態になるため、前記幅規制部材84の付勢によって幅規制部材85の側へ移動し、記録紙Pが搬送路の幅方向の基準位置に正確に合わせられる。このようにして搬送路に対する記録紙Pの幅方向の位置が補正されるとともに、搬送路に対する記録紙Pの姿勢(傾き)も正規の姿勢に補正される。そして、前記圧着解除から所定時間(記録紙Pが幅規制部材84の付勢によって移動して補正が完了するまでの時間)が経過したとき、スイッチバックローラ対67及び供給ローラ対69の従動ローラ67b,69bを前記切換え機構により圧着状態にして、スイッチバックローラ対67及び供給ローラ対69による記録紙Pの搬送を再開する。
前記補正動作は、同じ記録紙Pに対して1回又は複数回実行されるものであり、複数回実行される場合には、前記搬送の再開から記録紙Pが所定量だけ搬送されたときに、搬送を再度停止して、前記と同様の動作を繰り返す。前記補正動作の実行回数は、記録紙Pの特性(長さ、厚み等の寸法特性や、硬さ、面質(光沢やマット)等の材料特性)に応じて決定される。例えば、記録紙Pの長さ(前述の如くオペレータによって入力される記録紙Pの大きさ)が長くなるほど前記実行回数を多くして、記録紙Pの長さ方向全体に亘って幅方向の位置の補正を行う。また、記録紙Pの厚みや硬さ(オペレータが入力するか、又はICチップに記憶しておいて、それを読み取る)が大きい等によって、記録紙Pが幅方向に移動し難くなるので、その分だけ前記実行回数を多くする。この実行回数に応じて、補正動作の実行に際して記録紙Pを停止させる位置(つまり前記所定位置及び所定量)を変更することが好ましい。
こうして記録紙Pは、搬送路の幅方向の基準位置に正確に合わされた状態で印刷搬送部22(印刷部21)に供給され、このことで、印刷部21にて記録紙Pの適切な位置に安定的に印刷が行われ、印刷品質が向上する。
前記Uターン部45、リバース搬送部61及びスイッチバック部66は、前記印刷搬送部22の下流側端部と上流側端部とを接続して該印刷搬送部22と共にプリントヘッドHを囲むような周回搬送路を形成しかつ該印刷搬送部22の下流側端部より送り出された、表側面に印刷された記録紙Pを、表裏反転させて該印刷搬送部22の上流側端部へ供給する記録紙再供給部88を構成する。この記録紙再供給部88により、表側面に印刷された記録紙Pを、表裏反転させて印刷部21へ再供給することができ、この記録紙Pの裏側面にも印刷することで、記録紙Pの両面に印刷を行うことができる。
前記裏側面に印刷された記録紙Pは、Uターン部45及びリバース搬送部61により、表側面に印刷された後の搬送時(当該記録紙Pの1回目の搬送時)と同様に、スイッチバック部66へと搬送される。このとき、スイッチバック部66のスイッチバックローラ対67は正回転し続けて、記録紙Pを載置トレイ74上に排出する。尚、裏側面に印刷された記録紙PがUターン部45及びリバース搬送部61により搬送される際、搬送ローラ対44,46,48,50,62の駆動ローラ44a,46a,48a,50a,62aが記録紙Pの表側面に接触することになるが、この時点では、表側面に付着したインクは既に完全に乾燥しているので、記録紙Pを1回目の搬送時と同じ速度で搬送しても問題はない。但し、より一層印刷品質を向上させるべく、2回目の搬送時の搬送速度を1回目の搬送時よりも遅くすることも可能である。
前記記録紙再供給部88は、前記印刷部21にて1枚の記録紙Pへの印刷中に、当該記録紙Pよりも前に印刷した少なくとも1枚の記録紙Pを保持可能な搬送経路長さに設定されている。これにより、1枚の記録紙Pの表側面に印刷してから裏側面に印刷するまでの期間を、後続の少なくとも1枚の記録紙Pの印刷に利用することができる。
例えば、前記複数種類の大きさのうち最も小さい記録紙Pに対して両面印刷を行う場合、1枚目から4枚目までの記録紙Pを連続してカセット5から印刷部21へ供給して、印刷部21にてそれら記録紙Pの表側面に連続して印刷を行う。4枚目の記録紙Pに対して印刷を行っているときに、先に印刷された3枚の記録紙Pは、記録紙再供給部88のいずれかの部分に位置している(通常、1枚目の記録紙Pはスイッチバック部66に、2枚目の記録紙Pはリバース搬送部61に、3枚目の記録紙PはUターン部45にそれぞれ位置している)。そして、4枚目の記録紙Pへの印刷が終了すると、今度は、表側面に印刷した前記1枚目の記録紙Pを印刷部21へ供給して該1枚目の記録紙Pの裏側面に印刷を行い、続けて前記2枚目から4枚目までの記録紙Pの裏側面に連続して印刷を行う。この4枚目の記録紙Pの裏側面に印刷を行っているときに、1枚目の記録紙Pはスイッチバックローラ対67によって載置トレイ74上に排出され、2枚目及び3枚目の記録紙Pはリバース搬送部61及びUターン部45にそれぞれ位置する。
前記4枚目の記録紙Pの裏側面への印刷が終了すると、今度は5枚目から8枚目までの記録紙Pを連続してカセット5から印刷部21へ供給し、印刷部21にてそれら記録紙Pの表側面に連続して印刷を行う。こうして4枚の記録紙Pを1組として記録紙Pの表側面及び裏側面に印刷を順次行っていく。尚、両面印刷を行う2組の間に、片面印刷を行う組を介在させることも可能である。
したがって、本実施形態では、1枚の記録紙Pのみに対して両面印刷を行う場合には、表側面に印刷された記録紙Pが記録紙再供給部88の長い搬送経路を通った後に該記録紙Pの裏側面に印刷されるので、処理時間が長くなるが、業務用途等の所定枚数以上の記録紙に対して両面印刷を行う場合には、記録紙再供給部88により少なくとも1枚の記録紙Pを搬送中に他の記録紙Pに対して印刷を行うことができ、印刷処理能力を向上させることができる。また、印刷部21にて記録紙Pの表側面に付着したインクを、裏側面に印刷を行うまでの間に十分に乾燥させることができ、この乾燥状態で裏側面に印刷することで、記録紙Pの両面がインクで同時に濡れるようなことはなくなり、インクの染み込みによる裏写り等が生じるのを確実に防止することができる。また、記録紙Pにカールや波打現象が生じ難くなる。よって、記録紙Pの印刷品質が低下するのを防止することができる。
前記変更機構100は、前述の如く、記録紙Pを搬送する搬送ローラとしての機能を有するとともに、前記印刷部21に再供給される記録紙P(表側面への印刷が終了した記録紙P)がプラテン23上に進入する際にその下流側端部が該プラテン23表面に略当接するように特性変更処理を実行する。
具体的には、変更機構100は、図14に示すように、前記駆動ローラ44aと、駆動ローラ44aとともに記録紙Pを挟持する前記従動ローラ44bと、駆動ローラ44aに対する従動ローラ44bの相対位置を変更する位置変更ローラ183と、駆動ローラ44aの上流側に配設され、搬送される記録紙Pの動きに連動して回転するフリーローラ180とを備えている。
前記駆動ローラ44aは、記録紙Pの幅方向に延びるローラ軸181a(図17参照)と、ローラ軸181aの軸方向に互いに間隔をあけて配置された複数のローラ部181b,181b,・・・とで構成されている。
前記従動ローラ44bは、駆動ローラ44aよりも外径が小さくかつ記録紙Pの幅方向に連続して延びており、駆動ローラ44aの周りにそのローラ面に略沿って移動可能に設けられている。
具体的に、前記従動ローラ44bの軸端部は、レバー部184に対して回動自在に取り付けられている。このレバー部184は、側面視で下流側に向かって先端部が2つに分岐した略コ字状の取付部184a(図14参照)と、取付部184aの上流側下部から斜め下方に延びる当接部184bとを備えている。そして、取付部184aの略コ字状の上側先端部には従動ローラ44bが回動自在に取り付けられ、下側先端部にはレバー軸185が取り付けられていて、レバー軸185を中心にレバー部184を回動させることで、従動ローラ44bが駆動ローラ44aのローラ面に略沿って移動可能に構成されている。
また、前記レバー部184には、当接部184bと、フリーローラ180の上流側に配設された取付ブラケット191との間に跨るように付勢バネ186(図14参照)が取り付けられており、レバー部184が図14における時計回り方向に付勢されて、従動ローラ44bが後述する圧着解除位置に位置付けられる。
前記レバー部184の上流側には、当接部184bに当接しながら押圧してレバー部184を付勢バネ186の付勢力に抗して反時計回り方向に回転させる位置変更ローラ183が配設されている。この位置変更ローラ183は、幅方向に延びる回転軸を中心として回動自在な本体部183aと、本体部183aの上端部に回動自在に取り付けられかつ当接部184bに当接するローラ部183bとを備えており、前記本体部183aが、不図示のパルスモータによって、前記回転軸回りに回動するようになっている。
そして、前記位置変更ローラ183のローラ部183bをレバー部184の当接部184bに当接させながら、位置変更ローラ183の回転角度を変更して押圧させることで、駆動ローラ44aに対する従動ローラ44bの相対位置を変更するようにしている。
具体的には、図14に示すように、位置変更ローラ183のローラ部183bをレバー部184の当接部184bに当接させない場合には、レバー部184は付勢バネ186の付勢力によって最も左端位置となる圧着解除位置に位置付けられる。この圧着解除位置では、駆動ローラ44aと従動ローラ44bとの間に所定の隙間Hが設けられ、記録紙Pの圧着が解除される。尚、位置変更ローラ183の本体部183aには検出片187が取り付けられ、この検出片187が透過センサ188から左方向に外れた状態のときが、従動ローラ44bが圧着解除位置に位置付けられた状態とされる。
次に、図15に示すように、位置変更ローラ183の本体部183aを時計回り方向に回動させてローラ部183bをレバー部184の当接部184bに当接させながら、透過センサ188が検出片187を検出するまで押圧することで、付勢バネ186の付勢力に抗してレバー部184を反時計回り方向に回転させて、記録紙Pをその湾曲特性を変更せずに(記録紙Pに対する特性変更処理を実行せずに)搬送する搬送位置に従動ローラ44bを位置付ける。この搬送位置では、従動ローラ44bが駆動ローラ44aよりも上流側に配設されている。こうすることで、駆動ローラ44a及び従動ローラ44bを記録紙搬送方向に対して垂直方向に並べて配設した場合に比べて、両ローラ44a,44b間に隙間を設けることができ、両ローラ44a,44b間の圧着力を弱めて記録紙Pに加わる負荷を軽減することができる。
位置変更ローラ183の本体部183aを時計回り方向にさらに回動させて(図16参照)、ローラ部183bを、検出片187が透過センサ188から右方向に外れて検出されなくなるまでレバー部184の当接部184bに押圧させることで、記録紙Pに対して特性変更処理を実行する形状特性変更位置に位置付ける。
そして、変更機構100の上流側に配設された前記第5センサ193(図4参照)により記録紙Pの先端部を検出した場合には、従動ローラ44bを、前記圧着解除位置に位置させる。このセンサ193により検出された記録紙Pが、両面印刷終了後の記録紙Pである場合には、その先端部が両ローラ44a,44b間を通過すると同時に、従動ローラ44bを圧着解除位置から搬送位置に切り換える一方、表側面への印刷のみが終了した記録紙Pである場合には、その先端部が両ローラ44a,44b間を通過すると同時に、従動ローラ44bを圧着解除位置から前記形状特性変更位置に切り換える。
従動ローラ44bが圧着解除位置から形状特性変更位置に切り換わった状態では、図16に示すように、駆動ローラ44aとフリーローラ180とに跨った記録紙Pに対して、従動ローラ44bが、その表側面(既印刷面)から押し付けられ、記録紙Pに対して湾曲荷重が加えられる(特性変更処理が実行される)。この結果、両搬送ローラ44a,44bを通過した後の記録紙Pには、その長さ方向の中間部が両端部に対して裏側(未印刷面側)に突出する湾曲特性が付与されることとなる。ここで、表側面への印刷が終了した記録紙P(両搬送ローラ44a,44bを通過する前の記録紙P)には、該印刷の影響(印刷面に付着したインクの影響)により、記録紙Pの長さ方向中間部が両端部に対して、表側(既印刷面側)に突出する湾曲特性が発生することから、前記特性変更処理は、表側面の印刷終了後の記録紙Pに対して、当該記録紙が有する長さ方向の湾曲特性とは逆向きの湾曲特性を付与する(持たせる)処理であるとも言える。
このような特性変更処理の実行により、記録紙Pの裏側面の印刷時における印刷エラーを防止することができるとともに、記録紙Pの印刷品質を向上させることができる。すなわち、この特性変更処理を実行しない場合には、裏側面印刷を行うべく記録紙Pを表裏反転させたときに、当該記録紙Pが有する前記湾曲特性(搬送方向中間部が両端部に対して既印刷面側に突出する特性)に起因して、記録紙先端部(及び後端部)が、反り上がってプラテン23から浮き上がってしまうため、吸引装置36により該記録紙先端部をプラテン23表面に吸着できなくなる(吸着ミスが発生する)という問題がある。
これに対して、本実施形態では、表側面への印刷終了後の記録紙Pに対して、その湾曲特性とは逆向きの湾曲特性を付与するようにしたから、記録紙Pの裏側面への印刷に際して、記録紙Pの先端部を、プラテン23表面に確実に当接させて、吸引装置36によりプラテン23表面に吸着保持することができる(吸着ミスを防止することができる)。これにより、記録紙Pの先端部が浮き上がったままその搬送が続行されることによる印刷画像の擦れや、記録紙先端部がプリントヘッドHのプリンタ前側面に衝突する印刷エラーを確実に防止することができる。
そうして、記録紙先端部をプラテン23表面に確実に吸着させることができれば、その後に記録紙Pがプラテン23上に進入するに伴って、記録紙Pの先端部から後端部に至る全範囲を順次確実にプラテン23表面に吸着保持させることができる。したがって、プリントヘッドHと記録紙Pとの距離を常に一定(設定距離)に維持して、記録紙Pの印刷品質(特に記録紙裏側面の印刷品質)を向上させることができる。
尚、前記逆向きの湾曲特性は、湾曲度を強いものとし過ぎると、記録紙Pの搬送性が悪化したり、記録紙Pのダメージが大きくなって商品品質が低下したり、裏側面印刷終了後にその湾曲を除去するためのデカール処理(湾曲除去処理)が必要になって記録紙Pのダメージがさらに増加する等の問題が生じるため、このような問題が生じない程度の僅かな湾曲度のものとすることが好ましい。
前記形状特性変更位置は、駆動ローラ44aのローラ面に略沿って複数箇所(図16に仮想線でそれぞれ記載)設定されており、図16に示す例では、実線で記載された従動ローラ44bを基準の形状特性変更位置として、この位置よりも反時計回り方向に従動ローラ44bを回動させた、記録紙に付加する湾曲力が強い強位置と、基準の形状特性変更位置よりも時計回り方向に従動ローラ44bを回動させた湾曲力の弱い弱位置と、弱位置よりもさらに時計回り方向に従動ローラ44bを回動させた最弱位置とが設定されている。そして、位置変更ローラ183は、最弱位置から強位置の間で従動ローラ44bを移動させることで、記録紙Pに加わる湾曲力の強弱を調整するようにしている。
こうすることで、表側面の印刷終了時の記録紙の湾曲特性の強弱に応じた適切な湾曲力を記録紙Pに加えることができる。
すなわち、記録紙Pは通常、その長さが長いほど撓み易くなるために表側面印刷終了時における湾曲特性も強くなる。このことから、本実施形態では、記録紙Pの長さが、予め設定した長/中/短の3段階のいずれの範囲に属するかを判定して、記録紙Pの長さが長いほど、従動ローラ44bの位置を強位置側に順に変化させて、記録紙Pに加える湾曲力を強くする。尚、記録紙Pの長さは、前記の如く、記録紙Pの大きさに対応していることから、オペレータの操作スイッチによる入力結果、又はICチップの記憶内容の読み取り結果から判定すればよい。また、記録紙Pの材質に応じて、記録紙Pに加える湾曲力を調整するようにしてもよい。すなわち、コシのある硬い材質の記録紙Pに対しては湾曲力を強くするように設定する等して、目標とする湾曲特性を得るために適切な湾曲力を記録紙Pに加えるようにしてもよい。
また、前記変更機構100は、前記の如く乾燥装置53に対して下流側の近傍に配設されていて、該乾燥装置53にて乾燥直後の記録紙Pに対して特性変更処理を実行するようになっている。
こうすることで、乾燥風(温風)により加熱されて変形し易くなった記録紙Pに対して、特性変更処理を実行することができ、これにより、記録紙Pの湾曲特性を容易にかつ確実に目標とする特性に変更することができる。したがって、記録紙Pの裏側面印刷時における吸着ミスをより一層確実に防止することができる。
(他の実施形態)
本発明の構成は、前記実施形態に限定されるものではなく、それ以外の種々の構成を包含するものである。すなわち、前記実施形態では、変更機構100は、表側面への印刷により当該記録紙Pに発生するその搬送方向に沿った湾曲特性とは逆向きの湾曲特性を付与する処理を実行するようにしているが、これに限ったものではなく、表側面への印刷により発生する湾曲を除去する処理(特性変更処理)を実行するようにしてもよい。
こうすることで、変更機構100による特性変更処理実行後の記録紙P(印刷部21に再供給される記録紙P)は、ストレート特性を有することとなる。したがって、印刷部21における記録紙Pの裏側面への印刷に際して、記録紙先端部がプラテン23上に進入するときに該先端部がプラテン23表面から浮き上がるのを確実に防止することができる。よって、裏面印刷時における吸着ミスを確実に防止して、前記実施形態と同様の作用効果を得ることができる。
また、前記実施形態では、表側面印刷が終了した記録紙Pの先端部が、変更機構100の両搬送ローラ44a,44b間を通過すると同時に従動ローラ44bの位置を圧着解除位置から形状特性変更位置に切り換えるようにしているが、これに限ったものではなく、例えば、記録紙Pの後端部(スイッチバックローラ対67によるスイッチバック後の記録紙Pの先端部であって、裏面印刷時における記録紙Pの先端部)が両搬送ローラ44a,44b間を通過するまでは従動ローラ44bの位置を搬送位置として、該通過と同時に形状特性変更位置に切り換えるようにしてもよい。
また、前記実施形態では、表側面への印刷により記録紙Pに発生する湾曲特性は、その搬送方向中間部が両端部に対して表側(既印刷面側)に突出する特性とされているが、これに限ったものではなく、例えば、記録紙Pの後端部(裏面印刷時における先端部)がそれ以外の部分に対して表側に反り上がった湾曲特性を有するものであってもよい。
また、前記実施形態では、記録紙Pの裏側面への印刷終了後は、記録紙Pに対して変更機構100による特性変更処理を実行しない(従動ローラ44bを搬送位置に位置させる)ようになっているが、これに限ったものではなく、裏面印刷終了後に記録紙Pに対して特性変更処理を実行することで、当該記録紙Pが有するその搬送方向に沿った湾曲を除去する(デカール処理を行う)ようにしてもよい。こうすれば、裏面印刷終了後の記録紙Pが有する湾曲特性が比較的強い場合でも、これを除去することができる。
また、前記実施形態では、変更機構100は、記録紙再供給部88におけるスイッチバック部66に対して上流側に配設されているが下流側に配設するようにしてもよい。すなわち、記録紙再供給部88内であればどこに配設してもよい。
また、前記実施形態では、記録紙再供給部88は、印刷搬送部22と共にプリントヘッドHを囲むような周回搬送路を形成するになっているが、必ずしも周回搬送路を形成する必要はなく、例えば、表面印刷が終了した記録紙Pを、表裏反転させた後に印刷部21の上流側端部まで後退(バック)させてから裏面印刷を開始するべく前進させるようにしてもよい。
本発明は、記録紙の両面に印刷を行うインクジェットプリンタに有用であり、特に、ロール紙を裁断した単票紙を使用して両面印刷を行う場合に有用である。
本発明の実施形態に係るインクジェットプリンタの外観を示す斜視図である。 インクジェットプリンタの内部の構成を示す、側方から見た概略図である。 カセットの内部の詳細を示す断面図である。 印刷部及びUターン部の詳細を示す側面図である。 印刷部の詳細を示す平面図である。 スイッチバック部のスイッチバックローラ対が、リバース搬送部より搬送されてきた記録紙を受け取っている状態を示す概略図である。 スイッチバックローラ対の従動ローラが第2の位置に切り換えられた状態を示す図6相当図である。 スイッチバックローラ対が記録紙を供給ローラ対のところまでスイッチバックさせた状態を示す図6相当図である。 記録紙が手差し挿入用開口部より手差し挿入されている状態を示す図6相当図である。 スイッチバック部の詳細を示す斜視図である。 図10のC方向矢示図である。 スイッチバックローラ対及び供給ローラ対の従動ローラを圧着解除状態にしている状態を示す図11相当図である。 両面印刷ユニットをプリンタ本体部から外した状態を示す図2相当図である。 変更機構の従動ローラを圧着解除位置に位置付けたときの側面図である。 変更機構の従動ローラを搬送位置に位置付けたときの側面図である。 変更機構の従動ローラを形状特性変更位置に位置付けたときの側面図である。 変更機構を下流側から見た正面図である。
符号の説明
A インクジェットプリンタ
H プリントヘッド
P 記録紙
14 送出しローラ(記録紙供給部)
21 印刷部
23 プラテン
23b 吸引用孔
36 吸引装置(吸引手段)
45 Uターン部(記録紙再供給部)
53 乾燥装置(乾燥部)
61 リバース搬送部(記録紙再供給部)
66 スイッチバック部(記録紙再供給部)
88 記録紙再供給部
100 変更機構

Claims (4)

  1. プリントヘッドからインクを吐出させて記録紙の片側面に印刷を行う印刷部と、該印刷部へ記録紙を供給する記録紙供給部と、前記印刷部において、前記プリントヘッドに対向するように配設され、前記記録紙供給部より供給された記録紙を支持するとともに該記録紙吸引用の吸引用孔を有するプラテンと、前記印刷部に設けられ、該記録紙供給部より供給された記録紙を、前記吸引用孔を介して吸引することで該プラテン上に吸着保持させる吸引手段と、前記印刷部に設けられ、該記録紙を、印刷時に該プラテンに吸着された状態で該記録紙供給部とは反対側へ搬送する印刷搬送部と、前記印刷部にて一側の面に印刷された記録紙を表裏反転させて該印刷部へ再供給する記録紙再供給部とを備え、該印刷部において、該記録紙再供給部より再供給された記録紙の他側の面に印刷することによって、該記録紙の両面に印刷を行うインクジェットプリンタであって、
    前記記録紙再供給部に設けられ、前記印刷部に再供給される前記一側の面への印刷終了後の記録紙が有するその搬送方向に沿った湾曲特性を変更するか又は該湾曲を除去する特性変更処理を行う変更機構をさらに備え、
    前記変更機構は、前記印刷部に再供給される記録紙が前記プラテン上に進入する際にその先端部が該プラテン表面に略当接するように前記特性変更処理を行うよう構成されていることを特徴とするインクジェットプリンタ。
  2. 請求項1記載のインクジェットプリンタにおいて、
    前記一側の面への印刷終了後の記録紙が有するその搬送方向に沿った湾曲特性は、該記録紙の前記搬送方向中間部が両端部に対して既印刷面側である該一側に突出する特性であることを特徴とするインクジェットプリンタ。
  3. 請求項2記載のインクジェットプリンタにおいて、
    前記特性変更処理は、前記一側の面への印刷終了後の記録紙が有するその搬送方向に沿った湾曲特性とは逆向きの湾曲特性を付与する処理であることを特徴とするインクジェットプリンタ。
  4. 請求項1乃至3のいずれか一項に記載のインクジェットプリンタにおいて、
    前記印刷部よりも前記搬送方向下流側には、該印刷部にて印刷が行われた記録紙の印刷面に温風を吹き付けて乾燥処理を施す乾燥部が設けられており、
    前記変更機構は、前記乾燥部に対して前記搬送方向下流側に配設されて、該乾燥部にて乾燥処理が施された直後の記録紙に対して前記特性変更処理を実行するように構成されていることを特徴とするインクジェットプリンタ。
JP2008240781A 2008-09-19 2008-09-19 インクジェットプリンタ Active JP5309829B2 (ja)

Priority Applications (1)

Application Number Priority Date Filing Date Title
JP2008240781A JP5309829B2 (ja) 2008-09-19 2008-09-19 インクジェットプリンタ

Applications Claiming Priority (1)

Application Number Priority Date Filing Date Title
JP2008240781A JP5309829B2 (ja) 2008-09-19 2008-09-19 インクジェットプリンタ

Publications (2)

Publication Number Publication Date
JP2010070335A true JP2010070335A (ja) 2010-04-02
JP5309829B2 JP5309829B2 (ja) 2013-10-09

Family

ID=42202490

Family Applications (1)

Application Number Title Priority Date Filing Date
JP2008240781A Active JP5309829B2 (ja) 2008-09-19 2008-09-19 インクジェットプリンタ

Country Status (1)

Country Link
JP (1) JP5309829B2 (ja)

Cited By (4)

* Cited by examiner, † Cited by third party
Publication number Priority date Publication date Assignee Title
JP2012061633A (ja) * 2010-09-14 2012-03-29 Seiko Epson Corp 液体噴射装置
CN103538379A (zh) * 2012-07-17 2014-01-29 佳能株式会社 打印装置及其控制方法
JP2016193554A (ja) * 2015-03-31 2016-11-17 ブラザー工業株式会社 印刷装置
CN109968830A (zh) * 2019-04-18 2019-07-05 武汉绎方信息工程有限公司 一种双面喷墨印刷装置

Citations (6)

* Cited by examiner, † Cited by third party
Publication number Priority date Publication date Assignee Title
JPH0826563A (ja) * 1994-07-13 1996-01-30 Sharp Corp シート後処理装置
JPH1077152A (ja) * 1996-09-02 1998-03-24 Canon Inc カール矯正装置及び画像形成装置及びカール検出装置
JP2001253622A (ja) * 2000-03-14 2001-09-18 Canon Inc シート搬送装置及び画像形成装置
JP2005255386A (ja) * 2004-03-15 2005-09-22 Brother Ind Ltd 画像形成装置
JP2006137027A (ja) * 2004-11-10 2006-06-01 Olympus Corp 記録装置
JP3125442U (ja) * 2006-07-07 2006-09-21 理想科学工業株式会社 印刷装置

Patent Citations (6)

* Cited by examiner, † Cited by third party
Publication number Priority date Publication date Assignee Title
JPH0826563A (ja) * 1994-07-13 1996-01-30 Sharp Corp シート後処理装置
JPH1077152A (ja) * 1996-09-02 1998-03-24 Canon Inc カール矯正装置及び画像形成装置及びカール検出装置
JP2001253622A (ja) * 2000-03-14 2001-09-18 Canon Inc シート搬送装置及び画像形成装置
JP2005255386A (ja) * 2004-03-15 2005-09-22 Brother Ind Ltd 画像形成装置
JP2006137027A (ja) * 2004-11-10 2006-06-01 Olympus Corp 記録装置
JP3125442U (ja) * 2006-07-07 2006-09-21 理想科学工業株式会社 印刷装置

Cited By (6)

* Cited by examiner, † Cited by third party
Publication number Priority date Publication date Assignee Title
JP2012061633A (ja) * 2010-09-14 2012-03-29 Seiko Epson Corp 液体噴射装置
CN103538379A (zh) * 2012-07-17 2014-01-29 佳能株式会社 打印装置及其控制方法
US9128446B2 (en) 2012-07-17 2015-09-08 Canon Kabushiki Kaisha Printing apparatus and method for controlling the same
JP2016193554A (ja) * 2015-03-31 2016-11-17 ブラザー工業株式会社 印刷装置
CN109968830A (zh) * 2019-04-18 2019-07-05 武汉绎方信息工程有限公司 一种双面喷墨印刷装置
CN109968830B (zh) * 2019-04-18 2024-06-07 武汉绎方信息工程有限公司 一种双面喷墨印刷装置

Also Published As

Publication number Publication date
JP5309829B2 (ja) 2013-10-09

Similar Documents

Publication Publication Date Title
JP4985434B2 (ja) デカール機構
JP5292834B2 (ja) デカール機構
JP2009179414A (ja) プリント装置
JP4983623B2 (ja) デカール機構
US20100073449A1 (en) Inkjet printer
JP2004262204A (ja) インクジェットプリンタ
JP2007145485A (ja) 記録媒体搬送機構及びこれを備えた画像記録装置
JP5309829B2 (ja) インクジェットプリンタ
JP4764073B2 (ja) シート供給装置及び記録装置
JP2005022763A (ja) 給送機構
JP2010069723A (ja) インクジェットプリンタ
JP2011189643A (ja) プリンタ
JP2011189643A6 (ja) プリンタ
JP2010070348A (ja) インクジェットプリンタ
JP2010089459A (ja) インクジェットプリンタ
JP5125932B2 (ja) 画像形成装置
JP5610413B2 (ja) 画像形成装置
JP2010070318A (ja) プリンタ
JP5536380B2 (ja) 両面シートとその搬送装置並びにこれらを用いた画像形成装置及び画像形成方法
JP5439778B2 (ja) インクジェットプリンタ
JP5344229B2 (ja) インクジェット記録装置
JP3790480B2 (ja) サーマルプリンタ
JP5370224B2 (ja) プリンタの搬送調整方法
JP2010069786A (ja) 画像形成装置
JP4425480B2 (ja) インクジェット記録装置

Legal Events

Date Code Title Description
A711 Notification of change in applicant

Free format text: JAPANESE INTERMEDIATE CODE: A712

Effective date: 20110225

A621 Written request for application examination

Free format text: JAPANESE INTERMEDIATE CODE: A621

Effective date: 20110819

A977 Report on retrieval

Free format text: JAPANESE INTERMEDIATE CODE: A971007

Effective date: 20121019

A131 Notification of reasons for refusal

Free format text: JAPANESE INTERMEDIATE CODE: A131

Effective date: 20121106

A521 Request for written amendment filed

Free format text: JAPANESE INTERMEDIATE CODE: A523

Effective date: 20121213

RD02 Notification of acceptance of power of attorney

Free format text: JAPANESE INTERMEDIATE CODE: A7422

Effective date: 20121213

TRDD Decision of grant or rejection written
A01 Written decision to grant a patent or to grant a registration (utility model)

Free format text: JAPANESE INTERMEDIATE CODE: A01

Effective date: 20130604

A61 First payment of annual fees (during grant procedure)

Free format text: JAPANESE INTERMEDIATE CODE: A61

Effective date: 20130617

R150 Certificate of patent or registration of utility model

Free format text: JAPANESE INTERMEDIATE CODE: R150

Ref document number: 5309829

Country of ref document: JP

Free format text: JAPANESE INTERMEDIATE CODE: R150

S533 Written request for registration of change of name

Free format text: JAPANESE INTERMEDIATE CODE: R313533

R350 Written notification of registration of transfer

Free format text: JAPANESE INTERMEDIATE CODE: R350

R250 Receipt of annual fees

Free format text: JAPANESE INTERMEDIATE CODE: R250

R250 Receipt of annual fees

Free format text: JAPANESE INTERMEDIATE CODE: R250

R250 Receipt of annual fees

Free format text: JAPANESE INTERMEDIATE CODE: R250

R250 Receipt of annual fees

Free format text: JAPANESE INTERMEDIATE CODE: R250

R250 Receipt of annual fees

Free format text: JAPANESE INTERMEDIATE CODE: R250

R250 Receipt of annual fees

Free format text: JAPANESE INTERMEDIATE CODE: R250

R250 Receipt of annual fees

Free format text: JAPANESE INTERMEDIATE CODE: R250

R250 Receipt of annual fees

Free format text: JAPANESE INTERMEDIATE CODE: R250

R250 Receipt of annual fees

Free format text: JAPANESE INTERMEDIATE CODE: R250

R250 Receipt of annual fees

Free format text: JAPANESE INTERMEDIATE CODE: R250