JP2010068898A - 遊技機用制御基板収納ケースおよび遊技機 - Google Patents
遊技機用制御基板収納ケースおよび遊技機 Download PDFInfo
- Publication number
- JP2010068898A JP2010068898A JP2008237608A JP2008237608A JP2010068898A JP 2010068898 A JP2010068898 A JP 2010068898A JP 2008237608 A JP2008237608 A JP 2008237608A JP 2008237608 A JP2008237608 A JP 2008237608A JP 2010068898 A JP2010068898 A JP 2010068898A
- Authority
- JP
- Japan
- Prior art keywords
- case
- sealing
- control board
- wall
- main body
- Prior art date
- Legal status (The legal status is an assumption and is not a legal conclusion. Google has not performed a legal analysis and makes no representation as to the accuracy of the status listed.)
- Withdrawn
Links
Images
Landscapes
- Pinball Game Machines (AREA)
Abstract
【課題】「不正行為の実行」を早期に発見することができる遊技機用制御基板収納ケースと、かかる遊技機用制御基板収納ケースを備える遊技機を提供する。
【解決手段】ケース本体(第1のケース本体)82とケース本体82から突出する封止本体87cとを具備するケース部材(第1のケース部材)81と、カバー本体(第2のケース本体)921とカバー本体921から突出する封止本体922dを具備するカバー部材92とを備える。ケース本体921及びカバー本体921により内部に制御基板を収納する収納体を構成するとともに、重ね合わせた状態とされる封止本体87c及び封止本体922dを封止ピン(連結部材)96で連結して封止される。封止本体87cと封止本体922dとの重ね合わせ部の周囲に保護壁500を設ける。
【選択図】図19
【解決手段】ケース本体(第1のケース本体)82とケース本体82から突出する封止本体87cとを具備するケース部材(第1のケース部材)81と、カバー本体(第2のケース本体)921とカバー本体921から突出する封止本体922dを具備するカバー部材92とを備える。ケース本体921及びカバー本体921により内部に制御基板を収納する収納体を構成するとともに、重ね合わせた状態とされる封止本体87c及び封止本体922dを封止ピン(連結部材)96で連結して封止される。封止本体87cと封止本体922dとの重ね合わせ部の周囲に保護壁500を設ける。
【選択図】図19
Description
本発明は、遊技機用制御基板収納ケースと、かかる遊技機用制御基板収納ケースを有する遊技機に関し、セブン機、羽根物、権利物等の弾球遊技機や、スロットマシン(若しくはパチスロ)と称される回胴式遊技機に対して適用することができる。
弾球遊技機や回胴式遊技機は、遊技を制御するための遊技機用制御基板(以下、「制御基板」という。)を備えている。そして、この種の制御基板の中には、種々の目的で、所定の遊技機用制御基板収納ケース(以下、「制御基板収納ケース」という。)に収納して用いられるものがある。例えば、第1のケース部材及び第2のケース部材を具備する制御基板収納ケースに制御基板を収納して用いることがある。
ところで、弾球遊技機や回胴式遊技機においては、例えば、制御基板に実装された電子部品(ROM等)を不正な電子部品(ROM等)に交換したり、制御基板そのものを不正な制御基板に交換するいう不正行為等を防止することが要求される。また、仮に、この種の不正行為が行われた場合においても、当該「不正行為の実行」を早期に発見可能であることが要求される。
このため、図28(a)に示すように、第1のケース部材500Aに設けられる第1の封止部501Aと、第2のケース部510Aに設けられる第2の封止部511Aとを連結部材(ビス等)570Aで連結固定して制御基板収納ケースを封止するとともに、連結部材(ビス等)570Aの頭部をキャップ580A等で被覆することが行われている(特許文献1を参照、以下「従来例」という。)。これにより、第1のケース部材500Aと第2のケース部510Aとを分離することが困難となる。
特開平10−290870号公報
しかし、この従来例には以下のような問題点が存在する。例えば、不正行為者が、工具(ディスクグラインダー等)590Aを使用して連結部材570Aを破壊しようと考える場合、第1の封止部501Aと第2の封止部511Aとの重ね合わせ部(重ね合わせ面)550Aに存在する僅かな隙間(図中、第1の封止部501Aの底面と、第2の封止部511Aの上面との間の隙間)S8が不正行為者にターゲットとなり易い。そして、この重ね合わせ部(重ね合わせ面)550Aに沿って工具590Aを挿入させ、図28(b)に示すように、第1の封止部501Aと第2の封止部511Aを連結している連結部材570を破壊した場合、工具590Aを挿入させた痕跡(以下、「切断部」という。)595が、元々重ね合わせ部(重ね合わせ面)550Aであった位置において制御基板収納ケース外に露呈することになる。
この場合、パチンコホールの店員等が、制御基板収納ケースの外観を目視で観察しても、切断部595部が不正行為により形成された切断部595部であるのか、元々存在していた隙間S8であるのかを直ちに判別することは必ずしも容易ではない。このため、不正行為の早期発見が困難な場合がある。
本発明は、このような問題を解決するためになされたものであり、その目的とするところは、「不正行為の実行」を早期に発見することができる制御基板収納ケースと、かかる制御基板収納ケースを備える遊技機を提供することにある。
請求項1記載の制御基板収納ケースは、
第1のケース本体と該第1のケース本体に設けられる第1の封止部とを具備する第1のケース部材と、
第2のケース本体と該第2のケース本体に設けられる第2の封止部とを具備する第2のケース部材と、を備え、
前記第1のケース本体及び前記第2のケース本体により遊技機用制御基板を内部に収納する収納体を構成するとともに、重ね合わせられる前記第1の封止部及び前記第2の封止部を連結部材で連結することにより封止される制御基板収納ケースであって、
前記第1の封止部と前記第2の封止部との重ね合わせ部の周囲に障害部を設けたことを特徴とする。
第1のケース本体と該第1のケース本体に設けられる第1の封止部とを具備する第1のケース部材と、
第2のケース本体と該第2のケース本体に設けられる第2の封止部とを具備する第2のケース部材と、を備え、
前記第1のケース本体及び前記第2のケース本体により遊技機用制御基板を内部に収納する収納体を構成するとともに、重ね合わせられる前記第1の封止部及び前記第2の封止部を連結部材で連結することにより封止される制御基板収納ケースであって、
前記第1の封止部と前記第2の封止部との重ね合わせ部の周囲に障害部を設けたことを特徴とする。
請求項1の発明で、障害部が重ね合わせ部の周囲に設けられているため、工具で(ディスクグラインダー等)を重ね合わせ部に沿って挿入させ、連結部材を破壊しようとすると、先ず、第1の封止部及び第2の封止部とは別に構成される障害部が破壊される。一方、パチンコホールの店員等が正当に制御基板収納ケースを開封する場合、障害部が破壊されないため、障害部の破壊の有無により、不正行為が行われた否かを判断することが容易である。よって、請求項1の発明の制御基板収納ケースによると、「不正行為の実行」を早期に発見することができる。
尚、請求項1の発明によると、不正行為者が不正行為を試みたが中途で断念した場合も、障害部に破損を生ずるため、パチンコホールの店員等が不正行為が試みられた痕跡を発見することが容易である。このため、請求項1の発明によると、例えば、対象となる遊技機が不正行為者のターゲットとなり易い機種であるか否か等を判別することも容易である。
ここで、各請求項の発明において、障害部の構成を種々選択することができる。例えば、障害部は重ね合わせ部を囲む壁状とされてもよいし、重ね合わせ部の周囲に単数若しくは複数個配置される部材(例えば、柱状の部材)で構成してもよい。尚、障害部を透明な素材(例えば、透明な合成樹脂)によって構成することが望ましい。蓋し、障害部が透明であると、第1の封止部及び第2の封止部に工具を用いた切断部が存在することも、障害部を透して判別することができるからである。
また、各請求項の発明において、重ね合わせられる第1の封止部及び第2の封止部(重ね合わせ部)の縁部と、障害部との間には隙間部(空間部)が形成されることが望ましい。蓋し、障害部と、第1の封止部の縁部及び第2の封止部との間に隙間部が形成されていると、障害部が破壊されたことを確認することが一層、容易であるからである。特に、障害部が、第1の封止部及び第2の封止部との間に隙間を形成しつつ、第1の封止部及び第2の封止部の縁部を包囲する状態(壁状体若しくは連続配置される柱状体)として構成する場合には、障害部が破壊されたことを確認することがより一層、容易である。蓋し、「第1の封止部及び第2の封止部の縁部で露呈する切断部の開口部」よりも、障害部が破壊されることによる痕跡の方が大きくなる(例えば、一周り、二周り等大きくなる)ため、パチンコホールの店員等にとって、発見することがより一層容易となるからである。
尚、各請求項の発明において、障害部は、第1のケース本体又は第2のケース本体と一体にされていてもよいし、別々とされてもよい。また、第1の封止部及び第2の封止部は、第1のケース本体及び第2のケース本体の1箇所に設けられてもよいし、複数箇所に設けられてもよい。例えば、第1のケース本体及び第2のケース本体が略矩形の平面形状を備える場合、対向配置される一対の縁部に第1の封止部及び第2の封止部を設け、各縁部毎に障害部を設けてもよい。
請求項2に記載の制御基板収納ケースは、請求項1に記載の制御基板収納ケースにおいて、
前記第1の封止部は前記第1のケース本体の周縁部から突出する状態に設けられ、前記第2の封止部は前記第2のケース本体の周縁部から突出する状態に設けられるとともに、
前記障害部は、前記重ね合わせ部を囲む壁状に形成されることを特徴とする。
前記第1の封止部は前記第1のケース本体の周縁部から突出する状態に設けられ、前記第2の封止部は前記第2のケース本体の周縁部から突出する状態に設けられるとともに、
前記障害部は、前記重ね合わせ部を囲む壁状に形成されることを特徴とする。
請求項2の発明では、障害部が重ね合わせ部を被う壁状に形成されているため、重ね合わせ部の延長上どちらの方向から工具を挿入しても、確実に障害部を破壊することとなり、「不正行為の発見」をより確実に行うことができる。尚、請求項2の発明において、重ね合わせ部の突出側周縁部(重ね合わせ部における第1のケース本体及び第2のケース本体と一体化する基端側の縁部を除く、周縁部)を包囲する壁状の障害部(保護壁)を例示することができる。
請求項3に記載の制御基板収納ケースは、請求項1又は2に記載の制御基板収納ケースにおいて、
前記第1の封止部及び前記第2の封止部が複数組設けられ、
前記封止の際に、各組の前記第1の封止部及び前記第2の封止部が各々別個の連結部材で連結され、
各組の前記第1の封止部及び前記第2の封止部の各々に対して、障害部を備えることを特徴とする。
前記第1の封止部及び前記第2の封止部が複数組設けられ、
前記封止の際に、各組の前記第1の封止部及び前記第2の封止部が各々別個の連結部材で連結され、
各組の前記第1の封止部及び前記第2の封止部の各々に対して、障害部を備えることを特徴とする。
請求項3の発明によると、第1の封止部と、第2の封止部と、障害部とが複数個設けられているため、不正行為者は各々の箇所において障害部を破壊することになる。このため、「不正行為の発見」を更に容易に行うことができる。また、不正行為者にとっては、複数箇所で不正行為(障害部や連結部材等の破壊)を行うことを強いられるため、不正行為者の側が、「不正行為の実行」を回避する可能性がある。
各請求項の発明においては、第1の封止部と第2の封止部とを複数設け、重ね合わせ部が複数箇所設けられる場合、複数の重ね合わせ部を守備範囲(例えば、包囲する。)とする障害部(例えば、保護壁)を設けることができる。この場合、1つの障害部(例えば、保護壁)を共有する「重ね合わせ部の組み合わせ」が複数組存在してもよい。そして、この場合、制御基板収納ケースに際して、各組を構成する複数の第1の封止部と第2の封止部が同時に使用されてもよいし、封止を行う毎に別々に使用されてもよい。
各請求項の発明においては、第1の封止部と第2の封止部とに連結部材の装着箇所を1つだけ設けてもよいし、複数設けてもよい。例えば、第1の封止部に複数個の第1の孔を設け、第2の封止部に複数個の第2の孔を設けるとともに、第1の封止部と第2の封止部とを重ね合わせる際に、対応関係にある第1の孔と第2の孔とを連通させる。そして、所定の1組の「第1の孔と第2の孔とに対して、第1の孔及び第2の孔の順で、若しくは、その逆の順で、連結部材(ビス等)を装着することで、第1の封止部と第2の封止部とを連結してもよい。この場合、1度の封止に際して、1組の「第1の孔及び第2の孔」に連結部材(ビス等)を装着してもよいし、1度の封止に際して、複数組の「第1の孔及び第2の孔」に連結部材(ビス等)を装着してもよい。また、請求項3の発明のように、第1の封止部と第2の封止部とを複数組設ける態様においても、各組の毎に複数組の「第1の孔及び第2の孔」を備えてもよい。
請求項4に記載の遊技機は、請求項1〜3の何れか一項に記載の制御基板収納ケースを備えることを特徴とする。
請求項4の発明によると、「不正行為の実行」を早期に発見することができる制御基板収納ケースを備える遊技機を得ることができる。尚、請求項4の発明は遊技機は、弾球遊技機(パチンコ機)であってもよいし、スロットマシン(若しくはパチスロ)と称される回胴式遊技機であってもよい。
以上記述したように請求項1〜3の各発明によれば、「不正行為の実行」を早期に発見することができる制御基板収納ケースを得ることができる。また、請求項4の発明によれば、「不正行為の実行」を早期に発見することができる制御基板収納ケースを備える遊技機を得ることができる。
以下、発明を実施するための最良の形態を示す実施例について図面に基づいて説明する。以下に示す各実施例では、各請求項に係る発明を、「セブン機」と称する遊技機(パチンコ機)1に適用した各具体例について説明する。
(1)機械的な構造
a.遊技機の前面側の全体構造
先ず、この遊技機1の全体構造について、図1〜図3を参照して説明する。この遊技機1は、図1及び図2に示すように、外枠2と、この外枠2に装着された遊技機本体Hと、を備えている。
a.遊技機の前面側の全体構造
先ず、この遊技機1の全体構造について、図1〜図3を参照して説明する。この遊技機1は、図1及び図2に示すように、外枠2と、この外枠2に装着された遊技機本体Hと、を備えている。
外枠2は、パチンコホールの島設備に設けられた設置部位に固定されると共に遊技機本体Hを支持するためのものである。この外枠2は、略矩形状の枠状体によって構成される外枠本体21(図1及び2を参照)と、外枠本体21の前面下部を覆う前板部22とを備えている。
遊技機本体Hは、外枠2の左端側上下のヒンジH1、H2(図1を参照)を用いて、外枠2の左端側に回動自在に組み付けてられている。この遊技機本体Hは、遊技機1のうちで外枠2を除く部分であって、図1に示すように、本体枠3と、前面枠(ガラス扉枠)4と、上皿部材5と、下皿部材6と、遊技盤10(図4を参照)と、裏機構盤102(図6を参照)等を主要部としている。
本体枠3は、図3に示すように、外枠2に嵌めこまれ、外枠2に対して開閉可能に軸支されている。尚、本体枠3の右端側には、施錠装置7が装着されている。この施錠装置7は、本体枠3を外枠2に施錠したり、前面枠4や上皿部材5を本体枠3に施錠するために用いられる。
本体枠3は、全体がプラスチック製であり、図3に示すように、枠状体によって構成されている。この本体枠3は、上半部に窓部3Mを備える枠本体部3bと、枠本体部3bの裏面部から略矩形枠状に突出する突出部3cとを備える。そして、本体枠3は、この突出部3cを用いて遊技盤10を保持するための保持部を構成している。つまり、突出部3cの突端面であって、窓部3Mの左方側の上下と、窓部3Mの右方側の上下には保持具3fが回動可能な状態で装着されている。そして、遊技盤10の前面部を前方に向けつつ突出部3cに嵌合するとともに、保持具3fの突端部を遊技盤10の後面部に当接させると、遊技盤10が本体枠3により保持される。
本体枠3が遊技盤10を保持したとき、「遊技盤10の前面部10aに構成される遊技領域11」を、窓部3Mによって本体枠3の前方から視認することができる。また、遊技盤10の背面部には、裏機構盤102(図6参照)が装着され、この背面部を覆う状態とされている。
前面枠4は、図1に示すように、本体枠3の前面側に配置され、本体枠3の左端に開閉可能に支持されている。この前面枠4はその中央部に視認窓41aを備えている。この視認窓41aは前面枠4の前後に貫通する状態に設けられ、遊技盤10の盤面に形成された遊技領域11(図4参照)の外周形状に対応して略円周状に開設されている。そして、前面枠4を閉じたときにその背後に配置される遊技領域11が、この視認窓41aによって前方から視認可能とされる。
前面枠4は、図1に示すように、枠本体41と、この枠本体41に装着されるガラス板43と、ガラス板43を枠本体41に保持させるための保持具(図示を省略)とを備える。また、前面枠4の上端部側の左右には、各々スピーカSP1、SP2(図8参照)が内蔵されている。また、本遊技機1においては、前板部22の左右両端にも、スピーカSP3、SP4(図8参照)が内蔵されている。そして、本遊技機1においては、これらのスピーカSP1〜SP4を用いて、遊技状態に応じた効果音その他の音(音声)を発生させる。
遊技機本体Hの前面部のうちで前面枠4の下方の部位には、上皿部材5と下皿部材6とが設けられている。すなわち、上皿部材5は前面枠4の下方に配置され、その略容器形状とされる内部に遊技機1から排出される遊技球を受け入れるための受入口5bを備えている。尚、上皿部材5の裏側には、球貸表示基板410(図7参照)及び演出ボタン基板228(図8参照)が設けられ、上皿部材5の上面部には「球貸操作部5c」と操作スイッチSWとが配置されている。
図1及び図2に示すように、下皿部材6は上皿部材5の下方に配置されている。この下皿部材6の略中央には、その略容器形状とされる内部に上皿部材5から排出される遊技球を受け入れるための受入口6aを備えている。また、下皿部材6の左端には灰皿6bが設けられ、下皿部材6の右端には発射ハンドル9が設けられている。また、下皿部材6の底面には球抜き孔(図示を省略)が設けられ、下皿部材6に貯留された遊技球を遊技機1から排出する際に開放状態とされる。
発射ハンドル9は発射装置ユニット(図示を省略)に接続されている。この発射ハンドル9には、遊技者がハンドルに触れていることを検出するタッチスイッチ9aが装着されており、その近傍には、遊技球の発射を一時的に停止するための発射停止スイッチ9bが装着されている。また、遊技機1の左端側には、プリペイドカードユニットが設けられている(図示を省略)。
b.遊技盤10の構成
次に、遊技盤10の構成について図4等を用いて説明する。この遊技盤10は正面視で略矩形状の合板を用いて構成される遊技盤本体10Aと、この遊技盤本体10Aに装着される各種の盤部品(外側レール12、内側レール13、メイン役物装置20等)が装着されている。尚、この遊技盤本体10Aの前面部には、セル画が印刷されたシート状物が貼着されているが図示を省略する。
次に、遊技盤10の構成について図4等を用いて説明する。この遊技盤10は正面視で略矩形状の合板を用いて構成される遊技盤本体10Aと、この遊技盤本体10Aに装着される各種の盤部品(外側レール12、内側レール13、メイン役物装置20等)が装着されている。尚、この遊技盤本体10Aの前面部には、セル画が印刷されたシート状物が貼着されているが図示を省略する。
遊技盤本体10Aは、正面視で略円形とされる領域形成部10Bと、領域形成部10Bの周囲に位置する領域外部10Cとを備える。また、遊技盤本体10Aの前面部には、ともに帯状の金属板を用いて構成される外側レール12と、内側レール13とが配設されている。そして、領域形成部10Bの前面部は、この外側レール12及び内側レール13が形成する略円形の周壁によって略包囲されつつ、遊技領域11を構成している。
この領域形成部10B(つまり、遊技盤10において遊技領域11内に位置する部位)には、メイン役物装置20と、普通図柄作動ゲート(普通図柄作動口)16と、始動入賞装置17と、下部装置30と、左下表示装置50と、右下表示装置60と、4個の一般入賞装置40、41、43、44と、多数の障害釘(図示を省略)と、風車19等が配設されている。
メイン役物装置20は、取付部材(化粧板)21と、中央表示装置27とを備えている。このうち、取付部材21は、領域形成部10Bの前面部に装着される板状体によって構成され、遊技領域11の上半部のうちで、左端側を除く部位を構成している。この取付部材(化粧板)21には、窓部形成孔21dが設けられている。そして、この窓部形成孔21dは、正面視で略矩形状の表示窓21eを構成している。
取付部材21の頂部から右側縁部の下端に至る部位は、外側レール12に近接し、頂部から左側縁部の上端に至る部位には、上部装飾部材21nが前方に突出する状態に装着されている。また、取付部材21の左側縁部には、左側装飾部材21qが前方に突出する状態に装着され、取付部材21の下縁部には、ステージ部材21pが前方に突出する状態に装着されている。
左側装飾部材21qは、内部に遊技球通路(図示を省略)が形成された造形物21rを備えている。この遊技球通路の進入口は、左斜め上方に向かって開口し、遊技領域11を流下する遊技球を、この進入口で受け入れ、メイン役物装置20の内部に進入させる。
ステージ部材21pは、その上面部によって、遊技球の転動面を構成する。この転動面は、左右の端部から中央部に向かって下する傾斜面として構成されている。但し、転動面の中央部では、上方に向かって僅かに隆起する隆起部とされている。また、ステージ部材21pには、転動面上の遊技球を、メイン役物装置20の外部に排出するための排出通路が設けられている。尚、排出通路の入口部21uは、転動面の中央部の背後において、この中央部と連続する位置で開口し、排出通路の出口部21vは、この中央部よりも下方の位置で開口している。
本実施例では、遊技領域11を流下し、メイン役物装置20の内部に進入した遊技球は、転動面の左端部に到達し、転動面上を右方向に転動し、更に、左方向に転動する。そして、遊技球の勢いを衰えたところで、この遊技球は、排出通路を通過してメイン役物装置20外に排出されるか、或いは、転動面の前縁部から、メイン役物装置20外に排出される。尚、出口部21vの直下に、後述する始動入賞装置17が位置している。
中央表示装置27は、後述する右下表示装置60と同様に、可変表示装置の具体例を構成する。但し、この中央表示装置27においては、右下表示装置60における特別図柄の変動表示および停止表示に連動する演出表示(変動表示および停止表示)を実行する。尚、本実施例では、右下表示装置60が、本図柄(特別図柄の一具体を示す。)を表示するための「可変表示装置」を構成し、中央表示装置27が、疑似図柄(特別図柄の他の具体例を示す。)を表示するための「可変表示装置」を構成する。
中央表示装置27の表示画面27aは可変状態に用いられ、その全体、若しくは、一部を用いて種々の図柄を表示可能である。この表示画面27aには、3つの疑似図柄表示部が出現し、これらの疑似図柄表示部において「3桁の疑似図柄」を用いた変動表示(順次、変更される疑似図柄の表示)と、停止表示(停止した疑似図柄の表示)等がなされる。
普通図柄作動ゲート(普通図柄作動口)16は、遊技領域11において、メイン役物装置20の左側方に位置する部位に配設されている。また、この普通図柄作動ゲート16内には普通図柄作動ゲート通過検出スイッチ16s(図7参照)が配設されている。そして、普通図柄作動ゲート通過検出スイッチ16sを遊技球が通過することを前提に、「普通図柄の変動開始条件」が成立すると、左下表示装置50(後述する。)において、普通図柄の変動表示(具体的は、普通図柄用のランプ装置の点滅表示)を開始する。そして、普通図柄の変動開始後、所定の変動時間を経過すると、普通図柄の確定表示(点灯、若しくは、消滅)がなされる。そして、普通図柄の当り表示(点灯表示)がなされると、普通電動役物17(後述する。)が、所定時間(例えば、0.5秒)開放駆動される。
始動入賞装置17は、ステージ部21dの排出路の直下に位置する部位に配設されている。そして、第1の始動入賞部17aと、第2の始動入賞部17bとを上下に配設した構成を備える。このうち、第1の始動入賞部17aは、上方に開口部、つまり、第1の始動口を開口させたポケット形状を備えている。この第1の始動口は、排出通路の出口部21vの直下に位置するため、排出通路を通過した遊技球は、この第1の始動口を通じて、始動入賞装置17に入賞する確率が高くされている。
第2の始動入賞部17bは、第1の始動入賞部17aの略直下に位置すると共に、入口側部分に普通電動役物を備えている。この普通電動役物は、いわゆるチューリップ式で左右に一対の翼片部が開閉するべく形成されている。つまり、第2の始動入賞部17bは、この一対の翼片部を作動させるための普通電動役物ソレノイド17c(図7参照)を備えている。そして、この一対の翼片部が左右に開くと、遊技球の入球可能性が大きくなる開放状態となり、一対の翼片部が立設され、遊技球の入球可能性が小さくなる通常状態となる。
始動入賞装置17の内部には、第1の始動入賞部17a、若しくは、第2の始動入賞部17bを遊技球の通過を検出する始動入賞検出スイッチ17s(図7参照)が配設されている。つまり、第1の始動入賞部17aに入賞した遊技球と、第2の始動入賞部17bに入賞した遊技球は、始動入賞装置17内の同一の通路(図示を省略)を通過し、この通路の経路途中に配設された始動入賞検出スイッチ17sによって検出される構成となっている。
下部装置30は、始動入賞装置17の下方に配設されている。この下部装置30は、可変入賞装置(大入賞装置)31によって構成されている。この可変入賞装置31は、遊技盤10の前面部10aに装着された取付板部31kを備える。この取付板部31kは、略中央部において平面形状が略帯状の開口部を表裏を貫通する状態に備え、この開口部によって大入賞口31aを構成している。そして、この大入賞口31aの後端部は、「大入賞口入賞通路(大入賞口31aから入賞する遊技球を通過させるための通路であり、図示を省略する。)」に連絡されている。
そして、可変入賞装置(大入賞装置)31は、この大入賞口31aを開放・閉鎖するための開閉板31bと、この開閉板31bを駆動するための大入賞口ソレノイ31c(図7参照)と、大入賞口入賞通路の経路途中若しくは経路端末部に設けられた入賞球検出スイッチ31s(図7参照)と、を備えている。この可変入賞装置(大入賞装置)31は、開閉板31bが起立姿勢となると、この開閉板31bが大入賞口31aを閉鎖するため、可変入賞装置(大入賞装置)31への遊技球の入賞が不可能となる。一方、開閉板31bが、その下端部を支点に前方に傾動して前傾姿勢となると、大入賞口31aを開放されると共に、開閉板31bの後面部(背面部)が遊技領域11を流下し、可変入賞装置(大入賞装置)31へ到達した遊技球を、大入賞口31aに誘導する誘導部を構成する。
左下表示装置50は、可変入賞装置(大入賞装置)31の左側方に配置されている。この左下表示装置50は、図5(a)に示すように、略円弧状に構成されると共に、遊技盤10の前面部に取り付けられる取付板51を備えている。そして、この取付板51には、普通図柄保留表示部52と、特別図柄保留表示部53と、遊技状態表示部55と、普通図柄表示部56とが設けられている。
普通図柄保留表示部52は、2個のLEDを用いて構成され、所謂「普通図柄に関する保留数」を、4個を上限として表示するものである。つまり、「普通図柄作動ゲート(普通図柄作動口)16を通過したが、未だ、未消化の遊技球の数(即ち、保留数)」を、4個上限数として表示すると共に、未消化の遊技球が消化される毎に、「未消化の遊技球の数(即ち、保留数)」を、順次、デクリメントして表示するものである。ここで、普通図柄に関する「未消化の遊技球(つまり、保留球)」とは、普通図柄作動ゲート(普通図柄作動口)16を通過したが、後述する普通図柄表示部56において、当該通過に伴う当否抽選の結果の表示(抽選結果図柄の確定表示)と、これに先行する変動表示(本実施例では、LEDを用いて点滅表示)とがなされていない遊技球を指す。
特別図柄保留表示部53も、2個のLEDを用いて構成され、所謂「特別図柄に関する保留数」を、4個を上限として表示するものである。つまり、「始動入賞装置17に入賞したが、未だ、未消化の遊技球の数(即ち、保留数)」を、4個上限数として表示すると共に、未消化の遊技球が消化される毎に、「未消化の遊技球の数(即ち、保留数)」を、順次、デクリメントして表示するものである。ここで、特別図柄に関する「未消化の遊技球(つまり、保留球)」とは、始動入賞装置17に入賞したが、後述する特別図柄表示部61において、当該通過に伴う当否判定の結果の表示(判定結果図柄の確定表示)と、これに先行する変動表示とがなされていない遊技球を指す。
尚、本実施例では、「遊技球が、普通図柄作動ゲート(普通図柄作動口)16を通過すること条件に、主制御部200Aによって実行される判断、つまり、普通電動役物17d(第2の始動入賞部17b)を開放状態とすべきか否かの判断を、「当否抽選」と称する。また、「遊技球が、始動入賞装置17に入賞すること条件に、主制御部200Aによって実行される判断、つまり、可変入賞装置(大入賞装置)31の開放を許容するか否かの判断(遊技機の遊技状態を、可変入賞装置31を閉鎖状態に維持する通常遊技状態から、可変入賞装置31の開閉を行う特別遊技状態にすべきか否かの判断)が「当否判定」の具体例を構成する。
普通図柄保留表示部52及び特別図柄保留表示部53においては、同様な態様で、保留数の表示を行う。つまり、2個LEDを消灯させることで、「保留数」が「ゼロ」であることを示す。また、1個のLEDを点灯させ、1個のLEDを消灯させることで、「保留数」が「1」であることを示す。更に、2個のLEDを点灯させることで、「保留数」が「2」であることを示す。また、1個のLEDを点滅させ、1個LEDを点灯させることで、「保留数」が「3」であることを示す。更に、2個のLEDを点滅させることで、「保留数」が「4」であることを示す。
遊技状態表示部55は、2個のLED55a、55bを用いて構成され、遊技機1の現在の遊技状態を表示するために用いられる。つまり、2個のLED55a、55bを消灯させることで、「遊技機1の現在の遊技状態が通常遊技状態である」旨が表示される。また、一方のLED55aを点灯させ、他方のLED55bを消灯させて、「遊技機1の現在の遊技状態が確変遊技状態である」旨が表示される。更に、一方のLED55aを消灯させ、他方のLED55bを点灯させて、「遊技機1の現在の遊技状態が時短遊技状態である」旨が表示される。
右下表示装置60は、可変入賞装置(大入賞装置)31の右側方に配置されている。この右下表示装置60は、図5(b)に示すように、略円弧状に構成されると共に、遊技盤10の前面部に取り付けられる取付板61を備えている。そして、この取付板61には、特別図柄表示部62と、大当り態様表示部63と、が設けられている。
特別図柄表示部62は、略長円状に配設された「7個のLED62a〜62g」を用いて構成され、「始動入賞装置17への遊技球の入賞(以下、「始動入賞」という。)に伴う当否判定の結果の表示」を、変動表示(本実施例では、複数のLEDを用いて点灯表示)を経て実行する。つまり、この「当否判定に関する結果の表示に、先行する変動表示」の実行時期が到来すると、「7個のLED62a〜62g」を順次、点灯させる。具体的には、略長円状に配設された「7個のLED62a〜62g」において、この「略長円状を周回する方向に沿って、7個のLED62a〜62g」が点灯することを内容とする
より具体的には、所定のLED(例えば、LED62a)が点灯状態となると、残りのLED(例えば、LED62b〜62g)は消灯状態となる。このLED(例えば、LED62a)が消灯状態となると、略長円状を周回する方向に隣合う1つのLED(例えば、LED62b)のみが点灯状態となる。そして、点灯状態となるLEDを、略長円状を周回する方向に沿って順次変更することで、特別図柄表示部62の変動表示が実行される。この変動表示(以下、「LED62b〜62gを用いた循環表示」という。)を実行し、「特別図柄に関する当否判定に関する結果の表示」の実行時期が到来すると、特別図柄表示部62において、特別図柄の停止表示(確定表示)が実行される。尚、特別図柄表示部62において表示される遊技の結果(当否判定の結果)と、中央表示装置27において表示される遊技の結果(当否判定の結果)は一致するものとされる。
大当り態様表示部63は、2個のLED63a、63bを用いて構成される。この大当り態様表示部63は、主に、「特別図柄に関する当否判定に関する結果が大当りである場合、その大当りの種類」を表示するために用いられる。つまり、特別図柄表示部62において大当り表示がなされていない場合には、2個のLED63a、63bは消灯状態とさせる。そして、特別図柄表示部62において大当り表示がなされる場合、何れかのLED63a、63bを点灯させて、当該大当りの種類が表示される。
図5(a)に示すように、2個の一般入賞装置40、41は、左下表示装置50を構成する取付板51に一体化され、図5(b)に示すように、残りの2個の一般入賞装置43、44は、右下表示装置60を構成する取付板61に一体化されている。そして、各一般入賞装置40、41、43、44の内部には、遊技球の入賞を検出するための入賞検出スイッチ40s、41s、43s、44s(図7参照)が配設されている。
図4に戻り、多数の障害釘(図示を省略)は、以上説明した各盤部品との位置バランスを考慮して、遊技領域11にパチンコ遊技に適するべく、配設され、遊技盤10の下方にはアウト口18が設けられている。更に、アウト口18の下部にはバック球防止部材(図示を省略)が設けられている。そして、遊技領域11に到達せず戻ってきた遊技球が再び発射位置に戻ることを防止している。一方、ファール球防止部材15は、内レール13の先端部に取り付けられている。
c.遊技機1の裏面構造
次に、本実施例の遊技機1の裏面構造について図6を参照して説明する。つまり、遊技機1の裏面構造は、大きな裏パック102の上に各種装置が搭載された構造となっており、裏パック102は、一対のヒンジ103によって中枠3に開閉可能に軸支されている。
次に、本実施例の遊技機1の裏面構造について図6を参照して説明する。つまり、遊技機1の裏面構造は、大きな裏パック102の上に各種装置が搭載された構造となっており、裏パック102は、一対のヒンジ103によって中枠3に開閉可能に軸支されている。
裏パック102には、遊技球が蓄えられる賞球タンク105と、賞球の払出を行う賞球払出装置109と、主制御部200Aを構成する主制御基板200が格納された主制御基板ケース80と、発射装置ユニットを制御する発射制御基板260が格納された発射装置制御基板ケース130と、賞球払出装置109を制御する払出制御基板240が格納された払出制御基板ケース118と、主制御基板200と各種スイッチ類とを中継する中継端子板などが搭載されている。ここで、主制御基板ケース80は、「制御基板収納ケース」の具体例を構成するが、その詳細については後述する。尚、本遊技機1を構成するその他の制御基板(例えば、後述する演出制御基板220)が「制御基板収納ケース」の具体例を構成してもよい。
賞球タンク105には底部にタンクスイッチが設けられており、球切れを検出することができる。また、賞球タンク105と賞球払出装置109とは、タンクレール106によって接続されている。更に、図6において、タンクレール106の右側には球抜きレバーが設けられ、タンクレール106の下流側には補給球切れ検知スイッチが設けられている。
(2)制御回路の構成
次に、図7及び図8を用いて本実施例の遊技機1の制御回路の構成について説明する。本遊技機1の制御回路は、主制御部200Aと、複数の副制御部(220A、240A、260A)とを含んで構成されている。つまり、主制御基板200を用いて構成されると共に遊技の基本的な進行や賞球に関わる当否についての制御を司る主制御部200Aと、複数の副制御部(220A、240A、260A)とを備えている。
次に、図7及び図8を用いて本実施例の遊技機1の制御回路の構成について説明する。本遊技機1の制御回路は、主制御部200Aと、複数の副制御部(220A、240A、260A)とを含んで構成されている。つまり、主制御基板200を用いて構成されると共に遊技の基本的な進行や賞球に関わる当否についての制御を司る主制御部200Aと、複数の副制御部(220A、240A、260A)とを備えている。
副制御部としては、(a)演出制御基板220を用いて構成されると共に、「図柄表示、ランプの発光、効果音、可動物の動作等を用いた遊技の各種の演出の制御を司る演出制御部220Aと、(b)払出制御基板240を用いて構成されると共に貸球や賞球を払い出す動作の制御を司る払出制御部240Aと、(c)発射制御基板260を用いて構成されると共に遊技球の発射に関する制御を司る発射制御部260Aを備える。
これらの制御部(200A、220A、240A、260A)を構成する制御基板(200、220、240、260)は、各種論理演算および算出演算を実行するCPUや、CPUで実行される各種プログラムやデータが記憶されているROM、プログラムの実行に際してCPUが一時的なデータを記憶するRAM、周辺機器とのデータのやり取りを行うための周辺機器インターフェース(PIO)、CPUが演算を行うためのクロックを出力する発振器、CPUの暴走を監視するウォッチドッグタイマ、定期的に割り込み信号を発生させるCTC(カウンター・タイマ・サーキット)など、種々の周辺LSIがバスで相互に接続されて構成されている。尚、図7及び図8の矢印の向きは、データあるいは信号を入出力する方向を表している。また、図7では「主制御基板200以外の制御基板」について、搭載されているCPUや、RAM、ROM等の図示を省略している。
主制御部200A(主制御基板200)は、普通図柄作動ゲート通過検出スイッチ16s、始動入賞検出スイッチ17s、入賞球検出スイッチ40s、41s、43s、44s等から遊技球の検出信号を受け取って、遊技の基本的な進行や賞球に関わる当否を決定した後、演出制御部200A(演出制御基板220)や、払出制御部240A(払出制御基板240)、発射制御部260A(発射制御基板260)等に向かって、後述する各種のコマンドを出力する。また、主制御部200Aには、発射装置ユニットから発射された遊技球を検出するカウントスイッチ8sも接続されている。また、主制御部200Aは、普通電動役物ソレノイド17cや、大入賞口ソレノイ板31c、左下表示装置50、右下表示装置60、駆動モータ88に信号を出力することにより、これらの動作を直接制御している。
演出制御部220Aは、主制御部200Aからの各種コマンドを受け取ると、コマンドの内容を解析して、その結果に応じた遊技の演出を行う。即ち、中央表示装置(液晶表示装置)27を駆動する演出表示制御基板222やスピーカSP1〜SP4を駆動するアンプ基板224が接続されている。また、演出制御部220Aは、「各種LED4b〜4h搭載された基板」等の各種装飾用基板を駆動する装飾駆動基板226に駆動信号を出力することにより、遊技の演出を行う。尚、操作スイッチSWからの操作信号は、演出ボタン基板228を介して、演出制御部220Aに入力される。
払出制御部240Aは、所謂、貸球や賞球の払い出しに関する各種の制御を司っている。例えば、遊技者が受皿扉体5に設けられた球貸スイッチ5eや返却スイッチ5fを操作すると、この信号は、球貸表示基板242から中継端子板を介して、球貸装置に伝達される。
主制御部200Aが賞球の払出コマンドを出力すると、このコマンドを払出制御部240Aが受け取って、払出モータ109mに駆動信号を出力することによって賞球の払い出しが行われる。また、払い出された賞球は、2つの払出スイッチ(前側払出スイッチ109a、後ろ側払出スイッチ109b)によって検出されて、払出制御部240Aに入力される。更に、払い出された賞球数はカウントスイッチ109cによっても検出されて、主制御部200Aでも計数されている。また、払出制御部240Aは、主制御部200Aの制御の下で、遊技球の発射を許可する信号(発射許可信号)を発射制御部260Aに向かって出力している。そして、発射制御部260Aは、この発射許可信号を受けて遊技球を発射するための各種制御を行っている。
次に、演出制御部220A(演出制御基板220)に対する信号或いはコマンドの入出力関係について説明する。前述のように、演出制御部220A(演出制御基板220)には、演出表示制御基板222と、アンプ基板224、装飾駆動基板226、演出ボタン基板228などの各種基板が接続されている。
演出制御部220Aは、前述のように、主制御部200Aから各種の演出用のコマンドを受け取ると、コマンドの内容を解釈して、(a)中央表示装置27での具体的な表示内容や、(b)スピーカSPで出力する効果音、更には、(c)各種LEDやランプ類4b〜4fの点灯若しくは点滅の具体的な態様を決定する。次いで、中央表示装置27の駆動信号(各種の図柄制御コマンド)を演出表示制御部222Aに出力して、演出用図柄の変動停止表示を行う。このとき、表示されるキャラクタ図柄や背景図柄などの一部データについては、中央表示装置27、或いは、演出表示制御基板222に内蔵された演出表示ROM27rに格納されているデータを使用する。
また、疑似図柄の変動停止表示に合わせて、音声信号をアンプ基板224に出力することによって、スピーカSP1〜SP4から効果音を出力する。加えて、装飾駆動基板226に信号を供給し、装飾駆動基板226から、各種LED4b〜4hの駆動信号を出力することによって、各種LED4b〜4hやランプ類の点灯・点滅動作等を制御する。更に、上皿部材5の前面側に設けられた操作スイッチSWを遊技者が操作すると、この操作信号が演出制御部220Aに供給される。そして、演出制御部220Aは、供給された操作信号に基づいて、中央表示装置27を初めとする各種の演出内容に操作結果を反映させることが可能に構成されている。
(3)主制御基板ケース80の構成
主制御基板ケース80は、図9及び図10を用いて示されるように、ケース部材81と、カバー部材92と、封止ピン96と、防犯キャップ98と、ICタグカバー300とを備えている。ここで、ケース部材81とは第1のケース部材の具体例を構成し、カバー部材92とは第2のケース部材を具体例を構成し、封止ピン96は連結部材の具体例を構成する。
主制御基板ケース80は、図9及び図10を用いて示されるように、ケース部材81と、カバー部材92と、封止ピン96と、防犯キャップ98と、ICタグカバー300とを備えている。ここで、ケース部材81とは第1のケース部材の具体例を構成し、カバー部材92とは第2のケース部材を具体例を構成し、封止ピン96は連結部材の具体例を構成する。
尚、この主制御基板ケース80は、図9に示すように、その前面部80Aを遊技機1の後方に向けるようにしつつ、裏パック102に装着される。そして、以下の説明において、「左」、「右」、「前」、「後」等の方向を、主制御基板ケース80が遊技機1に取り付けられた状態を基準に定める。つまり、「前」は、主制御基板ケース80を裏パック102に取り付けた状態にて、遊技機1の背後から見て前方(つまり、遊技者から離間する方向)」を示し、「後」は、遊技機1の背後から見て後方(つまり、遊技者に近接する方向)」を示す。また、「左」とは「遊技機1の背後から見て左(遊技者から見て右)」であることを示し、「右」とは「遊技機1の背後から見て右(遊技者から見て左)」であることを示す。
ケース部材81は、透明な合成樹脂を用いた一体成形品であり、図10〜図14に示すように、ケース本体82と、ケース側封止部87とを備えている。このうちで、ケース本体82は、第1のケース本体の具体例を構成するとともに、前面部を開放部821とする略容器状に構成されている(図12を参照)。そして、ケース本体82は、図11に示すように、略矩形の平面形状を備えつつ後面部に配設される後壁部82aと、後壁部82aの上縁部から前方に向かって略垂直に突出する上壁部82bと、後壁部82aの右側縁部から前方に向かって略垂直に突出する右壁部82cと、後壁部82aの下縁部から前方に向かって略垂直に突出する下壁部82dと、後壁部82aの左側縁部から前方に向かって略垂直に突出する左壁部82eを備えている。
図11に示すように、左壁部82eの外面部の上下方向の略中央部には凹部87Rが設けられ、凹部87Rの上下には、断面略L字状のスライド係合部822sと、断面略逆L字状のスライド係合部823sとが上下に対向する状態に突出している。尚、凹部87Rは後述するICタグ320が装着され、スライド係合部822s、823sとによって、後述するICタグカバー300が保持される。つまり、ケース部材81の右側面部及び底面部右端側の部分であって、両スライド係合部822s、823sで上下を挟まれる部分が僅かに陥没してICタグ装着用の凹部87Rを構成している。
図11に示すように、後壁部82aの前面部において上壁部82bに近接する部位には、前方に向かって略垂直に突出する上リブ82fが設けられ、後壁部82aの前面部において右壁部82cに近接する部位には、前方に向かって略垂直に突出する右リブ82gが設けられている。また、後壁部82aの前面部において下壁部82dに近接する部位にも、前方に向かって略垂直に突出する下リブ82hが設けら、後壁部82aの前面部において左壁部82eに近接する部位には、前方に向かって略垂直に突出する左リブ82iが設けらている。
後壁部82aの前面部において、上リブ82f、右リブ82g、下リブ82h、及び左リブ82hの内側に位置する部位から、補強用の中リブ82kが前方に向かって略垂直に突出している。尚、中リブ82kは後壁部82aの上下方向中間部において、後壁部82aの上下に配設されつつ左リブ82iと右リブ82gとの間を水平方向に接続する横リブ部821kと、後壁部82aの左右に5個配設されつつ上壁部82b及び下壁部82dを接続する縦リブ部822kとを備えている。また、左右の縦リブ部822kは各中間部において横リブ部821kと交差して一体化されている。
後壁部82aの前面部に形成されるリブ(左リブ82i、上リブ82f、下リブ82h、右リブ82g)の突出量(後壁部82aの前方への突出量)は、周壁部(82b、82d及び82e)の突出量(後壁部82aの前方への突出量)よりも少なくされている。また、右リブ82gの突出量(後壁部82aの前方への突出量)は、中リブ(821k及び822k)の突出量と同程度とされており、他のリブ(左リブ82i、上リブ82f、下リブ82h)の突出量の半分以下とされている。
図12に示すように、後壁部82aの前面部において上壁部82bと上リブ82fとの間に位置する部位には後壁部82aの横方向に長尺な空間部(以下、「上部スライド溝」という。)82mを設けている。また、図11及び図12に示すように、上部スライド溝82mの開口側においてケース本体82の横方向に沿った10箇所には、雄型の被係合部82pが形成されている。これらの被係合部82pは、略矩形板状の小片とされつつ、上部スライド溝82mを縦方向に縦断する状態(上リブ82fの突端部と上壁部82bとの間に掛け渡された状態)に形成されている。
図12に示すように、後壁部82aの前面部において下壁部82dと下リブ82hとの間に位置する部位にも、後壁部82aの横方向に長尺な空間部(以下、「下部スライド溝」という。)82nを設けている。また、下部スライド溝82nの開口側においてケース本体82の横方向に沿った10箇所にも、雄型の被係合部82pが形成されている。これらの被係合部82pも、略矩形板状の小片とされつつ、下部スライド溝82nを縦方向に縦断する状態(下リブ82fの突端部と下壁部82dとの間に掛け渡された状態)に形成されている。
図11、図13及び図14に示すように、左壁部82eの右側面(つまり、ケース部材81の内側に位置する面)のおける上端側及び下端側の各2カ所からは、右方向に向かった係合突起822eが突出している。この係合突起822eの縦断面形状は、略「凸の字の上下を逆転した形状(以下、「略逆凸形状」という。)とされている。
図11に示すように、後壁部82aの前面部には、右壁部82cと右リブ82gとの間に位置するとともに、上下に間隔をおいて配置される一対の横リブ823j、824jで挟まれた部位が、前方に開口する収納部82jとされている。尚、両横リブ823j、824j間には、2つの区画壁が配設され、収納部82jを3つの空間部J1、J2、J3に区画している。
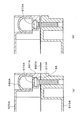
図11及び図13に示すように、右壁部82cにはケース側封止部87が設けられている。このケース側封止部87は、右壁部82cの突端部の上方側の2カ所と、下方側の2カ所から右方向に突出する状態に設けられている。このケース側封止部87は、図15及び図16に示すように、左右に長尺の略板形状に形成される封止本体87cと、封止本体87cの後面部右端部側から後方に突出する筒状部87eと、封止本体87cの後面部の周縁部より後方に突出し、筒状部87e及び右壁部82cを連結する2本のリブ87aと、を備えている。ここで、封止本体82cは第1の封止部の具体例を構成している。
図15に示すように、封止本体87cには貫通孔871cが形成され、この貫通孔871cと筒状部87eの内部空間(略円柱状の空間)871eとが連通してビス挿入孔87dを形成している(図13を参照)。また、筒状部87eの外周部からは円弧状のフランジ部87fが突出している。このフランジ部87fの前面部は封止本体87cの前面部より僅かに後方に段差状に後退している。また、リブ87aの前後方向の寸法は、ケース本体82における上壁部82b及び下壁部82dの突出量(後壁部82aの前方への突出量)と同程度とされており、右壁部82cより僅かに前方へ突出している。尚、筒状部87eとフランジ部87fと、正面視で略半円状の経路を描く段部Dが構成される。
図16(b)に示すように、リブ87aの外面(上側のリブ87aにおいては上面、下側のリブ87aにおいては下面)及び封止本体87cには、リブ87aの後端から封止本体87cの前面部まで延び、断面が略三角形状の窪み部87gが設けられている。尚、リブ87aの窪み部87gに工具(ニッパー等)を当て切断することにより、ケース本体82と封止本体87cとを分離することが容易である。
また、図11に示すように、ケース側封止部87は、上下方向に4箇所設けられており、上側に2箇所、下側に2箇所と分けられて配置されている。以下、説明の便宜上、4個のケース側封止部87の区別を行う場合、最上部のケース側封止部87を第1のケース側封止部87、上側から2番目のケース側封止部87を第2のケース側封止部87、上側から3番目のケース側封止部87を第3のケース側封止部87、最下部のケース側封止部87を第4のケース側封止部87と表記することがある。尚、第1のケース側封止部87及び第2のケース側封止部87の間隔と、第3のケース側封止部87及び第4のケース側封止部87の間隔は等しくされているが(約8mmの距離)、これらの間隔よりも、「第2のケース側封止部87と第3のケース側封止部87との間隔」の方が大きく(約38mmの距離)されている。
カバー部材92は、透明な合成樹脂を用いた一体成形品であり、後面部を開放部92Kとする略容器形状に構成されている。このカバー部材92は、図10及び図18を用いて示すように、第2のケース本体の具体例を構成するカバー本体921と、カバー側封止部922と、保護壁500とを備えている。そして、このカバー部材92がケース部材81に装着されると、カバー本体921とケース本体82とが、内部に前述の主制御基板200を収納する収納体を構成する。
図10、図17及び図18を用いて示すように、カバー本体921は略矩形の正面形状を備えつつ前面部に配設される本体壁92aと、本体壁92aの上縁部から後方に向かって略垂直に突出する上部挿入壁92bと、本体壁92aの右側縁部から後方に向かって略垂直に突出する右側壁92cと、本体壁92aの下縁部から後方に向かって略垂直に突出する下部挿入壁92dと、本体壁92aの左側縁部から後方に向かって略垂直に突出する左係合壁92eとを備えている。また、カバー本体921の内部であって、右側壁92cと近接する部位と、左係合壁92eに近接する部位は、補強リブ921m、921nが各々本体壁92aの後面部より後方へ向かって略垂直に突出する状態に配設されている。
本体壁92aは、図10及び図17を用いて示すように、後方に向かって膨出する略容器形状を備えているが、右寄り上部と、右寄り下部と、左寄り下部と、左端側の上下の各部位を本体壁92aの前面部方向に段差状に凹む凹部921f、922f、923f、924f、925fとしている。ここで、以下の説明において、本体壁92aにおいて、凹部921f〜925fを除く部位を膨出部92gと称する。
右寄り上部の凹部921fと、右寄り下部の凹部922fと、左寄り下部の凹部923fはそれ自体で段部として構成されるが、各段部において略矩形板状とされる下部にはコネクタの挿通孔92iが形成されている。また、図17に示すように、本体壁92aの左端側は、膨出部92gの左端側を構成する部分922gと、その上下に配設される前述の凹部924f、925fとを備える。尚、この膨出部92gの左端側を構成する部分922gは、後述するように、ICタグが装着される部分であるため、以下の説明においては、「ICタグ装着部922g」と表現する。
ICタグ装着部922gと、凹部924f、925fは何れも正面視で、縦長の略矩形状とされている。また、ICタグ装着部922gは、本体壁92aの左端側において上下方向略中央部に位置しているとともに、上下の縁部を残して僅かに窪んだ状態とされている。更に、上下に長尺な略矩形板状に構成される凹部924fの前面部であって、ICタグ装着部922gの上面部と近接する位置と、上下に長尺な略矩形板状に構成される凹部925fの前面部であって、ICタグ装着部922gの下面部と近接する位置からは、筒状部921t、921tが前方に向かって突出している。この筒状部921t、921tの突端部は膨出部92gの前面より僅かに後退しているとともに、この突端部には、ビス挿入孔923tが開口している。
膨出部92gは、他部位(凹部921f〜925f)よりも前方に膨らみ出る壁部によって構成されている。このため、カバー部材92をケース部材81に装着して構成される収納体においては、膨出部92gの後方に形成される空間部の前後幅が、他部位の各後方に形成される空間部の前後幅よりも大きくされている。そして、凹部921f〜925fの後面部の後方にはケース本体82の前後幅に相当する前後幅の空間部が形成され、膨出部92gの後方には、ケース本体82の前後幅の3倍の前後幅を備える空間部が形成される。
上部挿入壁92b、下部挿入壁92d、及び左係合壁92eの突出量(本体壁92aの後方への突出量)は等しくされ、右側壁92cの突出量(本体壁92aの後方への突出量)は、上部挿入壁92b等の突出量よりも少なくされている。また、補強リブ921m、921nの突出量は、上部挿入壁92bの突出量よりも僅かに少なく、右側壁92cの突出量よりも多くされている。そして、カバー部材92は、上部挿入壁92bと、左係合壁92eと、下部挿入壁92dと、右側の補強リブ921cとによって略四角枠状の周壁部を構成している。
図18に示すように、上部挿入壁92bと下部挿入壁92dとは略平行とされつつ、「上部スライド溝82m及び下部スライド溝82n間の距離」に相当する距離を隔てた状態で上下に配設されている。また、図10及び図18に示すように、上部挿入壁92b及び下部挿入壁92dには、係合部92pが各々10個設けられている。つまり、上部挿入壁92bにおいて、上部スライド溝82mの各被係合部82pと前後に位置合わせされる箇所には、各々係合部92pが形成されている。同様に、下部挿入壁92dにおいて、下部スライド溝82nの各被係合部82pと前後に位置合わせされる箇所にも、各々係合部92pが形成されている。
上部挿入壁92b及び下部挿入壁92dに設けられた合計20個の係合部92pは雌型に構成されている。そして、ケース本体82に設けられた合計20個の被係合部82pのうちで、前後に位置合わせされるものを、はめ込んで摺動可能とされている。また、上部挿入壁92bの各係合部92pは、図13に示すように、上部挿入壁92bの上下面を貫通しつつ左右に長い略矩形状の孔を用いて構成されている。また、係合部92pの右半部は、上部挿入壁92bの上下面及び後端面で開口する切り欠き部92rと連続することによって、上部挿入壁92bの後端面で開放されている。
下部挿入壁92dの各係合部92pも、図13に示すように、下部挿入壁92dの上下面を貫通しつつ左右に長い略矩形状の孔を用いて構成されている。また、この係合部92pの右半部も、下部挿入壁92dの上下面及び後端面で開口する切り欠き部92rと連続することによって、下部挿入壁92dの後端面で開放されている。尚、上部挿入壁92bの各係合部92pの左半部に対して、上部スライド溝82mの対応する被係合部82pが進入し、下部挿入壁92dの各係合部92pの左半部に対して、下部スライド溝82nの対応する被係合部82pが進入することで、計20個の係合部92pが各々対応する被係合部82pに対して抜け止め方向(前後)に係合することになる。つまり、ケース本体82に装着されたカバー部材92を、前方に向かって取り外すことができなくなる。
図13及び図14に示すように、左係合壁92eの右側面(つまり、カバー部材92の内側に位置する面)のおける上端側及び下端側の各2カ所には、係合孔921eが左係合壁92eの左右を貫通する状態に設けられている。これらの係合孔921eの開口形状は、係合突起822eの縦断面形状と略凹凸が反転した形状とされるとともに、カバー部材92をケース部材81に装着する際に、上下方向に対応する係合突起822eが係合孔921eに嵌合することで、係合突起822eが、左係合壁92eに対して、「カバー部材92をケース部材81から後方に引き抜くこと」を防止するように係合する。
図18に示すように、本体壁92aの後面部であって、右側壁92cと補強リブ921mとの間に位置する部位には、上下縦方向に長尺で後方に開口した収納蓋92zを構成している。この収納蓋92zは、ケース部材81における収納部82jと対応する位置に配置されており、カバー部材92のケース部材81への装着を完了すると、前述の収納部82jとともに略閉鎖された空間部を形成する。この空間部には、次回使用する封止ピン96や防犯キャップ98が収納される。つまり、パチンコホールの店員等が、カバー部材92及びケース部材81の封止を正当に解除した後、再びカバー部材92及びケース部材81の封止を行う際に使用することとなる封止ピン96と防犯キャップ98が収納される。
カバー側封止部922は、図18に示すように、本体壁92aの右側面の上方側の2カ所と、下方側の2カ所において右方向に突出する状態に設けられている。つまり、計4個設けられるカバー側封止部922は、図15及び図19に示すように、封止本体922dと、筒状部922eと、2本のリブ922aとを備えている。このうち、封止本体922dは略板状に構成され、前後に貫通する状態にビス装着孔922fを備えている。また、封止本体922dの後面部からは略円弧状の突起922eが突出している。そして、カバー部材92のケース部材81への装着を完了すると、突起922eは、前述の「筒状部87eとフランジ部87fとで構成される段部D(図16を参照)」に嵌り込みつつ、フランジ部87fの前面部に当接する(図24を参照)。
本実施例では、カバー部材92のケース部材81への装着を完了すると、図21に示すように、上下方向に4個併設される封止本体922dが、上下方向に4個併設される封止本体87cとが重ね合わせた状態とされる(接触しても、僅かな隙間を挟み対向配置されてもよい。)。つまり、主制御基板ケース80においては、カバー部材92のケース部材81への装着を完了したときに、4組の「封止本体922d及び封止本体87c」が前後に重なり合うように構成されている。
以下、説明の便宜上、4個のカバー側封止部922の区別を行う場合、最上部のカバー側封止部922を第1のカバー側封止部922、上側から2番目のカバー側封止部922を第2のカバー側封止部922、上側から3番目のカバー側封止部922を第3のカバー側封止部922、最下部のカバー側封止部922を第4のカバー側封止部922と表記することがある。尚、第1のカバー側封止部922及び第2のカバー側封止部922の間隔と、第3のカバー側封止部922及び第4のカバー側封止部922の間隔は等しくされているが、これらの間隔よりも、「第2のカバー側封止部922と第3のカバー側封止部922との間隔」の方が大きくされている。
筒状部922eは、図15に示すように、封止本体922dの前面部から前方に突出する状態に設けられている。この筒状部922eは、その中間部(前後方向に沿った中間部)で空間幅を段差状に変化させている。つまり、この筒状部922eの内部空間は、前面部側に位置するとともに、開口形状を略六角形状とするキャップ挿入部922bと、キャップ挿入部922bの奥側(後方)に位置するとともに縦断面を略円形とするビス挿入部922cとで構成される。また、筒状部922eのうちでビス挿入部922cを構成する部分であって、左端側に位置する部分が略矩形状の切り欠き部とされ、筒状部922eのうちで、この切り欠き部の上端と接触する部位が、キャップ係止部922gを構成している。
図19及び図20に示すように、リブ922aは、「封止本体922d及び筒状部922eを備える一体物」を、本体壁92aの右側面に支持するためのものである。これらのリブ922aは、各封止本体922dの配設位置において、本体壁92aから2つずつ突出している。そして、その突端部を「封止本体922d及び筒状部922eを備える一体物」と一体化させて、この「一体物」を本体壁92aの右側面に支持している。
図15、図17及び図20に示すように、本体壁92aの前端側右端縁の上下2カ所には、付加壁504、505が設けられている。また、上方の付加壁504は、本体壁92aの前端側右端縁の上方から右方向に延設され、下方の付加壁505は、本体壁92aの前端側右端縁の下方から右方向に延設されている。また、上方の付加壁504は本体壁92aの上端縁{第1のカバー側封止部922よりも上方}から、第2のカバー側封止部922の下方に至る上下幅を有している。また、下方の付加壁505は、上方の付加壁504よりも下方に離れた位置において、第3のカバー側封止部922よりも上方から本体壁92aの下端縁{第4のカバー側封止部922よりも下方}に至る上下幅を有している。
上方の付加壁504は正面視で略矩形の板状体で構成され、その後面部を、第1のカバー側封止部922及び第2のカバー側封止部922を構成する「筒状部922eの前端部及びリブ922aの前端部」と一体としつつ、両カバー側封止部922の補強を行っている。また、上方の付加壁504には、これらの筒状部922e、922eの前端部を、前方に向けて開放するための開口部504a、504aが形成されている。また、下方の付加壁505も、同様に、正面視で略矩形の板状体で構成され、その後面部を、第3のカバー側封止部922及び第4のカバー側封止部922を構成する「筒状部922eの前端部及びリブ922aの前端部」と一体としつつ、両カバー側封止部922の補強を行っている。また、下方の付加壁505には、両カバー側封止部922、を構成する筒状部922e、922eの前端部を、前方に向けて開放するための開口部505a、505aが形成されている。
保護壁500は、「障害部」の具体例を構成するものであり、図15に示すように、各付加壁504、505の後方に突出する壁として構成されている。つまり、図19及び図20に示すように、上方に配置される保護壁500は、上方の付加壁504の外縁部のうちで、本体壁92aと一体とならない部分から後方に突出する状態に設けられている。つまり、付加壁504の上縁部、右側縁部及び下縁部を略U字状若しくはコの字状に取り囲みつつ、上端縁と下端縁を本体壁92aに一体化している。更に、保護壁500の前後長が、カバー側封止部922の前後寸法より長くされている。そして、カバー部材92のケース部材81への装着を完了したときに、保護壁500の後端部は、カバー側封止部922における封止本体922dの配置位置より後側に配置される。また、このとき、保護壁500と、第1のカバー側封止部922(1)及び第2のカバー側封止部922(2)との間は間隔(約5mmの間隔)が設けられる
また、下方に配置される保護壁500も、上方に配置される保護壁500と同様な構成を備える。つまり、図19及び図20に示すように、下方の付加壁505の外縁部のうちで、本体壁92aと一体とならない部分から後方に突出する状態に設けられている。つまり、付加壁505の上縁部、右側縁部及び下縁部を略U字状若しくはコの字状に取り囲みつつ、上端縁と下端縁を本体壁92aに一体化している。更に、保護壁500の前後長が、カバー側封止部922の前後寸法より長くされている。そして、カバー部材92のケース部材81への装着を完了したときに、保護壁500の後端部は、カバー側封止部922における封止本体922dの配置位置より後側に配置される。また、このとき、保護壁500と、第3のカバー側封止部922及び第4のカバー側封止部922との間は間隔(約5mmの間隔)が設けられる。
封止ピン96は、「連結部材」の具体例を構成するものであり、図21に示すように、頭部961と軸部962とを備えている。このうち、頭部961は、軸部962と離間する位置に配設される第1の頭部本体961aと、軸部962と一体化される第2の頭部本体961cと、第1の頭部本体961a及び第2の頭部本体961c間に配設される破断部961bと、を備えている。また、この封止ピン96においては、その一端側から他端側に向かって、第1の頭部本体961a、破断部961b、第2の頭部本体961c、軸部962が同軸上に配設されている。尚、封止ピン96の一端面(第1の頭部本体961aの反「破断部961b」側の端面)には、工具(ドライバー等)の先端が挿入されて係止される工具溝961mが設けられている。
破断部961bは、軸心方向に沿った中央部に向かって外径を徐々に縮小する「くびれ形状」とされている。この封止ピン96に工具を用いて所定以上の外力が加えられると、この強度の低い破断部961において破断する。このとき、第1の頭部本体961aが、軸部962から分離した状態となり、封止ピン96に工具溝961mが残らないため、この封止ピン96を操作することが困難となる。
軸部962には雄ネジ962mが刻まれているが、この軸部962の先端側のネジ溝には、所定の接着用物質(図示を省略)が塗布されている。この接着用物質(例えば、スリーボンド社製の商品名(マイクロカプセル)は、液体や固体の芯物質(接着剤)を、ポリマーや製膜性の物質を壁膜として被覆したものである。この接着用物質(カプセル剤)としては、直径5〜300μm程度のものが使用されており、軸部962に締め込み力(摩擦力)が加わると、壁膜が破壊され、内部から接着剤が流出する構成となっている。尚、本実施例では、接着剤は軸部962と異なる色となるように着色(例えば、青色)されている。また、前述の収納部82jには使用前の封止ピン96が、2個保管されるが、この保管されるには、流用を避けるために接着用物質(図示を省略)は塗布されていない。
防犯キャップ98は透明な合成樹脂を用いた一体成形品であり、図21及び図22に示すように、キャップ本体98aと、係止脚98bとを備える。また、キャップ本体98aは、外形が略六角の筒状部98dと、筒状部98dの一端側に配設される天井部98eと、を備える。また、筒状部98dの外周のうちの1つの面を構成する壁部には、キャップ本体98aの他端側で開口する切り欠き部98fが形成されている。そして、キャップ本体98aにおいて、切り欠き部98fの奥端を構成する部位からは、係止脚98bが略片持ち梁状に突出している。また、係止脚98bの突端部は、キャップ本体98aの他端側よりも突出する状態とされている。
係止脚98bの突端部には断面形状が略三角の係止部(返し部)98gが、キャップ本体98aの外方に突出する状態に形成されている。つまり、この係止部98gを、天井部98eの上方から目視すると、係止部98gの先端部がキャップ本体98aの外側に突出している。そして、係止脚98bが弾性を備えているため、係合部985を外側から内側に押圧することにより、係止部85がキャップ本体98aの内側方向に移動するものとされている。
キャップ本体98aは、キャップ挿入部922bの空間形状と略凹凸の反転した外形を備えているため、キャップ本体98aの横断面が、キャップ挿入部922bの横断面よりも僅かに小さい寸法とされているため、このキャップ本体98aをキャップ挿入部922b内に挿入可能である。
ICタグカバー300は、図10に示すように、略L字状に屈曲する板状体によって構成され、前板部300aと、後板部300bとを備えている。このうち、前板部300aは正面視で略矩形状とされる板形状に構成されるとともに、上端側及び後端側を除く部位を、前方に膨出させている。また、前板部300aの上端側には、ビス装着用の切り欠き部300cが前板部300aの上端面及び前後面で開口する状態に形成され、前板部300aの下端側には、ビス装着用の切り欠き部1000dが前板部300aの上端面及び前後面で開口する状態に形成されている。また、後板部300bは側面視で略矩形状とされる板形状に構成されるとともに、上端側及び後端側を除く部位を右方に凹ませている。
ICタグ320は、略コの字形の横断面形状を備える板状体として構成され、ICタグが内蔵されているている。このICタグ320を、例えば、外郭体と、その内部に埋設された識別用部材本体(ICチップ及びアンテナ等)とで構成することができる。そして、ICチップとしては、例えば、主制御基板ケース80に収納される配線基板(主制御基板200)を識別するための識別情報の書き込み及び読み出しが可能な記憶手段を有するものを例示することができる。
(4)主制御基板ケース80の組立方法
カバー部材92がケース部材81に対して以下の状態(以下、「閉鎖取付状態」という。)に取り付けられると、ケース部材81の開放部821がカバー部材92で閉鎖されて、カバー部材92はケース本体81とともに内部に主制御基板200を収納する収納体を構成する。但し、このカバー部材92のケース部材81への取付に先だって、主制御基板200がビス等を用いてカバー部材92の内側に固定されるとともに、主制御基板200に設けられたコネクターを、挿通孔92iを通じてカバー部材92の外部に突出させる。
カバー部材92がケース部材81に対して以下の状態(以下、「閉鎖取付状態」という。)に取り付けられると、ケース部材81の開放部821がカバー部材92で閉鎖されて、カバー部材92はケース本体81とともに内部に主制御基板200を収納する収納体を構成する。但し、このカバー部材92のケース部材81への取付に先だって、主制御基板200がビス等を用いてカバー部材92の内側に固定されるとともに、主制御基板200に設けられたコネクターを、挿通孔92iを通じてカバー部材92の外部に突出させる。
カバー部材92をケース部材81に閉鎖取付状態で取り付けると、図21に示すように、(a)カバー側封止部922の各封止本体922dが、ケース側封止部87の対応関係にある封止本体87cと重ね合わせた状態とされる。このとき、(b)上部挿入壁92b、下部挿入壁92d、及び左係合壁92eがケース本体82の内側に挿入され、(c)上部挿入壁92bの各係合部92pが、上部スライド溝82mの対応する被係合部82pに係合し、上部挿入壁92bの上部スライド溝82mからの抜け止めが図られ、(d)下部挿入壁92dの各係合部92pが、下部スライド溝82nの対応する被係合部82pに係合し、下部挿入壁92dの下部スライド溝82nからの抜け止めが図られるとともに、(e)左係合壁92eの係止部921eに、突起形状の被係止部822eが挿入された状態となる。
但し、カバー部材92を、ケース部材81に装着する作業においては、カバー部材92をケース部材81に対して「閉鎖取付状態」で取り付ける際には、以下の手順に従う。つまり、図23に示すように、カバー部材92をケース部材81に対して、右方向にずらした状態(閉鎖取付状態を基準として右方向にずらした状態)で取り付ける(図23中の矢印Mを参照)。具体的には、(A)上部挿入壁92b、下部挿入壁92d、及び左係合壁92eがケース本体81の内側に挿入し、(B)上部挿入壁92bの各係合部92pの左半部に切り欠き部92rを通じて、上部スライド溝82mの対応する被係合部82pを進入させ、(C)下部挿入壁92dの各係合部92pの左半部に切り欠き部92rを通じて、下部スライド溝82nの対応する被係合部82pを進入させる。この状態(以下、「初期取付状態」という。)のとき、突起形状の被係止部822eは係止部921に、未だ進入しないものとされる。
カバー部材92を「初期取付状態」にした後、カバー部材92を左方向にスライドすると、カバー部材92は「閉鎖取付状態」となる(図23中の矢印Nを参照)。つまり、(D)上部挿入壁92bの各係合部92pの右半部に、上部スライド溝82mの対応する被係合部82pを進入し、下部挿入壁92dの各係合部92pの右半部に下部スライド溝82nの対応する被係合部82pを進入し、カバー部材92の各係合部92pが対応する被係合部82pに抜け止め状態(前後への抜け止め状態)に係合すると共に、(E)突起形状の被係止部822eが係止部921に挿入されて、左係合壁92eの左端側がケース部材81の左側方に接触する。
このように、カバー部材92がケース部材81に対して「閉鎖取付状態」で取り付けられると(装着されると)、図21に示すように、カバー側封止部922の封止本体922dと、ケース側封止部87の封止本体87cとが重ね合わせされた状態(接触する状態に対向配置される状態)となると共に、カバー部材92の右側壁92cが、ケース部材81の右側壁部82cと当接する。このとき、上部挿入壁92bの各係合部92pの右半部に対して、上部スライド溝82mの対応する被係合部82pが進入し、下部挿入壁92dの各係合部92pの右半部に対して、下部スライド溝82nの対応する被係合部82pが進入することで、計20個の係合部92pが各々対応する被係合部82pに対して抜け止め方向(前後)に係合することになる。同時に、係合突起822e及び係合孔921eに係合する。これにより、ケース部材81に装着されたカバー部材92を前方に取り外すことができなくなる。しかも、カバー側封止部922におけるカバー側合部922eがケース側封止部87におけるケース側合部87fと当接し、カバー側封止部922における封止本体922dに設けられたビス装着孔922fと、ケース側封止部87における封止本体87cに設けられたビス装着孔87dとが同心上に位置合わせされつつ前後に連通する。
このとき、図21に示すように、カバー部材92における封止本体922dの後面部及びケース部材81における封止本体87cの前面部とによって重ね合わせ部(重ね合わせ面)Kが形成される。この際、上方に並ぶ2個の重ね合わせ部K、Kは、「カバー部材92及びケース部材81からなる一体品の右側面部」と、上方の保護壁500とで包囲された状態となる。同様に、下方に並ぶ2個の重ね合わせ部K、Kは、「カバー部材92及びケース部材81からなる一体品の右側面部」と、下方の保護壁500とで包囲された状態となる。尚、何れの重ね合わせ部Kの前方側も、対応する付加壁504、505によって遮られるが、何れもの重ね合わせ部Kの後方側も、対応する保護壁500、500の後端に形成される開口部500Kを通じて開放される。
カバー部材92がケース部材81に対して「閉鎖取付状態」で取り付けられると、カバー部材92のICタグ装着部922gと、ケース部材81のICタグ装着用の凹部87Rとが、「カバー部材92及びケース部材81の一体品」の左側面部で略面一となり、ICタグ装着部IRを構成する(図10を参照)。
また、このように、カバー部材92がケース部材81に対して「閉鎖取付状態」で取り付けられた後、主制御基板ケース80の封止が行われる。すなわち、主制御基板ケース80の封止は、(a)前後に連通する4組のビス装着孔922f、87dのうちので、最上部に位置するものと、最下部に位置するものに封止ピン96を装着し(図10を参照)、その後、(b)封止ピン96が装着されたビス装着孔922f、87dの前方に位置するキャップ挿入部922bに防犯キャップ98を装着することで行われる(図9を参照)。以下、この封止ピン96及び防犯キャップ98の装着作業について説明する。
先ず、図21に示すように、封止ピン96の先端部(軸部962の先端部)を先頭に、対象となるキャップ挿入部922bを通じて、封止ピン96を対象となるビス装着孔922f、87dの方向に向かって挿入する。そして、封止ピン96の工具溝961mに先端部を装着している工具(ドライバー等)を回転させると、封止ピン96の軸部962が対象となる封止本体922d、87c(ビス装着孔922f、87dの内壁を構成する部分)を僅かに削りつつ、これらの封止本体922d、87cに螺着する。このとき、封止ピン96は後方に向かって螺進することになるが、この螺進は、封止ピン96の頭部961の座面(第2の頭部本体961cの座面)が、対象となる封止本体922dに当接するまで行われる。また、封止ピン96の先端部は、ケース部材81を構成する筒状部87eに移行する。
このように、封止ピン96を締め込むと、軸部962のネジ溝内の接着用物質を構成する壁膜が破壊され、接着剤が流出する。そして、軸部962の先端側が青色に着色されるとともに、対象となる封止本体87c及び筒状部87eに接着される。更に、この封止ピン96を締め切ったところで、封止ピン96の頭部961の座面と対象となる封止本体922dとの間の摩擦力が増大するため、図24に示すように、封止ピン96は強度が低い破断部961bにおいて破断し、第1の頭部本体961aが「封止ピン96のその他の部位」から分離する。このため、封止ピン96には工具溝961mが装着しない状態となるとともに、封止本体87c及び筒状部87eに接着された状態となるため、この封止ピン96を取り外することは困難となる。
この後、図24に示すように、防犯キャップ98が対応するキャップ挿入部922bに装着される。この装着作業は、天井部98eを手前側に係止脚98bの突端を先頭にしつつ、係止脚98bとキャップ係止部922gとを前後に位置合わせしつつ行われ、係止部98gをキャップ係止部922gに係止された段階で終了する(図25を参照)。この装着作業に際しては、係止部98gの突端部がキャップ挿入部922bによってキャップ挿入部922bの内側に向かって押圧され、撓んだ状態となる。そして、キャップ係止部922gに到達したところで、キャップ係止部922g後部の空間部に進入するため、係止部98gへのキャップ挿入部922bからの押圧が解除される。このため、係止脚98bは変形前の状態を復元しつつ、係止部98gがその後方からキャップ係止部922gに係止され、防犯キャップ98のキャップ挿入部922bからの抜け止めが図られる。
ICタグ320は、ICタグ装着部IRに略コ字状に挟み込む状態に装着され、ICタグカバー300によって固定される。このICタグカバー300は、前板部300a上下の切り欠き部300c、300dに軸部を挿通させたビス350を用いて、前板部300aをカバー部材92に固定することによって行われる。つまり、上下の筒状部921t、921tに対してビス350の軸部を螺着すると、ビス350の頭部と、ICタグ装着部922gとで、ICタグカバー300及びICタグ320を挟持された状態となる。
また、パチンコホールの店員等が、主制御基板ケース80を開放(正規に開放)する場合には、例えば、以下の手順で行われる。先ず、保護壁500の開口部500Kから工具(ニッパー等)を挿入し、ケース側封止部87の窪み部87gに工具(ニッパー等)を当て切断し、リブ87aの突出方向中間部を破断する。これにより、ケース本体82と封止本体87cとを分離することができる。このため、ケース部材81とカバー部材92との封止部位(封止本体87c及び封止本体922dに封止ピン96を挿入した箇所)からケース部材81側から分離することができ、ケース部材81とカバー部材92との封止を解除できる。
そして、カバー部材92をケース部材81から取り外すと、封止ピン96、封止本体87c、筒状部87e及びフランジ部87fがカバー部材92側に残される。このとき、ケース本体82及び封止本体87cの間に破壊箇所が残るため、これらを視認する者(パチンコホールの店員等)は、主制御基板ケース80の開放が既に行われたことを、直ちに認識することができる。
尚、カバー部材92及びケース部材81を再度、封止する場合、カバー部材92をケース部材81に対して再度「閉鎖取付状態」で取り付けた後、残りの2組のビス装着孔922f、87dに封止ピン96を装着し、その後、封止ピン96が装着されたビス装着孔922f、87dの前方に位置するキャップ挿入部922bに防犯キャップ98を装着すればよい。
(5)不正行為への対応
以上の主制御基板ケース80では、前後に連通する4組のビス装着孔922f、87dのうちので、最上部に位置するものと、最下部に位置するものと、が封止ピン96で封止される。このため、主制御基板ケース80を不正に開放しようとする者は、最上部に位置する重ね合わせ部Kに沿って工具(ディスクグラインダー等)を挿入して、この重ね合わせ部Kに配設された封止ピン96を破壊するとともに、最下部に位置する重ね合わせ部Kに沿って工具(ディスクグラインダー等)を挿入して、この重ね合わせ部Kに配設された封止ピン96を破壊しようとする。ところが、本主制御基板ケース80では、上方に並ぶ2個の重ね合わせ部K、Kが、上方の保護壁500で包囲された状態とされ、下方に並ぶ2個の重ね合わせ部K、Kは、下方の保護壁500で包囲された状態とされている。
以上の主制御基板ケース80では、前後に連通する4組のビス装着孔922f、87dのうちので、最上部に位置するものと、最下部に位置するものと、が封止ピン96で封止される。このため、主制御基板ケース80を不正に開放しようとする者は、最上部に位置する重ね合わせ部Kに沿って工具(ディスクグラインダー等)を挿入して、この重ね合わせ部Kに配設された封止ピン96を破壊するとともに、最下部に位置する重ね合わせ部Kに沿って工具(ディスクグラインダー等)を挿入して、この重ね合わせ部Kに配設された封止ピン96を破壊しようとする。ところが、本主制御基板ケース80では、上方に並ぶ2個の重ね合わせ部K、Kが、上方の保護壁500で包囲された状態とされ、下方に並ぶ2個の重ね合わせ部K、Kは、下方の保護壁500で包囲された状態とされている。
従って、不正行為者が、重ね合わせ部K、Kに沿って工具Jを挿入しようとすると、先ず、保護壁500を破壊(切断等)することとなる。つまり、図25(a)に示すように、重ね合わせ部K、Kに沿って工具Jを挿入させると、図25(b)に示すように、保護壁500に破壊部590を生ずることになるため、これらを視認する者(パチンコホールの店員等)は、主制御基板ケース80が不正に開放されたことを直ちに認識することができる。
(6)実施例の効果
本実施例の主制御基板ケース80では、保護壁500が重ね合わせ部Kの周囲に設けられているため、工具Jを重ね合わせ部Kに沿って挿入させ、封止ピン96破壊しようとすると、先ず、ケース側封止部87及びカバー側封止部922とは別に構成される保護壁500が破壊されることになる。一方、パチンコホールの店員等が正当に主制御基板ケース80を開封する場合、保護壁500が破壊されないため、保護壁500の有無により、不正行為が行われた否かを判断することが容易である。よって、本実施例の主制御基板ケース80によると、「不正行為の実行」を早期に発見することができる。
本実施例の主制御基板ケース80では、保護壁500が重ね合わせ部Kの周囲に設けられているため、工具Jを重ね合わせ部Kに沿って挿入させ、封止ピン96破壊しようとすると、先ず、ケース側封止部87及びカバー側封止部922とは別に構成される保護壁500が破壊されることになる。一方、パチンコホールの店員等が正当に主制御基板ケース80を開封する場合、保護壁500が破壊されないため、保護壁500の有無により、不正行為が行われた否かを判断することが容易である。よって、本実施例の主制御基板ケース80によると、「不正行為の実行」を早期に発見することができる。
また、本実施例の主制御基板ケース80によると、不正行為者が不正行為を試みたが未遂であった場合も、保護壁500に破損を生ずるため、パチンコホールの店員等が不正行為が試みられた痕跡を発見することが容易である。このため、例えば、対象となる遊技機1が不正行為者のターゲットとなり易い機種であるか否か等を判別することも容易である。更に、本実施例の主制御基板ケース80によると、「不正行為の実行」を行う者が、保護壁500が設けられていることを確認すると、「不正行為の実行」を中止する場合もあるため、この保護壁500が、不正行為の実行を抑止する効果を期待できる。
更に、本実施例の主制御基板ケース80では、重ね合わせ部Kが上下に離間する2箇所に形成され、各々に別個の保護壁500が設けられているため、不正行為を行おうとする者は、両保護壁500を破壊することになる。このため、不正行為が施された後に、離間する複数の保護壁500に破壊の痕跡が残る。従って、これらを視認する者(パチンコホールの店員等)は、「不正行為の実行」を、更に容易に発見することができる。また、「不正行為の実行」を行おうとする者は、離間する複数の保護壁500を工具Jで破壊することがことが必要であることに気づき、「不正行為の実行」を諦める可能性がある。この場合も、不正行為の実行を抑止する効果を期待できる。
更に、本実施例の主制御基板ケース80では、保護壁500が重ね合わせ部Kよりも、大きな外周を備える。従って、本実施例の主制御基板ケース80では、重ね合わせ部Kのみが単独で破壊される場合に比べて、大きな傷を露呈させることができるため、「不正行為の実行」を、更に容易に一層発見することができる。
以上、本発明の実施の形態を説明したが、本発明はこれに限定されるものではなく、各請求項に記載した範囲を逸脱しない限り、各請求項の記載文言に限定されず、当業者がそれらから容易に置き換えられる範囲にも及び、かつ、当業者が通常有する知識に基づく改良を適宜付加することができる。
即ち、図26(a)に示す変形例1に示すように、障害部を重ね合わせ部の周囲(封止ピン96の周囲)に所定の間隔をおいて配設される柱状体510によって構成することができる。この変形例1では、上方に並ぶ2個の重ね合わせ部の周囲(封止ピン96の周囲)と、下方に並ぶ2個の重ね合わせ部の周囲(封止ピン96の周囲)に柱状体510を連続配置し、略格子状の障害部500Sを形成している。この変形例1によると、隣合う柱状体510の隙間から、封止ピン96、封止本体922d、87c、窪み部87gの状態が確認し易くなる。このため、「不正行為の実行」をより確実に発見することができる。また、図26(b)に示す変形例2に示すように、変形例1よりも少ない数の柱状体510で障害部を構成してもよい。例えば、封止ピン96の真横、鉛直上方、鉛直下方等、不正行為者が使用する工具が必然的に通過する部位に限定して柱状体510を配置してもよい。
また、重ね合わせ部(封止ピン96の周囲)の周囲を保護壁500で包囲する場合等には、図23に示す変形例3のように、カバー側封止部922から筒状部922eを排除し、カバー側封止部922の構造の単純化等を図ることもできる。この場合、付加壁504、505の開口部504a、504aを、ゴム製の蓋580等の着脱容易な蓋体で塞ぐだけでも、保護壁500の作用で封止ピン96の周囲を保護することができる。更に、本実施例では、複数の重ね合わせ部Kを対象とする障害部(保護壁500)を例示したが、障害部を個々の重ね合わせ部K毎に設けることもできる。
また、本実施例では、カバー本体921の右側面部とで重ね合わせ部Kの全周を包囲する態様を例示したが、重ね合わせ部Kの全周のうちで一部にのみ障害部を配設してもよい。また、本実施例では、保護壁500はカバー部材92に設けたが、ケース部材81に設けられてもよい。また、カバー部材92及びケース部材81に保護壁500を設け、カバー部材92がケース部材81に対して「閉鎖取付状態」で取り付けられたきに、両者が一体化されてもよい。更に、本実施例では、主制御基板ケース80の一つの側面部に、カバー側封止部922、ケース側封止部87及び保護壁500を設ける態様を例示したが、主制御基板ケース80の複数の側面部にこれらを設けることもできる。
本発明は、遊技機を製造、販売等する分野において利用できる。
80;主制御基板ケース(制御基板収納ケース)、
81;ケース部材(第1のケース部材)、
82;ケース本体(第1のケース本体)、
87c;封止本体(第1の封止部)。
92;カバー部材(第2のケース部材)、
96;封止ピン(連結部材)、
921;カバー本体(第2のケース本体)、
922d;封止本体(第2の封止部)、
500;保護壁(障害部)。
81;ケース部材(第1のケース部材)、
82;ケース本体(第1のケース本体)、
87c;封止本体(第1の封止部)。
92;カバー部材(第2のケース部材)、
96;封止ピン(連結部材)、
921;カバー本体(第2のケース本体)、
922d;封止本体(第2の封止部)、
500;保護壁(障害部)。
Claims (4)
- 第1のケース本体と該第1のケース本体に設けられる第1の封止部とを具備する第1のケース部材と、
第2のケース本体と該第2のケース本体に設けられる第2の封止部とを具備する第2のケース部材と、を備え、
前記第1のケース本体及び前記第2のケース本体により遊技機用制御基板を内部に収納する収納体を構成するとともに、重ね合わせられる前記第1の封止部及び前記第2の封止部を連結部材で連結することにより封止される遊技機用制御基板収納ケースであって、
前記第1の封止部と前記第2の封止部との重ね合わせ部の周囲に障害部を設けたことを特徴とする遊技機用制御基板収納ケース。 - 前記第1の封止部は前記第1のケース本体の周縁部から突出する状態に設けられ、前記第2の封止部は前記第2のケース本体の周縁部から突出する状態に設けられるとともに、
前記障害部は、前記重ね合わせ部を囲む壁状に形成されることを特徴とする請求項1に記載の遊技機用制御基板収納ケース。 - 前記第1の封止部及び前記第2の封止部が複数組設けられ、
前記封止の際に、各組の前記第1の封止部及び前記第2の封止部が各々別個の連結部材で連結され、
各組の前記第1の封止部及び前記第2の封止部の各々に対して、障害部を備えることを特徴とする請求項1又は請求項2に記載の遊技機用制御基板収納ケース。 - 請求項1乃至3のいずれか一項に記載の遊技機用制御基板収納ケースを備えることを特徴とする遊技機。
Priority Applications (1)
| Application Number | Priority Date | Filing Date | Title |
|---|---|---|---|
| JP2008237608A JP2010068898A (ja) | 2008-09-17 | 2008-09-17 | 遊技機用制御基板収納ケースおよび遊技機 |
Applications Claiming Priority (1)
| Application Number | Priority Date | Filing Date | Title |
|---|---|---|---|
| JP2008237608A JP2010068898A (ja) | 2008-09-17 | 2008-09-17 | 遊技機用制御基板収納ケースおよび遊技機 |
Publications (1)
| Publication Number | Publication Date |
|---|---|
| JP2010068898A true JP2010068898A (ja) | 2010-04-02 |
Family
ID=42201242
Family Applications (1)
| Application Number | Title | Priority Date | Filing Date |
|---|---|---|---|
| JP2008237608A Withdrawn JP2010068898A (ja) | 2008-09-17 | 2008-09-17 | 遊技機用制御基板収納ケースおよび遊技機 |
Country Status (1)
| Country | Link |
|---|---|
| JP (1) | JP2010068898A (ja) |
Cited By (4)
| Publication number | Priority date | Publication date | Assignee | Title |
|---|---|---|---|---|
| JP2012010908A (ja) * | 2010-06-30 | 2012-01-19 | Newgin Co Ltd | 遊技機用基板ケース |
| JP2014124296A (ja) * | 2012-12-26 | 2014-07-07 | Shimada Precision Kk | 基板ユニット及び遊技機 |
| JP2015163102A (ja) * | 2014-02-28 | 2015-09-10 | サミー株式会社 | ぱちんこ遊技機 |
| JP2015163101A (ja) * | 2014-02-28 | 2015-09-10 | サミー株式会社 | ぱちんこ遊技機 |
Citations (5)
| Publication number | Priority date | Publication date | Assignee | Title |
|---|---|---|---|---|
| JP2000254320A (ja) * | 1999-03-08 | 2000-09-19 | Samii Kk | 遊技機用の基盤ケース |
| JP2000354673A (ja) * | 1999-06-15 | 2000-12-26 | Samii Kk | 遊技機用の基盤ケース |
| JP2004187853A (ja) * | 2002-12-10 | 2004-07-08 | Heiwa Corp | 遊技機枠 |
| JP2005342193A (ja) * | 2004-06-03 | 2005-12-15 | Aisei:Kk | 遊技機用の主基板ケースの取付け構造 |
| JP2009106344A (ja) * | 2007-10-26 | 2009-05-21 | Sophia Co Ltd | 遊技機 |
-
2008
- 2008-09-17 JP JP2008237608A patent/JP2010068898A/ja not_active Withdrawn
Patent Citations (5)
| Publication number | Priority date | Publication date | Assignee | Title |
|---|---|---|---|---|
| JP2000254320A (ja) * | 1999-03-08 | 2000-09-19 | Samii Kk | 遊技機用の基盤ケース |
| JP2000354673A (ja) * | 1999-06-15 | 2000-12-26 | Samii Kk | 遊技機用の基盤ケース |
| JP2004187853A (ja) * | 2002-12-10 | 2004-07-08 | Heiwa Corp | 遊技機枠 |
| JP2005342193A (ja) * | 2004-06-03 | 2005-12-15 | Aisei:Kk | 遊技機用の主基板ケースの取付け構造 |
| JP2009106344A (ja) * | 2007-10-26 | 2009-05-21 | Sophia Co Ltd | 遊技機 |
Cited By (4)
| Publication number | Priority date | Publication date | Assignee | Title |
|---|---|---|---|---|
| JP2012010908A (ja) * | 2010-06-30 | 2012-01-19 | Newgin Co Ltd | 遊技機用基板ケース |
| JP2014124296A (ja) * | 2012-12-26 | 2014-07-07 | Shimada Precision Kk | 基板ユニット及び遊技機 |
| JP2015163102A (ja) * | 2014-02-28 | 2015-09-10 | サミー株式会社 | ぱちんこ遊技機 |
| JP2015163101A (ja) * | 2014-02-28 | 2015-09-10 | サミー株式会社 | ぱちんこ遊技機 |
Similar Documents
| Publication | Publication Date | Title |
|---|---|---|
| JP5781259B2 (ja) | 遊技機 | |
| JP2015221332A (ja) | 遊技機 | |
| JP2010068898A (ja) | 遊技機用制御基板収納ケースおよび遊技機 | |
| JP5360346B2 (ja) | 遊技機 | |
| JP2014061322A (ja) | 遊技機 | |
| JP6237739B2 (ja) | 遊技機 | |
| JP5679134B2 (ja) | 遊技機 | |
| JP5573823B2 (ja) | 遊技機 | |
| JP5590351B2 (ja) | 遊技機 | |
| JP5435202B2 (ja) | 遊技機 | |
| JP5370671B2 (ja) | 遊技機 | |
| JP5534178B2 (ja) | 遊技機 | |
| JP2017029803A (ja) | 遊技機 | |
| JP5812299B2 (ja) | 遊技機 | |
| JP6032448B2 (ja) | 遊技機 | |
| JP5578309B2 (ja) | 遊技機 | |
| JP5418573B2 (ja) | 遊技機 | |
| JP4993073B2 (ja) | 遊技機 | |
| JP6332399B2 (ja) | 遊技機 | |
| JP5158312B2 (ja) | 遊技機 | |
| JP5831724B2 (ja) | 遊技機 | |
| JP6319379B2 (ja) | 遊技機 | |
| JP2014076322A (ja) | 遊技機 | |
| JP5843080B2 (ja) | 遊技機 | |
| JP5755433B2 (ja) | 回路基板ケース及び遊技機 |
Legal Events
| Date | Code | Title | Description |
|---|---|---|---|
| A977 | Report on retrieval |
Effective date: 20110804 Free format text: JAPANESE INTERMEDIATE CODE: A971007 |
|
| A131 | Notification of reasons for refusal |
Effective date: 20110823 Free format text: JAPANESE INTERMEDIATE CODE: A131 |
|
| A761 | Written withdrawal of application |
Free format text: JAPANESE INTERMEDIATE CODE: A761 Effective date: 20111014 |