JP2010068549A - 変位拡大装置 - Google Patents

変位拡大装置 Download PDF

Info

Publication number
JP2010068549A
JP2010068549A JP2008229737A JP2008229737A JP2010068549A JP 2010068549 A JP2010068549 A JP 2010068549A JP 2008229737 A JP2008229737 A JP 2008229737A JP 2008229737 A JP2008229737 A JP 2008229737A JP 2010068549 A JP2010068549 A JP 2010068549A
Authority
JP
Japan
Prior art keywords
displacement
plate
magnifying
output shaft
movable
Prior art date
Legal status (The legal status is an assumption and is not a legal conclusion. Google has not performed a legal analysis and makes no representation as to the accuracy of the status listed.)
Granted
Application number
JP2008229737A
Other languages
English (en)
Other versions
JP5256414B2 (ja
Inventor
Shigeto Ogino
重人 荻野
Current Assignee (The listed assignees may be inaccurate. Google has not performed a legal analysis and makes no representation or warranty as to the accuracy of the list.)
SAITAMA PREFECTURE
Original Assignee
SAITAMA PREFECTURE
Priority date (The priority date is an assumption and is not a legal conclusion. Google has not performed a legal analysis and makes no representation as to the accuracy of the date listed.)
Filing date
Publication date
Application filed by SAITAMA PREFECTURE filed Critical SAITAMA PREFECTURE
Priority to JP2008229737A priority Critical patent/JP5256414B2/ja
Publication of JP2010068549A publication Critical patent/JP2010068549A/ja
Application granted granted Critical
Publication of JP5256414B2 publication Critical patent/JP5256414B2/ja
Expired - Fee Related legal-status Critical Current
Anticipated expiration legal-status Critical

Links

Images

Landscapes

  • General Electrical Machinery Utilizing Piezoelectricity, Electrostriction Or Magnetostriction (AREA)

Abstract

【課題】変位拡大の際のロスがなく、拡大変位が高精度で得られるとともに、剛性の高く、しかも、製作、組立の容易な変位拡大装置を提供する。
【解決手段】変位発生手段から変位が入力され、互いに交差する第1、第2の二つの傾斜面を有し、変位発生手段による変位の入力方向と交差する方向に設定された出力軸方向に移動自在に設けられた押込プレートと、該押込プレートの第1の傾斜面からの伝達荷重を受けるとともに該第1の傾斜面に対し相対的に平行移動可能な傾斜面を有し、自身は出力軸方向に位置が固定されている固定拡大プレートと、押込プレートの第2の傾斜面からの伝達荷重を受けるとともに該第2の傾斜面に対し相対的に平行移動可能な傾斜面を有し、出力軸方向に移動自在に設けられた可動拡大プレートと、該可動拡大プレートの出力軸方向の変位を変位発生手段から入力された変位の拡大変位として出力する出力軸と、を有することを特徴とする変位拡大装置。
【選択図】図1

Description

本発明は、変位拡大装置に関し、例えば、微小変位発生装置の変位を、高剛性に拡大して出力するのに好適な変位拡大装置に関する。
従来の変位拡大装置は、例えば特許文献1に開示されているように、変位発生手段としての伸縮可能なアクチュエータと、くさび状をした左右対称な傾斜面を有する可動変位拡大プレートによって構成された変位拡大機構とを備え、アクチュエータによって発生された変位を、前記変位拡大機構を一段または複数段用いて拡大し、拡大された変位を出力するようになっている。
特開2002−247867号公報
しかしながら、上記特許文献1に開示されているような変位拡大装置では、目標とする変位の拡大倍率を得ようとする場合、変位拡大のための拡大プレートの傾斜面の傾斜角が浅く(小さく)なる傾向にある場合がある。そのため、拡大プレートは、変位拡大装置の反出力方向に働く予圧ばねの力によりくさびとして作用してしまい、食い込みによる動作不良を起こし易くなる。また、拡大プレートの傾斜面の傾斜角が浅いと、アクチュエータの変位量の一部が、変位入力側と出力側との間に挟み込まれた拡大プレートところの弾性変形に消費されてしまい、拡大効率が悪くなるという問題も有していた。また、高拡大倍率を得ようとして変位拡大機構を二段にした場合、変位の方向が二度変わってしまうことになるため、装置や機構の剛性および精度の面から変位のロスが発生し易くなる恐れがあった。
さらに、拡大プレートの傾斜面が左右対称の構成となっているので、左右が全く同じ動作をしなければ拡大ロスが発生しまう。ロスを抑えるためには、左右の部品を高精度に製作し、組み立てる必要があり、技術的、コスト的に困難なものとなってしまっていた。
そこで本発明の課題は、上記のような従来技術における問題点、とくに、拡大プレートの傾斜面の傾斜角が浅くなることによる上記のような問題点に着目し、基本的に拡大プレートの傾斜角が従来技術に比べ大きくなるようにし、拡大プレートが予圧ばねの力によりくさびとして作用してしまい食い込むことにより発生する動作不良や、入力側と出力側の間に挟み込まれた拡大プレートところの弾性変形を大幅に低減し、変位拡大の際のロスがなく、拡大変位が高精度で得られるとともに、剛性の高い変位拡大装置で、しかも、製作、組立の容易な変位拡大装置を提供することにある。
上記課題を解決するために、本発明に係る変位拡大装置は、変位発生手段から入力される変位を拡大して出力する変位拡大装置であって、
前記変位発生手段から変位が入力され、互いに交差する第1、第2の二つの傾斜面を有し、前記変位発生手段による変位の入力方向と交差する方向に設定された出力軸方向に移動自在に設けられた押込プレートと、
該押込プレートの第1の傾斜面からの伝達荷重を受けるとともに該第1の傾斜面に対し相対的に平行移動可能な傾斜面を有し、自身は出力軸方向に位置が固定されている固定拡大プレートと、
前記押込プレートの第2の傾斜面からの伝達荷重を受けるとともに該第2の傾斜面に対し相対的に平行移動可能な傾斜面を有し、出力軸方向に移動自在に設けられた可動拡大プレートと、
該可動拡大プレートの出力軸方向の変位を前記変位発生手段から入力された変位の拡大変位として出力する出力部と、
を有することを特徴とするものからなる。上記出力部については、上記可動拡大プレートの出力端自体を出力部として構成することも可能であり、可動拡大プレートとは別体の、上記出力軸方向に変位可能に設けられた出力軸として構成することも可能である。
すなわち、変位発生手段による変位出力を、傾斜面を二つ持つ押込プレートに伝え、押込プレートの第1、第2の傾斜面と固定拡大プレートと可動拡大プレートの傾斜面との間の荷重伝達を介して、変位発生手段から押込プレートに伝えられてきた変位を所定の倍率で拡大して可動拡大プレートの出力軸方向の変位として発生させ、その拡大された変位を出力軸を介して出力させるようにしたものである。とくに、二つの拡大プレートのうち一方を出力軸方向に位置が固定されている固定拡大プレートに構成し、他方を出力軸方向に移動自在に設けられた可動拡大プレートに構成することにより、前述したような従来の変位拡大装置に比べ、より大きな拡大変位を得ることができるようにしたものである。
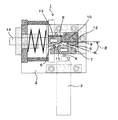
本発明に係る変位拡大装置における変位拡大原理を説明するに、例えば、図1に一実施形態に係る変位拡大装置1を示すように、この変位拡大装置1における動作では、例えば、ベース板2に固定された変位発生手段3(例えば、圧電アクチュエータ)の出力軸の変位出力は、例えば円筒ころ4を介して第1の傾斜面5と第2の傾斜面6の二つの傾斜面を持つ押込プレート7に伝えられる。押込プレート7に伝えられた変位はさらに、対向する傾斜角θの二つの傾斜面8、9に例えば円筒ころ10、11を介して当接している二つの拡大プレート(固定拡大プレート12と可動拡大プレート13)に伝えられる(望ましくは、傾斜面5、8および傾斜面6、9は互いに平行)。この時、変位拡大装置1の出力部としての出力軸14側に位置する可動拡大プレート13は、押込プレート7と拡大プレート13の傾斜面の傾斜角により、拡大された変位量で変位する。この時、変位する方向はガイドもしくは位置規制により、変位拡大装置1の出力軸方向となる。またこの時、反出力軸側の固定拡大プレート12は、従来装置であれば押込プレート7とこの拡大プレート12の傾斜角により拡大されて動作するのであるが、本発明では出力軸方向に位置が固定された固定拡大プレート12に構成されているので、押込プレート7から固定拡大プレート12への荷重伝達の反力により、変位拡大装置1の出力軸方向(矢印方向)に移動自在に設けられている押込プレート7が位置が固定されている固定拡大プレート12に対して出力軸方向に変位拡大動作をすることになる。この拡大動作が、変位拡大装置1の出力軸側の可動拡大プレート13をさらに出力軸方向(矢印方向)に動作させることになり、結果として拡大プレート二つ分の拡大変位が変位拡大装置1の出力軸14に出力されることになる。なお、出力軸14の軸心方向は、変位発生手段3による変位の入力方向(変位発生手段3の軸心方向)と交差する方向に設定されていればよいが、好ましくは、図示の如く、変位発生手段3による変位の入力方向と直交する方向に設定される。
本発明に係る変位拡大装置では、前述したような従来技術と異なり、一段の変位拡大機構により、高倍率の拡大変位を得ることができる。したがって、従来の変位拡大装置のような、二段の変位拡大機構により力の方向が二度変わることによる剛性、精度の面からののロスを少なくすることができる。
すなわち、本発明も従来の変位拡大装置も、拡大プレートの傾斜角θによって変位の拡大倍率(1/tanθ)が決まり、傾斜角45度の時、変位の拡大倍率は1倍となる。従来の変位拡大装置では、傾斜角45度の拡大プレートを二段用いても拡大変位は1倍のままである。一方本発明では、二つの拡大プレートの拡大変位が足されて変位拡大装置の出力軸に伝えられるので、1+1倍となって2倍の拡大変位を得ることができる。つまり、従来の変位拡大装置では変位拡大機構を二段にした場合、その二つの変位拡大倍率をかけ算した値が変位拡大装置の出力軸に拡大された変位として出力されるが、本発明では変位拡大倍率は足し算した値となり、変位拡大装置の出力軸に拡大された変位が出力されることになる。
このことは、特に拡大倍率4倍以下の時に大きな意味を持ってくる。例えば、傾斜角45度の時、前述したように従来の変位拡大装置(二段の変位拡大機構)では拡大倍率1倍となり、本発明では2倍となる。ここで、従来の変位拡大装置が2倍の拡大変位を得るためには、拡大プレートの傾斜角を二段とも35.2度にする必要があり、本発明に対し二段とも傾斜角が9.8度浅くなる。このことにより、つまり、従来の変位拡大装置では拡大プレートの傾斜角が浅くなることにより、前述のように拡大プレートのくさび効果による食い込みによる動作不良や、拡大プレートところの弾性変形量増大による変位のロスが生じ易くなる。本発明では拡大プレートおよび押込プレートの傾斜角を大きく設定できるので、拡大プレートのくさび効果による食い込みによる動作不良や、拡大プレートところの弾性変形量増大による変位のロスの発生を抑制することができる。また本発明では、一段の変位拡大機構でありながら大きな変位拡大倍率を達成できるので、二段にした場合の前述の剛性や精度の面からの変位のロスの発生を抑制することもできる。
本発明に係る変位拡大装置(押込プレートの二つの傾斜面が左右対称の場合)と従来の変位拡大装置(変位拡大機構が同角二段の場合)とについて、拡大プレートの傾斜面の傾斜角と変位の拡大倍率との関係を示すと、図2のようになる。図2に示すように、とくに拡大倍率4倍以下において、本発明と従来の変位拡大装置を同じ拡大倍率で比較すると、本発明の傾斜角の方が大きくなり、上記のような拡大プレートのくさび効果による食い込みによる動作不良や、拡大プレートところの弾性変形量増大による変位のロスが生じ易くなることを容易に防止できることが分かる。
例えば、後述の如く変位発生手段として圧電アクチュエータを、変位拡大装置の高剛性用途に用いる場合、拡大倍率よりも剛性を最優先に考えることが多いので、実際には4倍以下の拡大倍率とすることが多い。このような場合、本発明に係る変位拡大装置は、従来装置に比べ、必要な拡大倍率を確保しつつ要求される剛性を達成できる、高剛性用途の変位拡大装置として好適なものとなる。
さらに図2から分かるように、本発明においては、二つの拡大プレートの傾斜角が63.5度において拡大倍率が1倍となる。つまり、63.5度〜45度という傾斜角は、従来の変位拡大装置ではくさび効果により変位は縮小されるが、本発明では変位拡大可能となっている。このため、「くさび効果により大きな力を発生させ」、かつ、「変位量を増大させる」という相反する動作が可能であり、剛性、拡大効率の面において有利であることが分かる。剛性が高いことにより、耐振動性能に関しても非常に優れ、保持力にも優れることになる。
さらに本発明に係る変位拡大装置の動作原理について言えば、本発明における押込プレートの二つの傾斜面には常に、変位発生手段の出力軸方向の力がそれぞれの傾斜面に働いている。しかし、それぞれの傾斜面は交差するので力の方向は反対であり、それぞれの力は相殺され押込プレートは安定した状態に保たれている。また、この押込プレートは、変位拡大装置の出力軸方向に移動可能(例えば、摺動可能)となっているが、この動作は通常0.01μm〜0.1μm程度と非常に小さいので、上記押込プレートの安定した状態に影響をきたすことはない。
また、本発明に係る変位拡大装置においては、従来装置に比べ、左右対称機構および左右対称動作ではないので、左右の部品の精度および組み立て不良による変位のロスが生じることなく、変位が確実に伝達される。換言すれば、製作や組立にそれほど高い精度を要求することなく所望の変位拡大動作が適切に行われることになり、製作や組立が容易化されることになる。
このように優れた機能を有する本発明に係る変位拡大装置においては、上記押込プレートの第1、第2の傾斜面が左右対称に形成されている構造とすることもできるし、上述の如く固定拡大プレートと可動拡大プレートは左右対称機構および左右対称動作ではないので、押込プレートの第1、第2の傾斜面が左右非対称に形成されている構造とすることもできる。左右非対称に形成されても、固定拡大プレートと可動拡大プレートは互いに別個の機能を発揮できさえすればよいので、何ら支障はない。また、変位発生手段からの変位を押込プレートに円滑に伝達するために、変位発生手段は、その中心線が、押込プレートの互いに交差する第1、第2の傾斜面の交点を通るように配置されることが好ましい。押込プレートは、変位拡大装置の出力軸方向に移動されるが、この移動量は前述の如く微小であるので、押込プレートが移動しても上記好ましい位置関係は実質的に崩れない。
変位拡大機構の各部の円滑な動作、および各部間の円滑な相対移動動作を確保するために、例えば図1に示したように、上記変位発生手段と上記押込プレートとの間、上記押込プレートと上記固定拡大プレートとの間、上記押込プレートと上記可動拡大プレートとの間の少なくともいずれかに、望ましくはこれらの全ての部位に、両者間を相対移動可能に係合させる転動体が介装されていることが好ましい。さらに、可動拡大プレートと出力軸との間に、同様の転動体を介装することもできる。転動体としては、円筒状のころボール状のころのいずれも使用できる。
また、上述の如く、本発明に係る変位拡大装置は、とくに拡大倍率が4倍以下の領域で従来装置(変位拡大機構が同角二段のもの)に対して有意差を発揮できるが、図2に示したように、拡大倍率4倍以上の領域においても、問題なく所望の拡大倍率に設定することができる。この拡大倍率4倍以上の領域においては、図2から明らかなように、拡大倍率を変更する場合の押込プレートの傾斜面の角度変化が従来装置に比べ少なくて済むことから、目標とする拡大倍率が定まれば、その拡大倍率を得るための押込プレートの傾斜面の角度設定が容易になり、多少設定角度がずれても得られる拡大倍率の誤差は少なくて済む。この面からは、拡大倍率4倍以上の領域においては、本発明に係る変位拡大装置は、従来装置よりも製作が容易であり、製作誤差や組立誤差の許容度合が大きいと言える。したがって、この拡大倍率4倍以上の領域まで含めると、本発明に係る変位拡大装置における押込プレートの第1、第2の傾斜面の、上記変位発生手段による変位の入力方向と直交する方向に対する傾斜角としては、10〜63度の範囲内に設定されていることが好ましいことが図2から読み取れる。
また、本発明に係る変位拡大装置においては、装置内で遊びを生じることなく変位拡大動作のための変位伝達が行われるために、上記出力軸が、上記可動拡大プレート側に向けて付勢されていることが好ましい。付勢手段としてはとくに限定されず、コイルスプリングや板ばね等のばね手段の他、エアシリンダ等のシリンダ手段を使用できる。
本発明に係る変位拡大装置における変位発生手段としてはとくに限定されず、例えば、圧電素子の伸縮を変位として出力可能な圧電アクチュエータや、磁歪素子の伸縮を変位として出力可能な磁歪アクチュエータを好適に使用できる。
このように、本発明に係る変位拡大装置によれば、拡大プレートの傾斜角を大きくすることができるので、拡大プレートが円滑に動作することが可能にある。さらに、押込プレート、拡大プレート、転動体の弾性変形を減らすことができるので、変位量のロスを低減し、かつ、剛性を高めることができる。
また、左右対称構造となっていないので、左右の部品の精度および組立不良による変位のロスを生じさせることなく、変位を確実に伝達することができる。
以下に、本発明の望ましい実施の形態を、図面を参照しながら具体的に説明する。
図3は、本発明の一実施態様に係る変位拡大装置を示しており、その基本構成は、前述の動作原理の説明で使用した図1の装置と同じである。したがって、図1に付したのと同一の符号を図3にも付してある。この変位拡大装置1における動作では、ベース板2とアクチュエータホルダ15で固定された変位発生手段としての圧電アクチュエータ3の出力軸の変位出力は、転動体としての円筒ころ4を介して第1、第2の二つの傾斜面5、6を持ち変位拡大装置の出力軸方向に摺動自在となっている押込プレート7に伝えられる。その変位は、二つの傾斜面5、6に円筒ころ10、11を介して自身の傾斜面8、9が当接している二つの拡大プレート12、13(固定拡大プレート12、可動拡大プレート13)に伝えられ、出力軸14側の拡大プレート13は、押込プレート7と拡大プレート12の傾斜面による拡大倍率と押込プレート7と拡大プレート13の傾斜面による拡大倍率との和の拡大倍率をもって、前述の動作原理により出力軸方向に変位される。この時、固定拡大プレート12は、ねじ16によりベース板2に固定されており、かつ、ストッパプレート17、18に対し固定されたままであり、所定の拡大倍率で変位される拡大プレート13の変位方向は、円筒ころ19を介してのストッパプレート18による案内により、上記出力軸方向に維持される。またこの時、反出力軸側の固定拡大プレート12は本来なら押込プレート7と拡大プレート12の傾斜角により変位拡大動作しようとするのであるが、上記の如く固定されているので、その反力により摺動自在な押込プレート7が変位拡大装置1の出力軸方向にその拡大動作をすることになる。その拡大動作が、可動拡大プレート13をさらに出力軸方向に動作させ、結果として拡大プレート12、13の二つ分の拡大変位が変位拡大装置1の出力軸14に出力される。
また、円筒ころを用いた各部材支持構造には3点支持構造が適用されており、例えば可動拡大プレート13は、2つの円筒ころ11と1つの円筒ころ19によって3点支持されている。このような3点支持構造を採用することにより、全ての円筒ころ11、19が確実に(非接触のころが生じることなく)拡大プレート13に接触するので、拡大プレート13は安定して所定の姿勢に保たれながら、所定の方向(出力軸方向)に円滑に移動される。
出力軸14に対しては、リニアブッシュ20が設置されていて、拡大変位を確実に所定の一方向に出力させることができるようになっている。さらに、出力軸14は、付勢手段としての圧縮ばね21により変位拡大装置の反出力方向へ予圧がかけられており、該予圧により、出力軸14と可動拡大プレート13との間、さらにはアクチュエータ3の出力端に至るまでの変位伝達経路全体にわたって、遊びなく係合できるようになっている。したがって、可動拡大プレート13の拡大された変位は、確実にかつ精度良く出力軸14の変位として出力される。
なお、本発明に係る変位拡大装置の具体的な構造としては、図1、図3に示した構造以外、種々の変更が可能である。例えば図4に示すような形態をとることも可能である。図4に示す変位拡大装置31においては、変位発生手段32(例えば、圧電アクチュエータ)の出力変位が円筒ころ33、34を介して固定拡大プレート35と可動拡大プレート36に伝達され、さらに固定拡大プレート35と可動拡大プレート36に伝達された荷重が円筒ころ37、38を介して第1の傾斜面39、第2の傾斜面40を有する押込プレート41に伝達される。押込プレート41は、円筒ころ42を介してストッパプレート43に沿って出力軸方向に摺動される。押込プレート41と固定拡大プレート35との間の傾斜面間、および押込プレート41と可動拡大プレート36との間の傾斜面間で、荷重、変位の伝達が行われ変位が拡大されようとするが、固定拡大プレート35は出力軸方向に対しては円筒ころ44を介してストッパプレート45によって固定されているので、結局、両傾斜面間での拡大倍率の和の変位拡大倍率で、可動拡大プレート36が出力軸方向に変位されることになる。この拡大された変位が、付勢手段としての圧縮ばね46によって常時反出力方向に付勢されている出力軸47の変位として出力される。
この構成例のように、交差する二つの傾斜面を持つ押込プレートが存在し、その二つの面に例えば円筒ころを介して当接している二つの拡大プレートがあり、変位拡大装置の反出力軸方向の拡大プレートは変位拡大装置の出力軸方向には動作不能になっていて(出力軸方向には固定されていて)、押込プレートはその反力を受け変位拡大装置の出力軸方向へ摺動可能な押込プレートとなっていて、二つの拡大プレートの拡大変位を合成し変位拡大装置の出力軸に出力可能な構成であれば、前述の構成例に必ずしも限定されるものではなく、図4に示したように押込プレートと拡大プレートのお互いの位置関係が変わっていてもかまわない。
図5に、図1、図3に示した実施形態による変位出力特性の例を示す。正弦波100Hzにおいて発生された圧電アクチュエータの変位に対し、本発明に係る変位拡大装置によって5.6倍に拡大され、拡大された変位が、ばらつくこと無く高精度で得られていることが分かる。つまり、圧電アクチュエータの変位データに5.6をかけて得られた破線で示す演算変位と、実線で示す本発明に係る変位拡大装置の出力軸の実際に得られた変位とは、ほぼ完全に一致した。このことは、本実施形態により、変位拡大がリニアに確実に行われているを示している。
なお、上記拡大変位量の測定(図5)は、日本エー・ディー・イー株式会社、静電容量型変位計「マイクロセンス3401HR−01」を用いて行った。
本発明に係る変位拡大装置は、重いワークを高速動作させる用途や、加工機の送り機構などの高剛性が必要な用途に特に好適に適用できる。また、アクチュエータに対しリニアに変位拡大を行なう必要がある用途にも適用できる。
本発明における変位拡大原理を説明するための一実施形態に係る変位拡大装置の概略構成図である。 本発明装置と従来装置の比較のための拡大プレートの角度と拡大倍率との関係図である。 本発明の一実施態様に係る変位拡大装置の概略構成図である。 本発明の別の実施態様に係る変位拡大装置の概略構成図である。 本発明の変位拡大装置によって得られた拡大変位特性図である。
符号の説明
1、31 変位拡大装置
2 ベース板
3、32 変位発生手段(圧電アクチュエータ)
4、10、11、19、33、34、37、38、42、44 円筒ころ
5、39 第1の傾斜面
6、40 第2の傾斜面
7、41 押込プレート
8、9 傾斜面
12、35 固定拡大プレート
13、36 可動拡大プレート
14、47 出力軸
15 アクチュエータホルダ
16 ねじ
17、18、43、45 ストッパプレート
20 リニアブッシュ
21、46 付勢手段としての圧縮ばね

Claims (9)

  1. 変位発生手段から入力される変位を拡大して出力する変位拡大装置であって、
    前記変位発生手段から変位が入力され、互いに交差する第1、第2の二つの傾斜面を有し、前記変位発生手段による変位の入力方向と交差する方向に設定された出力軸方向に移動自在に設けられた押込プレートと、
    該押込プレートの第1の傾斜面からの伝達荷重を受けるとともに該第1の傾斜面に対し相対的に平行移動可能な傾斜面を有し、自身は出力軸方向に位置が固定されている固定拡大プレートと、
    前記押込プレートの第2の傾斜面からの伝達荷重を受けるとともに該第2の傾斜面に対し相対的に平行移動可能な傾斜面を有し、出力軸方向に移動自在に設けられた可動拡大プレートと、
    該可動拡大プレートの出力軸方向の変位を前記変位発生手段から入力された変位の拡大変位として出力する出力部と、
    を有することを特徴とする変位拡大装置。
  2. 前記出力部が、前記出力軸方向に変位可能に設けられた出力軸からなる、請求項1に記載の変位拡大装置。
  3. 前記押込プレートの第1、第2の傾斜面が左右対称に形成されている、請求項1または2に記載の変位拡大装置。
  4. 前記押込プレートの第1、第2の傾斜面が左右非対称に形成されている、請求項1または2に記載の変位拡大装置。
  5. 前記変位発生手段と前記押込プレートとの間、前記押込プレートと前記固定拡大プレートとの間、前記押込プレートと前記可動拡大プレートとの間の少なくともいずれかに、両者間を相対移動可能に係合させる転動体が介装されている、請求項1〜4のいずれかに記載の変位拡大装置。
  6. 前記押込プレートの第1、第2の傾斜面の、前記変位発生手段による変位の入力方向と直交する方向に対する傾斜角が、10〜63度の範囲内に設定されている、請求項1〜5のいずれかに記載の変位拡大装置。
  7. 前記出力軸が、前記可動拡大プレート側に向けて付勢されている、請求項2〜6のいずれかに記載の変位拡大装置。
  8. 前記変位発生手段が、圧電素子の伸縮を変位として出力可能な圧電アクチュエータからなる、請求項1〜7のいずれかに記載の変位拡大装置。
  9. 前記変位発生手段が、磁歪素子の伸縮を変位として出力可能な磁歪アクチュエータからなる、請求項1〜7のいずれかに記載の変位拡大装置。
JP2008229737A 2008-09-08 2008-09-08 変位拡大装置 Expired - Fee Related JP5256414B2 (ja)

Priority Applications (1)

Application Number Priority Date Filing Date Title
JP2008229737A JP5256414B2 (ja) 2008-09-08 2008-09-08 変位拡大装置

Applications Claiming Priority (1)

Application Number Priority Date Filing Date Title
JP2008229737A JP5256414B2 (ja) 2008-09-08 2008-09-08 変位拡大装置

Publications (2)

Publication Number Publication Date
JP2010068549A true JP2010068549A (ja) 2010-03-25
JP5256414B2 JP5256414B2 (ja) 2013-08-07

Family

ID=42193650

Family Applications (1)

Application Number Title Priority Date Filing Date
JP2008229737A Expired - Fee Related JP5256414B2 (ja) 2008-09-08 2008-09-08 変位拡大装置

Country Status (1)

Country Link
JP (1) JP5256414B2 (ja)

Cited By (2)

* Cited by examiner, † Cited by third party
Publication number Priority date Publication date Assignee Title
JP2016010302A (ja) * 2014-06-26 2016-01-18 京セラ株式会社 電子機器の外付けケース
CN110492781A (zh) * 2019-08-05 2019-11-22 包头稀土研究院 三级微位移放大机构及其放大方法

Citations (8)

* Cited by examiner, † Cited by third party
Publication number Priority date Publication date Assignee Title
JPS63693U (ja) * 1986-06-18 1988-01-06
JPH04341644A (ja) * 1991-05-16 1992-11-27 Omron Corp 変位発生装置
JPH0644159U (ja) * 1992-11-17 1994-06-10 富士電気化学株式会社 圧電アクチュエータ
JP2003134859A (ja) * 2001-10-16 2003-05-09 Toshiro Higuchi 圧電アクチュエータ
JP2003207016A (ja) * 2001-12-31 2003-07-25 Delta Electoronics Inc 変速機構
JP2007166714A (ja) * 2005-12-09 2007-06-28 Japan Science & Technology Agency 変位拡大装置
JP2007294535A (ja) * 2006-04-21 2007-11-08 Tdk Corp 磁歪素子
JP2008172888A (ja) * 2007-01-10 2008-07-24 Toyota Central R&D Labs Inc 圧電アクチュエータ

Patent Citations (8)

* Cited by examiner, † Cited by third party
Publication number Priority date Publication date Assignee Title
JPS63693U (ja) * 1986-06-18 1988-01-06
JPH04341644A (ja) * 1991-05-16 1992-11-27 Omron Corp 変位発生装置
JPH0644159U (ja) * 1992-11-17 1994-06-10 富士電気化学株式会社 圧電アクチュエータ
JP2003134859A (ja) * 2001-10-16 2003-05-09 Toshiro Higuchi 圧電アクチュエータ
JP2003207016A (ja) * 2001-12-31 2003-07-25 Delta Electoronics Inc 変速機構
JP2007166714A (ja) * 2005-12-09 2007-06-28 Japan Science & Technology Agency 変位拡大装置
JP2007294535A (ja) * 2006-04-21 2007-11-08 Tdk Corp 磁歪素子
JP2008172888A (ja) * 2007-01-10 2008-07-24 Toyota Central R&D Labs Inc 圧電アクチュエータ

Cited By (3)

* Cited by examiner, † Cited by third party
Publication number Priority date Publication date Assignee Title
JP2016010302A (ja) * 2014-06-26 2016-01-18 京セラ株式会社 電子機器の外付けケース
CN110492781A (zh) * 2019-08-05 2019-11-22 包头稀土研究院 三级微位移放大机构及其放大方法
CN110492781B (zh) * 2019-08-05 2024-03-29 包头稀土研究院 三级微位移放大机构及其放大方法

Also Published As

Publication number Publication date
JP5256414B2 (ja) 2013-08-07

Similar Documents

Publication Publication Date Title
JP6214193B2 (ja) 振動波駆動装置、二次元駆動装置、画像振れ補正装置、交換レンズ、撮像装置、及び自動ステージ
US8890390B2 (en) Vibration-wave driving device, two-dimensional driving apparatus, and image-shake correcting apparatus
CN101369104A (zh) 光学元件微调整装置
JP5256414B2 (ja) 変位拡大装置
JP6598488B2 (ja) 振動波モータ
JP3992681B2 (ja) 超高精度供給装置
US8957567B2 (en) Mechanical design of deformation compensated flexural pivots structured for linear nanopositioning stages
JP3434709B2 (ja) テーブル機構
JP2018174618A (ja) 振動波モータを用いたリニア駆動装置及び光学装置
JP2025126332A (ja) 振動型アクチュエータ及び撮像装置
US20200240576A1 (en) Orthogonal two axis kinematic translation stage
JP2019126161A (ja) 振動波モータおよび振動波モータを用いたレンズ駆動装置
JP2013027191A (ja) 変位拡大装置
JPH04218981A (ja) 圧電アクチュエータの変位拡大機構
Rommers et al. A large range spatial linear guide with torsion reinforcement structures
JP4951322B2 (ja) 移動装置
JP2004058247A (ja) 変位量微調整装置と変位量微調整方法
JPH0446253A (ja) 変位拡大・倍力機能を有するアクチュエータ機構
JP2011009171A (ja) 試料ステージおよび電子顕微鏡装置
JP6369741B2 (ja) 位置決め機構
JP2020102920A (ja) 変位拡大機構、アクチュエータ、及び、変位拡大機構の調整方法
JP2016001112A (ja) 高分解能化機構
JP6584990B2 (ja) ステージ装置
JP2014199215A (ja) アクチュエータユニット
CN121420140A (zh) 气体轴承

Legal Events

Date Code Title Description
A621 Written request for application examination

Free format text: JAPANESE INTERMEDIATE CODE: A621

Effective date: 20110901

A977 Report on retrieval

Free format text: JAPANESE INTERMEDIATE CODE: A971007

Effective date: 20130130

TRDD Decision of grant or rejection written
A01 Written decision to grant a patent or to grant a registration (utility model)

Free format text: JAPANESE INTERMEDIATE CODE: A01

Effective date: 20130226

A61 First payment of annual fees (during grant procedure)

Free format text: JAPANESE INTERMEDIATE CODE: A61

Effective date: 20130312

FPAY Renewal fee payment (event date is renewal date of database)

Free format text: PAYMENT UNTIL: 20160502

Year of fee payment: 3

R150 Certificate of patent or registration of utility model

Ref document number: 5256414

Country of ref document: JP

Free format text: JAPANESE INTERMEDIATE CODE: R150

Free format text: JAPANESE INTERMEDIATE CODE: R150

R250 Receipt of annual fees

Free format text: JAPANESE INTERMEDIATE CODE: R250

R250 Receipt of annual fees

Free format text: JAPANESE INTERMEDIATE CODE: R250

R250 Receipt of annual fees

Free format text: JAPANESE INTERMEDIATE CODE: R250

R250 Receipt of annual fees

Free format text: JAPANESE INTERMEDIATE CODE: R250

R250 Receipt of annual fees

Free format text: JAPANESE INTERMEDIATE CODE: R250

LAPS Cancellation because of no payment of annual fees