JP2010065807A - シリンダヘッドガスケット - Google Patents

シリンダヘッドガスケット Download PDF

Info

Publication number
JP2010065807A
JP2010065807A JP2008234938A JP2008234938A JP2010065807A JP 2010065807 A JP2010065807 A JP 2010065807A JP 2008234938 A JP2008234938 A JP 2008234938A JP 2008234938 A JP2008234938 A JP 2008234938A JP 2010065807 A JP2010065807 A JP 2010065807A
Authority
JP
Japan
Prior art keywords
plate
cylinder head
head gasket
cylinder
seal
Prior art date
Legal status (The legal status is an assumption and is not a legal conclusion. Google has not performed a legal analysis and makes no representation as to the accuracy of the status listed.)
Granted
Application number
JP2008234938A
Other languages
English (en)
Other versions
JP5035695B2 (ja
Inventor
Yasumaro Takeda
安麿 武田
Ryosuke Fujiki
亮介 藤木
Toru Takasu
徹 高須
Kazuya Kichijima
一也 吉島
Yoshihiko Masuda
義彦 増田
Current Assignee (The listed assignees may be inaccurate. Google has not performed a legal analysis and makes no representation or warranty as to the accuracy of the list.)
Nippon Gasket Co Ltd
Toyota Motor Corp
Original Assignee
Nippon Gasket Co Ltd
Toyota Motor Corp
Priority date (The priority date is an assumption and is not a legal conclusion. Google has not performed a legal analysis and makes no representation as to the accuracy of the date listed.)
Filing date
Publication date
Application filed by Nippon Gasket Co Ltd, Toyota Motor Corp filed Critical Nippon Gasket Co Ltd
Priority to JP2008234938A priority Critical patent/JP5035695B2/ja
Publication of JP2010065807A publication Critical patent/JP2010065807A/ja
Application granted granted Critical
Publication of JP5035695B2 publication Critical patent/JP5035695B2/ja
Expired - Fee Related legal-status Critical Current
Anticipated expiration legal-status Critical

Links

Images

Landscapes

  • Gasket Seals (AREA)

Abstract

【解決手段】 シリンダヘッドガスケット1は、シリンダヘッド2とシリンダボア4を有するシリンダブロック3との間に挟持されるようになっており、上記シリンダボア4の位置に燃焼室孔14を穿設した厚さ調整板10と、シールプレート11〜13と、シムプレート17とを積層した構成となっている。そして積層したシールプレートと厚さ調整板とシムプレートとに亘って、上記燃焼室孔の周囲においてシリンダヘッドガスケットの表裏面に突出する凹凸状係合部21を形成してあり、該係合部によって上記積層したシールプレートと厚さ調整板とシムプレートとを相互に一体的に連結してある。
【効果】 上記凹凸状係合部21を介してシリンダヘッドとシリンダブロックとを強固に連結することができるので、エンジンの爆発圧力によるシリンダブロックの変形を抑制することができ、それによってシール性の低下を防止することができる。
【選択図】 図2

Description

本発明はシリンダヘッドガスケットに関し、より詳しくは、シリンダヘッドとシリンダボアを有するシリンダブロックとの間に挟持され、シールプレートと厚さ調整板とシムプレートとを相互に積層したシリンダヘッドガスケットに関する。
従来、シリンダヘッドガスケットとして、シリンダヘッドとシリンダボアを有するシリンダブロックとの間に挟持され、上記シリンダボアの位置に燃焼室孔を穿設したシールプレートと、シリンダヘッドガスケットの厚さを調整する厚さ調整板と、燃焼室孔の周囲の面圧を増加させるシムプレートとを積層したシリンダヘッドガスケットが知られている。(例えば特許文献1)。
特開2008−14334号公報
エンジンのシリンダブロックは、エンジン運転時の燃焼室内の爆発圧力によって僅かに弾性変形されるようになる。特に、直列に配置した複数のシリンダボアの周囲にウォータージャケットを形成し、該ウォータージャケットをシリンダブロックの上面に開口させたオープンデッキ型のシリンダブロックにおいては、オープンデッキ型ではないシリンダブロックに比較して、上記ウォータージャケットよりもシリンダボア側の弾性変形が大きくなる。
この弾性変形は、シリンダブロックの隣接するボア間において相対的に大きくなり、最悪の場合には亀裂が生じる危険性があった。
そして、上述した従来周知のシリンダヘッドガスケットを、シリンダボア周囲の弾性変形が相対的に大きなエンジンに適用すると、その弾性変形によってシリンダヘッドガスケットとシリンダブロックとの間や、シリンダヘッドガスケットとシリンダヘッドとの間、あるいは積層重合されたシールプレート、厚さ調整板およびシムプレートの間にこすれが生じ、その部分のシール性が低下するという問題があった。
本発明はそのような事情に鑑み、上記シリンダブロックの弾性変形を可及的に抑制して、良好なシール性を長期間維持することができシリンダヘッドガスケットを提供するものである。
すなわち請求項1の発明は、シリンダヘッドとシリンダボアを有するシリンダブロックとの間に挟持され、上記シリンダボアの位置に燃焼室孔を穿設したシールプレートと、シリンダヘッドガスケットの厚さを調整する厚さ調整板と、燃焼室孔の周囲の面圧を増加させるシムプレートとを積層したシリンダヘッドガスケットにおいて、
上記積層したシールプレートと厚さ調整板とシムプレートとに亘って、上記燃焼室孔の周囲においてシリンダヘッドガスケットの表裏面に突出する凹凸状係合部を形成し、該係合部によって上記積層したシールプレートと厚さ調整板とシムプレートとを相互に一体的に連結したことを特徴とするものである。
上記構成によれば、燃焼室孔の周囲に設けた凹凸状係合部をシリンダヘッドとシリンダブロックとによって挟持することができ、この係合部はシリンダヘッドガスケットの表裏面に突出しているので、該係合部を介してシリンダヘッドとシリンダブロックとを、該係合部の無い従来に比較して、より強固に連結することができるようになる。
これによりエンジンの爆発圧力によるシリンダブロックの変形を抑制することができるので、その変形によるシリンダブロックの亀裂を防止することができるとともに、シリンダヘッドガスケットとシリンダブロックとの間や、シリンダヘッドガスケットとシリンダヘッドとの間のこすれが生じることを抑制することができる。
これと同時に、上記積層したシールプレートと厚さ調整板とシムプレートとは係合部によって相互に一体的に連結されているので、それらの間にこすれが生じることも抑制することができ、したがってそのこすれに起因するシール性の低下を防止することができる。
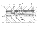
以下図示実施例について本発明を説明すると、図2において、本実施例のシリンダヘッドガスケット1は、シリンダヘッド2とシリンダブロック3との間に挟持されてそれらの間をシールするようになっている。
上記シリンダブロック3は、図1に示す実施例では、一直線上に直列に配置された4つのシリンダボア4を備えており、各シリンダボア4の周囲にそれらを囲繞するようにウォータージャケット5が形成され、このウォータージャケット5は、シリンダブロック3の上面に開口している。
上記シリンダヘッドガスケット1は、図2に示すように、シリンダヘッドガスケットの厚さを調整する1枚の金属製厚さ調整板10と、この厚さ調整板10のシリンダヘッド2側に配置した2枚の金属製第1シールプレート11および第2シールプレート12と、上記厚さ調整板10のシリンダブロック3側に配置した1枚の金属製第3シールプレート13とを備えており、これら厚さ調整板10と各シールプレート11〜13にはそれぞれ、上記シリンダブロック3のシリンダボア4に合わせて穿設した4つの燃焼室孔14を形成してある。
また、図1に示すように、上記厚さ調整板10と各シールプレート11〜13には、図示しない締結ボルトを挿通するための複数のボルト孔15と、ブローバイガスを流通させるブローバイ孔16をそれぞれ穿設してある。
さらに図2に示すように、上記第1シールプレート11と第2シールプレート12との間には、それぞれ燃焼室孔14の周囲の面圧を増加させるリング状の金属製シムプレート17を設けてあり、このシムプレート17は各シリンダボア4毎に配置してある。
上記各シリンダボア4毎に配置したリング状のシムプレート17は、各シリンダボア4の中間位置で相互に一体的に連結してあり、それによって組み立ての容易性を向上させている。しかしながらシムプレート17は、それぞれ別体に製造してもよい。
上記厚さ調整板10のシリンダヘッド2側に配置した上方の第1シールプレート11と下方の第2シールプレート12には、リング状のシムプレート17と重合する範囲内でそれぞれフルビード11a、12aを形成してあり、シリンダヘッド2に当接される上方の第1シールプレート11に形成したフルビード11aは、シリンダヘッド2に向けて突出するように形成してある。
他方、厚さ調整板10に当接されるシリンダヘッド2側の第2シールプレート12に形成したフルビード12aは、厚さ調整板10に向けて突出するように形成してある。
そして、厚さ調整板10のシリンダブロック3側に配置した第3シールプレート13にも厚さ調整板10に向けて突出するフルビード13aを形成してあり、上記各フルビード11a〜13aは、それぞれ各燃焼室孔14を無端状に囲むように形成してある。
上記第1シールプレート11ないし第3シールプレート13の各表面には、フッ素、ニトリル系等のゴム又はエラストマーの材料などのコーティング材18をコーティングしてある。
上記コーティング材18は、それぞれ相手材との密着性、シール性を向上させる目的で設けたものであるが、さらに必要に応じて、すべり性や非粘着性を確保するために、上記コーティング材18の表面にグラファイトやワックスなどのトップコートを施してもよい
次に、上記厚さ調整板10、シールプレート11〜13、及びシムプレート17には、図1、図2に示すように、燃焼室孔14を囲む位置に、それらを相互に密着積層させた状態で、断面波型(図2参照)の凹凸状係合部21を形成してある。この凹凸状係合部21の凸部21aは、シリンダヘッドガスケット1の表裏面に突出しており、また該係合部21によって上記積層した厚さ調整板10及びプレート11〜13、17を相互に一体的に連結してある。
上記係合部21は、図1に示すように、上記ウォータージャケット5よりも内側の位置で、4つの燃焼室孔14を共通に囲むように無端状に形成してあり、該シリンダヘッドガスケット1をシリンダヘッド2とシリンダブロック3との間に挟持した際には、この係合部21の凸部21aがシリンダヘッド2とシリンダブロック3とに接触するようにしてある。
したがって、シリンダヘッドガスケット1をシリンダヘッド2とシリンダブロック3との間に挟持した際には、該シリンダヘッド2とシリンダブロック3とは、ウォータージャケット5の内側の位置において、上記係合部21の凸部21aを介して強固に連結されるようになる。
これにより、特にウォータージャケット5よりも内側となるシリンダブロック3がシリンダボア4側の爆発圧力によってボア4の半径方向外方に湾曲されるのを抑制することが可能となる。
また、上記厚さ調整板10及びプレート11〜13、17は、凹凸状係合部21を介して相互に一体的に連結されるよになるので、それら厚さ調整板10や各プレート11〜13、17間の相対的なズレも抑制されるようになる。
そして、シリンダブロック3の局部的な変形を効果的に抑制することができれば、それに起因して生じるシリンダブロック3と第3シールプレート13との間のこすれや、シリンダヘッド2と第1シールプレート11との間のこすれ、或いは第1シールプレート11と第2シールプレート12との間、第2シールプレート12と厚さ調整板10との間、厚さ調整板10と第3シールプレート13との間などのこすれを抑制することができ、そのこすれに起因して生じるシール性の低下を防止することができる。
図3は本発明の第2実施例を示したもので、第1実施例では、係合部21は4つの燃焼室孔14を共通に囲むように無端状に形成しているが、本実施例においては図示しないがその一部を省略してあり、すなわち第1実施例では形成していた凹凸状係合部21を形成せずに平坦状に形成してあり(図3参照)、その部分にスポット溶接を施して、上記厚さ調整板10及び各プレート11〜13、17を相互に一体に連結したものである。
その他の構成は、第1実施例と同様に構成してあり、同一又は相当部分には同一の符号を付して示してある。
上述したようにスポット溶接を施せば、上記厚さ調整板10及び各プレート11〜13、17をより強固に一体に連結することができるので、それらの間のこすれをより確実に防止することができる。
なお、本実施例の説明から理解されるように、上記凹凸状係合部21は必ずしも燃焼室孔14を無端状に囲むように形成する必要はない。但し、凹凸状係合部21を形成する位置は、上述したようにシリンダブロック3の弾性変形は隣接するボア4、4間において相対的に大きくなるので、それを抑制するためにその隣接するボア4、4に近接した位置であることが望ましい。
他方、スポット溶接を施す際には、凹凸状係合部21を形成した位置に重ねて該スポット溶接を施しても良く、また上記スポット溶接の代わりに、ポリイミド系、無機質系などの耐熱性を有する接着剤を用いてもよい。
図4は本発明の第3実施例を示したもので、本実施例においては、上記第1実施例の第3シールプレート13の下面(シリンダブロック3側)に、第4シールプレート34を積層したものである。この第4シールプレート34にも、燃焼室孔14を無端状に囲むフルビード34aを形成してあり、このフルビード34aは第3シールプレート13のフルビード13aとは離隔する方向に、すなわちシリンダブロック3側に突出する方向に形成してある。
その他の構成は、第1実施例又は第2実施例と同様に構成してあり、同一又は相当部分には同一の符号を付して示してある。
本実施例のように、第1実施例の構成にさらに第4シールプレート34を追加すれば、よりシール効果を向上させることができる。
図5は本発明の第4実施例を示したもので、本実施例は第3実施例の簡素化を図ったものである。
すなわち本実施例では、上述した第3実施例からシリンダヘッド2側の第1シールプレート11を省略し、かつシムプレート17は第2シールプレート12と厚さ調整板10との間に介在させて、厚さ調整板10とシムプレート17とを直接積層させている。
その他の構成は第3実施例と同様に構成してあり、同一又は相当部分には同一の符号を付して示してある。
本実施例においては、第3実施例の第1シールプレート11を省略してあるが、シールプレート12、13、34の枚数は第1実施例と同一であり、第1実施例と同等のシール性能を確保することができる。
なお、上記凹凸状係合部21におけるシリンダヘッド2との接触面とシリンダブロック3との接触面とに摩擦係数の高いコート材を設ければ、より優れた作用効果を期待することができる。
本発明の第1実施例を示す平面図。 図1のII−II線に沿う拡大断面図。 本発明の第2実施例を示す断面図。 本発明の第3実施例を示す断面図。 本発明の第4実施例を示す断面図。
符号の説明
1 シリンダヘッドガスケット 2 シリンダヘッド
3 シリンダブロック 4 シリンダボア
5 ウォータージャケット 10 厚さ調整板
11〜13、34 シールプレート 14 燃焼室孔
11a〜13a、34a フルビード 17 シムプレート
21 凹凸状係合部

Claims (8)

  1. シリンダヘッドとシリンダボアを有するシリンダブロックとの間に挟持され、上記シリンダボアの位置に燃焼室孔を穿設したシールプレートと、シリンダヘッドガスケットの厚さを調整する厚さ調整板と、燃焼室孔の周囲の面圧を増加させるシムプレートとを積層したシリンダヘッドガスケットにおいて、
    上記積層したシールプレートと厚さ調整板とシムプレートとに亘って、上記燃焼室孔の周囲においてシリンダヘッドガスケットの表裏面に突出する凹凸状係合部を形成し、該係合部によって上記積層したシールプレートと厚さ調整板とシムプレートとを相互に一体的に連結したことを特徴とするシリンダヘッドガスケット。
  2. 上記積層したシールプレートと厚さ調整板とシムプレートとは、さらに溶接又は接着剤によって相互に一体的に連結されていることを特徴とする請求項1に記載のシリンダヘッドガスケット。
  3. 上記係合部は、シリンダブロックの表面に開口するウォータージャケットよりもシリンダボア側に形成されていることを特徴とする請求項1又は請求項2に記載のシリンダヘッドガスケット。
  4. 上記係合部よりも燃焼室孔側のシールプレートに、フルビードが形成されていることを特徴とする請求項1ないし請求項3のいずれかに記載のシリンダヘッドガスケット。
  5. 上記係合部におけるシリンダヘッドとの接触面とシリンダブロックとの接触面とに、摩擦係数の高いコート材が設けられていることを特徴とする請求項1ないし請求項4のいずれかに記載のシリンダヘッドガスケット。
  6. 上記シールプレートは厚さ調整板の一側に少なくとも2枚積層重合されて配置されるとともに、これらシールプレートの間に上記シムプレートが介在されていることを特徴とする請求項1ないし請求項5のいずれかに記載のシリンダヘッドガスケット。
  7. 上記シールプレートは厚さ調整板の両側のそれぞれで2枚積層重合されて配置されるとともに、少なくとも一方の相互に積層された2枚のシールプレートの間に上記シムプレートが介在されていることを特徴とする請求項1ないし請求項5のいずれかに記載のシリンダヘッドガスケット。
  8. 上記厚さ調整板とシムプレートは直接積層されていることを特徴とする請求項1ないし請求項5のいずれかに記載のシリンダヘッドガスケット。
JP2008234938A 2008-09-12 2008-09-12 シリンダヘッドガスケット Expired - Fee Related JP5035695B2 (ja)

Priority Applications (1)

Application Number Priority Date Filing Date Title
JP2008234938A JP5035695B2 (ja) 2008-09-12 2008-09-12 シリンダヘッドガスケット

Applications Claiming Priority (1)

Application Number Priority Date Filing Date Title
JP2008234938A JP5035695B2 (ja) 2008-09-12 2008-09-12 シリンダヘッドガスケット

Publications (2)

Publication Number Publication Date
JP2010065807A true JP2010065807A (ja) 2010-03-25
JP5035695B2 JP5035695B2 (ja) 2012-09-26

Family

ID=42191550

Family Applications (1)

Application Number Title Priority Date Filing Date
JP2008234938A Expired - Fee Related JP5035695B2 (ja) 2008-09-12 2008-09-12 シリンダヘッドガスケット

Country Status (1)

Country Link
JP (1) JP5035695B2 (ja)

Cited By (1)

* Cited by examiner, † Cited by third party
Publication number Priority date Publication date Assignee Title
JP2014505847A (ja) * 2011-02-01 2014-03-06 フェデラル−モーグル コーポレイション 二次圧縮リミッタを備えた多層静的ガスケット

Citations (7)

* Cited by examiner, † Cited by third party
Publication number Priority date Publication date Assignee Title
JPS6480757A (en) * 1987-09-21 1989-03-27 Kuniaki Numaya Metal gasket
EP1099891A2 (de) * 1999-11-10 2001-05-16 Federal-Mogul Sealing Systems GmbH Mehrschichtige Zylinderkopfdichtung
US20030127805A1 (en) * 2002-01-09 2003-07-10 Klaus Stapel Cylinder head gasket that fills gaps arising from local depressions in the area of the pressure limiter
US20040012154A1 (en) * 2000-10-12 2004-01-22 Gunther Unseld Multi-layered steel gasket
JP2004353851A (ja) * 2003-04-04 2004-12-16 Ket & Ket:Kk 金属ガスケット
JP2008014334A (ja) * 2006-07-03 2008-01-24 Toyota Motor Corp シリンダヘッドガスケット
JP2008025737A (ja) * 2006-07-21 2008-02-07 Toyota Motor Corp ガスケット

Patent Citations (7)

* Cited by examiner, † Cited by third party
Publication number Priority date Publication date Assignee Title
JPS6480757A (en) * 1987-09-21 1989-03-27 Kuniaki Numaya Metal gasket
EP1099891A2 (de) * 1999-11-10 2001-05-16 Federal-Mogul Sealing Systems GmbH Mehrschichtige Zylinderkopfdichtung
US20040012154A1 (en) * 2000-10-12 2004-01-22 Gunther Unseld Multi-layered steel gasket
US20030127805A1 (en) * 2002-01-09 2003-07-10 Klaus Stapel Cylinder head gasket that fills gaps arising from local depressions in the area of the pressure limiter
JP2004353851A (ja) * 2003-04-04 2004-12-16 Ket & Ket:Kk 金属ガスケット
JP2008014334A (ja) * 2006-07-03 2008-01-24 Toyota Motor Corp シリンダヘッドガスケット
JP2008025737A (ja) * 2006-07-21 2008-02-07 Toyota Motor Corp ガスケット

Cited By (2)

* Cited by examiner, † Cited by third party
Publication number Priority date Publication date Assignee Title
JP2014505847A (ja) * 2011-02-01 2014-03-06 フェデラル−モーグル コーポレイション 二次圧縮リミッタを備えた多層静的ガスケット
KR101901639B1 (ko) * 2011-02-01 2018-09-27 페더럴-모걸 엘엘씨 이차 압축 제한부를 가진 멀티레이어형 정적 개스킷

Also Published As

Publication number Publication date
JP5035695B2 (ja) 2012-09-26

Similar Documents

Publication Publication Date Title
JP4156527B2 (ja) 金属ガスケット
US6076833A (en) Metal gasket
JP2007139177A (ja) ガスケット
JP5359770B2 (ja) シリンダヘッドガスケット
JP5077436B2 (ja) シリンダヘッドガスケット
JP2008202625A (ja) 積層型ガスケット
JP2008248952A (ja) 金属ガスケット
JPH10259873A (ja) 金属製ガスケット
KR100866369B1 (ko) 실린더 헤드 개스킷
KR20080078548A (ko) 실린더 헤드 개스킷
JP4476940B2 (ja) シリンダヘッドガスケット
JP4256402B2 (ja) ガスケット
US20060197288A1 (en) Metal laminate cylinder head gasket
JP5035695B2 (ja) シリンダヘッドガスケット
JP4330897B2 (ja) 金属ガスケット
US8567791B2 (en) Multi-layer steel insert for gaskets
JP2010139007A (ja) シリンダヘッドガスケット
JP2010084937A (ja) シリンダヘッドガスケット
JP4631266B2 (ja) シリンダヘッドガスケット
JP4541399B2 (ja) 金属製ガスケット
JP4463239B2 (ja) シリンダヘッドガスケット
US7014194B2 (en) Cylinder head gasket
JP2010038299A (ja) 金属ガスケット
JP4062411B2 (ja) ガスケット
JP2008215467A (ja) 金属ガスケット

Legal Events

Date Code Title Description
A621 Written request for application examination

Free format text: JAPANESE INTERMEDIATE CODE: A621

Effective date: 20110121

A977 Report on retrieval

Free format text: JAPANESE INTERMEDIATE CODE: A971007

Effective date: 20120314

A131 Notification of reasons for refusal

Free format text: JAPANESE INTERMEDIATE CODE: A131

Effective date: 20120321

A521 Written amendment

Free format text: JAPANESE INTERMEDIATE CODE: A523

Effective date: 20120515

TRDD Decision of grant or rejection written
A01 Written decision to grant a patent or to grant a registration (utility model)

Free format text: JAPANESE INTERMEDIATE CODE: A01

Effective date: 20120608

A01 Written decision to grant a patent or to grant a registration (utility model)

Free format text: JAPANESE INTERMEDIATE CODE: A01

A61 First payment of annual fees (during grant procedure)

Free format text: JAPANESE INTERMEDIATE CODE: A61

Effective date: 20120621

FPAY Renewal fee payment (event date is renewal date of database)

Free format text: PAYMENT UNTIL: 20150713

Year of fee payment: 3

R150 Certificate of patent or registration of utility model

Ref document number: 5035695

Country of ref document: JP

Free format text: JAPANESE INTERMEDIATE CODE: R150

Free format text: JAPANESE INTERMEDIATE CODE: R150

R250 Receipt of annual fees

Free format text: JAPANESE INTERMEDIATE CODE: R250

R250 Receipt of annual fees

Free format text: JAPANESE INTERMEDIATE CODE: R250

R250 Receipt of annual fees

Free format text: JAPANESE INTERMEDIATE CODE: R250

R250 Receipt of annual fees

Free format text: JAPANESE INTERMEDIATE CODE: R250

LAPS Cancellation because of no payment of annual fees