JP2010064467A - 画像処理装置、画像処理方法、プログラム、記録媒体、印刷システム、画像形成装置 - Google Patents

画像処理装置、画像処理方法、プログラム、記録媒体、印刷システム、画像形成装置 Download PDF

Info

Publication number
JP2010064467A
JP2010064467A JP2008235780A JP2008235780A JP2010064467A JP 2010064467 A JP2010064467 A JP 2010064467A JP 2008235780 A JP2008235780 A JP 2008235780A JP 2008235780 A JP2008235780 A JP 2008235780A JP 2010064467 A JP2010064467 A JP 2010064467A
Authority
JP
Japan
Prior art keywords
colorant
image
thinning
amount
input image
Prior art date
Legal status (The legal status is an assumption and is not a legal conclusion. Google has not performed a legal analysis and makes no representation as to the accuracy of the status listed.)
Granted
Application number
JP2008235780A
Other languages
English (en)
Other versions
JP5262485B2 (ja
Inventor
Yoshiaki Hoshino
好昭 星野
Takayuki Ito
貴之 伊藤
Takashi Kimura
隆 木村
Masakazu Yoshida
雅一 吉田
Current Assignee (The listed assignees may be inaccurate. Google has not performed a legal analysis and makes no representation or warranty as to the accuracy of the list.)
Ricoh Co Ltd
Original Assignee
Ricoh Co Ltd
Priority date (The priority date is an assumption and is not a legal conclusion. Google has not performed a legal analysis and makes no representation as to the accuracy of the date listed.)
Filing date
Publication date
Application filed by Ricoh Co Ltd filed Critical Ricoh Co Ltd
Priority to JP2008235780A priority Critical patent/JP5262485B2/ja
Publication of JP2010064467A publication Critical patent/JP2010064467A/ja
Application granted granted Critical
Publication of JP5262485B2 publication Critical patent/JP5262485B2/ja
Active legal-status Critical Current
Anticipated expiration legal-status Critical

Links

Images

Landscapes

  • Color, Gradation (AREA)

Abstract

【課題】コストを重視して色剤使用量を低減し過ぎて画質が低下し、あるいは、画質を重視して色剤使用量の低減の効果が薄れる。
【解決手段】間引き処理部8は、中間調処理部6からの印刷データ(ドットパターン)に対して間引き率r(初期値r=0)の間引き処理を行い、間引き率rによる間引き処理後の色剤使用量xと目標色剤使用量t(後述する)とを比較し、間引き処理後の色剤使用量xが目標色剤使用量t以下(x≦t)の場合には、そのときの間引き後の印刷データを出力し、間引き処理後の色剤使用量xが目標色剤使用量tよりも多い場合は、間引き率を例えば1%上げ、同様の処理を繰り返す。
【選択図】図6

Description

本発明は画像処理装置、画像処理方法、プログラム、記録媒体、印刷システム、画像形成装置に関する。
一般に、画像データを処理する画像処理装置、例えばパーソナルコンピュータ、ワークステーションなどにおいては、アプリケーションソフトによって文字やグラフィックス、イメージなどからなる各種ドキュメントを作成することができ、このようなドキュメントを画像として形成出力するプリンタ、ファクシミリ、複写装置、プリンタ/ファクシミリ/複写機の複合機などの各種画像形成装置は、インクジェット記録方式や電子写真方式などの画像形成方式によって、トナーやインクなどの色剤(画像形成材)を使用して画像を形成(記録、印刷なども同義語で使用する。)する。
ところで、特にオフィスなどで使用される画像形成装置を使用して画像を出力する場合、印刷画像の画質もさることながら印刷コストも重要な要素である。つまり、モノクロ印刷であれば、基本的に使用する色剤はK(黒)1色であるが、カラー印刷の場合、CMYKの4色(場合によっては、特殊なカラーを含めて4色以上)の色剤が使用されることになる。カラー画像を出力する場合(表現する場合)においては、各色が単独で使用されだけでなく、同一箇所で色剤を重ね合わせて様々な色調を表現することから、印刷にかかるコストは、単純に計算しても数倍に跳ね上がることになる。
そこで、通常、カラー画像を印刷出力する場合に、そのまま印刷した場合の色剤の使用量よりも相対的に色剤の使用量を減らす印刷モード(これを「色剤使用量低減モード」という。エコノモード、省インクモード、セーブモードなどとも称される。)を搭載することで、より低コストでの印刷を行うことができるようにしている。
例えば、特許文献1に記載されているように、指定された条件に基づいて画像形成材の使用量をセーブする画像形成材セーブに関する目標を設定し、設定された目標に基づいて入力色情報に対する色再現条件を変更する、例えば、色空間のγ値を変更する、色域圧縮条件を変更する、色域の圧縮方向を変更するなどの処理を行うことが知られている。
また、特許文献2に記載されているように印刷データに対して特定のパターンで間引き処理を行うこと、特許文献3に記載されているように入力データに対して一定の比率で階調を減らす処理を行うこと、特許文献4に記載されているように、印刷データから輪郭部以外の部分を特定の間引きパターンで間引き処理を行い、実際に使用される色剤量を低減すること、特許文献5に記載されているように、入力データの重要な部分は色剤低減処理の比率を下げ、重要な部分の視認性を下げずに色剤使用量を低減すること、特許文献6に記載されているように、数段階の印刷データの間引き処理を行い、ユーザが好みの間引き率を選択できるようにすることなどが知られている。
特開2006−68982号公報 特開2006−270927号公報 特開平09−216419号公報 特許第3274297号公報 特開2003−234391号公報 特開2006−227444号公報 特開平9−34244号公報
しかしながら、上述した従来の技術では、色剤の低減量についてどの程度の使用量まで低減するかについては定かでなく、画質とコストのバランスが採れていない。特に、コストを重視して色剤使用量を低減し過ぎると、画像全体が薄くぼやけた画質となり、本来カラー化によって得られるはずであった画像のメリハリが損なわれることになり、あるいは、画質を重視すると、色剤使用量低減の効果が薄れる。
このように、従来は色剤使用量の低減と色剤使用量の低減による画質の低下を両立することができないという課題がある。
本発明は上記の課題に鑑みてなされたものであり、色相のバランスを維持しつつ色剤のコストを低減できるようにすることを目的とする。
上記の課題を解決するために、本発明に係る画像処理装置は、
入力画像データを、色剤を使用して画像を出力する画像形成装置用の出力画像データに変換する画像処理装置において、
前記入力画像データについて、入力画像をカラー印刷したときの色剤使用量が、前記入力画像をモノクロ印刷したときに必要な色剤の使用量に基づいて定められた目標色剤使用量になる間引き率で間引き処理を行う手段を備えている
構成とした。
ここで、前記間引き処理を行う手段は、
予め定めた所定の間引き率で間引き処理を行った後の色剤の使用量を前記目標色剤使用量と比較する手段と、
前記比較手段の比較の結果、前記間引き処理後の色剤の使用量が前記目標色剤使用量を越えるときには前記目標色剤使用量以下になるように間引き率を変更して間引きを行う手段と、を備えている
構成とできる。
また、文字及び線画の少なくともいずれかの入力画像データについては前記間引き処理を行わない構成とできる。
また、前記間引き処理による間引き率はオブジェクトの種類に応じて定められている構成とできる。
本発明に係る画像処理方法は、
入力画像データを、色剤を使用して画像を出力する画像形成装置用の出力画像データに変換する画像処理方法において、
前記入力画像データについて、入力画像をカラー印刷したときの色剤使用量が、前記入力画像をモノクロ印刷したときに必要な色剤の使用量に基づいて定められた目標色剤使用量になる間引き率で間引き処理を行う
構成とした。
本発明に係るプログラムは、
入力画像データを、色剤を使用して画像を出力する画像形成装置用の出力画像データに変換する処理をコンピュータに行わせるプログラムにおいて、
前記入力画像データについて、入力画像をカラー印刷したときの色剤使用量が、前記入力画像をモノクロ印刷したときに必要な色剤の使用量に基づいて定められた目標色剤使用量になる間引き率で間引き処理をコンピュータに行わせる
構成とした。
本発明に係る記録媒体は、本発明に係るプログラムを記録した構成とした。
本発明に係る印刷システムは、
本発明に係る画像処理装置と、
前記画像処理装置からの出力画像データに応じて色剤を使用して画像を出力する画像形成装置と、を備えている
構成とした。
本発明に係る画像形成装置は、
入力画像データに応じて色剤を使用して画像を出力する画像形成装置において、
前記入力画像データについて、入力画像をカラー印刷したときの色剤使用量が、前記入力画像をモノクロ印刷したときに必要な色剤の使用量に基づいて定められた目標色剤使用量になる間引き率で間引き処理を行う手段を備えている
構成とした。
本発明に係る画像処理装置、画像処理方法、プログラム、印刷システム、画像形成装置によれば、入力画像データについて、入力画像をカラー印刷したときの色剤使用量が、入力画像をモノクロ印刷したときに必要な色剤の使用量に基づいて定められた目標色剤使用量になる間引き率で間引き処理を行うので、色相のバランスを維持しつつ色剤のコストを低減できるようになる。本発明に係る記録媒体によれば、本発明に係るプログラムを記録しているので、本発明に係るプログラムを提供することができる。
以下、本発明の実施の形態について添付図面を参照して説明する。まず、本発明に係る画像処理方法を行う本発明に係る画像処理装置の異なる例について図1及び図2に示す機能ブロック説明図を参照して説明する。
図1に示す画像処理装置は、アプリケーションソフトなどから与えられた入力画像データ1を、画像形成装置で出力する出力画像データ7に変換するため、モニタ表示用の色空間から記録装置(画像形成装置)用の色空間への変換(RGB表色系→CMY表色系)を行なうCMM(Color Management Module)処理部2と、CMYの値から黒生成/下色除去を行なうBG/UCR(black generation/ Under Color Removal)処理部3と、記録制御信号となるCMYK信号に対し画像形成装置が画像形成できる色剤の最大総量値に応じてCMYK信号を補正する総量規制処理部4と、画像形成装置の特性やユーザの嗜好を反映した入出力補正を行なうγ補正処理部5と、階調データをドットパターン配置に置き換える中間調処理部6と、中間調処理部6で得られたドットパターンに対して本発明に係る間引き処理を行う印刷データ間引き処理部8とを有している。なお、これらの各処理部2A、2B、3ないし6はプログラムで構成されている。
図2に示し画像処理装置は、上述した中間調処理部6による中間調処理に印刷データ間引き処理部8で間引き処理を行う構成としている。
ここで、CMM変換処理部2では、図3に示すように、3次元ルックアップテーブル(LUT)を用いて、入力各色のRGB成分を一対一に対応するCMY成分へと変換を行う。
BG/UCR処理部3では、図4に示すように、CMY成分からK(黒)のデータを作成し、その分余剰となるCMY成分を除去する処理を行う。基本的な原理はCMY3色(Kを含めた4色でも良い)で表現される色の場合、CMYが重複した分の色剤をKの色剤に置き換える(図3の例は100%UCRの場合である。KとCMYの比率が異なる場合もある)。
総量規制処理部4は、図5に示すように、被記録メディア(媒体)の特性(色剤の定着性や画像品質)によって印刷に使用できる色剤量には限界があり、規制値をオーバーしないように出力値を補正する。規制にかかる階調以降は、全て同じ出力値に潰されてしまうため、総量規制の厳しい印刷システムでは、前段のCMM処理に総量規制処理を取り込み、階調潰れの影響がでないよう、予め総量規制に引っかかる入力値を最大出力階調値に割り振ることが行われる。
γ補正処理部5は、図6に示すように、色版単位(CMYK、薄色、特色使用時はLC,LM、R、G等も含む)で出力値をγ補正テーブルにて調整することで、出力のバランスを整えたり、大まかな出力特性を制御する処理である。
中間調処理部7では、図7に示すように、例えばディザ処理であれば、256値の画像データを2値に量子化する。中間調処理としては、ディザ処理の他に誤差拡散処理も一般的に使用されている。周辺画素の量子化誤差を反映することで、より高画質な中間調処理が可能となる。
次に、本発明における印刷データ間引き処理部8による間引き処理について図8に示すフロー図を参照して説明する。
間引き率をr、目標色剤使用量をt、間引き処理後の色剤使用量をxとして、中間調処理部6からの印刷データ(ドットパターン)に対して間引き率r(初期値r=0)の間引き処理を行う。
その後、間引き率rによる間引き処理後の色剤使用量xと目標色剤使用量t(後述する)とを比較し、間引き処理後の色剤使用量xが目標色剤使用量t以下(x≦t)の場合には、そのときの間引き後の印刷データを出力する。これに対し、間引き処理後の色剤使用量xが目標色剤使用量tよりも多い場合は、間引き率を例えば1%上げ、同様の処理を繰り返す。
この場合、間引き率rの変更は、上述したように間引き率を0%から1%ずつ上げるのではなく、10%刻みでおおよそのあたりをつけ、その後1%ごとあげて比較を行うようにしてもよい。また、間引き率を50%からはじめ、目標色剤使用量より大きくなる場合は間引き率を上げ、目標色剤使用量より小さくなる場合は間引き率を下げるような間引き率の探索方法(変更方法)を用いることもできる。また、間引き率の刻み幅を1%でなく、0.1%や0.5%刻みとしてもよい。また、色剤使用量による比較ではなく、色剤コストによる比較とすることもできる。
なお、色剤コストは、予め製品に記録されている単位色剤あたりの色剤コスト情報、または、色剤カートリッジから得た単位色剤あたりのコスト情報から求めることができる。
次に、間引き処理部8では、間引きパターンによる間引き処理、又は、ランダム間引き処理を行うことができる。
間引きパターンとしては、図9(a)〜(d)に示すように、10×10のマスクサイズの10、20、30、40%のランダムに生成された間引きパターンを用いることができる。また、図10(a)〜(d)に示すように、10×10のマスクサイズの10、20、30、40%の規則的な間引きパターンなどを用いることもできる。なお、図9及び図10は、いずれも間引きパターンのグレー部分の画素は記録を行い、白色部分の画素は記録を行わないことを意味している。また、ここでは、10×10のパターンサイズとしたが、このサイズに限らず、また、縦横比を異ならせることもできる。
また、間引き処理による間引き方法としては、印刷データ(パターンデータ)の選択された画素に対して、画素が多値で記録されている場合、その画素の値を1段階以上下げる処理とすることもできる。
また、ランダム間引き処理の例としては、印刷データを左上から右下の順に画素ごとに0から1の間を取る乱数をとり、例えば間引き率を30%としたい場合は、各画素の乱数が0.3以下であればその画素は間引きを行い、0.3より大きければ間引きを行わないことで、30%の間引き率の間引き処理を行う。
このように、カラー印刷における各色の使用色剤量をモノクロ印刷時の色剤量に合わせることによって、モノクロ印刷機からカラー印刷機に入れ替えを行っても、ユーザは消耗品のコスト増を気にすることなく、高品位なカラー出力環境を手にすることができる。
なお、上記の説明では、モノクロ印刷時の色剤使用量と同じにすることを目標としているが、モノクロ印刷時の色剤使用量を基準使用量としてこれに所要の係数s(s=0〜100%)を乗じたものを目標色剤使用量とすることもできる。
また、色剤の成分によって価格が異なる場合、必ずしも黒の色剤の価格とカラーの色剤の価格が同じになるという仮定が成り立つとは限らない。この場合、色剤使用量から更にコストを求め、モノクロ印刷時と同等以下のコストとなる色剤量の組合せを選択して、これを目標色剤使用量とすることもできる。
ここで、入力画像データのモノクロ変換について説明する。
一般的にモノクロ変換で使用される変換式としては、次のNTSC変換式がある。
K=(R*306+G*601+B*117)/1024
NTSC変換式では、入力RGB値に対して人間の視感特性に応じた係数が乗算され、Kのデータとして出力される。このとき、最大に出力されていたとしても、イエローのような明度の高い色は、非常に薄いグレーとして処理され、ブルーのような明度の低い色は、濃いグレーとして処理されることになる。
次に、入力画像の種類との関係について説明すると、画像を構成する文字や塗り、線、写真などのオブジェクトごとに視認性の重要度が違う場合がある。この場合、最も視認性が重要な文字或いは線画については、その他のオブジェクトと前記係数sを異ならせて目標色剤使用量とするか、あるいは、色剤使用量低減の間引き処理を行わない構成とすることもできる。これに対して、イメージやグラフィックス等には、間引き処理による色剤使用量低減を行うようにする。
また、オブジェクトの種類に応じて間引きパターンサイズ、間引きパターン、間引き率を使い分けるようにすることもできる。
次に、間引き処理を適用する画像部分について説明すると、文字や線画に間引き処理による色剤使用量低減処理を適用する場合も、エッジ部を除いた内側の部分にのみ適用するようにすれば(図12)、エッジ部によって文字、線画の形状が維持出来るため、視認性の低下を回避できる。
また、複写機やファクシミリのように、データが全てイメージとして入力される場合、あるいは、イメージであってもディテールの表現に拘った画像の場合、色剤低減処理を適用すると、本来表現したかった情報(文字や細線、ディテール部)が薄くぼやけてしまう結果となってしまう場合がある。この場合、ユーザの判断によって色剤使用量低減モードの使用可否を決定しても良いが、画像の周波数特性を元に、使用可否を自動的判断することも可能である。文字や細線等、非常に分解能の高い要素が画像に含まれる場合、高周波成分が増加するため、画像に含まれる高周波成分の量を元に、色剤使用量低減処理の適用可否を判定しても良い。また、ユーザによって自動判定の有無を設定できる手段を有する構成としてもよい。
このように、入力画像データについて、入力画像をカラー印刷したときの色剤使用量が、入力画像をモノクロ印刷したときに必要な色剤の使用量に基づいて定められた目標色剤使用量になる間引き率で間引き処理を行うので、色相のバランスを維持しつつ色剤のコストを低減できるようになる
なお、間引き処理の間引きパターンは、ソフトウエアパラメータとしてプログラム上から呼び出すことも、ROMやRAMに記憶させてハードウエア処理に使用することもできる。スタンドアロンで画像処理から印刷処理までをこなす記録装置や、複数の機器を組み合わせて印刷処理までをこなす記録システムに組み込むこともできる。さらに、間引きパターンや、それを用いて間引き処理を行うプログラムは、CDやDVDといったデータ記録媒体に保存した状態、あるいはネットワークを介して配布可能である。
次に、本発明に係る画像処理装置と画像形成装置であるインクジェットプリンタ(インクジェット記録装置)とで構成した本発明に係る印刷システムの一例について図12を参照して説明する。
この印刷システム(画像形成システム)は、パーソナルコンピュータ(PC)などからなる1又は複数台の画像処理装置100と、インクジェットプリンタ200とが、所定のインターフェイス又はネットワークで接続されて構成されている。
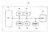
画像処理装置100は、図13に示すように、CPU101と、メモリ手段である各種のROM102やRAM103とが、バスラインで接続されている。このバスラインには、所定のインターフェイスを介して、ハードディスクなどの磁気記憶装置を用いた記憶装置106と、マウスやキーボードなどの入力装置104と、LCDやCRTなどのモニタ105と、図示しないが、光ディスクなどの記憶媒体を読み取る記憶媒体読取装置が接続され、また、インターネットなどのネットワークやUSBなどの外部機器と通信を行なう所定のインターフェイス(外部I/F)107が接続されている。
画像処理装置100の記憶装置106には、前述した間引き処理を含む本発明に係るプログラムなどの画像処理プログラムが記憶されている。この画像処理プログラムは、記憶媒体から記憶媒体読取装置により読み取って、あるいは、インターネットなどのネットワークからダウンロードするなどして、記憶装置106にインストールされたものである。このインストールにより画像処理装置100は、上述した画像処理装置におけると同様な画像処理を行なうために動作可能な状態となる。なお、この画像処理プログラムは、所定のOS上で動作するものであってもよい。また、特定のアプリケーションソフトの一部をなすものであってもよい。
この画像処理装置100は、アプリケーションソフトなどからのプリント命令がソフトウェアとして組み込まれたプリンタドライバで画像処理されてインクジェット記録装置200が出力可能な多値のドットパターンのデータ(出力画像データ)が生成され、それがラスタライズされてインクジェット記録装置200に転送され,インクジェット記録装置200によって印刷出力される。
ここで、この画像処理装置100内の本発明に係るプログラムとしてのプリンタドライバによる画像処理の流れについて図14に示すブロック説明図を参照して説明する。
パーソナルコンピュータなどのデータ処理装置上で動作するアプリケーションソフトから「印刷」指示が出されると、プリンタドライバにおいては、入力600に対してオブジェクト判定処理601でオブジェクトの種類を判定し、オブジェクト毎、つまり文字の画像データ602、線画の画像データ603、グラフィックスの画像データ604、イメージの画像データ605毎にデータが渡され、それぞれのルートを通って処理が行われる。
つまり、文字602、線画603、グラフィックス604については、カラー調整処理606を行なう。そして、文字についてはカラーマッチング処理(CMM変換処理)607、BG/UCR処理609、総量規制処理611を行い、更に文字ディザ処理(中間調処理)615を行なう。また、線画及グラフィックスについてはカラーマッチング処理608、BG/UCR処理610、総量規制処理612、γ補正処理613を行い、更にグラフィックスディザ処理(中間調処理)616を行なう。
一方、イメージ605については、色判定及び圧縮方式判定処理621を行って、通常の場合には、カラー調整処理622、カラーマッチング処理623を行なった後、BG/UCR処理624、総量規制処理625、γ補正処理623を行い、更に誤差拡散処理(中間調処理)627を行なう。また、2色以下の場合には、イメージ間引き処理631、カラー調整処理632、カラーマッチング処理633a又はインデックスレス処理(カラーマッチングを行なわない処理)633bを行なった後、BG/UCR処理624、総量規制処理625、γ補正処理626を行い、更に誤差拡散処理(中間調処理)627を行なう。
なお、線画及びグラフィックスについてはカラー調整処理606に至る前に分岐してROP処理641を経てイメージの場合のカラーマッチング処理632に移行することもある。
このようにしてオブジェクト毎に処理された画像データは、また元の一つの画像データに合成され、図示しないがラスタライジング処理を経てインクジェット記録装置200へと渡されることになる
ここで、例えばイメージについての中間調処理627で得られたデータに対して間引き処理を行うことによって、イメージをカラー印刷するときに、色相のばらつきを抑制しつつ色剤使用量を低減することができる。
次に、インクジェット記録装置200の一例について図15ないし図17を参照して説明する。なお、図15は同装置の機構部の全体構成を説明する概略構成図、図16は同機構部の要部平面説明図、図17は同装置の制御部の概要を示すブロック説明図である。
このインクジェット記録装置200は、シリアル型画像形成装置であり、左右の側板201A、201Bに横架したガイド部材である主従のガイドロッド231、232でキャリッジ233を主走査方向に摺動自在に保持し、図示しない主走査モータによってタイミングベルトを介して矢示方向(キャリッジ主走査方向)に移動走査する。
このキャリッジ233には、イエロー(Y)、シアン(C)、マゼンタ(M)、ブラック(K)の各色のインク滴を吐出するための本発明に係る液体吐出ヘッドからなる記録ヘッド234a、234b(区別しないときは「記録ヘッド234」という。)を複数のノズルからなるノズル列を主走査方向と直交する副走査方向に配列し、インク滴吐出方向を下方に向けて装着している。
記録ヘッド234は、それぞれ2つのノズル列を有し、記録ヘッド234aの一方のノズル列はブラック(K)の液滴を、他方のノズル列はシアン(C)の液滴を、記録ヘッド234bの一方のノズル列はマゼンタ(M)の液滴を、他方のノズル列はイエロー(Y)の液滴を、それぞれ吐出する。なお、ここでは2ヘッド構成で4色の液滴を吐出する構成としているが、各色毎の記録ヘッドを備えることもできるし、4色の液滴を吐出する複数のノズルを並べたノズル列を有する1つの記録ヘッド構成とすることもできる。
また、キャリッジ233には、記録ヘッド234のノズル列に対応して各色のインクを供給するためのサブタンク235a、235b(区別しないときは「サブタンク235」という。)を搭載している。このサブタンク235には各色の供給チューブ236を介して、供給ユニット224によって各色のインクカートリッジ210から各色のインクが補充供給される。
一方、給紙トレイ202の用紙積載部(圧板)241上に積載した用紙242を給紙するための給紙部として、用紙積載部241から用紙242を1枚ずつ分離給送する半月コロ(給紙コロ)243及び給紙コロ243に対向し、摩擦係数の大きな材質からなる分離パッド244を備え、この分離パッド244は給紙コロ243側に付勢されている。
そして、この給紙部から給紙された用紙242を記録ヘッド234の下方側に送り込むために、用紙242を案内するガイド部材245と、カウンタローラ246と、搬送ガイド部材247と、先端加圧コロ249を有する押さえ部材248とを備えるとともに、給送された用紙242を静電吸着して記録ヘッド234に対向する位置で搬送するための搬送手段である搬送ベルト251を備えている。
この搬送ベルト251は、無端状ベルトであり、搬送ローラ252とテンションローラ253との間に掛け渡されて、ベルト搬送方向(副走査方向)に周回するように構成している。また、この搬送ベルト251の表面を帯電させるための帯電手段である帯電ローラ256を備えている。この帯電ローラ256は、搬送ベルト251の表層に接触し、搬送ベルト251の回動に従動して回転するように配置されている。この搬送ベルト251は、図示しない副走査モータによってタイミングを介して搬送ローラ252が回転駆動されることによってベルト搬送方向に周回移動する。
さらに、記録ヘッド234で記録された用紙242を排紙するための排紙部として、搬送ベルト251から用紙242を分離するための分離爪261と、排紙ローラ262及び排紙コロ263とを備え、排紙ローラ262の下方に排紙トレイ203を備えている。
また、装置本体の背面部には両面ユニット271が着脱自在に装着されている。この両面ユニット271は搬送ベルト251の逆方向回転で戻される用紙242を取り込んで反転させて再度カウンタローラ246と搬送ベルト251との間に給紙する。また、この両面ユニット271の上面は手差しトレイ272としている。
さらに、キャリッジ233の走査方向一方側の非印字領域には、記録ヘッド234のノズルの状態を維持し、回復するための回復手段を含む本発明に係るヘッドの維持回復装置である維持回復機構281を配置している。この維持回復機構281には、記録ヘッド234の各ノズル面をキャピングするための各キャップ部材(以下「キャップ」という。)282a、282b(区別しないときは「キャップ282」という。)と、ノズル面をワイピングするためのブレード部材であるワイパブレード283と、増粘した記録液を排出するために記録に寄与しない液滴を吐出させる空吐出を行うときの液滴を受ける空吐出受け284などを備えている。
また、キャリッジ233の走査方向他方側の非印字領域には、記録中などに増粘した記録液を排出するために記録に寄与しない液滴を吐出させる空吐出を行うときの液滴を受ける空吐出受け288を配置し、この空吐出受け288には記録ヘッド234のノズル列方向に沿った開口部289などを備えている。
次に、このインクジェット記録装置200の制御部は、図16に示すように、装置全体の制御を司るマイクロコンピュータなどで構成した主制御部501及び印刷制御を司るマイクロコンピュータで構成した印刷制御部502を備え、画像処理装置(情報処理装置)100から通信回路500を介して画像データを受信する。画像処理装置100は、アプリケーション111を通してユーザより印刷命令があった場合、OS(例えばGDI:Graphic Device Interface)112がインクジェット記録装置200で出力する画像データをプリンタドライバ113に伝達する。プリンタドライバ113は、アプリケーション111から伝達された画像データを、インクジェット記録装置200が処理できる形式の印刷画像データに変換して、外部I/F107、通信回路500を経由してインクジェット記録装置200に入力する。
主制御部501は、通信回路500から入力される画像データに基づいて用紙242に画像を形成するために、前述したように、キャリッジ233を移動走査する主走査モータ531や搬送ローラ252を回転駆動する副走査モータ532を主走査モータ駆動回路503及び副走査モータ駆動回路504を介して駆動制御するとともに、印刷制御部302に対して印刷用データを送出するなどの制御を行なう。
主制御部501には、キャリッジ233の位置を検出するキャリッジ位置検出回路505からの検出信号が入力され、主制御部501はこの検出信号に基づいてキャリッジ233の移動位置及び移動速度を制御する。キャリッジ位置検出回路505は、キャリッジ233の走査方向に配置されたエンコーダシートのスリット数を、キャリッジ233に搭載されたフォトセンサで読み取って計数することで、キャリッジ233の位置を検出する。主走査モータ駆動回路503は、主制御部501から入力されるキャリッジ移動量に応じて主走査モータ531を回転駆動させて、キャリッジ233を所定の位置に所定の速度で移動させる。
主制御部501には搬送ベルト251の移動量を検出する搬送量検出回路506からの検出信号が入力され、主制御部501はこの検出信号に基づいて搬送ベルト251の移動量及び移動速度を制御する。搬送量検出回路506は、例えば、搬送ローラ252の回転軸に取り付けられた回転エンコーダシートのスリット数を、フォトセンサで読み取って計数することで搬送量を検出する。副走査モータ駆動回路504は、主制御部501から入力される搬送量に応じて副走査モータ532を回転駆動させて、搬送ローラ252を回転駆動して搬送ベルト251を所定の位置に所定の速度で移動させる。
主制御部501は、図示しない給紙コロ駆動回路に給紙コロ駆動指令を与えることによって給紙コロ243を一回転させる。主制御部301は、維持回復機構駆動用モータ駆動回路511を介してモータ533を回転駆動することにより、キャップ82の昇降、ワイパブレード83の昇降などを行なわせる。
主制御部501は、インク供給モータ駆動回路512を介して供給ポンプユニット24の供給ポンプを駆動してインクカートリッジ210からサブタンク235にインクを給送させる制御をする。
主制御部501には、センサ群520からの各種検知信号が入力される。また、主制御部501は、カートリッジ通信回路515を通じて、各インクカートリッジ210に設けられる記憶手段である不揮発性メモリ516に記憶されている情報を取り込んで、所要の処理を行なって、本体側記憶手段である不揮発性メモリ(例えば、EEPROM)514に格納保持する。
なお、インクカートリッジ210の不揮発性メモリ516(情報記憶手段)にインク(色剤)の単位量当たりの色剤コスト情報を記憶しておき、あるいは、色剤型式情報を記憶しておき、これらの色剤コスト情報や色剤型式情報を、主制御部501が取り込んで画像処理装置100側に転送するようにすることもできる。
印刷制御部502は、主制御部501からの信号とキャリッジ位置検出回路505及び搬送量検出回路506などからのキャリッジ位置や搬送量に基づいて、記録ヘッド234の液滴を吐出させるための圧力発生手段を駆動するためのデータを生成して、ヘッド駆動回路510に与える。
ヘッド駆動回路510は、印刷制御部502からの印刷データに基づいて記録ヘッド34の圧力発生手段(ピエゾ型ヘッドであれば圧電素子)を駆動して、所要のノズルから液滴を吐出させる。
このように構成したこのインクジェット記録装置200においては、給紙トレイ202から用紙242が1枚ずつ分離給紙され、略鉛直上方に給紙された用紙242はガイド245で案内され、搬送ベルト251とカウンタローラ246との間に挟まれて搬送され、更に先端を搬送ガイド237で案内されて先端加圧コロ249で搬送ベルト251に押し付けられ、略90°搬送方向を転換される。
このとき、帯電ローラ256に対してプラス出力とマイナス出力とが交互に繰り返すように、つまり交番する電圧が印加され、搬送ベルト251が交番する帯電電圧パターン、すなわち、周回方向である副走査方向に、プラスとマイナスが所定の幅で帯状に交互に帯電されたものとなる。このプラス、マイナス交互に帯電した搬送ベルト251上に用紙242が給送されると、用紙242が搬送ベルト251に吸着され、搬送ベルト251の周回移動によって用紙242が副走査方向に搬送される。
そこで、キャリッジ233を移動させながら画像信号に応じて記録ヘッド234を駆動することにより、停止している用紙242にインク滴を吐出して1行分を記録し、用紙242を所定量搬送後、次の行の記録を行う。記録終了信号又は用紙242の後端が記録領域に到達した信号を受けることにより、記録動作を終了して、用紙242を排紙トレイ203に排紙する。
なお、上実施形態では画像処理装置側で色剤使用量低減処理(間引き処理)を行った画像データを生成しているが、画像形成装置側で色剤使用量低減処理(間引き処理)を行った画像データを生成することもでき、例えば、スキャナなどの画像読取装置を備えたいわゆるマルチファンクションの画像形成装置における画像処理にも本発明を同様に適用することができる。また、画像形成装置としては、インクジェット記録方式に限らず、電子写真方式、サーマル転写方式など、いずれの画像形成方式の画像形成装置であっても適用することができる。また、シリアル型画像形成装置だけでなく、ライン型画像形成装置にも同様に適用することができる。
本発明に係る画像処理装置の一例を示す機能ブロック説明図である。 本発明に係る画像処理装置の他の例を示す機能ブロック説明図である。 CMM変換処理の説明に供する説明図である。 BG/UCR処理の説明に供する説明図である。 総量規制処理の説明に供する説明図である。 γ補正処理の説明に供する説明図である。 中間調処理(ディザ処理)の説明に供する説明図である。 間引き処理の説明に供するフロー図である。 間引きパターンの一例を示す説明図である。 間引きパターンの他の例を示す説明図である。 色剤低減処理を適用する画像部分の説明に供する説明図である。 本発明に係る印刷システムの一例を示すブロック説明図である。 同システムの画像処理装置(情報処理装置)のブロック説明図である。 同画像処理装置におけるデータの流れの説明に供するブロック説明図である。 同システムのインクジェット記録装置の機構部の一例を示す側面説明図である。 同じく要部平面説明図である。 同じく制御部の概要を示すブロック説明図である。
符号の説明
2…CMM変換処理部
3…BG/UCR処理部
4…総量規制部
5…γ補正部
6…中間調処理部
8…間引き処理部
100…画像処理装置
200…インクジェット記録装置

Claims (9)

  1. 入力画像データを、色剤を使用して画像を出力する画像形成装置用の出力画像データに変換する画像処理装置において、
    前記入力画像データについて、入力画像をカラー印刷したときの色剤使用量が、前記入力画像をモノクロ印刷したときに必要な色剤の使用量に基づいて定められた目標色剤使用量になる間引き率で間引き処理を行う手段を備えている
    ことを特徴とする画像処理装置。
  2. 前記間引き処理を行う手段は、
    予め定めた所定の間引き率で間引き処理を行った後の色剤の使用量を前記目標色剤使用量と比較する手段と、
    前記比較手段の比較の結果、前記間引き処理後の色剤の使用量が前記目標色剤使用量を越えるときには前記目標色剤使用量以下になるように間引き率を変更して間引きを行う手段と、を備えている
    ことを特徴とする画像処理装置。
  3. 文字及び線画の少なくともいずれかの入力画像データについては前記間引き処理を行わないことを特徴とする請求項1又は2記載の画像処理装置。
  4. 前記間引き処理による間引き率はオブジェクトの種類に応じて定められていることを特徴とする請求項1ないし3のいずれか記載の画像処理装置。
  5. 入力画像データを、色剤を使用して画像を出力する画像形成装置用の出力画像データに変換する画像処理方法において、
    前記入力画像データについて、入力画像をカラー印刷したときの色剤使用量が、前記入力画像をモノクロ印刷したときに必要な色剤の使用量に基づいて定められた目標色剤使用量になる間引き率で間引き処理を行う
    ことを特徴とする画像処理方法。
  6. 入力画像データを、色剤を使用して画像を出力する画像形成装置用の出力画像データに変換する処理をコンピュータに行わせるプログラムにおいて、
    前記入力画像データについて、入力画像をカラー印刷したときの色剤使用量が、前記入力画像をモノクロ印刷したときに必要な色剤の使用量に基づいて定められた目標色剤使用量になる間引き率で間引き処理をコンピュータに行わせる
    ことを特徴とするプログラム。
  7. 請求項6に記載のプログラムが記録されていることを特徴とする記録媒体。
  8. 請求項1ないし4のいずれかに記載の画像処理装置と、
    前記画像処理装置からの出力画像データに応じて色剤を使用して画像を出力する画像形成装置と、を備えている
    ことを特徴とする印刷システム。
  9. 入力画像データに応じて色剤を使用して画像を出力する画像形成装置において、
    前記入力画像データについて、入力画像をカラー印刷したときの色剤使用量が、前記入力画像をモノクロ印刷したときに必要な色剤の使用量に基づいて定められた目標色剤使用量になる間引き率で間引き処理を行う手段を備えている
    ことを特徴とする画像形成装置。
JP2008235780A 2008-09-13 2008-09-13 画像処理装置、画像処理方法、プログラム、記録媒体、印刷システム、画像形成装置 Active JP5262485B2 (ja)

Priority Applications (1)

Application Number Priority Date Filing Date Title
JP2008235780A JP5262485B2 (ja) 2008-09-13 2008-09-13 画像処理装置、画像処理方法、プログラム、記録媒体、印刷システム、画像形成装置

Applications Claiming Priority (1)

Application Number Priority Date Filing Date Title
JP2008235780A JP5262485B2 (ja) 2008-09-13 2008-09-13 画像処理装置、画像処理方法、プログラム、記録媒体、印刷システム、画像形成装置

Publications (2)

Publication Number Publication Date
JP2010064467A true JP2010064467A (ja) 2010-03-25
JP5262485B2 JP5262485B2 (ja) 2013-08-14

Family

ID=42190460

Family Applications (1)

Application Number Title Priority Date Filing Date
JP2008235780A Active JP5262485B2 (ja) 2008-09-13 2008-09-13 画像処理装置、画像処理方法、プログラム、記録媒体、印刷システム、画像形成装置

Country Status (1)

Country Link
JP (1) JP5262485B2 (ja)

Cited By (4)

* Cited by examiner, † Cited by third party
Publication number Priority date Publication date Assignee Title
JP2013020206A (ja) * 2011-07-14 2013-01-31 Ricoh Co Ltd 画像形成装置、画像形成制御方法及び画像形成制御プログラム
JP2013224023A (ja) * 2012-03-22 2013-10-31 Canon Inc 画像処理装置、画像処理方法、画像処理システムおよびプログラム
US8610957B2 (en) 2010-11-29 2013-12-17 Ricoh Company, Limited Image processing apparatus, image processing method, and non-transitory computer-readable medium
JP2014155088A (ja) * 2013-02-12 2014-08-25 Ricoh Co Ltd 画像処理装置及び画像形成装置

Citations (6)

* Cited by examiner, † Cited by third party
Publication number Priority date Publication date Assignee Title
JPH0634244A (ja) * 1992-07-16 1994-02-08 Mitsubishi Heavy Ind Ltd 人工降雪装置と雪質制御方法
JPH09216419A (ja) * 1996-02-09 1997-08-19 Canon Inc 画像処理装置
JP3274297B2 (ja) * 1994-11-02 2002-04-15 キヤノン株式会社 画像記録方法及び装置
JP2006068982A (ja) * 2004-09-01 2006-03-16 Ricoh Co Ltd 画像処理装置及び画像処理方法並びにプリンタドライバ
JP2006227444A (ja) * 2005-02-18 2006-08-31 Sharp Corp 印刷装置、印刷方法、印刷プログラム、および記録媒体
JP2006270927A (ja) * 2005-02-22 2006-10-05 Fuji Xerox Co Ltd 画像処理方法および画像処理装置並びに画像形成装置

Patent Citations (6)

* Cited by examiner, † Cited by third party
Publication number Priority date Publication date Assignee Title
JPH0634244A (ja) * 1992-07-16 1994-02-08 Mitsubishi Heavy Ind Ltd 人工降雪装置と雪質制御方法
JP3274297B2 (ja) * 1994-11-02 2002-04-15 キヤノン株式会社 画像記録方法及び装置
JPH09216419A (ja) * 1996-02-09 1997-08-19 Canon Inc 画像処理装置
JP2006068982A (ja) * 2004-09-01 2006-03-16 Ricoh Co Ltd 画像処理装置及び画像処理方法並びにプリンタドライバ
JP2006227444A (ja) * 2005-02-18 2006-08-31 Sharp Corp 印刷装置、印刷方法、印刷プログラム、および記録媒体
JP2006270927A (ja) * 2005-02-22 2006-10-05 Fuji Xerox Co Ltd 画像処理方法および画像処理装置並びに画像形成装置

Cited By (4)

* Cited by examiner, † Cited by third party
Publication number Priority date Publication date Assignee Title
US8610957B2 (en) 2010-11-29 2013-12-17 Ricoh Company, Limited Image processing apparatus, image processing method, and non-transitory computer-readable medium
JP2013020206A (ja) * 2011-07-14 2013-01-31 Ricoh Co Ltd 画像形成装置、画像形成制御方法及び画像形成制御プログラム
JP2013224023A (ja) * 2012-03-22 2013-10-31 Canon Inc 画像処理装置、画像処理方法、画像処理システムおよびプログラム
JP2014155088A (ja) * 2013-02-12 2014-08-25 Ricoh Co Ltd 画像処理装置及び画像形成装置

Also Published As

Publication number Publication date
JP5262485B2 (ja) 2013-08-14

Similar Documents

Publication Publication Date Title
JP5146424B2 (ja) 画像処理装置、画像処理方法、プログラム、記録媒体、印刷システム、画像形成装置
JP4825180B2 (ja) 画像処理方法、画像処理装置、画像形成装置、画像形成システム、プログラム、記憶媒体
US7600842B2 (en) Image reproducing and forming apparatus, printer driver and data processing apparatus
US8626623B2 (en) Image processing apparatus, image processing method, and recording medium
JP5369851B2 (ja) 画像処理装置、画像処理方法、コンピュータが実行可能なプログラム、およびコンピュータが読み取り可能な記録媒体
EP1907211B1 (en) Imaging method and inkjet recording apparatus
CN101945770A (zh) 图像处理方法、计算机程序、记录介质、图像处理设备及图像形成设备
KR101012449B1 (ko) 화상 처리 장치, 프로그램을 기록한 기록 매체, 화상 형성 장치, 화상 형성 방법, 및 디더 매트릭스
CN100527779C (zh) 图像处理装置和方法
JP2001138555A (ja) 印刷制御装置、印刷装置、印刷制御方法、印刷方法、記録媒体、および色変換テーブルの設定方法
JP5262485B2 (ja) 画像処理装置、画像処理方法、プログラム、記録媒体、印刷システム、画像形成装置
JP2006173929A (ja) 画像処理方法、プログラム、画像処理装置及び画像形成装置
JP2011061328A (ja) 画像処理方法、画像処理装置、画像形成装置、プログラム、記憶媒体、画像形成システム
JP3886051B2 (ja) 画像形成装置、プリンタドライバ及びデータ処理装置
JP2010068497A (ja) 画像処理装置、画像処理方法、プログラム、記録媒体、印刷システム、画像形成装置
JP6160023B2 (ja) 印刷装置
JP2001150685A (ja) 印刷制御装置、印刷装置、印刷制御方法、印刷方法、および記録媒体
JP2010074325A (ja) 画像処理装置、画像処理方法、プログラム、記録媒体、印刷システム、画像形成装置
JP7626969B2 (ja) 画像処理装置、および、コンピュータプログラム
CN100439103C (zh) 图像再现和形成装置、打印机驱动器和数据处理装置
JP5332966B2 (ja) 画像処理方法、画像処理装置、プログラム、記録媒体、画像形成装置
JP2006305993A (ja) インクジェット記録装置、該装置に対する画像データ供給装置および前記記録装置を制御するための方法
JP5845688B2 (ja) 画像形成装置、画像形成方法およびプログラム
JP6776843B2 (ja) 画像処理方法、印刷装置、プログラム
JP2009049690A (ja) 画像処理方法、画像処理装置、画像形成装置、画像形成システム、プログラム、記憶媒体

Legal Events

Date Code Title Description
A621 Written request for application examination

Free format text: JAPANESE INTERMEDIATE CODE: A621

Effective date: 20110701

A131 Notification of reasons for refusal

Free format text: JAPANESE INTERMEDIATE CODE: A131

Effective date: 20121204

A521 Written amendment

Free format text: JAPANESE INTERMEDIATE CODE: A523

Effective date: 20130131

TRDD Decision of grant or rejection written
A01 Written decision to grant a patent or to grant a registration (utility model)

Free format text: JAPANESE INTERMEDIATE CODE: A01

Effective date: 20130402

A61 First payment of annual fees (during grant procedure)

Free format text: JAPANESE INTERMEDIATE CODE: A61

Effective date: 20130415

R151 Written notification of patent or utility model registration

Ref document number: 5262485

Country of ref document: JP

Free format text: JAPANESE INTERMEDIATE CODE: R151