JP2010064364A - 画像形成装置 - Google Patents
画像形成装置 Download PDFInfo
- Publication number
- JP2010064364A JP2010064364A JP2008232873A JP2008232873A JP2010064364A JP 2010064364 A JP2010064364 A JP 2010064364A JP 2008232873 A JP2008232873 A JP 2008232873A JP 2008232873 A JP2008232873 A JP 2008232873A JP 2010064364 A JP2010064364 A JP 2010064364A
- Authority
- JP
- Japan
- Prior art keywords
- toner
- electrode
- image forming
- forming apparatus
- carrier
- Prior art date
- Legal status (The legal status is an assumption and is not a legal conclusion. Google has not performed a legal analysis and makes no representation as to the accuracy of the status listed.)
- Granted
Links
Images
Classifications
-
- G—PHYSICS
- G03—PHOTOGRAPHY; CINEMATOGRAPHY; ANALOGOUS TECHNIQUES USING WAVES OTHER THAN OPTICAL WAVES; ELECTROGRAPHY; HOLOGRAPHY
- G03G—ELECTROGRAPHY; ELECTROPHOTOGRAPHY; MAGNETOGRAPHY
- G03G15/00—Apparatus for electrographic processes using a charge pattern
- G03G15/22—Apparatus for electrographic processes using a charge pattern involving the combination of more than one step according to groups G03G13/02 - G03G13/20
- G03G15/34—Apparatus for electrographic processes using a charge pattern involving the combination of more than one step according to groups G03G13/02 - G03G13/20 in which the powder image is formed directly on the recording material, e.g. by using a liquid toner
- G03G15/344—Apparatus for electrographic processes using a charge pattern involving the combination of more than one step according to groups G03G13/02 - G03G13/20 in which the powder image is formed directly on the recording material, e.g. by using a liquid toner by selectively transferring the powder to the recording medium, e.g. by using a LED array
- G03G15/346—Apparatus for electrographic processes using a charge pattern involving the combination of more than one step according to groups G03G13/02 - G03G13/20 in which the powder image is formed directly on the recording material, e.g. by using a liquid toner by selectively transferring the powder to the recording medium, e.g. by using a LED array by modulating the powder through holes or a slit
Landscapes
- Physics & Mathematics (AREA)
- General Physics & Mathematics (AREA)
- Printers Or Recording Devices Using Electromagnetic And Radiation Means (AREA)
- Electrophotography Using Other Than Carlson'S Method (AREA)
- Developing For Electrophotography (AREA)
- Dry Development In Electrophotography (AREA)
- Color Electrophotography (AREA)
Abstract
【課題】直接記録方式で画像を形成する場合に、トナー制御手段表面及びトナー通過穴周辺にトナーが付着して、トナーの通過のオン/オフの制御を安定して行うことができなくなる。
【解決手段】トナー担持体1と、記録媒体手段3と、トナー担持体1と記録媒体手段3との間に配置され、複数のトナー通過穴41を有するトナー制御手段4と、トナー担持体1とトナー制御手段4の間に配置されたクラウド電極手段2とを備え、トナー担持体1とクラウド電極手段2の間にACバイアスを印加してトナーをクラウド化し、トナー制御手段4には制御電極42及び共通電極43が設けられ、トナー制御手段4をトナー担持体1のトナーが記録媒体手段3に向かって通過可能にするとき、記録媒体手段3側とトナー制御手段4の共通電極43との間に制御電極42を迂回してループ状に電気力線が形成される。
【選択図】図1
【解決手段】トナー担持体1と、記録媒体手段3と、トナー担持体1と記録媒体手段3との間に配置され、複数のトナー通過穴41を有するトナー制御手段4と、トナー担持体1とトナー制御手段4の間に配置されたクラウド電極手段2とを備え、トナー担持体1とクラウド電極手段2の間にACバイアスを印加してトナーをクラウド化し、トナー制御手段4には制御電極42及び共通電極43が設けられ、トナー制御手段4をトナー担持体1のトナーが記録媒体手段3に向かって通過可能にするとき、記録媒体手段3側とトナー制御手段4の共通電極43との間に制御電極42を迂回してループ状に電気力線が形成される。
【選択図】図1
Description
本発明は画像形成装置に関し、特に、トナー担持体から飛翔させたトナーを開閉制御されるトナー通過穴を介して記録媒体手段に飛翔付着させて画像を形成する画像形成装置に関する。
従来の画像形成装置として、トナージェット、ダイレクトトーニング、トナープロジェクションなどと称される、トナー(記録材)によって記録媒体(中間記録媒体を含む)上に画像を直接記録する方式のものが知られている。
例えば、特許文献1には、絶縁層を介して一対の電極板からなる制御部材とトナー収容器の間に設けられたグリッド電極を有し、グリッド電極に交番電圧を印加してトナーのクラウド化を行い、画像を形成する構成が記載されている。
この構成は、露光光学系、静電潜像を必要としないで画像形成が可能であるが、原理的に制御部材の電極板にトナーが付着することは避けられない構成であり、電極板へのトナー付着は制御性の著しい低下を招くことになる。
特許文献2には、トナー保持面と潜像保持面の間にグリッド電極を設け、グリッド及びトナー保持面の間に交流電圧を印加してトナーをクラウド化する構成が記載されている。
この構成では、トナー保持面と潜像保持面の間に交流バイアスを印加する所謂ジャンピング現像方式に比べて潜像保持面との間隔を十分大きくとることが可能であり、また、現像バイアス条件に影響を与えないでトナーのクラウドが形成できるものの、露光光学系及び静電潜像を必要とする従前の画像形成装置の域を超えるものではない。
特許文献3には、トナーホッパから供給されたトナーに、固定ブレード又は回転ローラとの摩擦帯電によって帯電電荷を与え、回転搬送した後、制御部材に印加する制御パルスと回転ローラとの間の電界でトナーの飛翔を制御するものが記載されている。
ここでは、帯電電荷を有するトナーが回転ローラ表面に静電的に付着しており、そのトナーを制御パルスで剥離する必要がある。回転ローラと制御部材は数100μm以上のギャップを有するため、剥離のために印加する制御パルスは必然的に500V以上の高い電圧を必要とし、画素に対応した数が必要な制御用のドライバコストは非常に高価になってしまう問題、さらに、回転ローラに付着しているトナーを剥離して飛翔させるため応答性が悪く時間遅れの問題もある。
特許文献4、特許文献5には、回転する現像剤支持体と制御手段の間に交番バイアスを印加しながら現像剤通過の制御電極に制御パルスを印加するものが記載されている。
この構成は、上記特許文献1に記載の装置のような応答性の問題は軽減されるものの、トナーの飛翔領域全体に一様な交番電界を印加して、現像剤が現像剤支持体に付着している時間と飛翔状態を繰り返すようにしている。そのため、現像剤支持体に付着している現像剤を剥離するために強い交番バイアスを印加する必要があり、剥離したトナーは勢いよく制御手段側へ飛翔して多くの現像剤が制御手段の電極に付着すること避けられず、信頼性に大きい問題がある。さらに、現像剤支持体と制御手段は前記と同様のギャップを有するため両者の間に印加している電圧値は500V以上と高く、この電界に対して現像剤を通過または阻止させる電界を形成する制御パルスは同様に高い電圧値を必要とするためドライバコストの問題は解決できていない。
一方、特許文献6には、現像剤担持体に複数の電極を有し、この電極間に時間的に変化する電界を形成してトナーを制御電極側へ飛翔させる構成が記載されている。
ここでは、制御電極近傍に飛翔して浮遊するトナーの通過を制御するため、前記特許文献1ないし3の装置の制御電圧が高くなる欠点は解決されている。
特許文献7には、上記特許文献4と同様に、現像剤担持体に複数の電極を有し、この電極間に時間的に変化する電界を形成してトナー飛翔させる構成であり、トナーの通過を制御する制御電極が、それまで記録媒体側に設置されていたものをトナーの供給側面に設置することが記載されている。
この構成では、従前の装置では400V必要であった制御電圧が100Vにできること、および制御電極が設けてある印字ヘッドに付着するトナーを除去した場合、トナー供給源に戻すことが可能であることが記載されている。
特許文献8には、回転円筒スリーブでトナーを供給し、印写面電位とスリーブ間の均一電界でアパーチャーを通過させる静電力を与える構成であり、アパーチャーを囲む制御電極と印写面側に対になった偏向電極を設け、印刷の主走査方向のドット密度を上げることが記載されている。
ここでは、トナーの通過を制御する制御電極の間にガード電極を設け、制御電界間の相互作用を防止することが記載されている。
特許文献9には、トナー供給ローラでトナーを供給し、開口部保持部材のトナー供給ローラ側にトナーの飛翔を制御する制御電極とトナーの飛翔経路を偏向させる偏向電極とを配置したものが記載されている。
従来の直接記録方式によって画像を形成する基本構成は例えば図13に示すように構成される。図13において、剤担持体としてのトナー担持ローラ501は、その軸線を図中左右方向に延在させるように配設され、図示しない駆動手段によって回転駆動せしめられながら、帯電済みのトナーTをその表面に担持する。このトナー担持ローラ501の下には、複数の穴502を形成する穴形成部材としてのフレキシブルプリント基板503が配設されている。FPC503は、各穴502を囲むようにトナー担持ローラ501との対向面側に形成されたリング状の複数の飛翔電極504を備えている。
そして、上記FPC503の下方には、これを介してトナー担持ローラ501に対向する対向電極506と、この対向電極506上で搬送手段によって搬送される記録紙507とが配設されている。なお、図16においては、便宜上、穴502、飛翔電極504をそれぞれ1つずつしか示していないが、実際には、FPC503にこれらの組み合わせが複数形成されている。具体的には、例えば600dpi用のFPC503では、これらの組み合わせが4960個形成されている。
そこで、トナー担持ローラ501は、例えば接地された状態で、マイナス極性に帯電したトナーTを表面に担持する。上記飛翔電極504にプラス極性の飛翔電圧が印加されると、トナー担持ローラ501上で飛翔電極504と対向する位置にあるトナーTや、これの近傍にあるトナーTに所定強度の電界が作用する。この電界の作用により、トナーTに加わる静電力が、トナーTとトナー担持ローラ501との付着力を上回り、トナーTの集合体がドット状の形状でトナー担持ローラ501から選択的に飛翔して穴502内に進入する。
そして、飛翔電極504と、これよりも高い電位を帯びている上記対向電極506との間に形成される電界に引かれて飛翔を続け、穴502を通過して上記記録紙507の表面に付着する。この付着により、トナーTの集合体はドット像となる。
この場合、各飛翔電極504に対する飛翔電圧のON/OFFについては、それぞれ専用のICによって個別に制御する必要がある。即ち、直接記録方式の画像形成装置においては、電圧が高い場合、高価なICが飛翔電極504と同じ数だけ必要になる。例えば600dpi用のFPC3を用いる場合には、高価なスイッチング素子を4960個設ける必要がある。一般に、ICは、その耐電圧が高くなるほどチップ面積を必要とするため高価になり、直接記録方式の画像形成装置では、いかに制御電圧を下げるかが、装置の低コスト化を図る上での重要な要素となる。
しかしながら、トナーTとトナー担持ローラ501とには、鏡像力、ファンデルワールス力、液架橋力などによって互いに引き付け合うような付着力が作用しており、これが飛翔電圧の引き下げの妨げになっている。その結果、図13に示す装置では少なくとも500V以上の飛翔電圧を印加する必要がある。
これに対して、特許文献6に記載されているような現像剤担持体に複数の電極を有し、この電極間に時間的に変化する電界を形成してトナーをクラウド化し、トナーを制御電極側へ飛翔させる構成を採用することで、飛翔電極への印加電圧の低電圧化は可能となる。
しかしながら、現像剤担持体上に設けた複数の微細ピッチ電極間相互に電位差を与えて強い電界を発生してトナーを飛翔させているため、飛翔したトナーが制御電極の表面に付着し、トナーが堆積、またトナーが通過する穴の周辺にも付着が発生し、時間の経過とともにトナーの通過量に変動が起き、画像濃度の変動が発生し易いという課題がある。
また、現像剤担持体表面で飛翔してクラウド状態のトナーは高さ方向に分布しており、単に制御電極に制御パルスを印加するだけではトナー通過穴を通過するトナーの利用効率が悪く、印刷速度の確保が難しい。さらに、クラウド状態のトナーの付着は、静止した状態で連続して使用する制御電極への付着だけではなく、その周辺部材への付着堆積が進み、その結果、制御電極を形成した部材全体の電位がトナーの帯電極性に応じた方向の電位に上昇し、現像剤担持体表面からのトナーの飛翔に対して逆バイアスの電界として作用し、飛翔効率が低下してしまうという問題がある。
本発明は上記の課題に鑑みてなされたものであり、トナーのクラウド化を簡単な構成で行い、トナー通過のO/OFFを低電圧で行えるようにするとともに、トナー制御手段表面やトナー通過穴周辺にトナーが付着することを低減し、トナーの通過のオン/オフの制御を安定して行うことができるとともに、トナーの利用効率を向上し、画像形成装置の小型化、低コスト化を図ることを目的とする。
上記の課題を解決するため、本発明に係る画像形成装置は、
トナーを担持するトナー担持体と、
前記トナーが付着させられる記録媒体手段と、
前記トナー担持体と前記記録媒体手段との間に配置され、複数のトナー通過穴を有するトナー制御手段と、
前記トナー担持体と前記トナー制御手段の間に配置されたクラウド電極手段と、を備え、
前記トナー担持体と前記クラウド電極手段の間に、前記トナー担持体から前記クラウド電極手段側に前記トナーが移動する力が作用する電界とその逆方向の力が作用する電界が時間的に変化するACバイアスが印加され、
前記トナー制御手段は、前記トナー担持体側表面に、前記トナー通過穴の周囲及び穴内壁の少なくともいずれかに前記トナーの通過を制御する制御電極が設けられ、この制御電極の外側に複数の前記トナー通過穴に共通の共通電極が設けられ、
前記トナー制御手段の前記トナー通過穴を前記トナー担持体の前記トナーが前記記録媒体手段に向かって通過可能な状態にするとき、前記記録媒体手段側と前記トナー制御手段の前記共通電極との間に前記制御電極を迂回してループ状に電気力線が形成される
構成とした。
トナーを担持するトナー担持体と、
前記トナーが付着させられる記録媒体手段と、
前記トナー担持体と前記記録媒体手段との間に配置され、複数のトナー通過穴を有するトナー制御手段と、
前記トナー担持体と前記トナー制御手段の間に配置されたクラウド電極手段と、を備え、
前記トナー担持体と前記クラウド電極手段の間に、前記トナー担持体から前記クラウド電極手段側に前記トナーが移動する力が作用する電界とその逆方向の力が作用する電界が時間的に変化するACバイアスが印加され、
前記トナー制御手段は、前記トナー担持体側表面に、前記トナー通過穴の周囲及び穴内壁の少なくともいずれかに前記トナーの通過を制御する制御電極が設けられ、この制御電極の外側に複数の前記トナー通過穴に共通の共通電極が設けられ、
前記トナー制御手段の前記トナー通過穴を前記トナー担持体の前記トナーが前記記録媒体手段に向かって通過可能な状態にするとき、前記記録媒体手段側と前記トナー制御手段の前記共通電極との間に前記制御電極を迂回してループ状に電気力線が形成される
構成とした。
ここで、前記トナー担持体と前記クラウド電極手段の間に平均電位Vsの前記ACバイアスを印加し、
前記トナー制御手段の制御電極に対し前記トナーが前記トナー通過穴を通過可能な状態にするときに電圧Vc-onを、前記トナーが前記トナー通過穴を通過不可能な状態にするときに電圧Vc-offを印加し、前記共通電極に電圧Vgを印加し、
前記トナー制御手段を通過したトナーを前記記録媒体手段に導いてトナーを付着させるために前記記録媒体手段側にバイアス電圧Vpを印加するとき、
前記トナーを通過可能な状態にするときの各電位の関係は、
Vp>Vc-on>Vs>Vg
であって、前記トナーが負帯電トナーの場合は前記バイアス電圧Vpがプラス電位側に高くなる関係、正帯電トナーの場合は前記バイアス電圧Vpがマイナス電位側に高くなる設定である
構成とできる。
前記トナー制御手段の制御電極に対し前記トナーが前記トナー通過穴を通過可能な状態にするときに電圧Vc-onを、前記トナーが前記トナー通過穴を通過不可能な状態にするときに電圧Vc-offを印加し、前記共通電極に電圧Vgを印加し、
前記トナー制御手段を通過したトナーを前記記録媒体手段に導いてトナーを付着させるために前記記録媒体手段側にバイアス電圧Vpを印加するとき、
前記トナーを通過可能な状態にするときの各電位の関係は、
Vp>Vc-on>Vs>Vg
であって、前記トナーが負帯電トナーの場合は前記バイアス電圧Vpがプラス電位側に高くなる関係、正帯電トナーの場合は前記バイアス電圧Vpがマイナス電位側に高くなる設定である
構成とできる。
この場合、前記トナーが前記トナー通過穴を通過不可能な状態にするときの各電位の関係は、
Vs>Vg であり、且つ、Vs>Vc-off
であって、前記トナーが負帯電トナーの場合は前記平均電位Vsがプラス電位側に高くなる関係、正帯電トナーの場合は前記平均電位Vsがマイナス電位側に高くなる設定である
構成とできる。
Vs>Vg であり、且つ、Vs>Vc-off
であって、前記トナーが負帯電トナーの場合は前記平均電位Vsがプラス電位側に高くなる関係、正帯電トナーの場合は前記平均電位Vsがマイナス電位側に高くなる設定である
構成とできる。
また、前記トナー担持体と前記クラウド電極手段の間に平均電位Vsの前記ACバイアスを印加し、
前記トナー制御手段の制御電極に対し前記トナーが前記トナー通過穴を通過可能な状態にするときに電圧Vc-onを、前記トナーが前記トナー通過穴を通過不可能な状態にするときに電圧Vc-offを印加し、前記共通電極に電圧Vgを印加し、
前記トナー制御手段を通過したトナーを前記記録媒体手段側に導いてトナーを付着させるために前記記録媒体手段側にバイアス電圧Vpを印加するとき、
前記トナー担持体の表面及び前記クラウド電極の周囲に前記トナーが存在している状態で、前記トナー制御手段の制御電極側から前記トナー担持体側を見たときの前記トナーによる電位をVtとすると、
前記トナーが前記トナー通過穴を通過可能な状態にするときの各電位の関係は、
Vp>Vc-on>(Vs+Vt)>Vg
であって、前記トナーが負帯電トナーの場合は前記バイアス電圧Vpがプラス電位側に高くなる関係、正帯電トナーの場合は前記バイアス電圧Vpがマイナス電位側に高くなる設定である
構成とできる。
前記トナー制御手段の制御電極に対し前記トナーが前記トナー通過穴を通過可能な状態にするときに電圧Vc-onを、前記トナーが前記トナー通過穴を通過不可能な状態にするときに電圧Vc-offを印加し、前記共通電極に電圧Vgを印加し、
前記トナー制御手段を通過したトナーを前記記録媒体手段側に導いてトナーを付着させるために前記記録媒体手段側にバイアス電圧Vpを印加するとき、
前記トナー担持体の表面及び前記クラウド電極の周囲に前記トナーが存在している状態で、前記トナー制御手段の制御電極側から前記トナー担持体側を見たときの前記トナーによる電位をVtとすると、
前記トナーが前記トナー通過穴を通過可能な状態にするときの各電位の関係は、
Vp>Vc-on>(Vs+Vt)>Vg
であって、前記トナーが負帯電トナーの場合は前記バイアス電圧Vpがプラス電位側に高くなる関係、正帯電トナーの場合は前記バイアス電圧Vpがマイナス電位側に高くなる設定である
構成とできる。
この場合、前記トナーが前記トナー通過穴を通過不可能な状態にするときの各電位の関係は、
(Vs+Vt)>Vg であり、且つ、(Vs+Vt)>Vc-off
であって、前記トナーが負帯電トナーの場合は前記電位(Vs+Vt)がプラス電位側に高くなる関係、正帯電トナーの場合は前記電位(Vs+Vt)がマイナス電位側に高くなる設定である構成とできる。
(Vs+Vt)>Vg であり、且つ、(Vs+Vt)>Vc-off
であって、前記トナーが負帯電トナーの場合は前記電位(Vs+Vt)がプラス電位側に高くなる関係、正帯電トナーの場合は前記電位(Vs+Vt)がマイナス電位側に高くなる設定である構成とできる。
また、前記クラウド電極手段がワイヤ部材である構成とできる。
また、前記トナー担持体が磁性キャリアとトナーからなる二成分現像剤を用いた磁気ブラシローラであり、磁気ブラシローラと前記クラウド電極手段の間に前記ACバイアスを印加してトナーのクラウドを行う構成とできる。
また、前記トナー担持体がトナーを含む一成分現像剤を担持する一成分ローラであり、一成分ローラと前記クラウド電極手段の間に前記ACバイアスを印加してトナーのクラウドを行う構成とできる。
また、前記トナー担持体が磁性キャリアとトナーからなる二成分現像剤を用いた磁気ブラシローラから供給されたトナー層を形成した中間ローラであり、前記中間ローラと前記クラウド電極手段の間に前記ACバイアスを印加してトナーのクラウドを行う構成とできる。
また、前記トナー制御手段の共通電極は、前記制御電極の外側を、絶縁領域を介してリング状に囲む形状である構成とできる。
また、前記トナー制御手段の共通電極は、前記制御電極の外側に絶縁領域を介してベタ状に設けられている構成とできる。
また、前記記録媒体手段が記録紙であり、前記記録紙の背面に設けた電極手段にバイアス電圧が印加される構成とできる。
また、前記記録媒体手段が中間転写媒体であり、前記中間転写媒体自体又は中間転写媒体の背面に設けた電極手段にバイアス電圧が印加される構成とできる。
また、異なる色のトナーを重ねて記録媒体手段上にカラー画像を形成する構成とできる。
本発明に係る画像形成装置によれば、トナー担持体とトナー制御手段との間に、トナーをクラウド化するためのクラウド電極手段を備え、トナー制御手段をトナー担持体のトナーが記録媒体手段に向かって通過可能にするとき、記録媒体手段側とトナー制御手段の共通電極との間にトナーの通過を制御する制御電極を迂回してループ状に電気力線が形成される構成としたので、トナーのクラウド化を簡単な構成で行え、トナー通過のO/OFFを低電圧で行えるようになるとともに、トナー制御手段表面やトナー通過穴周辺にトナーが付着することを低減し、トナーの通過のオン/オフの制御を安定して行うことができ、トナーの利用効率を向上し、画像形成装置の小型化、低コスト化を図ることができる。
以下、本発明の実施の形態について添付図面を参照して説明する。本発明の一実施形態について図1の模式的構成図を参照して説明する。
この実施形態においては、トナーTを担持するトナー担持体1と、トナーが付着させられる記録媒体手段3と、トナー担持体1と記録媒体手段3との間に配置され、複数のトナー通過穴41を有するトナー制御手段4と、トナー担持体1とトナー制御手段4の間に配置されたクラウド電極手段2と、トナー担持体1に対向する位置に配置され、記録媒体手段3にトナーをトナー担持体1側から飛翔させるバイアス電圧を印加する対向電極手段(背面電極)とを備えている。
この実施形態においては、トナーTを担持するトナー担持体1と、トナーが付着させられる記録媒体手段3と、トナー担持体1と記録媒体手段3との間に配置され、複数のトナー通過穴41を有するトナー制御手段4と、トナー担持体1とトナー制御手段4の間に配置されたクラウド電極手段2と、トナー担持体1に対向する位置に配置され、記録媒体手段3にトナーをトナー担持体1側から飛翔させるバイアス電圧を印加する対向電極手段(背面電極)とを備えている。
トナー担持体1は、表面に予め電荷を与えられたトナーTの薄層を有し、トナー担持体1が回転することでトナーが搬送される。このトナー担持体1から僅かに離間した位置にクラウド電極手段2を有し、このクラウド電極手段2とトナー担持体1の間にACバイアス印加手段5によってACバイアスを印加してトナーTのクラウドを行う。
クラウド電極手段2としては、後述するトナー制御手段4の制御電極42の幅方向に相当する領域に直径0.05〜0.1mmのワイヤ部材を1本又は複数本設けた構成、あるいは、直径0.05〜0.1mmのワイヤをメッシュ状に編んだ構成とすることができる。
このクラウド電極手段2とトナー担持体1の間隔は0.02〜0.06mmと非常に近接した距離に設定することでトナー担持体1表面のトナーを剥離するための電界を形成してクラウド化が可能となる。
クラウド電極手段2のトナー搬送方向の幅については、トナー制御手段4のトナー通過穴41の列数に応じた構成とし、ワイヤ部材の場合は1本から4本程度で必要なトナークラウドが得られることが確認されている。
クラウド電極手段2とトナー担持体1間に印加するACバイアスは、ここでは、トナー担持体1を接地して0Vとし、クラウド電極手段2に±250Vppを印加する構成である。このACバイアスの電位差は、トナー担持体1表面に付着しているトナーを剥離すると同時にクラウド電極手段2を構成する例えばワイヤに付着するトナーを剥離する作用もあり、一定値以上の電界強度が必要である。また、ACバイアス値が高すぎる場合は、放電の発生、またトナーのクラウド高さが高くなり、トナー制御手段4表面へのトナー付着が発生する。したがって、前記クラウド電極手段2とトナー担持体1の間隔0.02〜0.06mmではACバイアス値は±100Vpp〜±1000Vppで可能である。
なお、上述したように、トナー担持体1に0V、クラウド電極手段2に±電圧(AC)を印加しているが、この逆の構成、又は必要に応じてそれぞれにDC電圧をバイアスとして与えた構成であってもよい。
また、ACバイアスの切り替え周波数fは、トナーのクラウド化の効率とトナー飛翔の応答性から1〜12KHzのような範囲から設定すればよい。
以上によってトナーTをクラウド化する手段を構成している。
トナー制御手段4は、トナーTが通過可能なトナー通過穴(トナー通過開口)41が複数設けられ、このトナー制御手段4のトナー供給側面(トナー担持体1側の面)のトナー通過穴41周辺にはリング状に制御電極42が設けられ、更にトナー通過穴41に対し制御電極42の外側に絶縁領域を介して複数のトナー通過穴41に共通の共通電極43が設けられている。
このトナー制御手段4の制御電極42には制御パスル発生手段6から例えば図2に示すような制御パルスVcが印加される。この場合、トナー通過穴41をトナーTが通過可能な状態(ON状態)にするときには制御電極42に電圧Vc-onが印加され、トナーTが通過不可能な状態(OFF状態)にするときには制御電極42に電圧Vc-offが印加される。また、共通電極43には常時電源手段7から電圧Vgが印加される。トナー制御手段4の制御電極42は、通過穴41周囲だけでも動作が可能であるが、通過穴41の内壁面又は通過穴41の内壁面とトナー担持体1側の周囲の両方に設けたものであってもよい。
記録媒体手段3側には、記録媒体手段3の背面に、トナー制御手段4を通過したトナーTを記録媒体手段3に付着させるためのバイアス電圧を印加するバイアス電圧印加手段となる対向電極手段5(背面電極5)が配置され、トナー制御手段4を通過したトナーTを記録媒体手段3に付着させるため、バイアス電源手段9からのバイアス電圧Vpが印加される。
この記録媒体手段3は、この上に一度画像を形成し、その後紙に転写する中間記録媒体、あるいは、記録紙であってもよい。この記録媒体手段3に対するバイアス電圧Vpの印加は、例えば記録媒体手段3の背面側(トナー担持体1と反対側面)に背面電極5を配置し、この背面電極5上面に記録媒体手段3を通過させる構成、あるいは、中間記録媒体であれば内部に電極を埋め込んだ構成(記録媒体手段側の電極を内部電極とする構成)又は中間記録媒体の背面に背面電極5を配置した構成とすることができる。
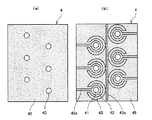
次に、トナー制御手段4の具体的構成の一例について図3を参照して説明する。なお、
図3(a)は同トナー制御手段の印写面側の説明図、(b)は同じくトナー供給側面の説明図である。
この例は、絶縁基板(基材)45のトナー供給側(トナー担持体11側)面に、トナー通過穴41を囲む形で10〜100μm幅のリング状の制御電極42を設け、この制御電極42から20〜50μmの間隔を置いて、つまり、絶縁基材45で形成される絶縁領域を介して、制御電極42と同一面に、複数のトナー通過穴41に共通のバイアス電圧Vgを印加する共通電極43を設けた構成である。
図3(a)は同トナー制御手段の印写面側の説明図、(b)は同じくトナー供給側面の説明図である。
この例は、絶縁基板(基材)45のトナー供給側(トナー担持体11側)面に、トナー通過穴41を囲む形で10〜100μm幅のリング状の制御電極42を設け、この制御電極42から20〜50μmの間隔を置いて、つまり、絶縁基材45で形成される絶縁領域を介して、制御電極42と同一面に、複数のトナー通過穴41に共通のバイアス電圧Vgを印加する共通電極43を設けた構成である。
トナー通過穴41は、形成するドット径のサイズで決定するが直径φ30μm〜φ150μmである。制御電極42は個々にトナーTの通過をON、OFF制御するためのドライバ回路(駆動回路)に接続するためのリードパターン42aが接続され、また共通電極43は共通のリードパターン43aに接続されている。また、絶縁基板45の印写面側(記録媒体手段3側の面)はトナー通過穴41が開口した状態である。
このように、トナー制御手段の共通電極は、制御電極の外側を、絶縁領域を介してリング状に囲む形状である構成とすることで、記録媒体手段側のバイアス電位と制御電極外側の共通電極間に形成する電気力を各トナー通過穴独立の電気力線として形成できるため、マルチ駆動(複数のノズル通過穴からトナーを飛翔させる駆動)のときの相互干渉(他のトナー通過穴の状態を受けること)が発生しない。
また、トナー制御手段の制御電極と共通電極を同一面上形成することで、一回の製造プロセスで同時に形成でき、精度よく低コストに電極を作ることができる。
また、トナー制御手段4の具体的構成の他の例について図4を参照して説明する。なお、図4(a)は同トナー制御手段の印写面側の説明図、(b)は同じくトナー供給側面の説明図である。
この例は、絶縁基板(基材)45のトナー供給側(トナー担持体11側)面に、トナー通過穴41を囲む形で10〜100μm幅のリング状の制御電極42を設け、この制御電極42から20〜50μmの絶縁領域の間隔を置いて複数のトナー通過穴41に共通のバイアス電圧Vgを印加する共通電極43が空いたスペース全体を覆うようにベタ状に設けられた構成としている。
この例は、絶縁基板(基材)45のトナー供給側(トナー担持体11側)面に、トナー通過穴41を囲む形で10〜100μm幅のリング状の制御電極42を設け、この制御電極42から20〜50μmの絶縁領域の間隔を置いて複数のトナー通過穴41に共通のバイアス電圧Vgを印加する共通電極43が空いたスペース全体を覆うようにベタ状に設けられた構成としている。
このように、トナー制御手段の共通電極は、制御電極の外側に絶縁領域を介してベタ状に設けられている構成、つまり、共通電極を制御電極の外側領域全体にわたり形成することで、記録媒体手段側のバイアス電位の電界をシールドすることができ、かつ制御電極へのトナー付着低減、およびトナーの利用効率向上を図れる。
このようなトナー制御手段4の具体的製造方法は、基材45である絶縁性部材として、コスト、製造プロセスの観点から樹脂フィルム、例えば、ポリイミド、PET、PEN、PES等で、厚さは30μm〜100μmのものを使用し、まずフィルム面に0.2μm〜1μmのAl蒸着膜を形成する。次に、フォトリソ工程で、フォトレジストをスピンナで塗布後、プリベーク、マスク露光を行ない、現像した後、フォトレジストの加熱硬化を進めた後、Alエッチング液によるAlのパタンニングを行う。フィルムの裏面にも電極パターンが必要な場合は上記と同様に可能であるが、穴加工用のマスクとして使用するパターンを裏面に形成してもよい。トナー通過穴41となる貫通穴の形成は、パターン形成後プレスによる機械的な加工、または裏面に形成したパターンを利用したエキシマレーザー加工、またはスパッタエッチング加工等のドライエッチング加工によれば、位置ずれの無い高精度な穴加工が可能である。
このように構成した画像形成装置においては、トナーをクラウド化するためにトナー担持体1とクラウド電極手段2との間に平均電位Vsのパルス電圧(ACバイアス)を印加することによって、トナー担持体1上でトナーTが飛翔してクラウド化され、トナー担持体1の回転による搬送によってトナーTが搬送される。一方、記録媒体手段3側の背面電極5に印写バイアス電圧Vpが印加される。
この状態で、トナー制御手段4の共通電極43に対して電圧Vgを印加し、制御電極42に対してトナーTがトナー通過穴41を通過可能な状態(ON状態)にするときには図2に示すON時の電圧Vc-onを印加し、トナーTがトナー通過穴41を通過不可能な状態(OFF状態)にするときには図2に示すOFF時の電圧Vc-offを印加する。
この場合、これらの各電極11,5,42,43に対する電圧を後述するように設定することで、トナー制御手段4をトナー担持体1のトナーTが記録媒体手段3に向かって通過可能な状態にするときに、記録媒体手段3側とトナー制御手段4の共通電極53との間にトナーの通過を制御する制御電極42を迂回してループ状に電気力線10が形成される。
これにより、トナー担持体1上でクラウド化しているトナーは電気力線10による電界に乗ってトナー制御手段4のトナー通過穴41を通過して記録媒体手段3上に着弾する。したがって、画像に応じてトナー制御手段41の各トナー通過穴41をON/OFF制御(開閉制御)することで、記録媒体手段3上に直接トナー画像を形成することができる。そして、記録媒体手段3側とトナー制御手段4の共通電極43との間にトナーの通過を制御する制御電極42を迂回してループ状に電気力線10が形成されることから、制御電極42やトナー通過穴41周辺へのトナーの付着が低減され、またトナーをクラウド化していることでトナーの利用効率が向上する。
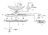
そこで、トナー担持体1上でトナーTをクラウド化するために印加するACバイアスの平均電位Vs、記録媒体手段3側のバイアス電圧Vp、トナー制御手段4の制御電極42に対する制御パルス電圧Vc、共通電極43に対する電圧Vgについて、図5をも参照して説明する。なお、図5は、トナー担持体1、トナー制御手段4、記録媒体手段3の二次元断面電界強度分布のシミュレーション結果に基づくトナー通過穴を通過する電気力線を示す説明図である。
トナー担持体1上でトナーTをクラウド化するためにACバイアスの平均電位Vsのパルス電圧(電位が時間的に変動する電位)を印加する。この場合、バイアス電圧の波高値は、クラウド電極手段2とトナー担持体1の間隔、使用するトナー等に応じて設定する。例えば、±60〜±300Vpp(ppはピーク−ピーク)の範囲内で設定する。
ここでは、DC電圧成分0Vの電圧を印加している。したがって、トナー制御手段4に対するトナー担持体側1側のDCバイアスとしては0Vであり、平均電位Vs=0Vとなる。なお、トナー担持体1とトナー制御手段4の間隔dは0.3mmとしている。
また、この例では、トナー制御手段4のトナー通過穴41の直径φ100μm、リング状の制御電極42の穴中心方向の幅は30μm、制御電極42は共通電極43の間隔は50μmである。
このトナー制御手段4の共通電極43へのバイアスVgはDC−125Vであり、トナー担持体1とバイアス電極手段2の間に印加するACバイアスの平均電位Vsとの関係はトナーTを常にトナー担持体1側へ向ける方向のバイアスであるため、この共通電極43面へのトナー付着はない。
そして、トナー制御手段4の制御電極42には、トナーTがトナー通過穴41を通過可能な状態(ON状態)にする場合、制御パルス電圧Vc-onは+50V、トナーTを通過させる時以外の阻止状態の(通過不可能な状態にする)場合の電圧Vc-offは−125Vとしている。記録媒体手段3の背面電極5へのバイアス電圧Vpはトナー制御手段4と記録媒体手段3との間隔にもよるが、例えば+200〜+1500VのDC電圧を印加すればよい。ここでは、トナー制御手段4と記録媒体手段3との間隔0.3mmとしてDC+300Vを印加し、マイナス帯電トナーを記録媒体手段3の表面にを引き寄せる電位勾配としている。
各電極11、42,43、5に印加する電位の関係を以上のように設定することで、マイナスに帯電したトナーをトナー通過穴5を通過可能な状態にする場合においては、最もプラス側に電位が高い記録媒体手段3側の電極5から出る電気力線のうち、トナー制御手段4のトナー通過穴41を通る電気力線の多くが、トナー通過穴41を通過した後、一番電位の低い共通電極43に入ることになる。このとき、近接した距離にあるトナー制御手段4の制御電極42と共通電極43にも175Vの電位があるため、その間にも強い電気力線が生じる。
そのため、図5(a)に示すように、トナーTがトナー通過穴41を通過可能な状態(ON状態)にしたときには、先の記録媒体手段3側の電極5からトナー通過穴41を通る電気力線10は、制御電極42に入ること無く(制御電極42を迂回して)、−125Vと最も電位の低い共通電極43に多くが入るため、ループ状に拡がった形状となる。つまり、記録媒体手段3側とトナー制御手段4の共通電極43との間に制御電極42を迂回してループ状に電気力線10が形成される。
したがって、トナー担持体1上でクラウド状態にあるマイナス帯電トナーTがこの電気力線10に沿ってトナー通過穴41を通過し、記録媒体手段3の表面に多くのトナーTが移動することができる。
このとき制御電極42には+50Vが印加され、トナー担持体1の0Vとの関係は、トナーTを制御電極42へ吸着する関係にあるため、本来であればこの+50Vが印加されている間に制御電極42表面にトナーが付着するはずであるが、図5(a)のシミュレーションの結果から分かる様に、+50Vが印加されている制御電極42上方を記録媒体手段3側電極からトナー通過穴41を通って共通電極43に入る電気力線10が覆っているため、制御電極41へトナーTが付着することが防止される。
一方、トナーTがトナー通過穴41を通過不可能な阻止状態(OFF状態)にした場合、制御電極42には−125Vが印加され、共通電極43に対する電位と同じ電位であり、トナー担持体1の電位0Vとの関係は、トナーTをトナー担持体1側に反発する関係であり、トナー制御手段4へのトナーTの付着はないし、図5(b)に示すように記録媒体手段3側電極からの電気力がトナー通過穴41を通り抜ける電気力線もないため、トナーTがトナー通過穴41を通過することもなく、地汚れ画像は発生しない。なお、阻止状態(OFF状態)の制御電極42への印加電圧は共通電極43の電位と同じ電位である必要はなく、よりマイナス側の電位であってもトナーTの通過を阻止する(OFF状態にする)ことはできる。
このように、トナー担持体とトナー制御手段との間に、トナーをクラウド化するためのクラウド電極手段を備え、トナー制御手段をトナー担持体のトナーが記録媒体手段に向かって通過可能にするとき、記録媒体手段側とトナー制御手段の共通電極との間にトナーの通過を制御する制御電極を迂回してループ状に電気力線が形成される構成としたので、トナーを吸引する電位が印加される制御電極表面やその周囲へのトナー付着を大幅に低減でき、トナーの通過のオン/オフの制御を安定して行うことができるとともに、記録媒体手段側のバイアス電位と制御電極外側の共通電極間に形成される電気力線はトナー担持体側ではトナー通過穴の径より大きく広がり、クラウド化されたトナーを広範囲に捕獲して印写面側に向けて飛翔させることが可能となってトナーの利用効率が上がり、印刷濃度の確保、印刷速度の向上を図れる。それとともに、クラウド電極手段によってトナーをクラウド化するので、簡単な構成でトナーのクラウド化を行うことができ、トナーの通過のONN/OFFを低い電圧で制御できて、画像形成装置の小型化、低コスト化を図れる。
このように、上述したトナー通過ON時に各電極に対して印加する電位の関係を、次のように設定することで、記録媒体手段側とトナー制御手段の共通電極との間に制御電極を迂回してループ状に電気力線を形成することができる。
つまり、トナー担持体1とクラウド電極手段2の間に平均電位Vsのパルス電圧(ACバイアス)を印加し、トナー制御手段4の制御電極42に対しトナーがトナー通過穴41を通過可能な状態にするときに電圧Vc-onを、トナーがトナー通過穴41を通過不可能な状態にするときに電圧Vc-offを印加し、共通電極43に電圧Vgを印加し、トナー制御手段4を通過したトナーを記録媒体手段3に導いてトナーを付着させるために記録媒体手段3側にバイアス電圧Vpを印加するとき、
トナーがトナー通過穴41を通過可能な状態にするときの各電位の関係は、
Vp>Vc-on>Vs>Vg
とし、トナーが負帯電トナーの場合はバイアス電圧Vpがプラス電位側に高くなる関係、正帯電トナーの場合はバイアス電圧Vpがマイナス電位側に高くなる設定とする。
トナーがトナー通過穴41を通過可能な状態にするときの各電位の関係は、
Vp>Vc-on>Vs>Vg
とし、トナーが負帯電トナーの場合はバイアス電圧Vpがプラス電位側に高くなる関係、正帯電トナーの場合はバイアス電圧Vpがマイナス電位側に高くなる設定とする。
また、この場合、トナーがトナー通過穴41を通過不可能な状態にするときの各電位の関係は、
Vs>Vg であり、且つ、Vs>Vc-off
であって、トナーが負帯電トナーの場合は平均電位Vsがプラス電位側に高くなる関係、正帯電トナーの場合は平均電位Vsがマイナス電位側に高くなる設定とすることが好ましい。
Vs>Vg であり、且つ、Vs>Vc-off
であって、トナーが負帯電トナーの場合は平均電位Vsがプラス電位側に高くなる関係、正帯電トナーの場合は平均電位Vsがマイナス電位側に高くなる設定とすることが好ましい。
各電極11、42、43、5に対する電位の関係を上述した関係に設定することにより、記録媒体手段側のバイアス電位とトナー担持体の電位間に直接形成される電気力線が低減され、記録媒体手段側のバイアス電位と制御電極外側の共通電極間に電気力を形成することができ、これにより、トナーを吸引する電位が印加される制御電極へのトナー付着を大幅に低減できて、制御電位が安定する。また、記録媒体手段側のバイアス電位と制御電極外側の共通電極間に形成される電気力線は、トナー供給側ではトナー通過穴の径より大きく広がるため、クラウド化されたトナーを広範囲に捕獲して印写面側に向けて飛翔させることが可能となり、トナーの利用効率が上がり、印刷濃度の確保、印刷速度の向上を図ることができる。さらに、トナー制御手段の共通電極はトナーを常に反発する関係の電位にあるため、トナーの付着が発生することがなく、共通電極の電位を一定に保つことが可能となり信頼性の高い画像形成装置を実現できる。
さらに、高速印刷のためにトナー担持体1表面のトナー量が多くなった場合、また帯電電荷量が大きいトナーを使用して印刷を行う場合は、トナーが有する電荷によるトナー電位を無視できなくなり、各電極に印加する電位決定に考慮が必要となる。
具体的に説明すると、トナー担持体1表面の供給トナー量m/Amg/cm2に対するトナー電位の変化は図6に示すようになる。
ここでは、トナーはマイナスに帯電したトナーの例であり、トナー担持体1表面の単位面積当たりのトナー量が増加するに従って、制御電極42側からみた表面電位はマイナス電位に上昇する。そして、供給したトナーがトナー担持体1表面に単に付着したままの電位Voに対して、トナー担持体1とクラウド電極手段2の間にACバイアスが印加されてクラウド状態にあるトナーの電位Vtは大きく上昇する。これは、トナーがトナー担持体1表面より上方の空間にある方が、個々のトナーの周囲に対する結合静電容量が小さくなり、その結果電位が上昇するためである。
ここでは、トナーはマイナスに帯電したトナーの例であり、トナー担持体1表面の単位面積当たりのトナー量が増加するに従って、制御電極42側からみた表面電位はマイナス電位に上昇する。そして、供給したトナーがトナー担持体1表面に単に付着したままの電位Voに対して、トナー担持体1とクラウド電極手段2の間にACバイアスが印加されてクラウド状態にあるトナーの電位Vtは大きく上昇する。これは、トナーがトナー担持体1表面より上方の空間にある方が、個々のトナーの周囲に対する結合静電容量が小さくなり、その結果電位が上昇するためである。
このクラウド状態のトナー電位Vtの測定は、トナー担持体1とクラウド電極手段2の間にACバイアスを印加しながら、供給したトナーをクラウド状態にしてその上方に表面電位計を設定することで、容易に測定することができる。具体的には、クラウド化を起こすパルスを印加して、後述する一成分、または二成分ローラからトナーを供給しながらトナー担持体1を回転し、トナー制御手段4が設定される位置にてトナー担持体1表面から2mm程度上方に表面電位計を設置して測定する。図6の結果は、帯電電荷量が−15〜−25μC/gのトナー供給した場合のVo、そのトナーを飛翔高さが表面近傍から200μmの範囲でクラウド状態にした場合のトナー電位Vtの場合の例である。
この図6に示す各供給トナー量においてトナー制御手段4によりトナーの通過のON/OFF制御を行って印刷を行った結果、トナー制御手段4の電極42、43表面に付着したトナー量を評価した結果を図7に示している。この図7の結果において、供給トナー量が少ない領域は電極42、43へのトナー付着はないが、供給トナー量が増加して0.9mg/cm2はトナー電位Vtが−80Vとなり、制御電極42へのトナー付着が起き始める。
これは、等価的にクラウド電極手段2とトナー担持体1側の電位がマイナス側に電位上昇してトナー制御手段4の共通電極42との電位差が小さくなった結果、記録媒体手段3側電極から出てトナー通過穴42を通る電気力線のうち、トナー担持体1に直接入る電気力線が増加し、共通電極43へ入るループ状の電気力線が減ったためである。すなわち、ループ状の電気力線が少なくなると、飛翔エネルギーの高いトナーがループ状の電気力線に乗って印写面の方向に飛翔することなく、ON電圧が印加されている制御電極42まで飛翔するためである。
さらに、供給トナー量が増加して1.2mg/cm2超えると、トナー電位Vtは−120V以上の値となる。この領域では、トナー制御手段4の共通電極43のバイアス電位Vg(−125V)との電位差がなくなり、飛翔エネルギーを有するトナーが共通電極43まで到達し始めてトナー付着が起きた結果である。また、制御電極42へのトナー付着量も増えてくる。
これらのトナー付着は、定期的な電極クリーニングの頻度を上げることで、使用できないことはないが、画質低下が発生する。トナー付着が発生しない条件であれば、連続印刷においても画像濃度が低下することなく、信頼性の高い画像記録装置が可能となる。
そこで、トナー量が多い場合、また帯電電荷量が大きいトナーを使用して画像を形成する場合は、各電極に対する電位を、次の条件で設定することで、電極へのトナー付着回避、トナー利用効率の向上で画像濃度が低下することなく高速印刷が可能になる。
すなわち、電荷を有するトナーがトナー担持体1表面から飛翔してクラウド状態にある制御電極42側からみたトナー電位をVtとしたとき(その他は前記の条件と同じ)、トナーの通過をONさせる場合の各電位の関係は、
Vp>Vc-on>(Vs+Vt)>Vg
と、負帯電トナーの場合はバイアス電圧Vpがプラス電位側に高くなる関係、正帯電トナーの場合はバイアス電圧Vpがマイナス電位側に高くなる設定とする。
Vp>Vc-on>(Vs+Vt)>Vg
と、負帯電トナーの場合はバイアス電圧Vpがプラス電位側に高くなる関係、正帯電トナーの場合はバイアス電圧Vpがマイナス電位側に高くなる設定とする。
また、トナーの通過をOFFさせる場合の各電位の関係は、
(Vs+Vt)>Vg であり、且つ、(Vs+Vt)>Vc-off
と、負帯電トナーの場合は(Vs+Vt)がプラス電位側に高くなる関係、正帯電トナーの場合は(Vs+Vt)がマイナス電位側に高くなる関係に設定する。
(Vs+Vt)>Vg であり、且つ、(Vs+Vt)>Vc-off
と、負帯電トナーの場合は(Vs+Vt)がプラス電位側に高くなる関係、正帯電トナーの場合は(Vs+Vt)がマイナス電位側に高くなる関係に設定する。
各電極11、42、43、5に対する電位を上記のように設定する、つまり、トナー供給側の電位として、トナー担持体表面のトナーが飛翔することによる電位も考慮して各電極電位を適正に設定することで、印刷速度が速い供給トナー量が多い場合、またトナーの帯電電荷量が大きい場合においても、制御電極などへのトナー付着の低減、トナー利用効率の向上を図れ、高濃度、高速印刷の画像形成装置を実現することができる。この場合、トナーをクラウド化していない(パルスを印加していない)状態でも、上述した電位の関係に設定することで、制御電極などにトナー付着が発生しないため、信頼性が向上する。
これにより、記録媒体手段側の印写バイアスからトナー制御手段の共通電極に向けて形成されるループ状電気力線を強いものとし、クラウド化されたトナーを印写面に向けてより多く飛翔させることができ、高速、高品質のドット形成が可能となる。
なお、上記の例では、クラウド電極手段とトナー担持体との間にクラウドパルス(ACバイアス)を印加してトナーがクラウド状態にある場合の条件について説明したが、トナーを飛翔させていない状態の制御電極側からみたトナーによる電位をVtとしたとき前記と同条件に設定することで、電極へのトナー付着を回避する効果がある。つまり、クラウドパルスの印加をOFFしてトナーのクラウドが無い状態においても、僅かなトナーが浮遊している。この僅かな浮遊トナーの電位は無視できるが、トナー担持体表面に着地して乗っているトナー電位があり、この電位Vtを考慮した(Vs+Vt)も前記と同条件の範囲に設定することで、同じ効果が得られる。
上述したように、本発明では、トナー担持体表面のトナーを飛翔させてクラウド化する手段に時間的に変動する電位を印加する。ここで、トナー制御手段の共通電極がない場合、各電極への電位の設定が上述した範囲に無い場合は、電極へのトナー付着が急速に発生する等、信頼性の低下は避けられない。また、クラウド化したトナーの利用効率が非常に低下するため、画像濃度の確保、高速印刷の画像形成装置を達成することはできなくなる。
次に、本発明に係る画像形成装置の一例について図8を参照して説明する。なお、図8は同画像形成装置の模式的構成図である。
この画像形成装置は、前述した実施形態のユニットを4個設けてイエロー(Y)、マゼンタ(M)、シアン(C)、ブラック(K)の4色分のトナーのクラウド化とトナー制御手段によるON/OFF制御を行ってカラー画像を形成する画像形成装置の例である。
この画像形成装置は、前述した実施形態のユニットを4個設けてイエロー(Y)、マゼンタ(M)、シアン(C)、ブラック(K)の4色分のトナーのクラウド化とトナー制御手段によるON/OFF制御を行ってカラー画像を形成する画像形成装置の例である。
つまり、この画像形成装置は、記録媒体手段である中間記録媒体(中間記録ベルト)103に沿って、イエロー(Y)、マゼンタ(M)、シアン(C)、ブラック(K)の4色分のトナーのクラウド化して供給する4個のトナー供給ユニット100y、101m、101c、101k(色を区別しないときは「トナー供給ユニット100」という。以下同様。)を配置し、各トナー供給ユニット100と中間記録媒体103との間に、それぞれ前記実施形態のトナー制御手段4と同様な構成のトナー制御手段104を配置している。
ここで、中間記録媒体103は、2つのローラ132、133との間に掛け回されて矢示方向に周回移動する。この中間記録媒体103の背面(内側)には各トナー供給ユニット100に対応して記録媒体手段側電極である対向電極手段105が配置されている。また、転写後の中間記録媒体103上の残トナーを除去するクリーニングユニット135が備えられる。
トナー供給ユニット100は、円筒状のトナー担持体101と、このトナー担持体101とトナー制御手段104との間に位置する前述したクラウド電極手段2と同様なクラウド電極手段102と、トナー担持体101にトナーを補給する回転するトナー補給ローラ113と、トナー担持体101上のトナー量を規制するブレード114を備えている。
ここでは、トナー補給ローラ113からトナー担持体101にトナーが補給されるとともに、トナー補給ローラ113上のトナーとトナー担持体101との摩擦によってトナーの摩擦帯電が行われる。また、トナー補給ローラ113の下流側のブレード114は、トナー担持体101表面のトナー量を薄層で一定量にするとともに、トナー帯電量の安定化も図っている。
そして、トナー供給ユニット100は、トナー担持体101とクラウド電極手段102との間にACバイアスを印加して、トナー担持体101上でトナーをクラウド化し、トナー制御手段104が画像に応じてON/OFF制御されることで、トナーが中間記録媒体103上に飛翔され、中間記録媒体103上にカラーのトナー画像が形成される。
一方、下方に記録紙150を収容する給紙部151が配置され、給紙部151から記録紙150がピックアップローラ(給紙ローラ)152で給紙されて、中間記録媒体103を掛け回したローラ132に対向して配置した転写ローラ153で中間記録媒体103上のトナー画像が転写され、定着ユニット154でトナーが記録紙150上に溶融定着されて排紙される。
なお、ここでは図示していないが、記録紙150の裏面側の転写ローラ153に+バイアスが印加されることで中間記録媒体103から記録紙150面へのトナー画像の転写が行われる。また、上述したように中間記録媒体103はクリーニングユニット135で残トナーがクリーニングされて、次の画像形成が行われる。
このように、この画像形成装置は、中間記録媒体に4色画像を形成した後、給紙部から供給される記録紙に転写を行う中間転写記録方式である。この中間転写記録方式の場合は、印写面(トナーが着弾する面、画像形成面ともいう。)とトナー制御手段との間隔を一定に保つ精度確保が容易であり、トナー飛翔速度が低い条件で高画質化を図ることができる。また、平滑で体積抵抗率の調整によって電荷が蓄積しない、電位変動のない印写面が得られ、クラウド化したトナーの通過のON/OFFで直接印刷する画像形成装置は電位に対する感度が高く、印写面バイアス電位の変動に対して画質変動が発生しやすいが、この構成であれば信頼性の高い、高画質のカラー画像を得ることができる。
次に、本発明に係る画像形成装置の他の例について図9を参照して説明する。なお、図9は同画像形成装置の模式的構成図である。
この画像形成装置は、記録媒体手段を記録紙として、記録紙上に直接画像を形成する例である。つまり、ここでは、給紙部151から供給される記録紙150を紙搬送ベルト161に静電的に吸着してトナー供給ユニット100の領域を通過させ、トナー制御手段104の画像に応じたON/OFF制御によって記録紙150上に直接カラー画像を形成する。
この画像形成装置は、記録媒体手段を記録紙として、記録紙上に直接画像を形成する例である。つまり、ここでは、給紙部151から供給される記録紙150を紙搬送ベルト161に静電的に吸着してトナー供給ユニット100の領域を通過させ、トナー制御手段104の画像に応じたON/OFF制御によって記録紙150上に直接カラー画像を形成する。
なお、紙搬送ベルト161は、ポリイミド等から形成され、2つのローラ162、163に掛け回されて矢示方向に周回移動し、図示しない帯電ローラなどの帯電手段によって帯電されることで記録紙150を静電的に吸着保持して搬送する。なお、給紙部151から記録紙150を紙搬送ベルト161に導くためのガイド164、レジストローラ165なども配置されている。
この構成では、トナー通過を制御するトナー制御手段104と通過後のトナーを記録紙150に導くためのバイアスを印加する背面電極105の間にポリイミド等の紙搬送ベルト161及び記録紙150があるため、トナー制御手段104と背面電極1105の間隔を非常に狭く設定することが難しいが、他方、記録紙150上に直接カラー画像を形成し、転写プロセスがないため、転写によるトナー散りで画質低下することがなくなる。
また、前記図8で説明した構成のようなベルトクリーニング機構を必要としないこと等もあり、小型、低コストの画像形成装置の実現に有利である。トナーをクラウド化する本構成では、印写面バイアスを低い設定にしてトナーを導くことも可能であるため、紙面へのトナーの着弾スピードも低く設定でき、トナーの散りが起きない高画質の画像形成装置を得ることができる。
次に、上記画像形成装置におけるトナー供給ユニット100の具体的な構成の一例について図10を参照して説明する。
このトナー供給ユニット100は、磁性キャリアと非磁性トナーから成る二成分記録剤を用いる例である。記録剤収容部201は2つの室201A、201Bに分けられており、トナー供給ユニット100内の両端部の記録剤通路(図示せず)によって繋がっている。記録剤収容部201には二成分記録剤が収容されており、各室201A、201Bにある攪拌搬送スクリュー202A、202Bによって攪拌されながら記録剤収容部201内を搬送されている。
このトナー供給ユニット100は、磁性キャリアと非磁性トナーから成る二成分記録剤を用いる例である。記録剤収容部201は2つの室201A、201Bに分けられており、トナー供給ユニット100内の両端部の記録剤通路(図示せず)によって繋がっている。記録剤収容部201には二成分記録剤が収容されており、各室201A、201Bにある攪拌搬送スクリュー202A、202Bによって攪拌されながら記録剤収容部201内を搬送されている。
記録剤収容部201の室201Aにはトナー補給口203が配置されており、図示しないトナー収容部からトナー補給口203を通って、記録剤収容部201内に補給される。記録剤収容部201には記録剤の透磁率を検知する図示しないトナー濃度センサが設置されており、記録剤の濃度を検知している。記録剤収容部201のトナー濃度が減少すると、トナー補給口203から記録剤収容部201内にトナーが補給される。
そして、攪拌搬送スクリュー202Bと対向する位置には、トナー補給ローラとしてのマグブラシローラ204が配置されている。マグブラシローラ204の内部には固定された磁石が配置されおり、マグブラシローラ204の回転と磁力によって、記録剤収容部201内の記録剤はマグブラシローラ204表面に汲み上げられる。記録剤の汲み上げ位置よりマグブラシローラ204の回転方向上流において、マグブラシローラ204と対向する位置に記録剤層規制部材205が設けられている。
汲み上げ位置で汲み上げたれた記録剤は記録剤層規制部材205によって一定量の記録剤層厚に規制される。記録剤層規制部材205を通った記録剤はマグブラシローラ204の回転に伴って、トナー担持体101と対向する位置まで搬送される。マグブラシローラ204には、第1電圧印加手段211によって供給バイアスが印加されている。
トナー担持体101は接地されている(0Vである)。このトナー担持体101の前面にはクラウド電極手段102が配置され、ACバイアス電源手段212からACバイアスが印加されている。
ここで、トナー担持体101のマグブラシローラ204と対向する位置においては、電圧印加手段211によってトナー担持体101とマグブラシローラ204との間に電界が生じている。その電界からの静電気力を受け、トナーはキャリアから分離し、トナー担持体101表面に移動し、トナー担持体101の回転によって搬送される。そして、クラウド電極手段102に対向する位置に搬送されたトナー担持体101表面のトナーは、トナー担持体101とクラウド電極手段102との間に印加されるACバイアスによってクラウド化される。
そして、トナー制御手段104の制御電極42のトナー通過ON/OFFの制御電界により選択的に記録媒体手段側に飛翔されて、トナーのドット印写が制御される。
次に、上記画像形成装置におけるトナー供給ユニット100の具体的な構成の他の例について図11を参照して説明する。
このトナー供給ユニット100は、非磁性トナーから成る一成分記録剤を用いる例である。トナーは記録剤収容部201に収容されており、帯電ローラ220によってトナーはトナー担持体101と摩擦帯電を行い、記録剤層規制部材205によって薄層化され、トナー担持体101の回転によって搬送される。そして、クラウド電極手段102に対向する位置に搬送されたトナー担持体101表面のトナーは、トナー担持体101とクラウド電極手段102との間に印加されるACバイアスによってクラウド化される。
このトナー供給ユニット100は、非磁性トナーから成る一成分記録剤を用いる例である。トナーは記録剤収容部201に収容されており、帯電ローラ220によってトナーはトナー担持体101と摩擦帯電を行い、記録剤層規制部材205によって薄層化され、トナー担持体101の回転によって搬送される。そして、クラウド電極手段102に対向する位置に搬送されたトナー担持体101表面のトナーは、トナー担持体101とクラウド電極手段102との間に印加されるACバイアスによってクラウド化される。
そして、トナー制御手段104の制御電極42のトナー通過ON/OFFの制御電界により選択的に記録媒体手段側に飛翔されて、トナーのドット印写が制御される。
次に、上記画像形成装置におけるトナー供給ユニット100の具体的な構成の更に他の例について図12を参照して説明する。
このトナー供給ユニット100は、磁性キャリアと非磁性トナーから成る二成分記録剤であり、図10の例と同様に記録剤収容部201は2つの室201A、201Bに分けられており、トナー供給ユニット100内の両端部の記録剤通路(図示せず)によって繋がっている。記録剤収容部201には二成分記録剤が収容されており、各室201A、201Bにある攪拌搬送スクリュー202A、202Bによって攪拌されながら記録剤収容部201内を搬送されている。
このトナー供給ユニット100は、磁性キャリアと非磁性トナーから成る二成分記録剤であり、図10の例と同様に記録剤収容部201は2つの室201A、201Bに分けられており、トナー供給ユニット100内の両端部の記録剤通路(図示せず)によって繋がっている。記録剤収容部201には二成分記録剤が収容されており、各室201A、201Bにある攪拌搬送スクリュー202A、202Bによって攪拌されながら記録剤収容部201内を搬送されている。
記録剤収容部201の室201Aにはトナー補給口203、トナー濃度センサが設置されており、記録剤の濃度を検知して記録剤収容部201のトナー濃度が減少すると、トナー補給口203から記録剤収容部201内にトナーが補給される。
そして、攪拌搬送スクリュー202Bと対向する位置には、トナー担持体としてのマグブラシローラ301が配置されており、マグブラシローラ301の内部に固定された磁石が配置されおり、マグブラシローラ301の回転と磁力によって、記録剤収容部201内の記録剤はマグブラシローラ301表面に汲み上げられる。記録剤の汲み上げ位置よりマグブラシローラ301の回転方向上流において、マグブラシローラ301と対向する位置に記録剤層規制部材205が設けられている。
汲み上げ位置で汲み上げたれた記録剤は記録剤層規制部材205によって一定量の記録剤層厚に規制され、クラウド電極手段102の方向に搬送される。このトナー担持体であるマグブラシローラ301は接地され(0Vであり)、クラウド電極手段102との間に印加するACバイアスによってクラウド化される。
そして、トナー制御手段104の制御電極42のトナー通過ON/OFFの制御電界により選択的に記録媒体手段側に飛翔されて、トナーのドット印写が制御される。
なお、これらの各トナー供給ユニット100において、印写に寄与しなかったトナーはトナー担持体101によってさらに搬送され、図示しない回収手段によってトナー担持体101表面から回収される。回収されたトナーは再び記録剤収容部201に戻され、トナー供給ユニット100内を循環する。
なお、上記の説明では主に負帯電トナーを例にしているが、正帯電トナーを用いることもできる。
1…トナー担持体
2…クラウド電極手段
3…記録媒体手段
4…トナー制御手段
5…対向電極手段
41…トナー通過穴
42…制御電極
43…共通電極
100…トナー供給ユニット
101…トナー担持体
103…中間記録媒体
104…トナー制御手段
150…記録紙
301…マグブラシローラ(トナー担持体)
2…クラウド電極手段
3…記録媒体手段
4…トナー制御手段
5…対向電極手段
41…トナー通過穴
42…制御電極
43…共通電極
100…トナー供給ユニット
101…トナー担持体
103…中間記録媒体
104…トナー制御手段
150…記録紙
301…マグブラシローラ(トナー担持体)
Claims (14)
- トナーを担持するトナー担持体と、
前記トナーが付着させられる記録媒体手段と、
前記トナー担持体と前記記録媒体手段との間に配置され、複数のトナー通過穴を有するトナー制御手段と、
前記トナー担持体と前記トナー制御手段の間に配置されたクラウド電極手段と、を備え、
前記トナー担持体と前記クラウド電極手段の間に、前記トナー担持体から前記クラウド電極手段側に前記トナーが移動する力が作用する電界とその逆方向の力が作用する電界が時間的に変化するACバイアスが印加され、
前記トナー制御手段は、前記トナー担持体側表面に、前記トナー通過穴の周囲及び穴内壁の少なくともいずれかに前記トナーの通過を制御する制御電極が設けられ、この制御電極の外側に複数の前記トナー通過穴に共通の共通電極が設けられ、
前記トナー制御手段の前記トナー通過穴を前記トナー担持体の前記トナーが前記記録媒体手段に向かって通過可能な状態にするとき、前記記録媒体手段側と前記トナー制御手段の前記共通電極との間に前記制御電極を迂回してループ状に電気力線が形成される
ことを特徴とする画像形成装置。 - 請求項1に記載の画像形成装置において、
前記トナー担持体と前記クラウド電極手段の間に平均電位Vsの前記ACバイアスを印加し、
前記トナー制御手段の制御電極に対し前記トナーが前記トナー通過穴を通過可能な状態にするときに電圧Vc-onを、前記トナーが前記トナー通過穴を通過不可能な状態にするときに電圧Vc-offを印加し、前記共通電極に電圧Vgを印加し、
前記トナー制御手段を通過したトナーを前記記録媒体手段に導いてトナーを付着させるために前記記録媒体手段側にバイアス電圧Vpを印加するとき、
前記トナーを通過可能な状態にするときの各電位の関係は、
Vp>Vc-on>Vs>Vg
であって、前記トナーが負帯電トナーの場合は前記バイアス電圧Vpがプラス電位側に高くなる関係、正帯電トナーの場合は前記バイアス電圧Vpがマイナス電位側に高くなる設定であることを特徴とする画像形成装置。 - 請求項2に記載の画像形成装置において、前記トナーが前記トナー通過穴を通過不可能な状態にするときの各電位の関係は、
Vs>Vg であり、且つ、Vs>Vc-off
であって、前記トナーが負帯電トナーの場合は前記平均電位Vsがプラス電位側に高くなる関係、正帯電トナーの場合は前記平均電位Vsがマイナス電位側に高くなる設定であることを特徴とする画像形成装置。 - 請求項1に記載の画像形成装置において、
前記トナー担持体と前記クラウド電極手段の間に平均電位Vsの前記ACバイアスを印加し、
前記トナー制御手段の制御電極に対し前記トナーが前記トナー通過穴を通過可能な状態にするときに電圧Vc-onを、前記トナーが前記トナー通過穴を通過不可能な状態にするときに電圧Vc-offを印加し、前記共通電極に電圧Vgを印加し、
前記トナー制御手段を通過したトナーを前記記録媒体手段側に導いてトナーを付着させるために前記記録媒体手段側にバイアス電圧Vpを印加するとき、
前記トナー担持体の表面及び前記クラウド電極の周囲に前記トナーが存在している状態で、前記トナー制御手段の制御電極側から前記トナー担持体側を見たときの前記トナーによる電位をVtとすると、
前記トナーが前記トナー通過穴を通過可能な状態にするときの各電位の関係は、
Vp>Vc-on>(Vs+Vt)>Vg
であって、前記トナーが負帯電トナーの場合は前記バイアス電圧Vpがプラス電位側に高くなる関係、正帯電トナーの場合は前記バイアス電圧Vpがマイナス電位側に高くなる設定であることを特徴とする画像形成装置。 - 請求項4に記載の画像形成装置において、前記トナーが前記トナー通過穴を通過不可能な状態にするときの各電位の関係は、
(Vs+Vt)>Vg であり、且つ、(Vs+Vt)>Vc-off
であって、前記トナーが負帯電トナーの場合は前記電位(Vs+Vt)がプラス電位側に高くなる関係、正帯電トナーの場合は前記電位(Vs+Vt)がマイナス電位側に高くなる設定であることを特徴とする画像形成装置。 - 請求項1ない5のいずれかに記載の画像形成装置において、前記クラウド電極手段がワイヤ部材であることを特徴とする画像形成装置。
- 請求項1ない6のいずれかに記載の画像形成装置において、前記トナー担持体が磁性キャリアとトナーからなる二成分現像剤を用いた磁気ブラシローラであり、磁気ブラシローラと前記クラウド電極手段の間に前記ACバイアスを印加してトナーのクラウドを行うことを特徴とする画像形成装置。
- 請求項1ないし6のいずれかに記載の画像形成装置において、前記トナー担持体がトナーを含む一成分現像剤を担持する一成分ローラであり、一成分ローラと前記クラウド電極手段の間に前記ACバイアスを印加してトナーのクラウドを行うことを特徴とする画像形成装置。
- 請求項1ないし6のいずれかに記載の画像形成装置において、前記トナー担持体が磁性キャリアとトナーからなる二成分現像剤を用いた磁気ブラシローラから供給されたトナー層を形成した中間ローラであり、前記中間ローラと前記クラウド電極手段の間に前記ACバイアスを印加してトナーのクラウドを行うことを特徴とする画像形成装置。
- 請求項1ないし8のいずれかに記載の画像形成装置において、前記トナー制御手段の共通電極は、前記制御電極の外側を、絶縁領域を介してリング状に囲む形状であることを特徴とする画像形成装置。
- 請求項1ないし8のいずれかに記載の画像形成装置において、前記トナー制御手段の共通電極は、前記制御電極の外側に絶縁領域を介してベタ状に設けられていることを特徴とする画像形成装置。
- 請求項1ないし10のいずれかに記載の画像形成装置において、前記記録媒体手段が記録紙であり、前記記録紙の背面に設けた電極手段にバイアス電圧が印加されることを特徴とする画像形成装置。
- 請求項1ないし10のいずれかに記載の画像形成装置において、前記記録媒体手段が中間転写媒体であり、前記中間転写媒体自体又は中間転写媒体の背面に設けた電極手段にバイアス電圧が印加されることを特徴とする画像形成装置。
- 請求項1ないし12のいずれかに記載の画像形成装置において、異なる色の前記トナーを重ねて前記記録媒体手段上にカラー画像を形成することを特徴とする画像形成装置。
Priority Applications (2)
| Application Number | Priority Date | Filing Date | Title |
|---|---|---|---|
| JP2008232873A JP5146209B2 (ja) | 2008-09-11 | 2008-09-11 | 画像形成装置 |
| US12/555,368 US8167410B2 (en) | 2008-09-11 | 2009-09-08 | Image forming apparatus |
Applications Claiming Priority (1)
| Application Number | Priority Date | Filing Date | Title |
|---|---|---|---|
| JP2008232873A JP5146209B2 (ja) | 2008-09-11 | 2008-09-11 | 画像形成装置 |
Publications (2)
| Publication Number | Publication Date |
|---|---|
| JP2010064364A true JP2010064364A (ja) | 2010-03-25 |
| JP5146209B2 JP5146209B2 (ja) | 2013-02-20 |
Family
ID=41799414
Family Applications (1)
| Application Number | Title | Priority Date | Filing Date |
|---|---|---|---|
| JP2008232873A Expired - Fee Related JP5146209B2 (ja) | 2008-09-11 | 2008-09-11 | 画像形成装置 |
Country Status (2)
| Country | Link |
|---|---|
| US (1) | US8167410B2 (ja) |
| JP (1) | JP5146209B2 (ja) |
Cited By (1)
| Publication number | Priority date | Publication date | Assignee | Title |
|---|---|---|---|---|
| CN113741161A (zh) * | 2020-05-29 | 2021-12-03 | 株式会社理光 | 调色剂补给装置及图像形成装置 |
Families Citing this family (3)
| Publication number | Priority date | Publication date | Assignee | Title |
|---|---|---|---|---|
| EP2099612B1 (en) * | 2006-12-26 | 2012-06-06 | Fujifilm Dimatix, Inc. | Printing system with conductive element |
| US9327526B2 (en) * | 2012-07-25 | 2016-05-03 | Xerox Corporation | Active biased electrodes for reducing electrostatic fields underneath print heads in an electrostatic media transport |
| US8947482B2 (en) * | 2013-03-15 | 2015-02-03 | Xerox Corporation | Active biased electrodes for reducing electrostatic fields underneath print heads in an electrostatic media transport |
Family Cites Families (19)
| Publication number | Priority date | Publication date | Assignee | Title |
|---|---|---|---|---|
| JPS57198470A (en) | 1981-06-01 | 1982-12-06 | Kinoshita Kenkyusho:Kk | Visualizing method for latent image |
| JPS59181370A (ja) | 1983-03-31 | 1984-10-15 | Toshiba Corp | 記録装置 |
| US4755837A (en) | 1986-11-03 | 1988-07-05 | Xerox Corporation | Direct electrostatic printing apparatus and printhead cleaning structure therefor |
| JPS63136058A (ja) | 1986-11-28 | 1988-06-08 | Fuji Xerox Co Ltd | 粉体画像記録装置 |
| JPH0252260A (ja) | 1988-08-16 | 1990-02-21 | Fuji Electric Co Ltd | ディジタル電力量積算器 |
| US4912489A (en) | 1988-12-27 | 1990-03-27 | Xerox Corporation | Direct electrostatic printing apparatus with toner supply-side control electrodes |
| JP3200455B2 (ja) | 1991-01-14 | 2001-08-20 | 沖電気工業株式会社 | 半導体記憶装置の製造方法 |
| JPH065396A (ja) | 1992-06-19 | 1994-01-14 | Ishikawajima Harima Heavy Ind Co Ltd | 粒子加速器における挿入光源 |
| US5965228A (en) * | 1995-09-01 | 1999-10-12 | Balzers Aktiengesellschaft | Information carrier, method for producing same |
| US5955228A (en) | 1996-03-14 | 1999-09-21 | Ricoh Company, Ltd | Method and apparatus for forming a powder image |
| US5984456A (en) | 1996-12-05 | 1999-11-16 | Array Printers Ab | Direct printing method utilizing dot deflection and a printhead structure for accomplishing the method |
| US6398345B1 (en) | 1997-09-30 | 2002-06-04 | Ricoh Co., Ltd. | Image forming method and an apparatus for the same, and a cleaning device |
| JPH11301014A (ja) | 1998-04-20 | 1999-11-02 | Ricoh Co Ltd | 画像形成方法及び画像形成装置 |
| JP2004333633A (ja) * | 2003-05-01 | 2004-11-25 | Pfu Ltd | 液体電子写真装置 |
| JP4413818B2 (ja) * | 2005-05-20 | 2010-02-10 | 株式会社リコー | 定着液及びトナーの定着装置 |
| JP4863946B2 (ja) * | 2007-07-19 | 2012-01-25 | 株式会社リコー | 交換ユニット、画像形成装置、および画像形成装置の交換ユニット取り付け方法 |
| JP2009039948A (ja) | 2007-08-09 | 2009-02-26 | Ricoh Co Ltd | 画像形成装置 |
| JP2009042500A (ja) | 2007-08-09 | 2009-02-26 | Ricoh Co Ltd | 画像形成装置 |
| US7821527B2 (en) | 2007-08-09 | 2010-10-26 | Ricoh Company, Ltd. | Image forming apparatus |
-
2008
- 2008-09-11 JP JP2008232873A patent/JP5146209B2/ja not_active Expired - Fee Related
-
2009
- 2009-09-08 US US12/555,368 patent/US8167410B2/en not_active Expired - Fee Related
Cited By (2)
| Publication number | Priority date | Publication date | Assignee | Title |
|---|---|---|---|---|
| CN113741161A (zh) * | 2020-05-29 | 2021-12-03 | 株式会社理光 | 调色剂补给装置及图像形成装置 |
| CN113741161B (zh) * | 2020-05-29 | 2024-04-19 | 株式会社理光 | 调色剂补给装置及图像形成装置 |
Also Published As
| Publication number | Publication date |
|---|---|
| US8167410B2 (en) | 2012-05-01 |
| JP5146209B2 (ja) | 2013-02-20 |
| US20100061751A1 (en) | 2010-03-11 |
Similar Documents
| Publication | Publication Date | Title |
|---|---|---|
| US7024142B2 (en) | Developing apparatus, developing method, image forming apparatus, image forming method and cartridge thereof | |
| JP2002341656A (ja) | 静電搬送装置、現像装置及び画像形成装置 | |
| US8259142B2 (en) | Image forming apparatus with developer passage amount control electrodes | |
| JP2010026333A (ja) | 現像装置、画像形成装置、およびプロセスカートリッジ | |
| JP5146209B2 (ja) | 画像形成装置 | |
| JP2009039948A (ja) | 画像形成装置 | |
| JP2003287952A (ja) | 画像形成装置 | |
| JP2002307740A (ja) | 静電搬送装置、現像装置、画像形成装置及びトナー供給装置 | |
| JP2009042500A (ja) | 画像形成装置 | |
| US8600270B2 (en) | Developer transport substrate configuration for an image forming apparatus | |
| JP5096227B2 (ja) | 画像形成装置 | |
| JP5186847B2 (ja) | 画像形成装置 | |
| JP5262458B2 (ja) | 画像形成装置 | |
| JP2009042501A (ja) | 画像形成装置 | |
| JP2010120356A (ja) | 画像形成装置 | |
| JP5376301B2 (ja) | 画像形成装置 | |
| JP5343462B2 (ja) | 画像形成装置 | |
| US8086149B2 (en) | Image forming apparatus | |
| JP5218898B2 (ja) | 画像形成装置 | |
| JP5146206B2 (ja) | 画像形成装置 | |
| JP5333904B2 (ja) | 画像形成装置 | |
| JP2010208238A (ja) | 画像形成装置 | |
| JP5407243B2 (ja) | 画像形成装置 | |
| JP2000122429A (ja) | 画像形成装置および画像形成方法 | |
| JP2010179559A (ja) | 画像形成装置 |
Legal Events
| Date | Code | Title | Description |
|---|---|---|---|
| A621 | Written request for application examination |
Free format text: JAPANESE INTERMEDIATE CODE: A621 Effective date: 20110701 |
|
| TRDD | Decision of grant or rejection written | ||
| A01 | Written decision to grant a patent or to grant a registration (utility model) |
Free format text: JAPANESE INTERMEDIATE CODE: A01 Effective date: 20121030 |
|
| A61 | First payment of annual fees (during grant procedure) |
Free format text: JAPANESE INTERMEDIATE CODE: A61 Effective date: 20121112 |
|
| FPAY | Renewal fee payment (event date is renewal date of database) |
Free format text: PAYMENT UNTIL: 20151207 Year of fee payment: 3 |
|
| LAPS | Cancellation because of no payment of annual fees |