JP2010064260A - 液体吐出ヘッド及びその製造方法、画像形成装置 - Google Patents

液体吐出ヘッド及びその製造方法、画像形成装置 Download PDF

Info

Publication number
JP2010064260A
JP2010064260A JP2008229926A JP2008229926A JP2010064260A JP 2010064260 A JP2010064260 A JP 2010064260A JP 2008229926 A JP2008229926 A JP 2008229926A JP 2008229926 A JP2008229926 A JP 2008229926A JP 2010064260 A JP2010064260 A JP 2010064260A
Authority
JP
Japan
Prior art keywords
metal layer
resin layer
diaphragm
resin
liquid
Prior art date
Legal status (The legal status is an assumption and is not a legal conclusion. Google has not performed a legal analysis and makes no representation as to the accuracy of the status listed.)
Granted
Application number
JP2008229926A
Other languages
English (en)
Other versions
JP5327435B2 (ja
Inventor
Yoshiori Fujii
佳織 藤井
Current Assignee (The listed assignees may be inaccurate. Google has not performed a legal analysis and makes no representation or warranty as to the accuracy of the list.)
Ricoh Co Ltd
Original Assignee
Ricoh Co Ltd
Priority date (The priority date is an assumption and is not a legal conclusion. Google has not performed a legal analysis and makes no representation as to the accuracy of the date listed.)
Filing date
Publication date
Application filed by Ricoh Co Ltd filed Critical Ricoh Co Ltd
Priority to JP2008229926A priority Critical patent/JP5327435B2/ja
Publication of JP2010064260A publication Critical patent/JP2010064260A/ja
Application granted granted Critical
Publication of JP5327435B2 publication Critical patent/JP5327435B2/ja
Expired - Fee Related legal-status Critical Current
Anticipated expiration legal-status Critical

Links

Images

Landscapes

  • Particle Formation And Scattering Control In Inkjet Printers (AREA)

Abstract

【課題】樹脂層及び金属層からなる振動板部材を使用する液体吐出ヘッドにおいて、滴吐出特性のバラツキを低減することができる液体吐出ヘッドの提供。
【解決手段】振動板部材2は、振動板領域2Aを形成する樹脂層22上に島状凸部2Bなどを形成する金属層21を析出させ、金属層21をエッチングして島状凸部2Bを形成したものであり金属層21は、樹脂層22側と反対側の面(金属層21の表面)側の結晶粒の大きさ(結晶粒径a)が、樹脂層22側の面(金属層21の樹脂層界面)側の結晶粒の大きさ(結晶粒径b)よりも大きく(a>bの関係に)形成されている。
【選択図】図2

Description

本発明は、液体吐出ヘッド及びその製造方法、画像形成装置に関する。
プリンタ、ファクシミリ、複写装置、プロッタ、これらの複合機等の画像形成装置として、例えばインク液滴を吐出する記録ヘッドを用いた液体吐出記録方式の画像形成装置としてインクジェット記録装置などが知られている。この液体吐出記録方式の画像形成装置は、記録ヘッドからインク滴を、搬送される用紙(紙に限定するものではなく、OHPなどを含み、インク滴、その他の液体などが付着可能なものの意味であり、被記録媒体あるいは記録媒体、記録紙、記録用紙などとも称される。)に対して吐出して、画像形成(記録、印字、印写、印刷も同義語で使用する。)を行なうものであり、記録ヘッドが主走査方向に移動しながら液滴を吐出して画像を形成するシリアル型画像形成装置と、記録ヘッドが移動しない状態で液滴を吐出して画像を形成するライン型ヘッドを用いるライン型画像形成装置がある。
なお、本願において、「画像形成装置」は、紙、糸、繊維、布帛、皮革、金属、プラスチック、ガラス、木材、セラミックス等の媒体に液体を吐出して画像形成を行う装置を意味し、また、「画像形成」とは、文字や図形等の意味を持つ画像を媒体に対して付与することだけでなく、パターン等の意味を持たない画像を媒体に付与すること(単に液滴を媒体に着弾させること)をも意味する。また、「インク」とは、インクと称されるものに限らず、記録液、定着処理液、液体などと称されるものなど、画像形成を行うことができるすべての液体の総称として用い、例えば、DNA試料、レジスト、パターン材料なども含まれる。
液体吐出ヘッドとしては、インク滴を吐出する複数の並列されたノズルに個別に対応して配置された複数の個別流路(液室、加圧液室、圧力室などともいう。)内のインクを加圧する圧力を発生するための圧力発生手段(アクチュエータ手段)として圧電素子(本願では「圧電素子」の用語は電気機械変換素子の総称として用いる。)などで構成される圧電アクチュエータを用いたもの、静電力を発生する静電アクチュエータを用いたものなどが知られている。
このような圧電アクチュエータや静電アクチュエータを用いる液体吐出ヘッドにおいては、液室の壁面を形成する変形可能な振動板領域を構成する振動板部材(単に振動板とも称される。)を用いて、例えば圧電アクチュエータを使用する場合、振動板領域に形成される島状凸部(アイランド部とも称される。)に圧電素子を接合して構成される。
従来、振動板部材としては、特許文献1に記載されているように、高分子延伸フィルムに金属層を析出させアイランド部を形成したものが知られている。また、特許文献2に記載されているように、SUS板上に熱硬化性及び熱可塑性ポリイミドを直接成膜したものが知られている。なお、樹脂から構成される振動板部材については特許文献3などにも記載されている。
特開平7−276627号公報 特開平11−198368号公報 特開2007−144891号公報
上述した特許文献1に記載のものにあっては、例えば図15(a)に示すように、樹脂層501に金属密着層(導電性膜)502を成膜後、フォトレジストによるマスクパターン503を形成した後、同図(b)に示すように、金属層504を電析によって形成し、その後レジストによるマスクパターンを除去することで、金属層504からなるアイランド部505を形成する。
しかしながら、電析によってアイランド部を形成する金属層を形成する場合、パターン形状や配置、近傍のパターンの有無により、電流密度が異なり、析出する金属層の厚みが不均一となる。そのため、1個のアイランド部内の高さ分布や、アイランド部同士の高低差が発生し、アイランド部の高さによっては十分な吐出速度、吐出量が得られない、また、アイランド部の高さの僅かなばらつきで、圧電素子の変位量の伝達効率が変化し、滴吐出特性にばらつきが生じてしまうという課題がある。
また、特許文献2に記載されているものにあっては、例えば図16(a)に示すように、予め均一な厚さに加工されたSUS板514に樹脂層511を形成し、その後、同図(b)に示すように、ウエットエッチングでSUS板514を除去してアイランド部515を形成する。
この構成によれば、特許文献1の構成のように、アイランド部の高さ精度に関わる問題は解決されるが、高密度化したパターンをエッチング加工で形成する場合、結晶粒径が不均一で、不純物や添加物が多い金属では、アイランド部の寸法精度が不十分であり、振動領域の幅、面積にばらつきが生じる。この振動領域の幅、面積のばらつきにより、アイランド部の高さのバラツキと同様に、圧電素子の変位が効率的に液室に伝達されずに滴吐出特性が低下したり、滴吐出特性が液室間(ノズル間)でばらつくことになるという課題がある。
本発明は上記の課題に鑑みてなされたものであり、樹脂層及び金属層からなる振動板部材を使用する場合の滴吐出特性のバラツキを低減することを目的とする。
上記の課題を解決するため、本発明に係る液体吐出ヘッドは、
液滴を吐出するノズルが連通する液室の少なくとも1つの壁面を形成する振動板領域を有する振動板部材と、
前記振動板部材の振動板領域を変形変位させるアクチュエータ手段と、を備え、
前記振動板部材は、少なくとも樹脂層と金属層とからなり、前記金属層は前記樹脂層側と反対側の結晶粒の大きさが、前記樹脂層側の結晶粒の大きさよりも大きく形成され、
前記振動板部材の前記金属層の前記樹脂層側と反対側に前記アクチュエータ手段が配置されている
構成とした。
ここで、前記振動板部材の金属層が銅である構成とできる。
また、前記振動板部材の金属層における樹脂層側の面と樹脂層側と反対側の面の結晶構造比が、
Ia(111):金属層の樹脂層側面の(111)面の回折ピーク強度、
Ia(100):金属層の樹脂層側面の(100)面の回折ピーク強度、
Ib(111):金属層の樹脂層側と反対側の面の(111)面の回折ピーク強度、
Ib(100):金属層の樹脂層側と反対側の面の(100)面の回折ピーク強度
としたとき、Ia(111)/Ia(100)>Ib(111)/Ib(100)の関係にある構成とできる。
また、前記振動板部材は、前記金属層に樹脂材料が直接塗布されて前記樹脂層が形成されている構成とできる。
また、前記振動板部材は、前記樹脂層に導電性材料の薄膜を介して前記金属層が設けられている構成とできる。
また、前記振動板領域は、前記樹脂層で形成される変形可能領域と、前記金属層で形成される前記変形可能領域に設けられた島状凸部とを有し、前記島状凸部で圧電素子が接合されている構成とできる。
本発明に係る液体吐出ヘッドの製造方法は、
前記樹脂層となる樹脂部材上に導電性を有する膜を形成する工程と、
前記導電性を有する膜上に、前記樹脂層側と反対側の結晶粒の大きさが、前記樹脂層側の結晶粒の大きさよりも大きく形成される前記金属層を電析して形成する工程と、
前記金属層上に前記金属層を残す部分をマスキングする工程と、
前記金属層をエッチングで除去して前記樹脂層からなる変形可能領域と島状凸部とを形成する工程と、を
順次行う構成とした。
本発明に係る画像形成装置は、本発明に係る液体吐出ヘッドを備えている構成とした。
本発明に係る液体吐出ヘッドによれば、振動板部材は、少なくとも樹脂層と金属層とからなり、金属層は樹脂層側と反対側の結晶粒の大きさが、樹脂層側の結晶粒の大きさよりも大きく形成されているので、前記金属層をエッチングするときに、エッチング開始側でのエッチングレートが大きくなって等方性傾向を抑えられ、エッチング終了側では高精度に微細加工されるので、金属層で例えば島状凸部を形成するときの島状凸部の幅、面積、高さのバラツキが低減して、滴吐出特性のバラツキが低減する。
本発明に係る液体吐出ヘッドの製造方法によれば、樹脂層となる樹脂部材上に導電性を有する膜を形成し、この導電性を有する膜上に、樹脂層側と反対側の結晶粒の大きさが、樹脂層側の結晶粒の大きさよりも大きく形成される金属層を電析して形成し、金属層をエッチングで除去して樹脂層からなる変形可能領域と島状凸部とを形成するので、島状凸部を形成するときの島状凸部の幅、面積、高さのバラツキが低減して、滴吐出特性のバラツキが低減した液体吐出ヘッドが得られる。
本発明に係る画像形成装置によれば、本発明に係る液体吐出ヘッドを備えている構成としたので、高品質画像の形成を行うことができる。
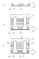
以下、本発明の実施形態について添付図面を参照して説明する。本発明に係る液体吐出ヘッドの一例について図1ないし図5を参照して説明する。なお、図1は同液体吐出ヘッドの外観斜視説明図、図2は同じく図1のA−A線に沿う液室長手方向(液室の並び方向と直交する方向)に沿う断面説明図、図3は同じく液室短手方向(液室の並び方向)に沿う断面説明図、図4は図3の1つの加圧液室部分の拡大断面説明図、図5は液室部分の要部平面説明図である。
この液体吐出ヘッドは、SUS基板で形成した流路基板(液室基板、流路部材)1と、この流路基板1の下面に接合した振動板部材2と、流路基板1の上面に接合したノズル板3とを有し、これらによって液滴(液体の滴)を吐出するノズル4が連通する個別流路としての液室(以下「加圧液室」というが、圧力室、加圧室、流路などとも称される。)6、加圧液室6に液体であるインク(記録液)を供給する供給路を兼ねた流体抵抗部7、複数の加圧液室6に記録液を供給する共通液室8を形成している。なお、共通液室8には図示しないインクタンクから供給路を介して記録液が供給される。
ここで、流路基板1は、リストリクタプレート1Aとチャンバーブレート1Bとを接着して構成している。この流路基板1は、SUS基板を、酸性エッチング液を用いてエッチング、あるいは打ち抜き(プレス)などの機械加工することで、各加圧液室6、流体抵抗部7、共通液室8などの開口をそれぞれ形成している。なお、流体抵抗部7は、リストリクタプレート1Aの部分を開口し、チャンバーブレート1Bの部分を開口しないことで形成している。
振動板部材2は、流路基板1を構成するチャンバーブレート1Bに接着接合している。この振動板部材2は、樹脂層22に金属層21を析出させたものであり、金属層21は、樹脂層22側と反対側の面(これを「金属層21の表面」という。)側の結晶粒の大きさ(結晶粒径a)が、樹脂層22側の面(これを「金属層21の樹脂層界面」という。)側の結晶粒の大きさ(結晶粒径b)よりも大きく(a<bの関係に)形成されている。
また、樹脂層22で液室6の壁面となる変形可能な部分(振動板領域)2Aを形成し、この振動板領域2Aの液室6と反対側には金属層21からなる島状の突起部(以下「島状凸部」ともいう。)2Bを形成している。ここで、島状凸部2Bの樹脂層22との界面側の加工精度が滴吐出性能に大きく影響する。ここでは、金属層22の露出側にエッチングマスクを形成して、金属層22をエッチングすることで島状凸部2Bを形成している。
この場合、上述したように、金属層21は、表面側の結晶粒の大きさ(結晶粒径a)が、樹脂層界面側の結晶粒の大きさ(結晶粒径b)よりも大きく(a<bの関係に)形成されているので、金属層22の表面(エッチング開始面)は結晶粒が大きく単位体積当たりの結晶粒界が少ないことで、エッチングレートが大きくなり処理スピードが樹脂層界面側より速く、等方性傾向(深さ方向と直交する方向にエッチングが進む傾向)が抑えられ、島状凸部2Bが断面形状でテーパ形状になることが抑制され、一方、加工精度を要求される樹脂層界面側及びその近傍では結晶粒が小さく徐々にエッチングが進み、高精度の微細加工を行うことができる。これにより、精度の良い島状凸部2Bが形成されている。
樹脂層22の材質としては、ポリイミド(PI)、ポリアミドイミド(PAI)、PPS(ポリフェニレンサルファイド)、ポリエチレンテレフタレート(PET)、ポリエチレンナフタレート(PEN)などを挙げることができる。これらは、延伸フィルムとして実用化されている。
また、金属層21としては、ニッケル、クロム、銅等が挙げられるが、樹脂層22との密着性から銅又はクロムが特に好ましい。本実施形態では、樹脂層22としてポリイミド、金属層21として銅を用いた。
なお、上述したように流体抵抗部7の振動板部材2側のチャンバーブレート1Bを振動板部材2の樹脂層22と接合することで、振動板部材2の薄いポリイミドなどの樹脂層22を介して加圧液室6内の圧力が外部に逃げることを防ぎ、効率的に液滴を吐出することが可能になる。
ノズル板3は、各加圧液室6に対応して直径10〜30μmの多数のノズル4を形成し、流路基板1のリストリクタプレート1Aに接着剤接合している。このノズル板3としては、ステンレス、ニッケルなどの金属、ポリイミド樹脂フィルムなどの樹脂、シリコン、及びそれらの組み合わせからなるものを用いることができる。また、ノズル面(吐出方向の表面:吐出面)には、インクとの撥水性を確保するため、メッキ被膜、あるいは撥水剤コーティングなどの周知の方法で撥水膜を形成している。
そして、振動板部材2の面外側(加圧液室6と反対面側)にアクチュエータ手段としての圧電型アクチュエータ10を配置している。この圧電型アクチュエータ10は、複数の圧電素子部材12と、1列の各圧電素子部材12に給電するフレキシブル配線基板、例えばFPC13とを備え、複数個の圧電素子部材12は共通のベース部材14に列状に並べて接合配置されている。
圧電素子部材12は、分断することのないスリット加工(溝加工)を施すなどして複数の圧電素子柱11を、スリット溝15を介して、所定のピッチで形成し、隣り合う2つの圧電素子部材12の圧電素子柱11、11間の間隔20もスリット溝15の溝幅として配置している。そして、圧電素子部材12の各圧電素子柱11は、1つおきに駆動する圧電素子柱(駆動圧電素子柱)11Aと駆動しない圧電素子柱(非駆動圧電素子柱)11Bとして使用する。
圧電素子部材12は、図4に示すように、厚さ10〜50μm/1層のチタン酸ジルコン酸鉛(PZT)の圧電層121と、厚さ数μm/1層の銀・パラジューム(AgPd)からなる内部電極層122とを交互に積層したものであり、内部電極122を交互に端面の端面電極(外部電極)である図示しない個別電極及び共通電極にそれぞれ電気的に接続したものである。ここでは、圧電定数がd33(d33は内部電極面に垂直(厚み方向)の伸び縮みを指す。)である圧電素子部材12(駆動圧電素子柱11A)の伸縮により振動板領域2Aを変位させて液室6を収縮、膨張させるようになっている。駆動圧電素子柱11Aに駆動信号が印加され充電が行われると伸長し、また駆動圧電素子柱11Aに充電された電荷が放電すると反対方向に収縮する。
なお、圧電素子部材12の圧電方向としてd33方向の変位を用いて加圧液室6内インクを加圧する構成とすることも、圧電素子部材12の圧電方向としてd31方向の変位を用いて加圧液室6内インクを加圧する構成とすることもできる。本実施形態ではd33方向の変位を用いた構成をとっている。
この圧電型アクチュエータ10の駆動圧電素子柱11Aは振動板部材2の島状凸部2Bに接着剤接合し、非駆動圧電素子柱11Bは液室間隔壁部6Aに対応する厚肉部2Dに接着剤接合している。
さらに、振動板部材2の周囲にはフレーム部材17を接着剤で接合している。そして、このフレーム部材17には、振動板部材2の樹脂層22で構成した変形可能な部分としてのダイアフラム部2Cを介して共通液室8に隣接するバッファ室18を形成している。ダイアフラム部2Cは共通液室8及びバッファ室18の壁面を形成する。なお、バッファ室18は連通路19を介して大気と連通させている。
また、この液体吐出ヘッドでは、圧電素子部材12の圧電素子柱11A、11Bは300dpiの間隔で形成し、それが対向して2列に並んでいる構成としている。また、加圧液室6及びノズル4は1列150dpiの間隔で2列を千鳥状に並べて配置しており、300dpiの解像度を1スキャンで得ることができる。
このように構成した液体吐出ヘッドにおいては、例えば圧電素子部材12の駆動圧電素子柱11Aに印加する電圧を基準電位から下げることによって駆動圧電素子柱11Aが収縮し、振動板部材2の振動板領域2Aが下降して加圧液室6の容積が膨張することで、加圧液室6内にインクが流入し、その後駆動圧電素子柱11Aに印加する電圧を上げて駆動圧電素子柱11Aを積層方向に伸長させ、振動板領域2Aをノズル4方向に変形させて加圧液室6の容積/体積を収縮させることにより、加圧液室6内のインクが加圧され、ノズル4からインク液の滴が吐出(噴射)される。
そして、駆動圧電素子柱11Aに印加する電圧を基準電位に戻すことによって振動板領域2Aが初期位置に復元し、加圧液室6が膨張して負圧が発生するので、このとき、共通液室8から加圧液室6内にインクが充填される。そこで、ノズル4のメニスカス面の振動が減衰して安定した後、次の液滴吐出のための動作に移行する。
なお、このヘッドの駆動方法については上記の例(引き−押し打ち)に限るものではなく、駆動波形の与えた方によって引き打ちや押し打ちなどを行うこともできる。
次に、この液体吐出ヘッドにおける振動板部材2の詳細について説明する。
振動板部材2は、ポリイミド(PI)などの樹脂層(部材)22に、電析するためのシード層(導電性薄膜)を成膜し、金属層21として銅を析出して形成したものである。前述したように、金属層22の結晶粒の大きさは、表面側の結晶粒の大きさ(結晶粒径a)が、樹脂層界面側の結晶粒の大きさ(結晶粒径b)よりも大きい関係(a<bの関係)にある。
この場合、上述したように金属層22を銅で形成したとき、銅の結晶構造が体面立法格子であり、すべり面は(111)面となることから、緻密な結晶粒構成とするためには(111)面の成長が有効であり、逆に銅の析出効率を優先し、結晶粒を大きくさせる意味では(100)面の成長が有効といえる。
以上のことから、Ia(111):振動板部材の金属層樹脂界面の(111)面の回折ピーク強度、Ia(100):振動板部材の金属層樹脂界面の(100)面の回折ピーク強度、Ib(111):振動板部材の金属層表面の(111)面の回折ピーク強度、Ib(100):振動板部材の金属層表面の(100)面の回折ピーク強度、とするとき、X線回折スペクトルの回折ピーク強度においてIa(111)/Ia(100)>Ib(111)/Ib(100)の関係にあることが好ましい。
そして、金属層21をエッチングして樹脂層22で形成される振動板領域(変形可能な領域)2Aに対応して島状凸部2Bを形成し(振動板領域2Aのうちの島状凸部2B以外の部分を除去し)、また、樹脂層22で形成されるダイアフラム部2Cに対応する部分を除去し、更に、流路基板1の液室間隔壁部6Aに対応して厚肉部2Dを形成している。
この振動板部材2の樹脂層22には流路基板1の液室間隔壁部6Aを接着剤31で接合し、また、島状凸部2Bには駆動圧電素子柱11Aを接着剤32で接合し、液室間隔壁部6Aに対応する厚肉部2Dには支柱部となる支柱圧電素子柱11Bを接着剤32で接合している。
このように、振動板部材2は、金属層21上に、この金属層21の線膨張係数よりも大きな線膨張係数を持つ振動板領域2Aを形成する樹脂層22を有しているので、樹脂層22をワニス工法で形成した場合でも、樹脂層22の収縮量が金属層21よりも大きく、樹脂層22の皺の発生が低減し、これによりノズル間での液滴吐出特性のバラツキが低減する。
つまり、図5に示すように、振動板領域2Aに島状凸部2Bを設ける場合、液室の並び方向で、島状凸部2Bによって液室並び方向(チャンネルの並び方向、ノズルの並び方向も同義語である。)の幅L2となる樹脂層22の部分(樹脂層単層領域)2Abよりも、島状凸部2Bがなく幅L1(L1>L2)となる樹脂層22の部分(振動板領域2Aの幅方向全域に亘り樹脂層22のみで形成される部分:これを「樹脂層単層領域」という。)2Aaで皺が発生し易くなるが、この樹脂層単層領域2Aaで樹脂層22の皺が発生すると、液室6内に対する圧電素子12の変位伝達効率が変動し、その結果、ノズル間で液滴吐出特性にバラツキが生じることになる。これに対して、本実施形態の振動板部材2では樹脂層22の単層領域での皺の発生が抑制されることで滴吐出特性のバラツキが抑制される。
このように、振動板領域にはこの振動板領域の幅方向全域に亘り樹脂層のみで形成される部分がある構成とすることで、圧電素子の変位を、効率的に突起部(島状凸部)を介して振動板領域に伝達できるとともに、振動板領域となる樹脂層の皺の発生が抑制されることで滴吐出特性のバラツキが抑制される。
次に、本発明に係る液体吐出ヘッドの製造方法を適用した振動板部材2の製造方法について図6ないし図8を参照して説明する。
先ず、図6を参照して金属層21と樹脂層22とが積層された部材50の製造工程について説明する。図6(a)に示すように、樹脂層22として洗浄等の前処理により表面が活性化された例えばポリイミドシートを準備する。樹脂層22としては、ポリイミド以外にもPPS(ポリフェニレンサルファイド)、ポリアミドイミド(PAI)、ポリエチレンテレフタレート(PET)、ポリエチレンナフタレート(PEN)を用いることができる。
続いて、図6(b)に示すように、洗浄を行い表面を活性化させた樹脂層22(PI)上に、シード層となる金属薄膜(導電性薄膜)21aを成膜する。成膜方法としては、蒸着、スパッタリング、CVD等の周知の工法を用いることができる。そして、図6(c)に示すように、シード層21aを設けた樹脂層22に対し、電流密度3A/dmの条件で、銅の電析を開始し、段階的に電流密度を大きくし、最終的に10A/dmとした。
これによって、接着力に優れ、結晶粒の大きさが樹脂層界面に近いほど小さくなる金属層22(銅薄膜)を有する積層部材50が得られる。
なお、樹脂層22となるPIとしては膜厚6μmのものを用いた。好ましい樹脂層22の膜厚は3〜7μmの範囲でより高い滴吐出特性が得られる。また、樹脂層22の膜厚のばらつきは0.5μm以下にすることが好ましい。一方、金属層21としては電析膜厚20μmとした。島状凸部2B間の加工を考慮して膜厚は決められるが、膜厚は薄いほうがエッチング加工性の面では良い。ただし、金属層21の膜厚が薄くなりすぎると、樹脂層22と金属層21との積層部材のコシが弱くなり、エッチング加工作業性、部材組立性の点で不利になるため、金属層21の膜厚は10〜25μm程度が好ましい。
次に、金属層21と樹脂層22とが接合された部材50の金属層21をエッチングして所要の振動板部材2とする製造工程について図7及び図8を参照して説明する。なお、図8ではシード層23の図示を省略している。
まず、図7(a)に示すように、上述した工程で得られた金属層21と樹脂層22の積層部材50を準備する。そして、図7(b)に示すように、金属層21の露出側に所望のパターンでエッチングマスク24を形成する。エッチングマスクであるレジストとの密着性強化のため、レジストを塗布する前に、アルゴンや窒素などの不活性ガス中でプラズマ処理をすることで密着性を上げることができる。また、塩酸等を用いた薬液処理でも密着性向上を図れる。
次いで、図7(c)に示すように、マスキングされた金属層21に対して塩化第二鉄を主成分とするエッチャントを接触させてエッチングし、島状凸部2B、厚肉部2Dなどを形成した後、エッチングマスク24を除去して、振動板部材2を完成する。なお、図8では図7(c)のエッチングとマスク除去を分けて図示している。
以上の工法を用いることで、突起部(島状凸部2B)になるところが金属層21の加工時にマスキングされるので、金属層21の厚さを維持することができるため、突起部(島状凸部2B)の高さばらつきは金属層21の膜厚となり、高さ管理が容易である。高さばらつきが小さく、高さ管理がされた突起部(島状凸部2B)に対して、圧電素子部材12を接合することから、金属層21と圧電素子部材12との接着強度ばらつきが抑制され、圧電素子部材12(駆動圧電素子柱11A)の変位を、効率よく、ばらつきが小さく、振動板領域2Aに伝達することができるようになり、ノズル毎の滴吐出特性のバラツキを低減して安定にできる。
ここで、前記の条件で作成した振動板部材2における金属層21の加工精度について図9を参照して説明する。比較例は、実施例と同様の樹脂層22上に板厚20μmのSUS304H−TAを、接着剤を用いて貼り付けたものである。準備した比較例及び実施例の振動板部材にフォトリソ工程により溝幅が35μmとなるようなL/S(幅/高さ)に応じたレジストパターンを形成して、これを、塩化第二鉄を主成分とするエッチャントを接触させてエッチングし、84.7μmピッチの凸形状を金属層に形成し、加工状態を確認した。
図9に示すように、溝加工精度は、実施例が比較例に対して、3σで1/3に向上した。また、エッチング開始の金属層表面とエッチング終了の樹脂層界面との溝幅の差について、顕微鏡で確認したところ、比較例の部材では大きく傾斜がついているのに対し、実施例の部材ではほとんど傾斜が発生していなかった。
次に、振動板部材2と圧電素子部材12とを接合した部材の接合工程(圧電アクチュエータ10の製造工程)について図10を参照して説明する。
ここでは、図10(a)に示すように、樹脂層22と金属層21で形成されている島状凸部(突起部)2Bを有する振動板部材2(ここでは、図8の例で図示する。)を準備する。
また、図10(b)に示すように、圧電定数がd33である圧電素子部材12を準備する。圧電定数がd33である圧電素子部材12は、前述したように、厚さ10〜50μm/1層のチタン酸ジルコン酸鉛(PZT)の圧電層121と、厚さ数μm/1層の銀・パラジューム(AgPd)からなる内部電極層122とを交互に積層したものであり、内部電極122を交互に端面の端面電極(外部電極)である個別電極(図示せず)、共通電極(図示せず)に電気的に接続したものである。
そして、図10(c)に示すように、振動板部材2の島状凸部2Bに圧電素子部材12の駆動圧電素子柱11Aを接着剤32で接合し、非駆動圧電素子柱11Bに厚肉部2Dを接着剤32で接合する。
以上の工法を用いることで、高さばらつきが小さく、高さ管理がされた島状凸部2Bに対して圧電素子部材12を取り付けられるため、金属層21と圧電素子12との接着強度ばらつきが抑制され、圧電素子部材12(駆動圧電素子柱11A)の変位を効率よく、ばらつきが小さく、振動板領域2Aに伝えることができるようになり、ノズル毎の吐出特性を安定にできる。また、島状凸部2Bと圧電素子部材12の駆動圧電素子柱11Aとの接合面における平面度が出やすく、高い接合信頼性が得られることから製造歩留まりを上げることができる。
次に、本発明に係る液体吐出ヘッドの他の例について図11を参照して説明する。なお、図11は同液体吐出ヘッドの斜視説明図である。
この液体吐出ヘッド90は、ノズル91を有する液体吐出ヘッド部92にインクを収容するインクタンク(サブタンク、バッファタンクやインクカートリッジなど)93を一体的に備えている。これにより、タンク一体化型液体吐出ヘッドを得ることができる。
次に、本発明に係る液体吐出ヘッドを備える画像形成装置の一例について図12及び図13を参照して説明する。なお、図12は同装置の機構部の全体構成を説明する概略構成図、図13は同機構部の要部平面説明図である。
この画像形成装置は、シリアル型画像形成装置であり、左右の側板201A、201Bに横架したガイド部材である主従のガイドロッド231、232でキャリッジ233を主走査方向に摺動自在に保持し、図示しない主走査モータによってタイミングベルトを介して矢示方向(キャリッジ主走査方向)に移動走査する。
このキャリッジ233には、イエロー(Y)、シアン(C)、マゼンタ(M)、ブラック(K)の各色のインク滴を吐出するための本発明に係る液体吐出ヘッドからなる記録ヘッド234a、234b(区別しないときは「記録ヘッド234」という。)を複数のノズルからなるノズル列を主走査方向と直交する副走査方向に配列し、インク滴吐出方向を下方に向けて装着している。
記録ヘッド234は、それぞれ2つのノズル列を有し、記録ヘッド234aの一方のノズル列はブラック(K)の液滴を、他方のノズル列はシアン(C)の液滴を、記録ヘッド234bの一方のノズル列はマゼンタ(M)の液滴を、他方のノズル列はイエロー(Y)の液滴を、それぞれ吐出する。
また、キャリッジ233には、記録ヘッド234のノズル列に対応して各色のインクを供給するためのヘッドタンク235a、235b(区別しないときは「ヘッドタンク35」という。)を搭載している。このサブタンク235には各色の供給チューブ36を介して、各色のインクカートリッジ210k、210c、210m、210yから各色のインクが補充供給される。
一方、給紙トレイ202の用紙積載部(圧板)241上に積載した用紙242を給紙するための給紙部として、用紙積載部241から用紙242を1枚ずつ分離給送する半月コロ(給紙コロ)243及び給紙コロ243に対向し、摩擦係数の大きな材質からなる分離パッド244を備え、この分離パッド244は給紙コロ243側に付勢されている。
そして、この給紙部から給紙された用紙242を記録ヘッド234の下方側に送り込むために、用紙242を案内するガイド部材245と、カウンタローラ246と、搬送ガイド部材247と、先端加圧コロ249を有する押さえ部材248とを備えるとともに、給送された用紙242を静電吸着して記録ヘッド234に対向する位置で搬送するための搬送手段である搬送ベルト251を備えている。
この搬送ベルト251は、無端状ベルトであり、搬送ローラ252とテンションローラ253との間に掛け渡されて、ベルト搬送方向(副走査方向)に周回するように構成している。また、この搬送ベルト251の表面を帯電させるための帯電手段である帯電ローラ256を備えている。この帯電ローラ256は、搬送ベルト251の表層に接触し、搬送ベルト251の回動に従動して回転するように配置されている。この搬送ベルト251は、図示しない副走査モータによってタイミングを介して搬送ローラ252が回転駆動されることによってベルト搬送方向に周回移動する。
さらに、記録ヘッド234で記録された用紙242を排紙するための排紙部として、搬送ベルト251から用紙242を分離するための分離爪261と、排紙ローラ262及び排紙コロ263とを備え、排紙ローラ262の下方に排紙トレイ203を備えている。
また、装置本体の背面部には両面ユニット271が着脱自在に装着されている。この両面ユニット271は搬送ベルト251の逆方向回転で戻される用紙242を取り込んで反転させて再度カウンタローラ246と搬送ベルト251との間に給紙する。また、この両面ユニット271の上面は手差しトレイ272としている。
さらに、キャリッジ233の走査方向一方側の非印字領域には、記録ヘッド234のノズルの状態を維持し、回復するための維持回復機構281を配置している。この維持回復機構281には、記録ヘッド234の各ノズル面をキャピングするための各キャップ部材(以下「キャップ」という。)282a、282b(区別しないときは「キャップ282」という。)と、ノズル面をワイピングするためのブレード部材であるワイパーブレード283と、増粘した記録液を排出するために記録に寄与しない液滴を吐出させる空吐出を行うときの液滴を受ける空吐出受け284などを備えている。
また、キャリッジ233の走査方向他方側の非印字領域には、記録中などに増粘した記録液を排出するために記録に寄与しない液滴を吐出させる空吐出を行うときの液滴を受ける液体回収容器であるインク回収ユニット(空吐出受け)288を配置し、このインク回収ユニット288には記録ヘッド234のノズル列方向に沿った開口部289などを備えている。
このように構成したこの画像形成装置においては、給紙トレイ202から用紙242が1枚ずつ分離給紙され、略鉛直上方に給紙された用紙242はガイド245で案内され、搬送ベルト251とカウンタローラ246との間に挟まれて搬送され、更に先端を搬送ガイド237で案内されて先端加圧コロ249で搬送ベルト251に押し付けられ、略90°搬送方向を転換される。
このとき、帯電ローラ256に対してプラス出力とマイナス出力とが交互に繰り返すように、つまり交番する電圧が印加され、搬送ベルト251が交番する帯電電圧パターン、すなわち、周回方向である副走査方向に、プラスとマイナスが所定の幅で帯状に交互に帯電されたものとなる。このプラス、マイナス交互に帯電した搬送ベルト251上に用紙242が給送されると、用紙242が搬送ベルト251に吸着され、搬送ベルト251の周回移動によって用紙242が副走査方向に搬送される。
そこで、キャリッジ233を移動させながら画像信号に応じて記録ヘッド234を駆動することにより、停止している用紙242にインク滴を吐出して1行分を記録し、用紙242を所定量搬送後、次の行の記録を行う。記録終了信号又は用紙242の後端が記録領域に到達した信号を受けることにより、記録動作を終了して、用紙242を排紙トレイ203に排紙する。
このように、この画像形成装置では、本発明に係る液体吐出ヘッドを備えているので、液滴吐出特性が安定し、安定して高画質画像を形成することができる。
次に、本発明に係る液体吐出ヘッドを備える本発明に係る画像形成装置の他の例について図14を参照して説明する。なお、図14は同装置の機構部全体の概略構成図である。
この画像形成装置は、ライン型画像形成装置であり、装置本体401の内部に画像形成部402等を有し、装置本体401の下方側に多数枚の記録媒体(用紙)403を積載可能な給紙トレイ404を備え、この給紙トレイ404から給紙される用紙403を取り込み、搬送機構405によって用紙403を搬送しながら画像形成部402によって所要の画像を記録した後、装置本体401の側方に装着された排紙トレイ406に用紙403を排紙する。
また、装置本体401に対して着脱可能な両面ユニット407を備え、両面印刷を行うときには、一面(表面)印刷終了後、搬送機構405によって用紙403を逆方向に搬送しながら両面ユニット407内に取り込み、反転させて他面(裏面)を印刷可能面として再度搬送機構405に送り込み、他面(裏面)印刷終了後排紙トレイ406に用紙403を排紙する。
ここで、画像形成部402は、例えばブラック(K)、シアン(C)、マゼンタ(M)、イエロー(Y)の各色の液滴を吐出する、フルライン型の4個の本発明に係る液体吐出ヘッドで構成した記録ヘッド411k、411c、411m、411y(色を区別しないときには「記録ヘッド411」という。)を備え、各記録ヘッド411は液滴を吐出するノズルを形成したノズル面を下方に向けてヘッドホルダ413に装着している。
また、各記録ヘッド411に対応してヘッドの性能を維持回復するための維持回復機構412k、412c、412m、412y(色を区別しないときには「維持回復機構412」という。)を備え、パージ処理、ワイピング処理などのヘッドの性能維持動作時には、記録ヘッド411と維持回復機構412とを相対的に移動させて、記録ヘッド411のノズル面に維持回復機構412を構成するキャッピング部材などを対向させる。
なお、ここでは、記録ヘッド411は、用紙搬送方向上流側から、イエロー、マゼンタ、シアン、ブラックの順に各色の液滴を吐出する配置としているが、配置及び色数はこれに限るものではない。また、ライン型ヘッドとしては、各色の液滴を吐出する複数のノズル列を所定間隔で設けた1又は複数のヘッドを用いることもできるし、ヘッドとこのヘッドにインクを供給するインクカートリッジを一体とすることも別体とすることもできる。
給紙トレイ404の用紙403は、給紙コロ(半月コロ)421と図示しない分離パッドによって1枚ずつ分離され装置本体401内に給紙され、搬送ガイド部材423のガイド面423aに沿ってレジストローラ425と搬送ベルト433との間に送り込まれ、所定のタイミングでガイド部材426を介して搬送機構405の搬送ベルト433に送り込まれる。
また、搬送ガイド部材443には両面ユニット407から送り出される用紙403を案内するガイド面423bも形成されている。更に、両面印刷時に搬送機構405から戻される用紙403を両面ユニット407に案内するガイド部材427も配置している。
搬送機構405は、駆動ローラである搬送ローラ431と従動ローラ432との間に掛け渡した無端状の搬送ベルト433と、この搬送ベルト433を帯電させるための帯電ローラ434と、画像形成部402に対向する部分で搬送ベルト433の平面性を維持するプラテン部材435と、搬送ベルト433から送り出す用紙403を搬送ローラ431側に押し付ける押さえコロ436と、その他図示しないが、搬送ベルト433に付着した記録液(インク)を除去するためのクリーニング手段である多孔質体などからなるクリーニングローラなどを有している。
この搬送機構405の下流側には、画像が記録された用紙403を排紙トレイ406に送り出すための排紙ローラ438及び拍車439を備えている。
このように構成した画像形成装置において、搬送ベルト433は矢示方向に周回移動し、高電位の印加電圧が印加される帯電ローラ434と接触することで正に帯電される。この場合、帯電ローラ434の帯電電圧は所定の時間間隔で極性を切り替えることによって、搬送ベルト433を所定の帯電ピッチで帯電させる。
ここで、この高電位に帯電した搬送ベルト433上に用紙403が給送されると、用紙403内部が分極状態になり、搬送ベルト433上の電荷と逆極性の電荷が用紙403の搬送ベルト433と接触している面に誘電され、搬送ベルト433上の電荷と搬送される用紙403上に誘電された電荷同士が互いに静電的に引っ張り合い、用紙403は搬送ベルト433に静電的に吸着される。このようにして、搬送ベルト433に強力に吸着した用紙403は反りや凹凸が校正され、高度に平らな面が形成される。
そして、搬送ベルト433を周回させて用紙403を移動させ、記録ヘッド411から液滴を吐出することで、用紙403上に所要の画像が形成され、画像が記録された用紙403は排紙ローラ438によって排紙トレイ406に排紙される。
このように、この画像形成装置では、本発明に係る液体吐出ヘッドを備えているので、液滴吐出特性が安定し、安定して高画質画像を形成することができる。
本発明に係る液体吐出ヘッドの一例を示す分解斜視図である。 同ヘッドの液室長手方向に沿う断面説明図である。 同ヘッドの液室短手方向に沿う断面説明図である。 同ヘッドの1つの加圧液室部分の拡大説明図である 同液室部分の要部平面説明図である。 本発明に係る液体吐出ヘッドの製造方法における金属層と樹脂層の積層部材の製造工程の説明に供する説明図である。 同じく振動板部材の製造工程の説明に供する説明図である。 同じく振動板部材の製造工程の説明に供する要部説明図である。 実施例と比較例におけるエッチング開始の金属層表面とエッチング終了の樹脂層界面との溝幅の差の実験結果の説明に供する説明図である。 圧電アクチュエータの製造工程の説明に供する断面説明図である。 本発明に係る液体吐出ヘッドの他の例を示す斜視説明図である。 本発明に係る液体吐出ヘッドを備える画像形成装置の一例の機構部の全体構成を説明する概略構成図である。 同機構部の要部平面説明図である。 本発明に係る液体吐出ヘッドを備える本発明に係る画像形成装置の他の例の機構部全体の概略構成図である。 従来の振動板部材の製造工程の一例の説明に供する説明図である。 従来の振動板部材の製造工程の他の例の説明に供する説明図である。
符号の説明
1…流路部材(流路基板)
2…振動板部材
2A…振動板領域
2B…突起部(島状凸部)
3…ノズル板(ノズル形成部材)
4…ノズル
6…液室
12…圧電素子部材
21…金属層
22…樹脂層
233…キャリッジ
234、411…記録ヘッド

Claims (8)

  1. 液滴を吐出するノズルが連通する液室の少なくとも1つの壁面を形成する振動板領域を有する振動板部材と、
    前記振動板部材の振動板領域を変形変位させるアクチュエータ手段と、を備え、
    前記振動板部材は、少なくとも樹脂層と金属層とからなり、前記金属層は前記樹脂層側と反対側の結晶粒の大きさが、前記樹脂層側の結晶粒の大きさよりも大きく形成され、
    前記振動板部材の前記金属層の前記樹脂層側と反対側に前記アクチュエータ手段が配置されている
    ことを特徴とする液体吐出ヘッド。
  2. 前記振動板部材の金属層が銅であることを特徴とする請求項1記載の液体吐出ヘッド。
  3. 前記振動板部材の金属層における樹脂層側の面と樹脂層側と反対側の面の結晶構造比が、
    Ia(111):金属層の樹脂層側面の(111)面の回折ピーク強度、
    Ia(100):金属層の樹脂層側面の(100)面の回折ピーク強度、
    Ib(111):金属層の樹脂層側と反対側の面の(111)面の回折ピーク強度、
    Ib(100):金属層の樹脂層側と反対側の面の(100)面の回折ピーク強度
    としたとき、Ia(111)/Ia(100)>Ib(111)/Ib(100)の関係にあることを特徴とする請求項2記載の液体吐出ヘッド。
  4. 前記振動板部材は、前記金属層に樹脂材料が直接塗布されて前記樹脂層が形成されていることを特徴とする請求項1ないし3のいずれか記載の液体吐出ヘッド。
  5. 前記振動板部材は、前記樹脂層に導電性材料の薄膜を介して前記金属層が設けられていることを特徴とする液体吐出ヘッド。
  6. 前記振動板領域は、前記樹脂層で形成される変形可能領域と、前記金属層で形成される前記変形可能領域に設けられた島状凸部とを有し、前記島状凸部で圧電素子が接合されていることを特徴とする請求項1ないし5のいずれか記載の液体吐出ヘッド。
  7. 請求項6記載の液体吐出ヘッドを製造する方法であって、
    前記樹脂層となる樹脂部材上に導電性を有する膜を形成する工程と、
    前記導電性を有する膜上に、前記樹脂層側と反対側の結晶粒の大きさが、前記樹脂層側の結晶粒の大きさよりも大きく形成される前記金属層を電析して形成する工程と、
    前記金属層上に前記金属層を残す部分をマスキングする工程と、
    前記金属層をエッチングで除去して前記樹脂層からなる変形可能領域と島状凸部とを形成する工程と、を
    順次行うことを特徴とする液体吐出ヘッドの製造方法。
  8. 請求項1ないし6のいずれかに記載の液体吐出ヘッドを備えていることを特徴とする画像形成装置。
JP2008229926A 2008-09-08 2008-09-08 液体吐出ヘッド及びその製造方法、画像形成装置 Expired - Fee Related JP5327435B2 (ja)

Priority Applications (1)

Application Number Priority Date Filing Date Title
JP2008229926A JP5327435B2 (ja) 2008-09-08 2008-09-08 液体吐出ヘッド及びその製造方法、画像形成装置

Applications Claiming Priority (1)

Application Number Priority Date Filing Date Title
JP2008229926A JP5327435B2 (ja) 2008-09-08 2008-09-08 液体吐出ヘッド及びその製造方法、画像形成装置

Publications (2)

Publication Number Publication Date
JP2010064260A true JP2010064260A (ja) 2010-03-25
JP5327435B2 JP5327435B2 (ja) 2013-10-30

Family

ID=42190287

Family Applications (1)

Application Number Title Priority Date Filing Date
JP2008229926A Expired - Fee Related JP5327435B2 (ja) 2008-09-08 2008-09-08 液体吐出ヘッド及びその製造方法、画像形成装置

Country Status (1)

Country Link
JP (1) JP5327435B2 (ja)

Cited By (4)

* Cited by examiner, † Cited by third party
Publication number Priority date Publication date Assignee Title
JP2014233885A (ja) * 2013-05-31 2014-12-15 京セラ株式会社 液体吐出ヘッド、およびそれを用いた記録装置
JP2019104236A (ja) * 2017-12-08 2019-06-27 パナソニックIpマネジメント株式会社 インクジェットヘッドおよびインクジェット印刷装置
TWI695120B (zh) * 2019-01-15 2020-06-01 研能科技股份有限公司 微流體致動器
CN111434603A (zh) * 2019-01-15 2020-07-21 研能科技股份有限公司 微流体致动器

Families Citing this family (1)

* Cited by examiner, † Cited by third party
Publication number Priority date Publication date Assignee Title
JP7131260B2 (ja) 2018-09-28 2022-09-06 ブラザー工業株式会社 液体吐出ヘッド

Citations (3)

* Cited by examiner, † Cited by third party
Publication number Priority date Publication date Assignee Title
JPH09290506A (ja) * 1996-04-26 1997-11-11 Ricoh Co Ltd インクジェットヘッド及びインクジェットヘッド用振動板の製造方法
JP2007144706A (ja) * 2005-11-25 2007-06-14 Ricoh Co Ltd 液滴吐出装置及び画像形成装置
JP2008110571A (ja) * 2006-10-31 2008-05-15 Ricoh Co Ltd 液体吐出ヘッド、液体吐出装置、画像形成装置、液体吐出ヘッドの製造方法

Patent Citations (3)

* Cited by examiner, † Cited by third party
Publication number Priority date Publication date Assignee Title
JPH09290506A (ja) * 1996-04-26 1997-11-11 Ricoh Co Ltd インクジェットヘッド及びインクジェットヘッド用振動板の製造方法
JP2007144706A (ja) * 2005-11-25 2007-06-14 Ricoh Co Ltd 液滴吐出装置及び画像形成装置
JP2008110571A (ja) * 2006-10-31 2008-05-15 Ricoh Co Ltd 液体吐出ヘッド、液体吐出装置、画像形成装置、液体吐出ヘッドの製造方法

Cited By (6)

* Cited by examiner, † Cited by third party
Publication number Priority date Publication date Assignee Title
JP2014233885A (ja) * 2013-05-31 2014-12-15 京セラ株式会社 液体吐出ヘッド、およびそれを用いた記録装置
JP2019104236A (ja) * 2017-12-08 2019-06-27 パナソニックIpマネジメント株式会社 インクジェットヘッドおよびインクジェット印刷装置
JP7133807B2 (ja) 2017-12-08 2022-09-09 パナソニックIpマネジメント株式会社 インクジェットヘッドおよびインクジェット印刷装置
TWI695120B (zh) * 2019-01-15 2020-06-01 研能科技股份有限公司 微流體致動器
CN111434603A (zh) * 2019-01-15 2020-07-21 研能科技股份有限公司 微流体致动器
US11085554B2 (en) 2019-01-15 2021-08-10 Microjet Technology Co., Ltd. Micro fluid actuator

Also Published As

Publication number Publication date
JP5327435B2 (ja) 2013-10-30

Similar Documents

Publication Publication Date Title
JP4944687B2 (ja) 圧電アクチュエータ及びその製造方法、液体吐出ヘッド、画像形成装置
JP5375667B2 (ja) 液体吐出ヘッド及び画像形成装置
US7651205B2 (en) Liquid discharging head using piezoelectric actuator and image forming apparatus using the liquid discharging head
JP5327435B2 (ja) 液体吐出ヘッド及びその製造方法、画像形成装置
US9102147B2 (en) Liquid discharge head and image forming apparatus
JP5068063B2 (ja) 液体吐出ヘッド、液体吐出装置、画像形成装置、液体吐出ヘッドの製造方法
JP5549163B2 (ja) 液体吐出ヘッド及び画像形成装置
JP2008114561A (ja) 液体吐出ヘッド、液体吐出装置、画像形成装置
JP5338585B2 (ja) 液体吐出ヘッド及び画像形成装置
JP4938604B2 (ja) 液体吐出ヘッド及び画像形成装置
JP6119320B2 (ja) 液体吐出ヘッド、画像形成装置
JP5728934B2 (ja) ヘッド回復装置及び画像形成装置
JP5796347B2 (ja) 圧電アクチュエータ、圧電アクチュエータの製造方法、液体吐出ヘッド及び画像形成装置
JP2010284960A (ja) 画像形成装置
JP4961373B2 (ja) 液体吐出ヘッド及び画像形成装置
JP5982761B2 (ja) 液体吐出ヘッドの製造方法
JP5338715B2 (ja) 液体吐出ヘッド及び画像形成装置
JP2007076264A (ja) 液体吐出ヘッド、液体吐出ヘッドの製造方法及び画像形成装置
JP5444971B2 (ja) 圧電アクチュエータの製造方法、圧電アクチュエータ、液体吐出ヘッド及び画像形成装置
JP2009066890A (ja) 液体吐出ヘッド及び画像形成装置
JP5896275B2 (ja) 液滴吐出ヘッド及び画像形成装置
JP2011000738A (ja) 画像形成装置
JP2012143975A (ja) 液体吐出ヘッド、振動板部材の製造方法及び画像形成装置
JP5776463B2 (ja) 積層型圧電素子、液体吐出ヘッド及び画像形成装置
JP2008149588A (ja) 圧電アクチュエータ、液体吐出ヘッド、画像形成装置

Legal Events

Date Code Title Description
A621 Written request for application examination

Free format text: JAPANESE INTERMEDIATE CODE: A621

Effective date: 20110803

A977 Report on retrieval

Free format text: JAPANESE INTERMEDIATE CODE: A971007

Effective date: 20121109

A131 Notification of reasons for refusal

Free format text: JAPANESE INTERMEDIATE CODE: A131

Effective date: 20121113

A521 Written amendment

Free format text: JAPANESE INTERMEDIATE CODE: A523

Effective date: 20121228

TRDD Decision of grant or rejection written
A01 Written decision to grant a patent or to grant a registration (utility model)

Free format text: JAPANESE INTERMEDIATE CODE: A01

Effective date: 20130626

A61 First payment of annual fees (during grant procedure)

Free format text: JAPANESE INTERMEDIATE CODE: A61

Effective date: 20130709

R151 Written notification of patent or utility model registration

Ref document number: 5327435

Country of ref document: JP

Free format text: JAPANESE INTERMEDIATE CODE: R151

LAPS Cancellation because of no payment of annual fees