JP2010064134A - ローリングミル装置 - Google Patents

ローリングミル装置 Download PDF

Info

Publication number
JP2010064134A
JP2010064134A JP2008235441A JP2008235441A JP2010064134A JP 2010064134 A JP2010064134 A JP 2010064134A JP 2008235441 A JP2008235441 A JP 2008235441A JP 2008235441 A JP2008235441 A JP 2008235441A JP 2010064134 A JP2010064134 A JP 2010064134A
Authority
JP
Japan
Prior art keywords
workpiece
rolling mill
main roll
mandrel
pair
Prior art date
Legal status (The legal status is an assumption and is not a legal conclusion. Google has not performed a legal analysis and makes no representation as to the accuracy of the status listed.)
Granted
Application number
JP2008235441A
Other languages
English (en)
Other versions
JP5008626B2 (ja
Inventor
Koichi Fukuda
浩一 福田
Hiroki Morishima
宏樹 森島
Yoshikazu Ban
義和 伴
Akitaka Kajino
晶敬 梶野
Hirobumi Okada
博文 岡田
Masanobu Mino
雅信 美濃
Nobuo Kitada
信雄 北田
Current Assignee (The listed assignees may be inaccurate. Google has not performed a legal analysis and makes no representation or warranty as to the accuracy of the list.)
Kurimoto Ltd
Aichi Steel Corp
Original Assignee
Kurimoto Ltd
Aichi Steel Corp
Priority date (The priority date is an assumption and is not a legal conclusion. Google has not performed a legal analysis and makes no representation as to the accuracy of the date listed.)
Filing date
Publication date
Application filed by Kurimoto Ltd, Aichi Steel Corp filed Critical Kurimoto Ltd
Priority to JP2008235441A priority Critical patent/JP5008626B2/ja
Publication of JP2010064134A publication Critical patent/JP2010064134A/ja
Application granted granted Critical
Publication of JP5008626B2 publication Critical patent/JP5008626B2/ja
Active legal-status Critical Current
Anticipated expiration legal-status Critical

Links

Images

Landscapes

  • Reduction Rolling/Reduction Stand/Operation Of Reduction Machine (AREA)

Abstract

【課題】構造が簡単で、小型のローリングミル装置を提供することを課題とする。
【解決手段】ローリングミル装置1は、自身の軸周りに回転可能な単一のメインロール60と、メインロール60の径方向外側に配置されリング状のワークW2が環装される複数のマンドレル61L、61Rと、を備える。ローリングミル装置1は、メインロール60とマンドレル61L、61Rとの間隔を狭めることにより、ワークW2の径方向肉厚を薄くする。ワークW2の加工時において、複数のマンドレル61L、61Rは不動である。ローリングミル装置1は、さらに、複数のマンドレル61L、61Rの各々に対して、メインロール60を近接させるメインロール移動装置3を備えることを特徴とする。
【選択図】図9

Description

本発明は、小径厚肉のリング状のワークを大径薄肉の製品に加工するローリングミル装置に関する。
例えば、特許文献1には、リングギアの製造に用いるローリングミル装置が開示されている。ローリングミル装置は、一対のスライドテーブルと、一対のマンドレルと、メインロールと、を備えている。一対のマンドレルおよびメインロールの回転軸は、垂直方向に延在している。一対のスライドテーブルおよび一対のマンドレルは、メインロールを挟んで、水平方向両側に配置されている。言い換えると、スライドテーブルとマンドレルとの組が、メインロールを挟んで、水平方向両側に、一対配置されている。マンドレルはスライドテーブルの上に配置されている。マンドレルは、スライドテーブルと共に、不動のメインロールに対して離接可能である。ワークは、小径厚肉のリング状を呈している。ワークは、テーブルに載置されている。ワークの径方向内側には、マンドレルが挿入されている。
ワークにマンドレルが挿入された状態で、スライドテーブルを回転するメインロールに近づけると、ワークは、径方向内側からマンドレルにより、径方向外側からメインロールにより、それぞれ押圧されることになる。このため、ワークの側周壁の肉厚は薄くなる。また、ワークは大径化する。このようにして、小径厚肉のワークを圧延し、大径薄肉のリングギアの中間製品を作製する。
特開昭58−25834号公報
しかしながら、同文献記載のローリングミル装置によると、不動のメインロールに対して、水平方向両側から、一対のマンドレルを、交互に近接させている。このため、一対のマンドレルの各々に対して、マンドレルをメインロールに近接させるための、マンドレル移動装置が必要になる。すなわち、一対のマンドレル移動装置が必要になる。したがって、ローリングミル装置の構造が複雑になる。また、マンドレル移動方向の全長が長くなるので、ローリングミル装置が大型化する。
本発明のローリングミル装置は、上記課題に鑑みて完成されたものである。したがって、本発明は、構造が簡単で小型のローリングミル装置を提供することを目的とする。
以下の括弧内の番号は、請求項の番号に対応している。
(1)上記課題を解決するため、本発明のローリングミル装置は、自身の軸周りに回転可能な単一のメインロールと、該メインロールの径方向外側に配置されリング状のワークが環装される複数のマンドレルと、を備えてなり、該メインロールと該マンドレルとの間隔を狭めることにより該ワークの径方向肉厚を薄くするローリングミル装置であって、前記ワークの加工時において、複数の前記マンドレルは不動であり、さらに、複数の該マンドレルの各々に対して、前記メインロールを近接させるメインロール移動装置を備えることを特徴とする。
特許文献1に記載のローリングミル装置の場合、ワークを加工する際、不動のメインロールに対して、マンドレル移動装置により、マンドレルを近接させている。このため、マンドレルの配置数分だけ、マンドレル移動装置を配置する必要がある。
これに対して、本発明のローリングミル装置の場合、ワークを加工する際、不動のマンドレルに対して、メインロール移動装置により、メインロールを近接させている。このため、マンドレルの配置数に因らず、メインロール移動装置の配置数は一つで済む。したがって、本発明のローリングミル装置によると、複数のマンドレル移動装置を有する従来のローリングミル装置と比較して、構造が簡単になる。また、メインロール移動方向の全長が短くなり、ローリングミル装置を小型化できる。
(2)好ましくは、上記(1)の構成において、前記メインロールの回転軸および複数の前記マンドレルは、略水平方向に延在しており、前記ワークの軸方向両端のうち、少なくとも一方は、外部に開放されている構成とする方がよい。
特許文献1に記載のローリングミル装置の場合、圧延時において、ワークがスライドテーブルの上に載置されている。すなわち、ワークの孔の下端開口は、スライドテーブルにより封止されている。このため、圧延の過程でワーク内周面から剥がれ落ちるスケール(酸化粉)が、ワークの径方向内側に堆積してしまう。ワークの径方向内側にスケールが堆積すると、当該スケールがマンドレルとワーク内周面との間に噛み込まれるおそれがある。そして、噛み込まれたスケールが、マンドレルにより、ワーク内周面にスタンプされてしまうおそれがある。すなわち、本来、加工面であるワーク内周面に、スケールによる圧痕が、形成されるおそれがある。
これに対して、本構成のローリングミル装置の場合、圧延時において、ワークの軸芯が、マンドレルにより、略水平方向に支持される。本構成のローリングミル装置によると、圧延時においてワークの径方向内側に発生するスケール、金属粉、塵埃などは、ワークの軸方向両端の開口のうち少なくとも一方から、外部に排出される。このため、ワークの径方向内側に、スケールなどが堆積しにくい。したがって、スケールなどが、マンドレルとワーク内周面との間に噛み込まれにくい。よって、ワークの内周面に圧痕が形成されにくい。
(3)好ましくは、上記(2)の構成において、前記メインロールの回転軸と複数の前記マンドレルとは、略水平方向に並んで配置されている構成とする方がよい。ワークの径方向内側において発生するスケールなどは、直接、ワークの開口からワーク外部に排出される。あるいは、スケールなどは、一旦ワーク内周面の下側部分に落下し、ワークの回転に伴って軸方向に移動し、ワークの開口からワーク外部に排出される。
この点、本構成のローリングミル装置によると、ワークは、マンドレルとメインロールとにより、略水平方向両側から、挟持される。このため、マンドレルとワーク内周面との圧接部分が、スケールなどが落下するワーク内周面の下側部分から、離間している。したがって、スケールなどが、マンドレルとワーク内周面との間に噛み込まれるおそれが、さらに小さい。
(4)好ましくは、上記(1)ないし(3)のいずれかの構成において、熱間鍛造に用いられる構成とする方がよい。本構成のローリングミル装置によると、加熱されたワークに対して圧延が行われる。このため、圧延時におけるワークの変形抵抗が小さくなる。したがって、ワークの加工性が向上する。
本発明によると、構造が簡単で小型のローリングミル装置を提供することができる。
以下、本発明のローリングミル装置の実施の形態について説明する。
<リングギアの製造方法>
まず、熱間鍛造によるリングギアの製造方法について簡単に説明する。図1に、リングギアの製造方法の工程図を示す。図1に示すように、リングギアの製造方法は、加熱工程S1と、荒地プレス工程S2と、圧延工程S3と、仕上げプレス工程S4と、を有している。
加熱工程S1においては、高周波加熱炉により、円柱状のビレットW1を、約3分程度で約1200℃の温度まで加熱する。荒地プレス工程S2においては、まず、ビレットW1を軸方向から圧縮し、円板状とする。次いで、円板状のビレットW1に軸方向に孔を穿設し、ワークW2を作製する。圧延工程S3においては、ワークW2に圧延処理を施すことにより大径化させ、中間第一製品W3を作製する。仕上げプレス工程S4では、中間第一製品W3の軸方向両端面に所定の形状を付与し、中間第二製品W4を作製する。その後、中間第二製品W4の内周面あるいは外周面に、所定のギア形状を付与し、リングギアを作製する。
本実施形態のローリングミル装置は、上記一連の工程のうち、圧延工程S3を実行するために用いられる。すなわち、本実施形態のローリングミル装置は、小径厚肉のワークW2を大径薄肉の中間第一製品W3に加工するために用いられる。
<ローリングミル装置の構成>
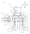
次に、本実施形態のローリングミル装置の全体構成について説明する。以下の図において、左右方向に対応している部材は、数字の末尾にL(左)またはR(右)を付した符合で示す。図2に、本実施形態のローリングミル装置の斜視図を示す。図3に、同ローリングミル装置の上面図を示す。図4に、同ローリングミル装置の透過斜視図を示す。図5に、同ローリングミル装置の分解斜視図を示す。図2〜図5に示すように、ローリングミル装置1は、フレーム2と、メインロール移動装置3と、メインロール回転装置4と、一対のワーク支持装置5L、5Rと、メインロール60と、一対のマンドレル61L、61Rと、二対のガイドロールと、を備えている。
[フレームの構成]
図6に、本実施形態のローリングミル装置のフレームの斜視図を示す。図6に示すように、フレーム2は、基部20と、一対の棚部21L、21Rと、一対のビーム22、23と、一対の揺動軸支持ブロック24と、を備えている。
基部20は、鋼製であって、矩形枠体状を呈している。基部20は、図示しない工場の床面に配置されている。棚部21Rは、鋼製であって、基部20の上面に配置されている。棚部21Rは、基部20の右縁に沿って配置されている。棚部21Rは、短軸角筒状を呈している。棚部21Rの開口軸は、左右方向に延在している。棚部21Rの筒内には、前後一対の仕切壁210R、211Rが配置されている。前方の仕切壁210Rは、前壁212Rと近接している。仕切壁210R、前壁212Rの左縁には、各々、切欠部が形成されている。当該切欠部には、シリンダ収容部213Rが配置されている。棚部21Rの左縁には、上下一対のガイドレール214R、215Rが配置されている。一対のガイドレール214R、215Rは、互いに略平行に、前後方向に延在している。
棚部21Lは、鋼製であって、基部20の上面に配置されている。棚部21Lは、基部20の左縁に沿って配置されている。棚部21Lは、棚部21Rと左右対称に配置され、棚部21Rと同様の構造を有している。
ビーム22は、鋼製であって、左右一対の棚部21L、21Rの上壁間に架設されている。ビーム22は、棚部21L、21Rの前縁に沿って配置されている。ビーム23は、鋼製であって、ビーム22と同様に、左右一対の棚部21L、21Rの上壁間に架設されている。ビーム23は、棚部21L、21Rの後縁に沿って配置されている。
一対の揺動軸支持ブロック24は、鋼製であって、基部20の上面に配置されている。一対の揺動軸支持ブロック24は、基部20の前後縁の左右方向略中央に配置されている。一対の揺動軸支持ブロック24は、前後方向に対向している。揺動軸支持ブロック24には、支持孔240が穿設されている。支持孔240は、揺動軸支持ブロック24を前後方向に貫通している。
[メインロール移動装置の構成]
図7に、本実施形態のローリングミル装置のメインロール移動装置およびメインロール回転装置の斜視図を示す。図7に示すように、メインロール移動装置3は、ブラケット30と、ボールねじ機構部31と、揺動部32と、を備えている。
ブラケット30は、一対のモータ収容箱支持ブロック300、301を備えている。一対のモータ収容箱支持ブロック300、301は、鋼製であって、図2〜図5に示すように、フレーム2の棚部21Lの上壁左縁の後方に固定されており、前後方向に所定間隔だけ離間して配置されている。
図7に戻って、ボールねじ機構部31は、モータ310と、モータ収容箱311と、ボールねじ部312と、ナット部313と、を備えている。モータ収容箱311は、鋼製であって、上方および左方に開口する直方体箱状を呈している。モータ収容箱311は、モータ収容箱揺動軸311a、311bを介して、ブラケット30に揺動可能に支持されている。モータ310は、モータ収容箱311に収容されている。モータ310の駆動軸310aは、左右方向に延在している。ボールねじ部312は、鋼製であって、左右方向に延在する丸棒状を呈している。ボールねじ部312は、駆動軸310aに接続されている。ナット部313は、鋼製であって、直方体状を呈している。ナット部313は、ボールねじ部挿通孔313aと、一対の揺動部揺動軸313bと、を備えている。ボールねじ部挿通孔313aは、ナット部313を、左右方向に貫通している。ボールねじ部312は、ボールねじ部挿通孔313aに挿通されている。ボールねじ部312は、ボール(図略)を介して、ボールねじ部挿通孔313aと、螺合している。一対の揺動部揺動軸313bは、短軸円柱状を呈している。一対の揺動部揺動軸313bは、ナット部313の前後面から突設されている。
揺動部32は、一対の連結ブロック320a、320bと、揺動アーム321と、揺動軸322と、を備えている。揺動軸322は、鋼製であって、前後方向に延在する丸棒状を呈している。図2〜図5に示すように、揺動軸322は、前後方向に対向する一対の揺動軸支持ブロック24間に架設されている。揺動軸322の前後方向両端は、一対の支持孔240に、揺動可能に支持されている。
図7に戻って、揺動アーム321は、鋼製であって、上下方向に延在する角柱状を呈している。揺動アーム321は、揺動軸固定孔321aと、回転軸挿通孔321bと、を備えている。揺動軸固定孔321aは、揺動アーム321の下端に配置されている。揺動軸固定孔321aは、揺動アーム321を前後方向に貫通している。揺動軸固定孔321aには、揺動軸322が挿通され、固定されている。回転軸挿通孔321bは、揺動アーム321の上下方向略中央に配置されている。回転軸挿通孔321bは、揺動アーム321を前後方向に貫通している。
一対の連結ブロック320a、320bは、鋼製であって、各々、矩形板状を呈している。一対の連結ブロック320a、320bは、揺動アーム321の上端に配置されている。連結ブロック320aの後面および連結ブロック320bの前面には、各々、凹部が形成されている。一対の凹部には、ナット部313の一対の揺動部揺動軸313bが、揺動可能に収容されている。すなわち、ナット部313および一対の連結ブロック320a、320bを介して、ボールねじ機構部31と揺動部32とは、揺動可能に連結されている。
[メインロール回転装置の構成]
図7に示すように、メインロール回転装置4は、ブラケット40と、モータ41と、ギアボックス42と、回転軸43と、を備えている。ブラケット40は、鋼製であって、板状を呈している。ブラケット40は、揺動アーム321の回転軸挿通孔321b下部から、後方に突設されている。モータ41は、ブラケット40の上面の左後隅に配置されている。ギアボックス42は、ブラケット40の上面における、モータ41の前方に配置されている。モータ41の駆動軸41aは、ギアボックス42内部の減速ギア(図略)と噛合している。回転軸43は、ギアボックス42から前方に突出している。回転軸43は、鋼製であって、ギアボックス42内部の減速ギアに連結されている。回転軸43は、揺動アーム321の回転軸挿通孔321bに、回転可能に挿通されている。メインロール60は、略水平方向に延在した回転軸43の前端(回転軸挿通孔321bからの突出端)に、回転面が略垂直となるように固定されている。
[ワーク支持装置の構成]
図8に、本実施形態のローリングミル装置の一対のワーク支持装置の分解斜視図を示す。図8に示すように、ワーク支持装置5Rは、固定部材50Rと、可動部材51Rと、ガイドロール駆動部52Rと、を備えている。
固定部材50Rは、一対の係合部500R、501Rと、マンドレル収容凹部502Rと、を備えている。一対の係合部500R、501Rは、固定部材50Rの上下縁に沿って配置されている。上下一対の係合部500R、501Rは、前後方向に延在している。上下一対の係合部500R、501Rは、図2〜図5に示すように、上下一対のガイドレール214R、215Rの後部に、固定されている。すなわち、固定部材50Rは、フレーム2に対して不動である。マンドレル収容凹部502Rは、固定部材50Rの前面に配置され、前方に開口している。
可動部材51Rは、一対の被ガイド部510R、511Rと、ブラケット512Rと、油圧シリンダ515Rと、を備えている。一対の被ガイド部510R、511Rは、可動部材51Rの上下縁に沿って配置されている。上下一対の被ガイド部510R、511Rは、図2〜図5に示すように、上下一対のガイドレール214R、215Rの前部に、摺動可能に係合している。すなわち、可動部材51Rは、フレーム2に対して前後方向に摺動可能である。ブラケット512Rは、鋼製であって、矩形板状を呈している。ブラケット512Rは、可動部材51Rの右面から右方に突設されている。ブラケット512Rの上面には、一対のシリンダ支持ブロック513R、514Rが立設されている。一対のシリンダ支持ブロック513R、514Rは、前後方向に所定間隔だけ離間して配置されている。油圧シリンダ515Rは、シリンダ本体516Rと、ピストンロッド517Rと、エンド部材518Rと、を備えている。油圧シリンダ515Rは、図2〜図5に示すように、フレーム2の棚部21Rの前壁212Rと、可動部材51Rの前面と、の間を連結している。図8に戻って、シリンダ本体516Rは、前後方向に延在している。シリンダ本体516Rは、可動部材51Rの前面に固定されている。ピストンロッド517Rは、鋼製であって、前後方向に延在している。ピストンロッド517Rの後端は、シリンダ本体516Rに収容されている。ピストンロッド517Rの前端は、エンド部材518Rに固定されている。エンド部材518Rは、直方体箱状を呈している。エンド部材518Rは、図2〜図5に示すように、フレーム2のシリンダ収容部213Rを前方から塞いでいる。図8に戻って、マンドレル61Rは、可動部材51Rの後面から、後方に向かって突設されている。マンドレル61Rは、マンドレル収容凹部502Rに、前後方向に対向している。マンドレル61Rの先端は、マンドレル収容凹部502Rに、出入り可能である。マンドレル61Rには、ワークW2が環装される。
ガイドロール駆動部52Rは、可動部材51Rの後面に配置されている。ガイドロール駆動部52Rは、油圧シリンダ520Rと、上方ガイドロール用アーム521Rと、下方ガイドロール用アーム522Rと、連結アーム523Rと、を備えている。油圧シリンダ520Rは、前後一対のシリンダ揺動軸524R、525Rを備えている。前後一対のシリンダ揺動軸524R、525Rは、可動部材51Rの前後一対のシリンダ支持ブロック513R、514Rに、揺動可能に支持されている。
上方ガイドロール用アーム521Rは、鋼製であって、直線状を呈している。上方ガイドロール用アーム521Rの上端には、ガイドロール62Rが空転可能に支持されている。また、上方ガイドロール用アーム521Rの上端は、油圧シリンダ520Rのピストンロッドに接続されている。上方ガイドロール用アーム521Rの下端は、可動部材51Rの後面から突設されたボス部に、揺動可能に支持されている。
下方ガイドロール用アーム522Rは、鋼製であって、J字状を呈している。下方ガイドロール用アーム522Rは、上方ガイドロール用アーム521Rの右側に配置されている。下方ガイドロール用アーム522RのJ字先端には、ガイドロール63Rが空転可能に支持されている。ガイドロール63Rは、ガイドロール62Rと、上下方向に対向している。下方ガイドロール用アーム522Rの上端は、可動部材51Rの後面から突設されたボス部に、揺動可能に支持されている。連結アーム523Rは、上方ガイドロール用アーム521Rと下方ガイドロール用アーム522Rとを、連結している。ワーク支持装置5Lは、ワーク支持装置5Rと左右対称に配置され、ワーク支持装置5Rと同様の構造を有している。
<メインロール移動装置の動き>
次に、メインロール移動装置の動きについて説明する。図9に、本実施形態のローリングミル装置の透過模式前面図を示す。なお、説明の便宜上、ビーム22、23は省略して示す。また、ワーク支持装置5Lについては固定部材50Lの前面を、ワーク支持装置5Rについては可動部材51Rの後面およびガイドロール駆動部52Rを、それぞれ示す。
まず、図9に一点鎖線で示すように、揺動部32を、右側(時計回り方向)に揺動させる場合について説明する。まず、モータ310を駆動し、ボールねじ部312を軸周りに回転させる。ナット部313は、ボールを介して、ボールねじ部312と螺合している。このため、ボールねじ部312を回転させると、ナット部313が右側に移動する。ナット部313の揺動部揺動軸313bは、揺動部32の連結ブロック320aに、揺動可能に支持されている。また、揺動部32は、揺動軸322を介して、揺動軸支持ブロック24に、揺動可能に支持されている。このため、ナット部313が右側に移動すると、揺動部32が、揺動軸322を中心に、右側に揺動する。したがって、揺動部32に支持されたメインロール60が、ワーク支持装置5Rに支持されたマンドレル61Rに近接する。なお、揺動部32の揺動に伴い、ボールねじ機構部31も、モータ収容箱揺動軸311aを中心に、時計回り方向に揺動する。
次いで、図9に点線で示すように、揺動部32を、左側(反時計回り方向)に揺動させる場合について説明する。まず、モータ310を駆動し、ボールねじ部312を軸周りに回転させる。なお、回転方向は、揺動部32を右側に揺動させる場合の回転方向に対して、逆方向である。ボールねじ部312を回転させると、ナット部313が左側に移動する。ナット部313が左側に移動すると、揺動部32が、揺動軸322を中心に、左側に揺動する。したがって、揺動部32に支持されたメインロール60が、ワーク支持装置5Lに支持されたマンドレル61Lに近接する。なお、揺動部32の揺動に伴い、ボールねじ機構部31も、モータ収容箱揺動軸311aを中心に、時計回り方向に揺動する。
<メインロール回転装置の動き>
次に、メインロール回転装置の動きについて説明する。まず、図7に示すように、モータ41を駆動し、駆動軸41aを軸周りに回転させる。駆動軸41aは、ギアボックス42内部の減速ギア(図略)と噛合している。また、減速ギアは、回転軸43に連結されている。このため、回転軸43からは、駆動軸41aの回転数およびトルクに対して、低速かつ高トルクの回転力が出力される。当該回転力により、回転軸43に固定されたメインロール60を回転させる。なお、メインロール回転装置4は、揺動部32に固定されている。このため、揺動部32が揺動する際、メインロール回転装置4も揺動部32と共に揺動する。
<ワーク支持装置の動き>
次に、ワーク支持装置の動きについて説明する。まず、可動部材の動きについて説明する。図10に、本実施形態のローリングミル装置の左側から見た前後方向断面図を示す。なお、切断面は、右側のワーク支持装置5Rの左側である。
図10に一点鎖線で示すように、可動部材51Rを前方に移動させる場合は、油圧シリンダ515Rのピストンロッド517Rをシリンダ本体516Rに、相対的に没入させる。シリンダ本体516Rは、可動部材51Rの前面に固定されている。ピストンロッド517Rは、エンド部材518Rに固定されている。このため、ピストンロッド517Rをシリンダ本体516Rに没入させると、エンド部材518Rにシリンダ本体516Rが近接する。すなわち、可動部材51Rが、ガイドレール214R、215Rに沿って、前方に摺動する。
図10に実線で示すように、可動部材51Rを後方に移動させる場合は、油圧シリンダ515Rのピストンロッド517Rをシリンダ本体516Rから、相対的に突出させる。ピストンロッド517Rをシリンダ本体516Rから突出させると、エンド部材518Rからシリンダ本体516Rが離間する。すなわち、可動部材51Rが、ガイドレール214R、215Rに沿って、後方に摺動する。
ところで、可動部材51Rを前方に移動させると、マンドレル61Rがマンドレル収容凹部502Rから抜き出される。図8に示すように、ワークW2をセットする場合は、まず、マンドレル収容凹部502Rから抜き出されたマンドレル61Rに、ワークW2を環装する。次いで、可動部材51Rを後方に移動させる。そして、マンドレル61Rの先端(後端)を、マンドレル収容凹部502Rに挿入する。このようにして、ワークW2のセットを行う。
続いて、ガイドロール駆動部52Rの動きについて説明する。図11に、図9の枠XI内の拡大図を示す。図11に点線で示すように、上下一対のガイドロール62R、63Rを、マンドレル61Rから離間させる場合は、油圧シリンダ520Rのピストンロッド527Rをシリンダ本体526R内部に没入させる。ここで、シリンダ本体526Rは、ブラケット512Rに接続されている。一方、ピストンロッド527Rは、上方ガイドロール用アーム521Rの上端に、接続されている。このため、ピストンロッド527Rをシリンダ本体526R内部に没入させると、上方ガイドロール用アーム521Rが、下端(図11中にハッチングで示す。)を中心に、時計回り方向に揺動する。したがって、上方ガイドロール用アーム521Rの上端に接続されたガイドロール62Rも、右上方に移動する。ここで、上方ガイドロール用アーム521Rと下方ガイドロール用アーム522Rとは、連結アーム523Rを介して、左右方向に連結されている。このため、上方ガイドロール用アーム521Rが時計回り方向に揺動すると、下方ガイドロール用アーム522Rが、上端(図11中にハッチングで示す。)を中心に、反時計回り方向に揺動する。したがって、下方ガイドロール用アーム522RのJ字端に接続されたガイドロール63Rも、右下方に移動する。このようにして、上下一対のガイドロール62R、63Rを、マンドレル61Rから離間させる。
図11に実線で示すように、上下一対のガイドロール62R、63Rを、マンドレル61Rに近接させる場合は、油圧シリンダ520Rのピストンロッド527Rをシリンダ本体526Rから突出させる。ピストンロッド527Rをシリンダ本体526Rから突出させると、上方ガイドロール用アーム521Rが、下端を中心に、反時計回り方向に揺動する。したがって、上方ガイドロール用アーム521Rの上端に接続されたガイドロール62Rも、左下方に移動する。上方ガイドロール用アーム521Rが反時計回り方向に揺動すると、下方ガイドロール用アーム522Rが、上端を中心に、時計回り方向に揺動する。したがって、下方ガイドロール用アーム522RのJ字端に接続されたガイドロール63Rも、左上方に移動する。このようにして、上下一対のガイドロール62R、63Rを、マンドレル61Rに近接させる。なお、左側のワーク支持装置5Lの動きも、上述した右側のワーク支持装置5Rの動きと同様である。
<圧延工程におけるローリングミル装置の動き>
次に、本実施形態のローリングミル装置の圧延工程における動きについて説明する。図1に示すように、圧延工程S3においては、ワークW2に圧延処理を施すことにより大径化させ、中間第一製品W3を作製する。
図12(a)に、圧延工程前期のメインロールとマンドレルと一対のガイドロールとワークとの模式前面図を示す。図12(b)に、圧延工程後期のメインロールとマンドレルと一対のガイドロールとワークとの模式前面図を示す。図13に、圧延工程後期のメインロールとマンドレルと一対のガイドロールとワークとの模式斜視図を示す。
本工程においては、まず、図12(a)に示すように、ワークW2を、ローリングミル装置にセットする。すなわち、ワークW2の径方向外側にメインロール60および一対のガイドロール62R、63Rが、ワークW2の径方向内側にマンドレル61Rが、それぞれ配置されるように、ワークW2をローリングミル装置にセットする。
具体的には、まず、図10に示すように、油圧シリンダ515Rを駆動し、可動部材51Rを前方に動かす。すなわち、可動部材51Rを、固定部材50Rから離間させる。次いで、マンドレル61Rに、ワークW2を環装する。それから、油圧シリンダ515Rを駆動し、可動部材51Rを後方に動かす。そして、マンドレル61Rの先端(後端)を、マンドレル収容凹部502Rに挿入する。
続いて、図11に示すように、油圧シリンダ520Rを駆動し、上方ガイドロール用アーム521Rを、反時計回り方向に揺動させる。並びに、下方ガイドロール用アーム522Rを、時計回り方向に揺動させる。そして、上下一対のガイドロール62R、63Rを、ワーク(図11のマンドレル61Rに環装されている)外周面に当接させる。
また、図7に示すように、モータ41を駆動し、回転軸43つまりメインロール60を回転させる。それから、図9に示すように、モータ310を駆動し、ナット部313を右方に移動させる。そして、揺動部32つまりメインロール60を、揺動軸322を中心に、右側(時計回り方向)に揺動させ、メインロール60をワークW2外周面に当接させる。このようにして、図12(a)に示す位置関係になるように、ワークW2をセットする。モータ41によるメインロール60の回転に伴い、ワークW2、マンドレル61R、一対のガイドロール62R、63Rも、従動的に回転する。
それから、揺動部32つまりメインロール60を、さらに右側(時計回り方向)に揺動させる。メインロール60を揺動させると、メインロール60とマンドレル61Rとの間隔Cが狭くなる。このため、ワークW2の径方向肉厚は、徐々に薄くなる。並びに、ワークW2は、徐々に大径化する。ここで、上下一対のガイドロール62R、63Rは、ワークW2外周面に圧接するように、図11に示す油圧シリンダ520Rにより、約1tonの荷重で付勢されている。一方、メインロール60は、ワークW2外周面に圧接するように、図9に示すモータ310により、約20tonの荷重で付勢されている。このように、上下一対のガイドロール62R、63Rと、メインロール60と、は共にワークW2外周面に圧接しているものの、その付勢力には差がある。このため、図12(b)に示すように、ワークW2の大径化に伴い、上下一対のガイドロール62R、63Rは、油圧シリンダ520Rの付勢力に抗して、右側に移動する。
図12(b)、図13に強調して示すように、圧延工程においては、ワークW2の径方向内側に、ワークW2内周面から剥がれたスケールSなどが発生する。しかしながら、ワークW2の軸方向は、前後方向(水平方向)を向いている。並びに、ワークW2の軸方向両端の開口W20、W21は、前後方向に開放されている。このため、発生したスケールSなどは、開口W20、W21を介して、速やかにワークW2の径方向内側から外部に放出される。
並びに、図12(b)に示すように、スケールSなどが堆積しがちなワークW2下側部分A1から、ワークW2の圧接部分A2は、上方に離間している。このため、圧接部分A2(具体的にはマンドレル61R外周面とワークW2内周面との間)にスケールSなどが噛み込まれにくい。
本工程においては、このようにして、ワークW2から中間第一製品W3を作製する。なお、以上の説明においては、右側のマンドレル61Rとメインロール60とを用いてワークW2を圧延する場合について説明した。しかしながら、左側のマンドレル61Lとメインロール60とを用いてワークW2を圧延する場合も、メインロール60の揺動方向が左側(反時計回り方向)になる以外は、同様である。
右側のマンドレル61Rとメインロール60とを用いてワークW2を圧延している間、左側のマンドレル61LにワークW2をセットすることができる。あるいは、左側のマンドレル61Lから中間第一製品W3を払い出すことができる。反対に、左側のマンドレル61Lとメインロール60とを用いてワークW2を圧延している間、右側のマンドレル61RにワークW2をセットすることができる。あるいは、右側のマンドレル61Rから中間第一製品W3を払い出すことができる。このため、ローリングミル装置は、継続的にワークW2を圧延し続けることができる。
<作用効果>
次に、本実施形態のローリングミル装置の作用効果について説明する。本実施形態のローリングミル装置1によると、図9に示すように、不動の一対のマンドレル61L、61Rに対して、単一のメインロール60を、交互に近接させている。このため、不動のメインロールに対して一対のマンドレルを近接させる場合と比較して、マンドレル61L、61Rとメインロール60との間隔を狭めるために必要な移動装置が、一つで済む。すなわち、単一のメインロール移動装置3により、マンドレル61L、61Rとメインロール60との間隔を交互に狭めることができる。したがって、複数の移動装置(特許文献1の場合だとマンドレル移動装置)を有する従来のローリングミル装置と比較して、構造が簡単になる。また、メインロール移動方向の全長が短くなり、ローリングミル装置1を小型化できる。
また、本実施形態のローリングミル装置1によると、図13に示すように、マンドレル61Rにより、前後方向(水平方向)にワークW2を支持している。このため、スケールSなどを、開口W20、W21を介して、ワークW2の径方向内側から外部に放出することができる。したがって、ワークW2の径方向内側に、スケールSなどが堆積しにくい。すなわち、スケールSなどが、マンドレル61RとワークW2内周面との間に噛み込まれにくい。よって、ワークW2の内周面に圧痕が形成されにくい。
また、本実施形態のローリングミル装置1によると、ワークW2は、マンドレル61Rとメインロール60とにより、左右方向(水平方向)両側から、挟持される。このため、図12(b)に示すように、スケールSなどが堆積しがちなワークW2下側部分A1から、ワークW2の圧接部分A2が、上方に離間している。したがって、この点においても、スケールSなどが、マンドレル61RとワークW2内周面との間に噛み込まれにくい。
また、本実施形態のローリングミル装置1によると、図9に示すように、左右一対のマンドレル61L、61Rに対して、メインロール60を、交互に近接させることができる。このため、一方のマンドレル61L(61R)とメインロール60とでワークW2を圧延する間に、他方のマンドレル61R(61L)に、ワークW2をセットすることができる。あるいは、他方のマンドレル61R(61L)から、中間第一製品W3を払い出すことができる。したがって、ワークW2のセット、あるいは中間第一製品W3の払い出しに伴うダウンタイムを、削減することができる。
また、本実施形態のローリングミル装置1によると、図1に示すように、加熱工程S1を経て加熱されたワークW2に対して、圧延工程S3が実行される。このため、圧延工程S3におけるワークW2の変形抵抗が小さくなる。したがって、ワークW2の加工性が向上する。
また、本実施形態のローリングミル装置1には、上下一対のガイドロール62L、63L、62R、63Rが配置されている。このため、ワークW2の上下方向のおどりを抑制することができる。また、ワークW2の前後方向のぶれを抑制することができる。
また、本実施形態のローリングミル装置1によると、ボールねじ機構部31がワークW2の上方に配置されている。このため、ワークW2からボールねじ機構部31に、スケール等が落下するおそれがなく、ボールねじ機構部31に不具合が発生しにくい。
<その他>
以上、本発明のローリングミル装置1の実施の形態について説明した。しかしながら、実施の形態は上記形態に特に限定されるものではない。当業者が行いうる種々の変形的形態、改良的形態で実施することも可能である。
例えば、上記実施形態のローリングミル装置1においては、メインロール60の回転軸43、マンドレル61L、61Rを、前後方向(水平方向)に沿って配置した。しかしながら、メインロール60の回転軸43、マンドレル61L、61Rを、上下方向(垂直方向)に沿って配置してもよい。この場合であっても、従来のローリングミル装置と比較して、構造が簡単になる。また、メインロール移動方向の全長が短くなり、ローリングミル装置1を小型化できる。
また、上記実施形態のローリングミル装置1においては、メインロール60を挟んで、左側にマンドレル61L、ガイドロール62L、63Lを、右側にマンドレル61R、ガイドロール62R、63Rを、それぞれ配置した。しかしながら、マンドレル、ガイドロールの配置数は特に限定しない。メインロール、マンドレルを、上下方向に沿って配置する場合、メインロールを中心とする円弧上に、略120°ずつ離間して三つのマンドレルを配置してもよい。あるいは、メインロールを中心とする円弧上に、略90°ずつ離間して四つのマンドレルを配置してもよい。
また、ガイドロール62L、63L、62R、63Rの構造、駆動機構は、上記実施形態の構造、駆動機構に限定しない。また、メインロール60、ガイドロール62L、63L、62R、63RのワークW2に対する付勢荷重は、ワークW2の仕様(寸法など)に応じて適宜変更可能である。
また、上記実施形態のローリングミル装置1においては、一対のガイドレール214R、215Rに対して、可動部材51Rだけを摺動可能とした。並びに、一対のガイドレール214L、215Lに対して、可動部材51Lだけを摺動可能とした。しかしながら、可動部材51R、51Lのみならず、固定部材50R、50Lを摺動可能としてもよい。また、ワークW2の軸方向両端を成形するために、エッジロールを配置してもよい。また、上記実施形態においては、リングギア製造用として本発明のローリングミル装置1を用いた。しかしながら、本発明のローリングミル装置1は、リング状のあらゆる鍛造品を製造するのに用いることができる。
リングギアの製造方法の工程図である。 本発明の一実施形態となるローリングミル装置の斜視図を示す。 同ローリングミル装置の上面図である。 同ローリングミル装置の透過斜視図である。 同ローリングミル装置の分解斜視図である。 同ローリングミル装置のフレームの斜視図である。 同ローリングミル装置のメインロール移動装置およびメインロール回転装置の斜視図である。 同ローリングミル装置の一対のワーク支持装置の分解斜視図である。 同ローリングミル装置の透過模式前面図である。 同ローリングミル装置の左側から見た前後方向断面図である。 図9の枠XI内の拡大図である。 (a)は圧延工程前期のメインロールとマンドレルと一対のガイドロールとワークとの模式前面図である。(b)は圧延工程後期のメインロールとマンドレルと一対のガイドロールとワークとの模式前面図である。 圧延工程後期のメインロールとマンドレルと一対のガイドロールとワークとの模式斜視図である。
符号の説明
1:ローリングミル装置、2:フレーム、3:メインロール移動装置、4:メインロール回転装置、5L:ワーク支持装置、5R:ワーク支持装置。
20:基部、21L:棚部、21R:棚部、22:ビーム、23:ビーム、24:揺動軸支持ブロック、30:ブラケット、31:ボールねじ機構部、32:揺動部、40:ブラケット、41:モータ、41a:駆動軸、42:ギアボックス、43:回転軸、50L:固定部材、50R:固定部材、51L:可動部材、51R:可動部材、52L:ガイドロール駆動部、52R:ガイドロール駆動部、60:メインロール、61L:マンドレル、61R:マンドレル、62L:ガイドロール、62R:ガイドロール、63L:ガイドロール、63R:ガイドロール。
210L:仕切壁、210R:仕切壁、211L:仕切壁、211R:仕切壁、212L:前壁、212R:前壁、213L:シリンダ収容部、213R:シリンダ収容部、214L:ガイドレール、214R:ガイドレール、240:支持孔、300:モータ収容箱支持ブロック、310:モータ、310a:駆動軸、311:モータ収容箱、311a:モータ収容箱揺動軸、312:ボールねじ部、313:ナット部、313a:ボールねじ部挿通孔、313b:揺動部揺動軸、320a:連結ブロック、320b:連結ブロック、321:揺動アーム、321a:揺動軸固定孔、321b:回転軸挿通孔、322:揺動軸、500L:係合部、500R:係合部、501L:係合部、501R:係合部、502L:マンドレル収容凹部、502R:マンドレル収容凹部、510L:被ガイド部、510R:被ガイド部、511L:被ガイド部、511R:被ガイド部、512L:ブラケット、512R:ブラケット、513L:シリンダ支持ブロック、513R:シリンダ支持ブロック、514L:シリンダ支持ブロック、514R:シリンダ支持ブロック、515L:油圧シリンダ、515R:油圧シリンダ、516L:シリンダ本体、516R:シリンダ本体、517L:ピストンロッド、517R:ピストンロッド、518L:エンド部材、518R:エンド部材、520L:油圧シリンダ、520R:油圧シリンダ、521L:上方ガイドロール用アーム、521R:上方ガイドロール用アーム、522L:下方ガイドロール用アーム、522R:下方ガイドロール用アーム、523L:連結アーム、523R:連結アーム、524L:シリンダ揺動軸、524R:シリンダ揺動軸、525L:シリンダ揺動軸、525R:シリンダ揺動軸、526R:シリンダ本体、527R:ピストンロッド。
A1:下側部分、A2:圧接部分、C:間隔、S:スケール、S1:加熱工程、S2:荒地プレス工程、S3:圧延工程、S4:仕上げプレス工程、W1:ビレット、W2:ワーク、W20:開口、W21:開口、W3:中間第一製品、W4:中間第二製品。

Claims (4)

  1. 自身の軸周りに回転可能な単一のメインロールと、該メインロールの径方向外側に配置されリング状のワークが環装される複数のマンドレルと、を備えてなり、該メインロールと該マンドレルとの間隔を狭めることにより該ワークの径方向肉厚を薄くするローリングミル装置であって、
    前記ワークの加工時において、複数の前記マンドレルは不動であり、
    さらに、複数の該マンドレルの各々に対して、前記メインロールを近接させるメインロール移動装置を備えることを特徴とするローリングミル装置。
  2. 前記メインロールの回転軸および複数の前記マンドレルは、略水平方向に延在しており、
    前記ワークの軸方向両端のうち、少なくとも一方は、外部に開放されている請求項1に記載のローリングミル装置。
  3. 前記メインロールの回転軸と複数の前記マンドレルとは、略水平方向に並んで配置されている請求項2に記載のローリングミル装置。
  4. 熱間鍛造に用いられる請求項1ないし請求項3のいずれかに記載のローリングミル装置。
JP2008235441A 2008-09-12 2008-09-12 ローリングミル装置 Active JP5008626B2 (ja)

Priority Applications (1)

Application Number Priority Date Filing Date Title
JP2008235441A JP5008626B2 (ja) 2008-09-12 2008-09-12 ローリングミル装置

Applications Claiming Priority (1)

Application Number Priority Date Filing Date Title
JP2008235441A JP5008626B2 (ja) 2008-09-12 2008-09-12 ローリングミル装置

Publications (2)

Publication Number Publication Date
JP2010064134A true JP2010064134A (ja) 2010-03-25
JP5008626B2 JP5008626B2 (ja) 2012-08-22

Family

ID=42190179

Family Applications (1)

Application Number Title Priority Date Filing Date
JP2008235441A Active JP5008626B2 (ja) 2008-09-12 2008-09-12 ローリングミル装置

Country Status (1)

Country Link
JP (1) JP5008626B2 (ja)

Cited By (4)

* Cited by examiner, † Cited by third party
Publication number Priority date Publication date Assignee Title
JP2012040587A (ja) * 2010-08-19 2012-03-01 Kurimoto Ltd リングローリングミル
CN106540963A (zh) * 2016-01-12 2017-03-29 成都成化机械制造有限公司 错位轧环工艺
JP6927469B1 (ja) * 2020-12-03 2021-09-01 株式会社コタニ リングギヤとピニオンギヤの製造方法
EP3885059A1 (en) 2020-03-25 2021-09-29 Zarmen FPA Sp. z o.o. Method of and assembly for forming seamless rings by process of ring rolling

Citations (3)

* Cited by examiner, † Cited by third party
Publication number Priority date Publication date Assignee Title
JPS5825834A (ja) * 1981-07-31 1983-02-16 Toyota Motor Corp 熱間リングロ−リングミル装置
JPH0225236A (ja) * 1988-07-12 1990-01-26 Ishikawajima Harima Heavy Ind Co Ltd リング圧延機
JPH11169988A (ja) * 1997-12-09 1999-06-29 Kanai Hiroaki リング状素材のロール成形装置

Patent Citations (3)

* Cited by examiner, † Cited by third party
Publication number Priority date Publication date Assignee Title
JPS5825834A (ja) * 1981-07-31 1983-02-16 Toyota Motor Corp 熱間リングロ−リングミル装置
JPH0225236A (ja) * 1988-07-12 1990-01-26 Ishikawajima Harima Heavy Ind Co Ltd リング圧延機
JPH11169988A (ja) * 1997-12-09 1999-06-29 Kanai Hiroaki リング状素材のロール成形装置

Cited By (5)

* Cited by examiner, † Cited by third party
Publication number Priority date Publication date Assignee Title
JP2012040587A (ja) * 2010-08-19 2012-03-01 Kurimoto Ltd リングローリングミル
CN106540963A (zh) * 2016-01-12 2017-03-29 成都成化机械制造有限公司 错位轧环工艺
CN106540963B (zh) * 2016-01-12 2018-03-20 成都成化机械制造有限公司 错位轧环工艺
EP3885059A1 (en) 2020-03-25 2021-09-29 Zarmen FPA Sp. z o.o. Method of and assembly for forming seamless rings by process of ring rolling
JP6927469B1 (ja) * 2020-12-03 2021-09-01 株式会社コタニ リングギヤとピニオンギヤの製造方法

Also Published As

Publication number Publication date
JP5008626B2 (ja) 2012-08-22

Similar Documents

Publication Publication Date Title
JP5008626B2 (ja) ローリングミル装置
JP7092679B2 (ja) 工作機械及びマイクロファクトリ
JP4169162B1 (ja) ボールジョイントの製造装置および製造方法
JP3186426U (ja) プレス機械
EP1974842A1 (en) Floating chuck mechanism
JP2013500164A (ja) 直接駆動されるクランク機構を備えたプレス
CN107107513B (zh) 用于压机的压机驱动装置以及带有压机驱动装置的压机
US20050040775A1 (en) Punch press
JP2013052428A (ja) プレス装置
JP7452486B2 (ja) プレス加工方法及び機械装置の製造方法
JP7001401B2 (ja) ローラヘミング装置
JP6215884B2 (ja) 加工ユニットおよび加工装置
JP5239933B2 (ja) 金属製リング状部品の製造方法
JP3464666B2 (ja) パイプ材の凹み加工方法およびその装置
JP5545350B2 (ja) 金属製部品の塑性加工装置
JP4637631B2 (ja) クロージング加工方法及びクロージング加工機
JP2010184269A (ja) 回転型塑性加工装置
JP2002059236A (ja) 転造装置および転造加工方法
KR20180072197A (ko) 차량 변속기용 부품의 스플라인 성형 장치
JP4149359B2 (ja) 鍛造装置
JP2005329424A (ja) ボトル缶製造装置
JP2008238218A (ja) フォージングロール
JP2014054644A (ja) 中空材の転造加工方法
JP5161292B2 (ja) フォージングロール
JP7243254B2 (ja) プーリの製造方法及び製造装置

Legal Events

Date Code Title Description
A621 Written request for application examination

Free format text: JAPANESE INTERMEDIATE CODE: A621

Effective date: 20100617

A977 Report on retrieval

Free format text: JAPANESE INTERMEDIATE CODE: A971007

Effective date: 20120308

TRDD Decision of grant or rejection written
A01 Written decision to grant a patent or to grant a registration (utility model)

Free format text: JAPANESE INTERMEDIATE CODE: A01

Effective date: 20120522

A01 Written decision to grant a patent or to grant a registration (utility model)

Free format text: JAPANESE INTERMEDIATE CODE: A01

A61 First payment of annual fees (during grant procedure)

Free format text: JAPANESE INTERMEDIATE CODE: A61

Effective date: 20120529

R150 Certificate of patent or registration of utility model

Ref document number: 5008626

Country of ref document: JP

Free format text: JAPANESE INTERMEDIATE CODE: R150

Free format text: JAPANESE INTERMEDIATE CODE: R150

FPAY Renewal fee payment (event date is renewal date of database)

Free format text: PAYMENT UNTIL: 20150608

Year of fee payment: 3

R250 Receipt of annual fees

Free format text: JAPANESE INTERMEDIATE CODE: R250

R250 Receipt of annual fees

Free format text: JAPANESE INTERMEDIATE CODE: R250

R250 Receipt of annual fees

Free format text: JAPANESE INTERMEDIATE CODE: R250

R250 Receipt of annual fees

Free format text: JAPANESE INTERMEDIATE CODE: R250

R250 Receipt of annual fees

Free format text: JAPANESE INTERMEDIATE CODE: R250

R250 Receipt of annual fees

Free format text: JAPANESE INTERMEDIATE CODE: R250

R250 Receipt of annual fees

Free format text: JAPANESE INTERMEDIATE CODE: R250

R250 Receipt of annual fees

Free format text: JAPANESE INTERMEDIATE CODE: R250

R250 Receipt of annual fees

Free format text: JAPANESE INTERMEDIATE CODE: R250

R250 Receipt of annual fees

Free format text: JAPANESE INTERMEDIATE CODE: R250

R250 Receipt of annual fees

Free format text: JAPANESE INTERMEDIATE CODE: R250