JP2010063564A - コンパクト容器 - Google Patents

コンパクト容器 Download PDF

Info

Publication number
JP2010063564A
JP2010063564A JP2008231680A JP2008231680A JP2010063564A JP 2010063564 A JP2010063564 A JP 2010063564A JP 2008231680 A JP2008231680 A JP 2008231680A JP 2008231680 A JP2008231680 A JP 2008231680A JP 2010063564 A JP2010063564 A JP 2010063564A
Authority
JP
Japan
Prior art keywords
cosmetic dish
side wall
lid
dish
pair
Prior art date
Legal status (The legal status is an assumption and is not a legal conclusion. Google has not performed a legal analysis and makes no representation as to the accuracy of the status listed.)
Granted
Application number
JP2008231680A
Other languages
English (en)
Other versions
JP5241389B2 (ja
Inventor
Yuzo Yoshida
雄三 吉田
Yasuko Nakajima
靖子 中島
Current Assignee (The listed assignees may be inaccurate. Google has not performed a legal analysis and makes no representation or warranty as to the accuracy of the list.)
Yoshida Industry Co Ltd
Original Assignee
Yoshida Industry Co Ltd
Priority date (The priority date is an assumption and is not a legal conclusion. Google has not performed a legal analysis and makes no representation as to the accuracy of the date listed.)
Filing date
Publication date
Application filed by Yoshida Industry Co Ltd filed Critical Yoshida Industry Co Ltd
Priority to JP2008231680A priority Critical patent/JP5241389B2/ja
Publication of JP2010063564A publication Critical patent/JP2010063564A/ja
Application granted granted Critical
Publication of JP5241389B2 publication Critical patent/JP5241389B2/ja
Expired - Fee Related legal-status Critical Current
Anticipated expiration legal-status Critical

Links

Images

Landscapes

  • Closures For Containers (AREA)

Abstract

【課題】左右側壁部を外方から押圧操作することで、容器本体と蓋体との係合状態を解除可能なコンパクト容器において、開閉時の操作性を安定させることができ、組み付け性を良好にし、生産性も良好にすることができるコンパクト容器を提供する。
【解決手段】後壁部21に蓋体3が回動自在に連結された容器本体2の左右両側それぞれに、外方からの押圧操作により、内方へ向けて弾性変形可能な一対の側壁部23、24を形成し、これら一対の側壁部の間に、前後方向スライド自在に化粧料皿4を嵌着し、化粧料皿と蓋体との間に、これら化粧料皿と蓋体とを係脱自在に係合して容器本体の閉蓋状態を保持し、化粧料皿のスライド移動によって、その係合を解除するフック部が設けられるとともに、化粧料皿に、一対の側壁部それぞれに面して、側壁部への押圧操作によって化粧料皿を後方へスライド移動させる一対の操作片42を一体形成した。
【選択図】図4

Description

本発明は、左右側壁部を外方から押圧操作することで、容器本体と蓋体との係合状態を解除可能なコンパクト容器において、開閉時の操作性を安定させ、組み付け性を良好にし、生産性も良好なコンパクト容器に関する。
従来、容器本体の両側壁部の外方からの押圧操作で、蓋体を開放するコンパクト容器として、例えば特許文献1が知られている。
特許文献1のコンパクト容器は、容器本体の底壁部に、側壁部の長さ方向に沿って形成されるスリットにより、側壁部が容器本体内方へ押圧操作可能に弾性変形される。他方、容器本体には、その内部に中皿が収納され、中皿で覆われた底壁部には溝部が形成され、溝部には薄板状のスライドピースが設けられる。スライドピースは、弾性変形された側壁部によって押圧操作されることで、溝部内でスライド移動される。そして、スライドピースの前端側に形成され、スライドピースのスライド移動に応じて前後方向に移動する係合部が、蓋体に設けられる突起に係脱自在に係合されて、容器本体と蓋体とを係合する。
特開2007−289290号公報
ところで、背景技術にあっては、蓋体と容器本体とを係脱自在に係合するために、容器本体と中皿としての化粧料皿との間に、その前端部に係合部を形成したスライドピースが、別部品として組みこまれている。これにより、コンパクト容器の部品点数が多くなり、操作の際に安定感がないという課題があった。また、製造が繁雑になるという課題もあった。
本発明は上記従来の課題に鑑みて創案されたものであって、左右側壁部を押圧操作することで、容器本体と蓋体との係合状態を解除可能なコンパクト容器において、開閉時の操作性を安定させ、組み付け性を良好にし、生産性も良好なコンパクト容器を提供することを目的とする。
本発明にかかるコンパクト容器は、後壁部に蓋体が回動自在に連結された容器本体の左右両側それぞれに、外方からの押圧操作により、内方へ向けて弾性変形可能な一対の側壁部を形成し、これら一対の側壁部の間に、前後方向スライド自在に化粧料皿を嵌着し、該化粧料皿と該蓋体との間に、これら化粧料皿と蓋体とを係脱自在に係合して該容器本体の閉蓋状態を保持し、該化粧料皿のスライド移動によって、その係合を解除するフック部が設けられるとともに、上記化粧料皿には、上記一対の側壁部それぞれに面して、該側壁部への押圧操作によって該化粧料皿をスライド移動させる一対の操作片を一体形成することを特徴とする。
前記側壁部は、これら左右の側壁部に対応させて、それぞれの長さ方向に沿って該容器本体の底壁部に形成される一対のスリットにより弾性変形可能に形成されることを特徴とする。
前記化粧料皿と、前記容器本体の前記後壁部および前記前壁部のいずれかとの間には隙間が形成され、該隙間内には、前方若しくは後方へスライド移動した該化粧料皿により弾性変形され、その弾性復原力によって該化粧料皿を元の位置へ押し戻す弾性変形部材が設けられることを特徴とする。
前記蓋体には、その前端に前記容器本体の前記前壁部全体をその前方から覆う垂下前壁部が形成されたことを特徴とする。
本発明にかかるコンパクト容器にあっては、左右側壁部を外方から押圧操作することで、容器本体と蓋体との係合状態を解除可能なコンパクト容器において、開閉時の操作性を安定させることができ、組み付け性を良好にし、生産性も良好にすることができる。
以下に、本発明にかかるコンパクト容器の好適な一実施形態を、添付図面を参照して詳細に説明する。本実施形態にかかるコンパクト容器1は基本的には、図1〜図13に示すように、後壁部21に蓋体3が回動自在に連結された容器本体2の左右両側それぞれに、外方からの押圧操作により、内方へ向けて弾性変形可能な一対の側壁部23、24を形成し、これら一対の側壁部23、24の間に、前後方向スライド自在に化粧料皿4を嵌着し、化粧料皿4と蓋体3との間に、これら化粧料皿4と蓋体3とを係脱自在に係合して容器本体2の閉蓋状態を保持し、化粧料皿4のスライド移動によって、その係合を解除するフック部が設けられるとともに、化粧料皿4に、一対の側壁部23、24それぞれに面して、側壁部23、24への押圧操作によって化粧料皿4をスライド移動させる一対の操作片42を一体形成して構成される。
側壁部23、24は、これら左右の側壁部23、24に対応させて、それぞれの長さ方向に沿って容器本体2の底壁部25に形成される一対のスリット27により弾性変形可能に形成される。
化粧料皿4と、容器本体2の後壁部21および前壁部22のいずれかとの間には隙間Sが形成され、隙間S内には、前方もしくは後方へスライド移動した化粧料皿4により弾性変形し、その弾性復原力によって化粧料皿4を元の位置へ押し戻す弾性変形部材が設けられる。
蓋体3には、その前端に容器本体2の前壁部22全体をその前方から覆う垂下前壁部31が形成される。
コンパクト容器1は主に、容器本体2と、蓋体3と、容器本体2内部に収納される化粧料皿4とからなる。容器本体2は合成樹脂材で形成される。容器本体2には、底壁部25の周縁にその周方向に沿って、前壁部22、後壁部21、および左右の側壁部23、24としての周側壁部20が立設される。図示例にあっては、容器本体2は、前壁部22および後壁部21に対して、左右の側壁部23、24の長さが長く、その平面外形輪郭が縦長の長方形状に形成される。容器本体2は縦長の長方形状に限られず、正方形などその他の形状であっても良い。周側壁部20の上端には、これより内方に延設される上縁部が形成される。
容器本体2には、蓋体3が回動自在に連結される。蓋体3は合成樹脂材で形成され、天板32の周縁にその周方向に沿って環状周壁部30が立設されて、容器本体2に合致する平面外形輪郭で皿状に形成される。蓋体3もまた縦長の長方形状に限られず、正方形などその他の形状であっても良い。天板32の裏面には、板状の鏡33が取り付けられる。蓋体3には、その前端に容器本体2の前壁部22全体をその前方から覆う垂下前壁部31が形成される。
容器本体2の後壁部21には、左右方向両端からそれぞれ後方へ突出させて、一対のヒンジ片50が形成される。ヒンジ片50の間には凹所53が形成される。また蓋体3の環状周壁部30には、これより凹所53内に垂下させて、ヒンジブロック51が形成される。そしてこれらヒンジブロック51とヒンジ片50との間には、それぞれヒンジピン54が挿入される。これによりヒンジ片50にヒンジブロック51が回動自在に連結されて、容器本体2を開閉すべく蓋体3が回動されるようになっている。
ヒンジブロック51と後壁部21との間には、蓋体3を開放方向へ付勢する弾性変形可能な付勢部材52が配設される。より具体的には、後壁部21の略中央に凹所53に面して、後壁部21を前後方向に貫通させた装着部21aが形成され、装着部21a内に付勢部材52が装着される。付勢部材52はゴム材で形成される。付勢部材52は、装着部21a内に装着される中央部が肉薄に形成され、これより前方へ突出させて、前部52aが肉厚に形成される。また、装着部21a内の中央部から凹所53内に突出させて、後部52bが形成される。後部52bは、その前後巾が、凹所53内に配設されたヒンジブロック51と後壁部21との間に形成される間隙S2よりも、肉厚に形成されている。これにより、閉蓋状態では、後部52bは、凹所53内でヒンジブロック51により圧縮されており、後述するフック部の係合を解除して、閉蓋状態が解除されると、蓋体3が開放方向に向けて付勢される。なお、付勢部材52はゴム製に限られず、蓋体3を付勢するものであれば、例えば、金属製や合成樹脂製のスプリングバネ、その他のバネなど一般周知のものでよい。
容器本体2には、周側壁部20に取り囲まれて化粧料皿収納部5が形成される。化粧料皿収納部5には化粧料皿4が収納される。化粧料皿4は合成樹脂材で形成される。化粧料皿4には、前後方向2ヶ所に化粧料やパフなどの化粧具を収納するための前皿部43、および後皿部44が凹設される。他方、化粧料皿4には、前皿部43および後皿部44の周縁から、これらを取り囲むような形状の枠部45が形成される。枠部45は、その周縁部が容器本体2の周側壁部20の上縁部よりも小さく、かつ、周側壁部20の上縁部に重ねあわされる程度の大きさに形成される。これにより、化粧料皿4を化粧料皿収納部5に収納した状態で、枠部45の周縁部の下面が、容器本体2の周側壁部20の上縁部に当接するようになっている。
化粧料皿4は、皿部43、44の前後方向の長さが、化粧料皿収納部5の前後方向の長さよりも短く形成されている。これにより、化粧料皿4は、化粧料皿収納部5内を前後方向にスライド自在に移動可能となる。
化粧料皿収納部5には、底壁部25より立ち上げて嵌合部28が形成される。嵌合部28は、左側壁部23および右側壁部24にそれぞれ近接させて前後2ヶ所ずつに形成される。嵌合部28には、その上端より内方に突出させて嵌合片28aが形成される。底壁部25の左右方向中央には、前後方向に沿って適宜な長さの案内片26が突出形成される。
前皿部43および後皿部44には、それぞれの左右両側壁の外面に、これより外方へむけて、嵌合部28に係止される係止部47が突設される。化粧料皿4は、係止部47が嵌合部28の嵌合片28aを乗り越えてこれに係止されることによって、左右側壁部23、24間の化粧料皿収納部5内に嵌着される。
また、化粧料皿4には、その底面に、後述するフック41の前後方向略中央から、前皿部43および後皿部44に亘って、案内片26に嵌め合わされて、化粧料皿4の前後移動を案内する案内溝46が刻設される。
容器本体2には、その前壁部22に、これを前後方向に貫通する孔部22aが形成される。化粧料皿4の前端部40には、前皿部43の前壁の外面から前方へ突出させて、孔部22aに挿抜自在に挿入されるフック41が形成される。化粧料皿収納部5内で化粧料皿4が前方にスライド移動すると、フック41が孔部22aを介して前壁部22の外側へ突出する。他方、蓋体3の垂下前壁部31には、容器本体2の前壁部22に面する裏面に、孔部22aから突出したフック41と係脱自在に係合する凹溝状の係合部31aが形成される。化粧料皿収納部5内で化粧料皿4が前方へスライド移動すると、フック41が前壁部22を介して係合部31aと係合する。フック41と係合部31aによりフック部が構成され、このフック部が係合状態を維持することによって閉蓋状態が保持される。
容器本体2の左右両側壁部23、24は、外方からの押圧操作により、内方へ向けて弾性変形可能に形成される。図示例にあっては、容器本体2の底壁部25に、その嵌合部28と左右の側壁部23、24との間に位置させて、側壁部23、24それぞれの長さ方向ほぼ全長に亘って、一対のスリット27が形成されている。これにより、左右の側壁部23、24は、弾性変形可能に変形されることとなる。
化粧料皿4には、容器本体2の左右の側壁部23、24それぞれに面して、側壁部23、24への押圧操作によって、化粧料皿4を後方へスライド移動させる、一対の操作片42が形成される。操作片42は、その前端が前皿部43の後壁外面に接合されて、化粧料皿4に一体的に形成される。また、操作片42の後端部は、後皿部44の側壁に沿うように、後方へ向かって湾曲させて形成されている。これにより、操作片42には、その前端から後方にいくに従って、側壁部23、24に向かって次第に近接し、後端がこれら側壁部23、24に当接する傾斜面42aが形成される。押圧操作された側壁部23、24が、傾斜面42aに当接しつつ内方へ弾性変形すると、側壁部23、24が傾斜面42aを押圧し、これにより操作片42には後方へ移動する操作力が発生し、これに伴って、操作片42を介して化粧料皿4が後方へスライド移動する。
化粧料皿4と、後壁部21および前壁部22のいずれかとの間には、適宜な間隔の隙間Sが形成される。隙間S内には、後方へスライド移動した化粧料皿4により弾性変形し、その弾性復原力によって、化粧料皿4を押圧操作前の元の位置へ押し戻す弾性変形部材が設けられる。
図示例にあっては、後皿部44の後壁と、容器本体2の後壁部21との間に隙間Sが形成されており、隙間S内に弾性変形部材としての弓形状バネ60が一対配設されている。各弓形状バネ60は、その前端部が、後皿部44の後壁外面に接合されて、化粧料皿4に一体的に形成される。また、弓形状バネ60は、その前端部から後端部61にかけて、後方へ向かって緩やかに湾曲する弓状に形成される。側壁部23、24の押圧操作により、化粧料皿4が後方へスライド移動して隙間Sの領域が狭まると、一対の弓形状バネ60は、その後端部61が容器本体2の後壁部21に当接しつつ、隙間S内で弾性変形される。そして、側壁部23、24の押圧操作を解除すると、後端部61が後壁部21に反力をとって、弓形状バネ60は隙間S内で弾性復原し、これによって、化粧料皿4を元の位置まで前方へスライド移動させる。
次に、本実施形態にかかるコンパクト容器1の作用を説明する。コンパクト容器1を製作するにあっては、係止部47を嵌合部28の嵌合片28aに係止させて、化粧料皿収納部5内に化粧料皿4を前後方向スライド自在に嵌着する。そして、後壁部21の装着部21aへ付勢部材52を嵌着した上で、ヒンジブロック51とヒンジ片50にヒンジピン54を連通して、容器本体2に蓋体3を回動自在に連結する。
蓋体3を開放するにあっては、コンパクト容器1を下から支えるように片手で持ち、左右の側壁部23、24を手指などで押圧する。この押圧操作の際には、左右の側壁部23、24の前後方向略中央よりも手前側、つまりは傾斜面42aよりも手前側を押圧するのが望ましい。すると、傾斜面42aの手前側で内方へ押圧された側壁部23、24が、傾斜面42aを介して操作片42をそれぞれ押圧して、化粧料皿4が後方へスライド移動する。これに伴い、フック41も後方へスライド移動し、これと係合部31aとの係合が解除される。係合が解除されると、ヒンジブロック51で圧縮されていた付勢部材52の後部52aが復原し、蓋体3が開放される。
他方、化粧料皿4が後方へスライド移動したことによって、隙間S内の弓形状バネ60は、その後端部61が後壁部21に当接して弾性変形する。側壁部23、24の押圧操作を解除すると、隙間S内の弓形状バネ60が復原する。これに伴って、側壁部23、24を押圧操作する前の元の位置まで、化粧料皿4が前方へスライド移動する。
蓋体3を閉止するにあっては、手指などで蓋体3を上方から押圧する。すると、フック41が、係合部31aに押圧されて化粧料皿4とともに後方へ移動し、フック4が、係合部31aを乗り越えてこれに係合される。
上記コンパクト容器1は、背景技術のように、フック機能を有し、前後方向にスライド移動するスライドピースを別部品として設けたコンパクト容器に比べて、化粧料皿4自体に、フック41と操作片42を形成したことによって、側壁部23、24を押圧操作すれば、その押圧力が側壁部23、24から、操作片42を介して化粧料皿4にへ直接作用するため、開蓋などの操作性を安定することができる。
これに加えて、フック41と操作片42とを化粧料皿4に一体成形したことによって、容器本体2、蓋体3および化粧料皿4という、コンパクト容器1の基本構成部品のみで開蓋操作を行うことができるため、上述のスライドピースなどの構成部品が必要なく、部品点数を少なくでき、組み付け性を良くすることができるとともに、製造コストを削減できることで生産性を良くすることもできる。
本実施形態では、一対の側壁部23、24を、これらそれぞれに対応させたスリット27を形成することによって弾性変形可能にしたが、側壁部23、24が弾性変形可能に形成されていれば、上記のような構成でなくても良い。例えば、側壁部23、24を可撓性に富んだ合成樹脂材で形成することなどによって、弾性変形可能に形成してもよい。しかしながら、本実施形態のように、一対のスリット27によって、弾性変形可能な側壁部23、24を形成することで、比較的硬質な合成樹脂材などをも用いることが可能となる。これによって、意匠性の優れた高級感のあるコンパクト容器を製作することができる。
さらに、本実施形態にあっては、一対のスリット27は、側壁部23、24それぞれの長さ方向ほぼ全長に亘って形成されている。これにより、側壁部23、24が柔軟に弾性変形することができ、軽い押圧力であっても、容易に開蓋操作することができる。
弾性変形部材を、化粧料皿4と容器本体2の後壁部21の間に設けたことによって、側壁部23、24への押圧操作を解除すれば、化粧料皿4を元の位置へ押し戻すことができ、確実な閉蓋操作が可能となる。これに加えて、本実施形態では、弓形状バネ60を化粧料皿4と一体的に形成したので、上記同様、操作の安定性を確保でき、部品点数を少なくして、組み付け性、生産性を向上させることができる。
本実施形態では、蓋体3に垂下前壁部31を設けるようにしている。これによって閉蓋時には、垂下前壁部31が容器本体2の前壁部22全体を覆うこととなり、コンパクト容器1全体の外観を良好にすることができる。これに加えて、フック41を化粧料皿4の前端部40に形成し、容器本体2の前壁部22の孔部22aから突出させたことで、化粧時などに、周囲に飛散する化粧料が、孔部22aやフック41の周囲に付着しにくいため、操作不良などの不具合を起こりにくくすることができる。
本実施形態では、化粧料皿4は、2つの皿部43、44を有するものであった。しかし、化粧料皿4の形状はこれに限られず、例えば、1つの皿部を有するものであっても良い。この場合、操作片42の前端は、皿部の側壁外面に接合される。
本実施形態では、隙間Sに配設される弾性変形部材は化粧料皿4に一体成形された弓形状バネ60であった。しかし、弾性変形部材は、化粧料皿4に一体成形されていなくても良い。また、弾性変形部材の形状や材質についても、上記実施形態に限られず、例えば図14に示すような金属製や合成樹脂製の板状バネ62を隙間S内に配設してもよいし、図15に示すようなゴム状バネ63などを隙間S内に配設しても良い。
本実施形態では、隙間Sは、容器本体2の後壁部21と化粧料皿4との間に形成されているけれども、隙間Sは、容器本体2の前壁部22と化粧料皿4との間に形成していても良い。この場合、弾性変形部材は、化粧料皿4の後方へのスライド移動によって引張されるタイプのバネを使用することが望ましい。
次に、本実施形態にかかるコンパクト容器1のフック部の変形例を説明する。
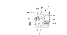
本変形例にあっては、図16に示すように、垂下前壁部31に代えて、通常の前壁部34が形成される。前壁部34は、容器本体2に合致する平面外形輪郭で皿状に形成された環状周側壁30の前端部に、その一部として形成されており、閉蓋状態では、容器本体2の前壁部22の外面とほぼ段差なく形成されている。蓋体3には、これより化粧料収納部5内に垂下させて爪部70aが形成される。爪部70aには、その下端に、これより後方へ向けて突出させたフック70bが形成される。他方、化粧料皿4の枠部45前端には、フック70bに係合される係合部70cが垂下形成される。これらフック70bと係合部70cにより、フック部が構成される。
開蓋操作の際には、側壁部23、24の押圧操作で化粧料皿4が後方へのスライド移動することに伴って係合部70cが後方へ移動することで、係合部70cとフック70bとの係合が解除される。
次に、本発明にかかるコンパクト容器の第2実施形態を詳細に説明する。本実施形態にあっては、第1実施形態との差異のみを説明する。
本実施形態にかかるコンパクト容器1は、側壁部23、24の押圧操作によって化粧料皿4が前方へスライド移動する形態である。このコンパクト容器1は、図示はしないが、一対の操作片が側壁部23、24に対して、逆側に傾斜させた状態で化粧料皿4に取り付けられている。つまりは、操作片42は、その後端部が後皿部44の前壁外面と接合された状態で、化粧料皿4に一体的に形成されているとともに、操作片42にはその後端から前方へ行くに従って側壁部23、24に向かって次第に近接し、前端がこれら側壁部23、24に当接するように傾斜させて形成される。押圧された側壁部23、24が操作片42に当接しつつ内方へ弾性変形すると、側壁部23、24が操作片42を押圧してこれを前方へ移動する操作力が発生し、これに伴って、操作片42を介して化粧料皿4が前方へスライド移動する。
また、隙間Sは化粧料皿4と容器本体2の前壁部22との間に設けられ、隙間Sには上記で説明した弾性変形部材が設けられる。化粧料皿4が前方へスライド移動して隙間Sの領域が狭まると、弾性変形部材は、化粧料皿4に押圧されて隙間S内で弾性変形し、側壁部23、24の押圧操作を解除すると、弾性変形部材が弾性復原することで化粧料皿4を元の位置まで後方へスライド移動させる。
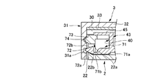
本実施形態にかかるコンパクト容器1の開蓋段階のフック部形状を図17に示す。化粧料皿4には、前皿部43の前壁外面から前方へ突出させて押し上げフック71が形成される。押し上げフック71は、前皿部43の前壁外面から前方へ突出させた突出部71aと、突出部71aの前端に設けられ、上下方向へ可撓変形可能な可撓部71bと、可撓部71bの前端にほぼ断面三角形状に形成される押し上げ部72とから構成される。押し上げ部72には、その下面に化粧料皿4の前方へのスライド移動に従い、順次上昇する上向き傾斜面72aが形成され、また、上面に化粧料皿4の前方へのスライド移動に従い、係合部31aを押し上げる押し上げ面72bが形成される。また、容器本体2には、その前壁部22に、押し上げフック71を前後方向に貫通する孔部22aが形成され、孔部22aには、押し上げ部72のスライド方向に順次上昇させて形成され、上向き傾斜面72aを摺接するガイド斜面22bが設けられる。
容器本体2の前壁部22上方には、蓋体3に係止される第1係止部73が突出形成され、蓋体3の垂下前壁部31aには、第1係止部73に面して、第1係止部73を係脱自在に係止させる凹状の第2係止部74が形成される。第1係止部73および第2係止部74が互いに係止されて閉蓋状態が保持される。
開蓋操作の際は、側壁部23、24を内側へ押圧して化粧料皿4が前方へスライド移動すると、これに伴って押し上げフック71が前方へ押し込まれる。押し上げ部72は、その上向き傾斜面72aがガイド斜面22bに摺接されることにより、可撓部71bが上方へ可撓変形しながら順次上昇し、押し上げ面72bが蓋体3の係合部31aに当接されてこれを押し上げる。蓋体3が押し上げられたことによって、第1係止部73および第2係止部74の係止状態が解除される。
コンパクト容器1の使用後は、蓋体3を容器本体2側に押し込み操作をすると、第1係止部73を乗り越えて第2係止部74がこれに係止されることで閉蓋される。
次に本実施形態にかかるコンパクト容器1において、フック部の第1変形例を説明する。
本変形例にあっては、図18に示すように、垂下前壁部31に代えて、通常の前壁部34が形成される。前壁部34は、容器本体2に合致する平面外形輪郭で皿状に形成された環状周側壁30の前端部に、その一部として形成されており、閉蓋状態では、容器本体2の前壁部22の外面とほぼ段差なく形成されている。
蓋体3と化粧料皿4の間にはフック部が形成される。フック部は、化粧料皿4の枠部45前端に形成される孔状の係合部75と、蓋体3より垂下形成されて係合部75に挿抜自在に挿入され、かつ、その先端が前方に突出していることで係合部75に係脱自在に係合するフック76とから構成される。
また、枠部45の前端に第1傾斜部45aが形成され、蓋体3の前壁部34の内側に第1傾斜部45aに対応させた第2傾斜部34aが形成される。
開蓋時には、係合部75が、化粧料皿4とともに前方にスライド移動し、フック76から逸脱してフック部の係合が解除される。この後、第1傾斜部45aが第2傾斜部34aに当接してこれを押し上げ、蓋体3を浮き上がらせる。そしてこの蓋体3を手指などで完全に解放すればよい。
さらに、フック76前端と係合部75の前端とに、互いに対面して一対の傾斜面78が形成されており、使用後は、蓋体3を手指で容器本体2方向に押し込むと、これら傾斜面78が互いに摺動することによって、化粧料皿4を前方へスライド移動させ、スムースに係合部76にフック75が係合される。
次に第2実施形態にかかるフック部の第2変形例を説明する。本変形例にあっては、先に図18を用いて説明した第1変形例との差異のみを説明する。
本変形例にあっては、図19に示すように、化粧料皿4の前皿部43には、これより前方へ突設され、その上面に前方から後方にかけて上昇する傾斜面77aを有する突片77が形成される。開蓋時には、化粧料皿4の前方へのスライド移動に伴い、突片77がフック76の後端に当接しながらこれを押し上げつつスライドし、係合部75との係合が解除されたフック76上方へ押し上げて蓋体3を浮き上がらせる。
上記第1および第2実施形態において、開蓋操作により後方および前方にスライド移動する化粧料皿4の構成を説明した。これに加え、この化粧料皿4のスライド移動によってその係合が解除されるフック部の構成を様々な変形例を用いて説明した。しかしながらこのフック部の構成は、これら例示されたものだけに限られない。化粧料皿4と蓋体3との間に形成されていれば、周知のフック部を適用してもよいことはもちろんである。
本発明にかかるコンパクト容器の好適な第1実施形態を示す、上面から見た斜視図である。 図1のコンパクト容器の開蓋状態を示す斜視図である。 図1のコンパクト容器を底面から見た斜視図である。 図1に示したコンパクト容器の平断面図である。 図1に示したコンパクト容器の正面断面図である。 図1に示したコンパクト容器の側断面図である。 図1に示したコンパクト容器を、上方から見た分解斜視図である。 図1に示したコンパクト容器を、下方から見た底面分解斜視図である。 図1のコンパクト容器の側壁部を押圧操作した状態を示す、上面から見た斜視図である。 図9に示した押圧操作状態のコンパクト容器を、底面から見た斜視図である。 図9に示した押圧操作状態のコンパクト容器の正面断面図である。 図9に示した押圧操作状態のコンパクト容器の側断面図である。 図1に示したコンパクト容器の蓋体開放過程の側断面図である。 図1のコンパクト容器の隙間内に弾性変形部材として板状バネ配設した状態を示す要部拡大平断面図である。 図1のコンパクト容器の隙間内に弾性変形部材としてゴム状バネを配設した状態を示す要部拡大側断面図である。 第1実施形態にかかるコンパクト容器において、フック部の変形例を示す要部拡大側断面図である。 本発明にかかるコンパクト容器の第2実施形態において、開蓋段階のフック部を示す要部拡大側断面図である。 第2実施形態にかかるコンパクト容器において、フック部の第1変形例を示す要部拡大側断面図である。 第2実施形態にかかるコンパクト容器において、フック部の第2変形例を示す要部拡大側断面図である。
符号の説明
1 コンパクト容器
2 容器本体
3 蓋体
4 化粧料皿
21 後壁部
22 前壁部
23 左側壁部
24 右側壁部
25 底壁部
31 垂下前壁部
31a 係合部
40 前端部
41 フック
42 操作片
S 隙間

Claims (4)

  1. 後壁部に蓋体が回動自在に連結された容器本体の左右両側それぞれに、外方からの押圧操作により、内方へ向けて弾性変形可能な一対の側壁部を形成し、これら一対の側壁部の間に、前後方向スライド自在に化粧料皿を嵌着し、該化粧料皿と該蓋体との間に、これら化粧料皿と蓋体とを係脱自在に係合して該容器本体の閉蓋状態を保持し、該化粧料皿のスライド移動によって、その係合を解除するフック部が設けられるとともに、上記化粧料皿には、上記一対の側壁部それぞれに面して、該側壁部への押圧操作によって該化粧料皿をスライド移動させる一対の操作片を一体形成することを特徴とするコンパクト容器。
  2. 前記側壁部は、これら左右の側壁部に対応させて、それぞれの長さ方向に沿って該容器本体の底壁部に形成される一対のスリットにより弾性変形可能に形成されることを特徴とする請求項1に記載のコンパクト容器。
  3. 前記化粧料皿と、前記容器本体の前記後壁部および前記前壁部のいずれかとの間には隙間が形成され、該隙間内には、前方若しくは後方へスライド移動した該化粧料皿により弾性変形され、その弾性復原力によって該化粧料皿を元の位置へ押し戻す弾性変形部材が設けられることを特徴とする請求項1または2に記載のコンパクト容器。
  4. 前記蓋体には、その前端に前記容器本体の前記前壁部全体をその前方から覆う垂下前壁部が形成されたことを特徴とする請求項1〜3いずれかの項に記載のコンパクト容器。
JP2008231680A 2008-09-10 2008-09-10 コンパクト容器 Expired - Fee Related JP5241389B2 (ja)

Priority Applications (1)

Application Number Priority Date Filing Date Title
JP2008231680A JP5241389B2 (ja) 2008-09-10 2008-09-10 コンパクト容器

Applications Claiming Priority (1)

Application Number Priority Date Filing Date Title
JP2008231680A JP5241389B2 (ja) 2008-09-10 2008-09-10 コンパクト容器

Publications (2)

Publication Number Publication Date
JP2010063564A true JP2010063564A (ja) 2010-03-25
JP5241389B2 JP5241389B2 (ja) 2013-07-17

Family

ID=42189708

Family Applications (1)

Application Number Title Priority Date Filing Date
JP2008231680A Expired - Fee Related JP5241389B2 (ja) 2008-09-10 2008-09-10 コンパクト容器

Country Status (1)

Country Link
JP (1) JP5241389B2 (ja)

Citations (3)

* Cited by examiner, † Cited by third party
Publication number Priority date Publication date Assignee Title
JPS5973213U (ja) * 1982-11-09 1984-05-18 吉田工業株式会社 サイドプツシユ式コンパクト容器
JPH07227312A (ja) * 1994-02-18 1995-08-29 Yoshida Kogyo Kk <Ykk> 化粧料容器
JP2007289290A (ja) * 2006-04-21 2007-11-08 Yoshida Industry Co Ltd コンパクト容器

Patent Citations (3)

* Cited by examiner, † Cited by third party
Publication number Priority date Publication date Assignee Title
JPS5973213U (ja) * 1982-11-09 1984-05-18 吉田工業株式会社 サイドプツシユ式コンパクト容器
JPH07227312A (ja) * 1994-02-18 1995-08-29 Yoshida Kogyo Kk <Ykk> 化粧料容器
JP2007289290A (ja) * 2006-04-21 2007-11-08 Yoshida Industry Co Ltd コンパクト容器

Also Published As

Publication number Publication date
JP5241389B2 (ja) 2013-07-17

Similar Documents

Publication Publication Date Title
JP5260199B2 (ja) コンパクト容器
JP4762635B2 (ja) 気密コンパクト容器
JP2007117313A (ja) コンパクト容器
JP5241390B2 (ja) コンパクト容器
JP5241389B2 (ja) コンパクト容器
JP2004209029A (ja) 化粧料容器
JP5260200B2 (ja) コンパクト容器
JP4954597B2 (ja) コンパクト容器
JP4549653B2 (ja) 化粧料容器
JP4657592B2 (ja) コンパクト容器
JP4707429B2 (ja) スライド式コンパクト容器
JP4037396B2 (ja) 液体貯留ポット
JP4920294B2 (ja) コンパクト容器
JP4498712B2 (ja) 化粧料容器
JP2014079319A (ja) ストラップ用係止具
JP5642431B2 (ja) コンパクト容器
JP4970911B2 (ja) 化粧料容器
JP5707156B2 (ja) コンパクト容器
JP5785783B2 (ja) コンパクト容器
JP5496611B2 (ja) コンパクト容器
JP2011189043A (ja) コンパクト容器
JP7221065B2 (ja) 蓋付き容器
JP4874481B2 (ja) コンパクトの蓋係止機構
JP4767564B2 (ja) スライド式コンパクト容器
JP2545024Y2 (ja) 蓋付き容器のフック構造

Legal Events

Date Code Title Description
A621 Written request for application examination

Free format text: JAPANESE INTERMEDIATE CODE: A621

Effective date: 20110831

TRDD Decision of grant or rejection written
A01 Written decision to grant a patent or to grant a registration (utility model)

Free format text: JAPANESE INTERMEDIATE CODE: A01

Effective date: 20130319

A977 Report on retrieval

Free format text: JAPANESE INTERMEDIATE CODE: A971007

Effective date: 20130322

A61 First payment of annual fees (during grant procedure)

Free format text: JAPANESE INTERMEDIATE CODE: A61

Effective date: 20130402

FPAY Renewal fee payment (event date is renewal date of database)

Free format text: PAYMENT UNTIL: 20160412

Year of fee payment: 3

R150 Certificate of patent or registration of utility model

Free format text: JAPANESE INTERMEDIATE CODE: R150

R250 Receipt of annual fees

Free format text: JAPANESE INTERMEDIATE CODE: R250

LAPS Cancellation because of no payment of annual fees