JP2010063512A - 遊技機の回路基板のロック構造 - Google Patents

遊技機の回路基板のロック構造 Download PDF

Info

Publication number
JP2010063512A
JP2010063512A JP2008230675A JP2008230675A JP2010063512A JP 2010063512 A JP2010063512 A JP 2010063512A JP 2008230675 A JP2008230675 A JP 2008230675A JP 2008230675 A JP2008230675 A JP 2008230675A JP 2010063512 A JP2010063512 A JP 2010063512A
Authority
JP
Japan
Prior art keywords
locking
circuit board
base plate
locking member
holding base
Prior art date
Legal status (The legal status is an assumption and is not a legal conclusion. Google has not performed a legal analysis and makes no representation as to the accuracy of the status listed.)
Granted
Application number
JP2008230675A
Other languages
English (en)
Other versions
JP5398201B2 (ja
Inventor
Yoshiyasu Nakayama
吉康 中山
Current Assignee (The listed assignees may be inaccurate. Google has not performed a legal analysis and makes no representation or warranty as to the accuracy of the list.)
Kyoraku Sangyo Co Ltd
Original Assignee
Kyoraku Sangyo Co Ltd
Priority date (The priority date is an assumption and is not a legal conclusion. Google has not performed a legal analysis and makes no representation as to the accuracy of the date listed.)
Filing date
Publication date
Application filed by Kyoraku Sangyo Co Ltd filed Critical Kyoraku Sangyo Co Ltd
Priority to JP2008230675A priority Critical patent/JP5398201B2/ja
Publication of JP2010063512A publication Critical patent/JP2010063512A/ja
Application granted granted Critical
Publication of JP5398201B2 publication Critical patent/JP5398201B2/ja
Expired - Fee Related legal-status Critical Current
Anticipated expiration legal-status Critical

Links

Images

Landscapes

  • Pinball Game Machines (AREA)

Abstract


【課題】ホールの営業中は基板ケース内の回路基板の交換を不可能とした遊技機の回路基板のロック構造を提供するためになされたものである。
【解決手段】保持台板1の一方の面に基板ケース2を配設し、その反対面に錠止部材収納ケース3を配設したうえに、基板ケース2内に配した回路基板21に保持台板1を貫通して係止用突片22を突設し、錠止部材収納ケース内3には、この係止用突片22を係止する錠止部材4を配設し、係止用突片22を錠止部材4に係止することにより、回路基板の保持台板1からの取り外しを不可能とした回路基板のロック構造。なお、係止用突片22に係合孔部23を設け、錠止部材4には基板ケース2が保持台板1から引き離されたときに前記係合孔部23に嵌め込まれる係止突起41を設けた。
【選択図】図1

Description

本発明は、遊技機の基板ケース内に配設された回路基板を、不正交換を不可能にロックするための、遊技機の回路基板のロック構造に関するものである。
パチンコ機等の遊技機の裏面側には、大当たりの発生回数などの遊技機全体の制御を管理したり球払出装置を制御したりする回路基板が配置されている。これらの回路基板に対する不正改造や不正交換を防止するために、特許文献1には、回路基板を開閉可能な基板ケース内に収納し、この基板ケースの蓋側に保持された封止ピンの先端部を基板ケースの本体側に弾性係合させて抜け止め保持させることによって、基板ケースを閉鎖状態で封止するようにしたものが開示されている。
しかしながら、上記したような基板ケースの封止構造では、基板ケースの蓋側に保持された封止ピンの先端部を基板ケースの本体側に弾性的に係合させて抜け止め保持させるだけの構造であるため、封止された基板ケースを無理やりこじ開けようとする不正行為が行われたときに、そのこじ開け力によって封止ピンの係合が外れたり、その弾性係合部が破損したりして、不正行為を完全に防止することができないという問題があった。また、基板ケースは本体枠内に設けられた保持台板上に取り付けられているが、このような構造のものにおいては、ホールの営業中に本体枠を開放して、基板ケースをそっくり取り替えるという不正に対しては、これを防止することができないという問題があった。
特許第3033957号公報
本発明は、上記した従来の問題点に鑑み、ホールの営業中は基板ケース内の回路基板の交換を不可能とした遊技機の回路基板のロック構造を提供するためになされたものである。
上記の課題を解決するためになされた本発明に係る遊技機の回路基板のロック構造は、保持台板の一方の面に回路基板が内蔵された基板ケースを配設し、保持台板の反対面に錠止部材収納ケースを配設したうえに、
回路基板には保持台板を貫通して係止用突片を突設し、錠止部材収納ケース内には、この係止用突片を係止する錠止部材を配設して、係止用突片を錠止部材に係止することにより、回路基板の取り外しを不可能としたことを特徴とするものである。
上記した発明において、基板ケースを保持台板から離脱可能に設け、錠止部材収納ケースを保持台板に離脱不能に固定することができる。また、係止用突片に係合孔部を設け、錠止部材には、基板ケースが保持台板から引き離されたときに前記係合孔部に嵌め込まれる係止突起を設けることができ、また、係止用突片に係合孔部を上下方向に貫通して設け、錠止部材には係合孔部に嵌め込まれる係止突起を下向きに設けて、基板ケースが保持台板から引き離されたときに係止突起を係合孔部に落とし込んで基板ケースの移動をロックするようにすることができる。
さらに、錠止部材収納ケース内に、係止用突片を係止した錠止部材の上方への移動を阻止する移動規制部材を配設することができるし、錠止部材の下方に、係止突起が係合孔部に落とし込まれたときに作動するスイッチを配置することができる。
請求項1に係る発明は、保持台板を挟んで回路基板と錠止部材とを係止させるようにしたので、回路基板を保持台板から引き離そうとしても錠止部材がその引き離しをロックする。これによって、万一基板ケースが不正に開放された場合にも、回路基板の交換を防止することができる。
請求項2に係る発明は、基板ケースが保持台板から引き離されたときに回路基板の移動をロックすることができる。
請求項3に係る発明は、係合孔部と係止突起を係合させることにより、回路基板をロックすることができる。
請求項4に係る発明は、係止用突片が前方に移動されたときに、錠止部材に設けた下向きの係止突起が係合孔部に重力により落ち込むので、これによって、回路基板をロックすることができる。
請求項5に係る発明は、移動規制部材が錠止部材の上方への移動を制止するので、保持台板を遊技機から取り外して上下反転しない限り、回路基板のロックを解除することはできない。したがって、ホールの営業中は不正に回路基板を交換することは不可能である。
請求項6に係る発明は、不正が働かれたときにスイッチが作動して不正を報知するので、ホールの管理者は不正が働かれたことを直ちに知ることができる。
以下に、本発明の実施形態に付いて説明する。
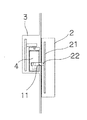
図1は、通常の設置状態における本発明の回路基板のロック構造を示す図であって、1は保持台板である。保持台板1を挟んで一方の面には基板ケース2が設けられ、反対側の面には錠止部材収納ケース3が設けられている。保持台板1は合成樹脂からなり、遊技盤の裏面もしくは遊技盤取付枠裏面に配置される。
図16に遊技機の裏面構造を示すが、91は遊技盤である。遊技盤91の裏面に保持台板1が配設され、この保持台板1に基板ケース2が支持されている。また、92は遊技盤取付枠であり、93は遊技盤取付枠を固定するための外枠である。
図1に示す保持台板1には孔部11が設けてある。また、基板ケース2は保持台板1から離脱可能に保持されており、錠止部材収納ケース3は保持台板1に一体に固定されていて保持台板1から離脱することはできない。
基板ケース2の内部には回路基板21が収納されている。回路基板21の裏面には、基板ケース2の底板25および保持台板1に設けた孔部11を貫通して係止用突片22が設けられており、この係止用突片22は上下に貫通する係合孔部23を有する。錠止部材収納ケース3内には、下向きの係止突起41を有する錠止部材4と、移動規制部材5と、スイッチ6とが配設されている。図1の状態では係止突起41は、係止用突片22の上で係合孔部23より保持台板1に近い部分の上に乗っている。
錠止部材4は下部に、L字状に折れ曲がって形成された突片42と、突片42の先に設けた下向きの傾斜部43を有している。移動規制部材5は上部に、L字状に形成された突片51を有し、この突片51の先に前記傾斜部43に対向する上向きの傾斜部52を有している。また、錠止部材4は下部に、錠止部材収納ケース3内に設けた上向きの斜面31に対向する下向きの斜面53を有している。また、移動規制部材5の側面には、移動を円滑にするためのベアリング54が設けられている。したがって、斜面53は斜面31を円滑に摺動することができる。
以下に、不正行為が働かれた場合のロック機構について説明する。
図1において、不正行為によって基板ケース2が図中左方に引っ張られると、回路基板21も左方に引っ張られる。その結果、図2に示すように係止用突片22の係合孔部23に、錠止部材4の係止突起41が落とし込まれて、基板ケース2および回路基板21のさらなる左方への移動を規制する。なお、各図において、部材同士の接触部には隙間を設けて図を分かりやすくしてあるが、各部材は実際には接触している。
錠止部材4の下方への降下によって傾斜部43は移動規制部材5の傾斜部52を下方に下って、傾斜部52を図中左方に押圧する。この押圧によって、移動規制部材5は斜面31をさかのぼって円滑に左方に移動される(図2)。傾斜部43による傾斜部52の押圧が完了して傾斜部43がさらに下方に降下されると、前記押圧が解除され移動規制部材5は重力により下がりつつ右方に移動することとなって、錠止部材4の突片42の上に、移動規制部材5の突片51が入り込む(図3)。これによって、錠止部材5の上方への移動が規制されるので、基板ケース2を確実にロックすることができる。
また、錠止部材4が降下されることによって、スイッチ6が押圧されて、不正防止ランプの点灯、不正防止音による報知、遊技機への電源供給の停止などの対策を講ずることができる。
次に、不正防止後のロックの解除について説明する。
先ず、遊技機から遊技盤91を取り外す(図17、図4)。このときのロック状態は図5に示すとおりである。
次いで、取り外した遊技盤91を横に倒す。これによって保持台板1も転倒されて(図6)、移動規制部材5が下方に降下して突片42と突片51との係合が解除される(図7)。
次に遊技盤91を回転させて保持板1をさらに同じ方向に90°回転させると(図8)、錠止部材4が下方に降下されて、係止突起41が係合孔部23から抜け出すので(図9)、図10に示すように、基板ケース2を回路基板21と共に保持台板1から取り外すことができる。そして、基板ケース2を開放して不正の働かれた回路基板21を真正なものと交換したり、検査を行ったりすることができる。
基板ケース2を再びセットするには、図11のように係止用突片22を保持台板1の孔部11に挿通する。そして、保持台板1を前とは逆の右方向に倒した後(図12、13)さらに保持台板1を同じ方向に回転させれば(図14)、不正を防止可能な図1に示した状態と同じ状態に戻すことができる(図15)。
本発明に係る回路基板のロック構造を示す側面断面図(a)と、錠止部材収納ケースの内部構造を示す正面図(b)である。 ロック途中の回路基板のロック構造を示す側面断面図(a)と、錠止部材収納ケースの内部構造を示す正面図(b)である。 ロック完了後の回路基板のロック構造を示す側面断面図(a)と、錠止部材収納ケースの内部構造を示す正面図(b)である。 取り外した状態の保持台板の正面図(a)と、基板ケースの拡大図(b)である。 図4の錠止部材収納ケースの拡大図である。 左に90°回転させた状態の保持台板の正面図である。 図6の錠止部材収納ケースの拡大図である。 さらに左に90°回転させた状態の保持台板の正面図である。 図8の錠止部材収納ケースの拡大図である。 ロック解除状態の回路基板のロック構造を示す側面図である。 基板ケースを装着した状態の回路基板のロック構造を示す側面図である。 図11の状態の保持台板を右に90°回転させたときの保持台板の正面図である。 図12の錠止部材収納ケースの拡大図である。 さらに右に90°回転させたときの保持台板の正面図である。 図14の錠止部材収納ケースの拡大図である。 遊技機の背面図である。 遊技盤の裏面構造を示す背面図である。
符号の説明
1 保持台板、2 基板ケース、3 錠止部材収納ケース、4 錠止部材、21 回路基板、22 係止用突片、23 係合孔部、41 係止突起、


Claims (6)

  1. 保持台板の一方の面に回路基板が内蔵された基板ケースを配設し、保持台板の反対面に錠止部材収納ケースを配設したうえに、
    回路基板には保持台板を貫通して係止用突片を突設し、錠止部材収納ケース内には、この係止用突片を係止する錠止部材を配設して、係止用突片を錠止部材に係止することにより、回路基板の取り外しを不可能としたことを特徴とする遊技機の回路基板のロック構造。
  2. 基板ケースを保持台板から離脱可能に設け、錠止部材収納ケースを保持台板に移動不能に固定した請求項1に記載の遊技機の回路基板のロック構造。
  3. 係止用突片に係合孔部を設け、錠止部材には基板ケースが保持台板から引き離されたときに前記係合孔部に嵌め込まれる係止突起を設けた請求項2に記載の遊技機の回路基板のロック構造。
  4. 係止用突片に係合孔部を上下方向に貫通して設け、錠止部材には係合孔部に嵌め込まれる係止突起を下向きに設けて、基板ケースが保持台板から引き離されたときに係止突起を係合孔部に落とし込んで基板ケースの移動をロックするようにした請求項2又は3に記載の遊技機の回路基板のロック構造。
  5. 錠止部材収納ケース内に、係止用突片を係止した錠止部材の上方への移動を阻止する移動規制部材を配設した請求項4の何れかに記載の遊技機の回路基板のロック構造。
  6. 錠止部材の下方に、係止突起が係合孔部に落とし込まれたときに作動するスイッチを配置した請求項4又は5に記載の遊技機の回路基板のロック構造。


JP2008230675A 2008-09-09 2008-09-09 遊技機の回路基板のロック構造 Expired - Fee Related JP5398201B2 (ja)

Priority Applications (1)

Application Number Priority Date Filing Date Title
JP2008230675A JP5398201B2 (ja) 2008-09-09 2008-09-09 遊技機の回路基板のロック構造

Applications Claiming Priority (1)

Application Number Priority Date Filing Date Title
JP2008230675A JP5398201B2 (ja) 2008-09-09 2008-09-09 遊技機の回路基板のロック構造

Publications (2)

Publication Number Publication Date
JP2010063512A true JP2010063512A (ja) 2010-03-25
JP5398201B2 JP5398201B2 (ja) 2014-01-29

Family

ID=42189663

Family Applications (1)

Application Number Title Priority Date Filing Date
JP2008230675A Expired - Fee Related JP5398201B2 (ja) 2008-09-09 2008-09-09 遊技機の回路基板のロック構造

Country Status (1)

Country Link
JP (1) JP5398201B2 (ja)

Citations (3)

* Cited by examiner, † Cited by third party
Publication number Priority date Publication date Assignee Title
JPH11169511A (ja) * 1997-12-12 1999-06-29 Masayoshi Maekawa 遊技機
JPH11307946A (ja) * 1998-04-24 1999-11-05 Nec Eng Ltd 筐体固定構造
JP2002035358A (ja) * 2000-07-21 2002-02-05 Takeya Co Ltd 基板ケース用施錠装置

Patent Citations (3)

* Cited by examiner, † Cited by third party
Publication number Priority date Publication date Assignee Title
JPH11169511A (ja) * 1997-12-12 1999-06-29 Masayoshi Maekawa 遊技機
JPH11307946A (ja) * 1998-04-24 1999-11-05 Nec Eng Ltd 筐体固定構造
JP2002035358A (ja) * 2000-07-21 2002-02-05 Takeya Co Ltd 基板ケース用施錠装置

Also Published As

Publication number Publication date
JP5398201B2 (ja) 2014-01-29

Similar Documents

Publication Publication Date Title
JP2003220258A (ja) 遊技機の錠装置
JP5398201B2 (ja) 遊技機の回路基板のロック構造
JP2004057469A (ja) 施錠装置
JP4011298B2 (ja) パチンコ遊技機の基板収納ケースの着脱構造
JP2004242884A (ja) 分離型スロットマシン
JP5379510B2 (ja) 遊技機
JP2007289264A (ja) ロック装置およびハウジング
JP5878333B2 (ja) パチンコ機
JP2003245452A (ja) 遊技機
JP4402028B2 (ja) 遊技機
JP4338212B2 (ja) 基板ケース及び基板取付け装置
JP2007252490A (ja) 錠装置及び遊技機
JP2016104928A (ja) 電子式錠構造
KR20100121453A (ko) 승강 슬라이더 및 이를 이용한 물품 보관 잠금장치
JP4364613B2 (ja) 遊技機
JP3111663U (ja) 遊技機の裏側カバーの施錠装置
JP6524496B2 (ja) 遊技機
JP2005245801A (ja) 弾球遊技機の球皿施錠機構
JP5368531B2 (ja) 錠装置及び遊技機
JP2004097369A (ja) 分離型スロットマシン
KR101005741B1 (ko) 물품 보관 잠금장치
JP4669832B2 (ja) 遊技機
JP4402024B2 (ja) 遊技機
JP5800690B2 (ja) 遊技機
JP6500426B2 (ja) 弾球遊技機

Legal Events

Date Code Title Description
A621 Written request for application examination

Free format text: JAPANESE INTERMEDIATE CODE: A621

Effective date: 20110802

A977 Report on retrieval

Free format text: JAPANESE INTERMEDIATE CODE: A971007

Effective date: 20130116

A131 Notification of reasons for refusal

Free format text: JAPANESE INTERMEDIATE CODE: A131

Effective date: 20130118

A521 Written amendment

Free format text: JAPANESE INTERMEDIATE CODE: A523

Effective date: 20130313

TRDD Decision of grant or rejection written
A01 Written decision to grant a patent or to grant a registration (utility model)

Free format text: JAPANESE INTERMEDIATE CODE: A01

Effective date: 20131011

A61 First payment of annual fees (during grant procedure)

Free format text: JAPANESE INTERMEDIATE CODE: A61

Effective date: 20131022

R150 Certificate of patent or registration of utility model

Ref document number: 5398201

Country of ref document: JP

Free format text: JAPANESE INTERMEDIATE CODE: R150

Free format text: JAPANESE INTERMEDIATE CODE: R150

R250 Receipt of annual fees

Free format text: JAPANESE INTERMEDIATE CODE: R250

LAPS Cancellation because of no payment of annual fees