JP2010063317A - ワイヤハーネスの外装構造 - Google Patents

ワイヤハーネスの外装構造 Download PDF

Info

Publication number
JP2010063317A
JP2010063317A JP2008228846A JP2008228846A JP2010063317A JP 2010063317 A JP2010063317 A JP 2010063317A JP 2008228846 A JP2008228846 A JP 2008228846A JP 2008228846 A JP2008228846 A JP 2008228846A JP 2010063317 A JP2010063317 A JP 2010063317A
Authority
JP
Japan
Prior art keywords
tube
wire harness
wire
exposed
knitted
Prior art date
Legal status (The legal status is an assumption and is not a legal conclusion. Google has not performed a legal analysis and makes no representation as to the accuracy of the status listed.)
Granted
Application number
JP2008228846A
Other languages
English (en)
Other versions
JP5083128B2 (ja
Inventor
Naoto Sawamura
直人 沢村
Current Assignee (The listed assignees may be inaccurate. Google has not performed a legal analysis and makes no representation or warranty as to the accuracy of the list.)
Sumitomo Wiring Systems Ltd
Original Assignee
Sumitomo Wiring Systems Ltd
Priority date (The priority date is an assumption and is not a legal conclusion. Google has not performed a legal analysis and makes no representation as to the accuracy of the date listed.)
Filing date
Publication date
Application filed by Sumitomo Wiring Systems Ltd filed Critical Sumitomo Wiring Systems Ltd
Priority to JP2008228846A priority Critical patent/JP5083128B2/ja
Publication of JP2010063317A publication Critical patent/JP2010063317A/ja
Application granted granted Critical
Publication of JP5083128B2 publication Critical patent/JP5083128B2/ja
Expired - Fee Related legal-status Critical Current
Anticipated expiration legal-status Critical

Links

Images

Landscapes

  • Details Of Indoor Wiring (AREA)

Abstract

【課題】ワイヤハーネスの外装材と電線群との隙間に浸入した水を効果的に外部へ排出すると共に、排水目的で設けた電線露出部の損傷も防止する。
【解決手段】車両の被水領域に配索されるワイヤハーネス10の下端位置を挟む両側部はワイヤハーネス10の電線群11にテープ15をハーフラップ巻きしている、あるいは樹脂製の丸チューブ又はコルゲートチューブからなるチューブを通している一方、前記下端位置ではテープ巻き又はチューブを通さずに電線群11を露出させており、該電線群11を露出させた領域を、網目状に編成された編みチューブ20からなる外装材で被覆し、ワイヤハーネス10内に浸水した水を編みチューブ20の空隙21から排水できる構成としていることを特徴とする。
【選択図】図3

Description

本発明は、ワイヤハーネスの外装構造に関し、詳しくは、ワイヤハーネス内の電線間に浸入した水を外部へと排水できる外装構造に関する。
従来より、車両に配索されるワイヤハーネスは、塩化ビニルテープ等でハーフラップ巻きしたり、樹脂製のビニルチューブや硬質ビニルチューブからなる丸チューブやコルゲートチューブを取り付けて外装して、電線の保持、拘束、あるいは、接触や擦れなどの外部干渉からの電線保護を図っている。
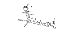
一方、図12に示すように、エンジンルーム等の被水領域において、ワイヤハーネスWの上下方向に配線する部分W−1におけるテープ2の巻端箇所X1、ワイヤハーネスの分岐点X2、コネクタの上向き開口部X3などから水滴3が電線1の線間に浸水することがある。この場合、線間に浸水した水滴3はハーフラップ巻きしたテープ2により外部に排出できずに溜まり、毛細管現象によりコネクタ4にまで達する場合がある。このようにコネクタ4に浸水が発生するとショートを生じる危険があり、かつ、浸水領域にスプライス部がある場合は、スプライス部に錆を発生させ、品質低下を招くおそれもある。
前記問題に対して、特開昭60−96122号(特許文献1)では図13に示す排水構造を提案している。これは、ワイヤハーネスW/Hをエンジンルーム側の車体パネル5の近傍部分にU字状に屈曲させてプロテクタ6とテープ7巻きで固定し、該屈曲部8を下向きに突出させて配置する一方、該屈曲部8の先端にテープ巻きをせずに電線wを露出させた排水部9を設けたもので、これにより、ワイヤハーネスW/H内の電線wとテープ7との隙間から浸入した水を前記排水部9より排出するようにしている。
しかしながら、前記排水部9は、外装材であるテープ7を巻き付けない電線露出部であるため、車両走行中にはね上げた小石との衝突や、車体パネルのエッジとの接触、あるいは、他部品による干渉や挟み込み等の外力から電線を保護することができず、該露出部の電線が損傷する虞れがある。
特開昭60−96122号公報
本発明は前記問題に鑑みてなされたもので、ワイヤハーネスの電線群と外装材との隙間から入り込み、毛細管現象によって内部へと浸入していく水を外部へ排出できると共に、電線損傷も防ぐことができるワイヤハーネスの外装構造の提供を課題としている。
前記課題を解決するために、本発明は、車両の被水領域に配索されるワイヤハーネスの下端位置を挟む両側部はワイヤハーネスの電線群にテープをハーフラップ巻きしている、あるいは樹脂製の丸チューブ又はコルゲートチューブからなるチューブを通している一方、前記下端位置ではテープ巻き又はチューブを通さずに電線群を露出させており、
前記電線群を露出させた領域を、網目状に編成された編みチューブからなる外装材で被覆し、該ワイヤハーネス内に浸水した水を編みチューブの空隙から排水できる構成としていることを特徴とするワイヤハーネスの外装構造を提供している。
このように排水目的で電線群を露出させた部分を前記編みチューブで外装することにより、車両走行中にはね上げた小石や車体パネル等の他部品との干渉から電線露出部を保護して電線の損傷を防止できると共に、前記テープやチューブと電線群との隙間から浸入した水を溜めることなく編みチューブの網目の空隙から外部へと排出することができるため、優れた排水性と電線保護性能とを具備することができる。
また、編みチューブは、縮み方向に力を加えて圧縮することによりチューブ径を大きくすることができるため、ハーネスへの後通しが可能となり、作業性を高めることができる。
前記編みチューブの外周に、樹脂帯を螺旋状に巻いてチューブ状としたスパイラルチューブからなる外装材を重ねて取り付けてもよい。
前記スパイラルチューブは螺旋状の空隙を有し、この空隙から水をチューブ外へ排出することができるため、このスパイラルチューブを前記編みチューブの外周に重ねて取り付けることにより、排水性を低下させることなく電線保護性能を高めることができる。
また、本発明は、車両の被水領域に配索されるワイヤハーネスの下端位置を挟む両側部はワイヤハーネスの電線群にテープをハーフラップ巻きしている、あるいは樹脂製の丸チューブ又はコルゲートチューブからなるチューブを通している一方、前記下端位置ではテープ巻き又はチューブを通さずに電線群を露出させており、
前記電線群を露出させた領域を、樹脂帯を螺旋状に巻いてチューブ状としたスパイラルチューブからなる外装材で被覆し、該ワイヤハーネス内に浸水した水をスパイラルチューブの空隙から排水できる構成としていることを特徴とするワイヤハーネスの外装構造も提供している。
このように電線露出部をスパイラルチューブのみで外装する場合も、電線露出部を外力干渉から保護して電線損傷を防止できると共に、前記テープやチューブと電線群との隙間から浸入した水を溜めることなくスパイラルチューブの螺旋状の空隙から外部へと排出することができるため、優れた排水性と電線保護性能とを具備することができる。
前記編みチューブまたはスパイラルチューブ、あるいは重ねた編みチューブとスパイラルチューブの外周面に締結バンド、バンド式クリップのバンド、または粘着テープを巻き付けて締結し、ワイヤハーネスとこれら外装材とを固定していることが好ましい。
前記締結バンドまたはバンド式クリップは、前記外装材の長さ方向両端部、長さ方向中間部、あるいは両端部と中間部の両方に締結してもよい。
バンド式クリップを外装材の長さ方向中間部に締結する場合は、該クリップを車体の所要位置に係止して電線露出部の最下端位置を保持することが好ましい。これにより、排水ポイントとなる最下端位置が電線露出部以外の箇所への位置ずれを防ぎ、排水機能低下を防止することができる。
上述したように、本発明によれば、ワイヤハーネスの下端位置を含む電線露出部を前記編みチューブまたは/および前記スパイラルチューブで外装することにより、電線露出部を外力干渉から保護して損傷を防止できると共に、電線間に浸入した水を前記外装材の網目や螺旋状の空隙を通じて外部へ排出することもでき、優れた排水性と電線保護性能とを具備することができる。
以下、本発明の実施形態を図面を参照して説明する。
いずれの実施形態も、図1に示すように、自動車のエンジンルームに配索されるワイヤハーネス10の外装構造に本発明を適用している。ワイヤハーネス10は、自動車のエンジンルームXと車室Yとを仕切る車体パネル80の貫通穴81に取り付けられるグロメット82に挿通し、該グロメット82の取付位置近傍のエンジンルームX側に排水用の電線露出部Aを形成している。
前記電線露出部A以外の領域、即ち、電線露出部Aを挟む両側部はテープ15でハーフラップ巻きしている。テープ15は粘着テープからなる。
また、いずれの実施形態も、ワイヤハーネス10は、前記電線露出部Aに最も低い位置B(以下「最下端位置B」という)が配置されるように下方に屈曲している。
図1乃至図5に、本発明の第1実施形態を示す。
第1実施形態では、ワイヤハーネス10の前記電線露出部Aを網目状に編成された編みチューブ20で外装している。
前記編みチューブ20は、図2および図3に示すように、前記電線露出部Aを全長にわたって覆うと共にその両側部がテープ15のハーフラップ巻き部分の端部まで覆う長さとし、該両側部の外周面に締結バンド16を巻き付けて、ワイヤハーネス10に編みチューブ20を締結固定している。
このように、電線露出部Aの全体を前記編みチューブ20で覆い、外部に露出させないことにより、車両走行中にはね上げた小石や車体パネル等との干渉から電線露出部Aを保護でき、電線損傷を防止することができる。また、電線群11とテープ15との隙間から浸入して電線間を伝い最下端位置Bに溜まってくる水は、図3に示すように、この最下端位置Bを含む電線露出部Aを覆う編みチューブ20の網目の空隙21から外部へと排出することができるため、ワイヤハーネス10内に水が溜まることを防止できる。
なお、前記編みチューブ20は、図4および図5に示すように、縮み方向に両側から力を加えることによりチューブ径をD1からD2に容易に大きくすることができるため、端末にコネクタ70を接続したり分岐部を形成したワイヤハーネス10に後通しすることができる。
前記第一実施形態では、ワイヤハーネス10の電線露出部A以外の領域は、テープ15でハーフラップ巻きしているが、図6に示すように、テープでハーフラップ巻きする代わりにスリットなしのコルゲートチューブCTで外装してもよい。この場合、電線露出部Aに取り付ける前記編みチューブ20の両端は、コルゲートチューブCTの先端から所要寸法内部に位置し、コルゲートチューブCTの内部で編みチューブ20の両端を電線群11に締結バンドで固定している。
また、コルゲートチューブに代えて、ビニルチューブ、硬質ビニルチューブからなる樹脂製の丸チューブを用いてもよい。
図7に、本発明の第二実施形態を示す。
第二実施形態では、ワイヤハーネス10の最下端位置Bに、前記編みチューブ20の上からバンド式クリップ17を巻き付けて締結し、このバンド式クリップ17の車体係止部17aを車体パネル30の係止孔31に挿入係止して、前記最下端位置Bを保持している。その他の構成は前記第一実施形態と同一であるため、同一符合を付して説明を省略する。
このように、バンド式クリップ17でワイヤハーネス10の最下端位置Bを保持することにより、ワイヤハーネス10の屈曲形状を一定化でき、排水ポイントとなる最下端位置Bが電線露出部A以外の部分に移動することを防止できるため、常に安定した排水性を機能させることができる。
図8および図9に、本発明の第三実施形態を示す。
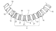
第3実施形態では、ワイヤハーネス10の前記電線露出部Aを、樹脂から成形したスパイラルチューブ25で外装している。該スパイラルチューブ25は、図9に示すように、樹脂帯26を螺旋状に巻いてチューブ状に予め成形している。
前記スパイラルチューブ25の両端の外周面に締結バンド16を巻き付け締結して、スパイラルチューブ25をワイヤハーネス10に固定している。その他の構成は前記第一実施形態と同一であるため、同一符合を付して説明を省略する。
本実施形態においては、スパイラルチューブ25で電線露出部Aを覆うことができるため、小石や車体パネル等との干渉による電線群損傷を防止できると共に、テープ15と電線群11との隙間から浸入して最下端位置Bに溜まってくる水を、前記スパイラルチューブ25の樹脂帯26間の螺旋状の空隙27から外部へと排出することができる。
図10および図11に、本発明の第四実施形態を示す。
第四実施形態では、ワイヤハーネス10の電線露出部Aに編みチューブ20を取り付け、さらにこの編みチューブ20の外周に重ねて前記スパイラルチューブ25を取り付けて外装している。
このように、電線露出部Aを編みチューブ20とスパイラルチューブ25とで二重に外装することにより、電線露出部Aが受ける外力干渉をより緩和することができるため、電線保護性能を高めることができる。また、編みチューブ20には網目の空隙21があり、スパイラルチューブ25には樹脂帯26間の螺旋状の空隙27があるため、図11に示すように、これらの空隙21、27を通じてワイヤハーネス10内の水を外部へと排出することもできる。よって、優れた排水性を備えたまま電線保護性能を高めることができる。
本発明の第1実施形態に係る外装構造を備えたワイヤハーネスを車体に配線した状態を示す要部破断斜視図である。 図1の要部正面図である。 第1実施形態の排水構造を示す断面説明図である。 編みチューブのチューブ径を拡大する工程の説明図である。 図4に示す編みチューブのワイヤハーネスへの後通し作業の説明図である。 第一実施形態の変形例を示す要部破断斜視図である。 第二実施形態を示す要部斜視図である。 第三実施形態を示す要部正面図である。 図8に示すスパイラルチューブの正面図である。 第四実施形態を示す要部正面図である。 第四実施形態の排水構造を示す要部拡大断面説明図である。 ワイヤハーネスへの水の浸入経路を示す斜視図である。 従来例を示す図である。
符号の説明
10 ワイヤハーネス
15 テープ
16 締結バンド
17 バンド式クリップ
20 編みチューブ
21 空隙
25 スパイラルチューブ
27 空隙
A 電線露出部
B 最下端位置

Claims (4)

  1. 車両の被水領域に配索されるワイヤハーネスの下端位置を挟む両側部はワイヤハーネスの電線群にテープをハーフラップ巻きしている、あるいは樹脂製の丸チューブ又はコルゲートチューブからなるチューブを通している一方、前記下端位置ではテープ巻き又はチューブを通さずに電線群を露出させており、
    前記電線群を露出させた領域を、網目状に編成された編みチューブからなる外装材で被覆し、該ワイヤハーネス内に浸水した水を編みチューブの空隙から排水できる構成としていることを特徴とするワイヤハーネスの外装構造。
  2. 前記編みチューブの外周に、樹脂帯を螺旋状に巻いてチューブ状としたスパイラルチューブからなる外装材を重ねて取り付けている請求項1に記載のワイヤハーネスの外装構造。
  3. 車両の被水領域に配索されるワイヤハーネスの下端位置を挟む両側部はワイヤハーネスの電線群にテープをハーフラップ巻きしている、あるいは樹脂製の丸チューブ又はコルゲートチューブからなるチューブを通している一方、前記下端位置ではテープ巻き又はチューブを通さずに電線群を露出させており、
    前記電線群を露出させた領域を、樹脂帯を螺旋状に巻いてチューブ状としたスパイラルチューブからなる外装材で被覆し、該ワイヤハーネス内に浸水した水をスパイラルチューブの空隙から排水できる構成としていることを特徴とするワイヤハーネスの外装構造。
  4. 前記編みチューブまたはスパイラルチューブ、あるいは重ねた編みチューブとスパイラルチューブの外周面に締結バンド、バンド式クリップのバンド、または粘着テープを巻き付けて締結し、ワイヤハーネスとこれら外装材とを固定している請求項1乃至請求項3のいずれか1項に記載のワイヤハーネスの外装構造。
JP2008228846A 2008-09-05 2008-09-05 ワイヤハーネスの外装構造 Expired - Fee Related JP5083128B2 (ja)

Priority Applications (1)

Application Number Priority Date Filing Date Title
JP2008228846A JP5083128B2 (ja) 2008-09-05 2008-09-05 ワイヤハーネスの外装構造

Applications Claiming Priority (1)

Application Number Priority Date Filing Date Title
JP2008228846A JP5083128B2 (ja) 2008-09-05 2008-09-05 ワイヤハーネスの外装構造

Publications (2)

Publication Number Publication Date
JP2010063317A true JP2010063317A (ja) 2010-03-18
JP5083128B2 JP5083128B2 (ja) 2012-11-28

Family

ID=42189501

Family Applications (1)

Application Number Title Priority Date Filing Date
JP2008228846A Expired - Fee Related JP5083128B2 (ja) 2008-09-05 2008-09-05 ワイヤハーネスの外装構造

Country Status (1)

Country Link
JP (1) JP5083128B2 (ja)

Cited By (8)

* Cited by examiner, † Cited by third party
Publication number Priority date Publication date Assignee Title
US20110083899A1 (en) * 2008-06-03 2011-04-14 Sumitomo Wiring Systems, Ltd. Water drain structure for wire harness
JP2012056441A (ja) * 2010-09-09 2012-03-22 Honda Motor Co Ltd 鞍乗型車両のハーネス配索構造
JP2012115040A (ja) * 2010-11-24 2012-06-14 Sumitomo Wiring Syst Ltd ワイヤハーネスの水抜き構造
WO2013108546A1 (ja) * 2012-01-20 2013-07-25 Ntn株式会社 電力線の保護構造
CN103311851A (zh) * 2013-06-27 2013-09-18 长城汽车股份有限公司 一种汽车线束保护壳
CN104276110A (zh) * 2014-09-26 2015-01-14 北京新能源汽车股份有限公司 一种具有排水功能的接插件
JP2018101511A (ja) * 2016-12-19 2018-06-28 株式会社オートネットワーク技術研究所 ワイヤハーネス
JP2018207754A (ja) * 2017-06-09 2018-12-27 株式会社豊田自動織機 車両の電気機器

Citations (2)

* Cited by examiner, † Cited by third party
Publication number Priority date Publication date Assignee Title
JP2001246993A (ja) * 2000-03-02 2001-09-11 Sumitomo Wiring Syst Ltd 車体とドアとの間のワイヤハーネス配索構造
JP2007116782A (ja) * 2005-10-18 2007-05-10 Yazaki Corp 配索装置

Patent Citations (2)

* Cited by examiner, † Cited by third party
Publication number Priority date Publication date Assignee Title
JP2001246993A (ja) * 2000-03-02 2001-09-11 Sumitomo Wiring Syst Ltd 車体とドアとの間のワイヤハーネス配索構造
JP2007116782A (ja) * 2005-10-18 2007-05-10 Yazaki Corp 配索装置

Cited By (11)

* Cited by examiner, † Cited by third party
Publication number Priority date Publication date Assignee Title
US20110083899A1 (en) * 2008-06-03 2011-04-14 Sumitomo Wiring Systems, Ltd. Water drain structure for wire harness
US8530743B2 (en) * 2008-06-03 2013-09-10 Sumitomo Wiring Systems, Ltd. Water drain structure for wire harness
JP2012056441A (ja) * 2010-09-09 2012-03-22 Honda Motor Co Ltd 鞍乗型車両のハーネス配索構造
JP2012115040A (ja) * 2010-11-24 2012-06-14 Sumitomo Wiring Syst Ltd ワイヤハーネスの水抜き構造
WO2013108546A1 (ja) * 2012-01-20 2013-07-25 Ntn株式会社 電力線の保護構造
CN104067467A (zh) * 2012-01-20 2014-09-24 Ntn株式会社 电力线的保护结构
CN103311851A (zh) * 2013-06-27 2013-09-18 长城汽车股份有限公司 一种汽车线束保护壳
CN103311851B (zh) * 2013-06-27 2016-01-20 长城汽车股份有限公司 一种汽车线束保护壳
CN104276110A (zh) * 2014-09-26 2015-01-14 北京新能源汽车股份有限公司 一种具有排水功能的接插件
JP2018101511A (ja) * 2016-12-19 2018-06-28 株式会社オートネットワーク技術研究所 ワイヤハーネス
JP2018207754A (ja) * 2017-06-09 2018-12-27 株式会社豊田自動織機 車両の電気機器

Also Published As

Publication number Publication date
JP5083128B2 (ja) 2012-11-28

Similar Documents

Publication Publication Date Title
JP5083128B2 (ja) ワイヤハーネスの外装構造
JP5151701B2 (ja) ワイヤハーネスの排水構造
US9515467B2 (en) Grommet
JP2010047031A (ja) ワイヤハーネス製造方法
JP2008195182A (ja) ドア用ワイヤハーネスの配索構造
JP5957286B2 (ja) ワイヤハーネス止水構造
JP6422257B2 (ja) グロメット及びこのグロメットを用いたワイヤハーネス
JP3622636B2 (ja) シールド電線の屈曲構造およびそのシールド方法
JP7363624B2 (ja) ワイヤハーネス
JP5166841B2 (ja) 保護部材
JP6587426B2 (ja) グロメット及びグロメット付きワイヤハーネス
JP7658179B2 (ja) ワイヤハーネス
JP3558541B2 (ja) 蛇腹付きグロメット及び蛇腹付きグロメットを備えたワイヤーハーネス
US20080092974A1 (en) Conduit with securing flap
JP2894144B2 (ja) ワイヤハーネスの防水構造
JP6759155B2 (ja) 車両の電気機器
JP2007288972A (ja) ワイヤハーネス分岐部の保護構造
JP2016140140A (ja) 電線群保護具およびワイヤハーネス
JP5505277B2 (ja) ワイヤハーネスの水抜き構造
JPH06276643A (ja) ワイヤハーネス用防水樹脂筒
JP3646553B2 (ja) ワイヤハーネスの保護構造
JP2009291021A (ja) ワイヤハーネスを挿通したグロメットの防水構造
JP2016158466A (ja) コルゲートチューブ及びそれを用いたワイヤハーネスの水抜構造
US20230352207A1 (en) Wire harness
JP2004210158A (ja) 自動車用ワイヤハーネス

Legal Events

Date Code Title Description
A621 Written request for application examination

Free format text: JAPANESE INTERMEDIATE CODE: A621

Effective date: 20101209

A977 Report on retrieval

Free format text: JAPANESE INTERMEDIATE CODE: A971007

Effective date: 20120229

TRDD Decision of grant or rejection written
A01 Written decision to grant a patent or to grant a registration (utility model)

Free format text: JAPANESE INTERMEDIATE CODE: A01

Effective date: 20120807

A01 Written decision to grant a patent or to grant a registration (utility model)

Free format text: JAPANESE INTERMEDIATE CODE: A01

A61 First payment of annual fees (during grant procedure)

Free format text: JAPANESE INTERMEDIATE CODE: A61

Effective date: 20120820

R150 Certificate of patent or registration of utility model

Free format text: JAPANESE INTERMEDIATE CODE: R150

FPAY Renewal fee payment (event date is renewal date of database)

Free format text: PAYMENT UNTIL: 20150914

Year of fee payment: 3

LAPS Cancellation because of no payment of annual fees