JP2010062973A - 圧電デバイス - Google Patents

圧電デバイス Download PDF

Info

Publication number
JP2010062973A
JP2010062973A JP2008227974A JP2008227974A JP2010062973A JP 2010062973 A JP2010062973 A JP 2010062973A JP 2008227974 A JP2008227974 A JP 2008227974A JP 2008227974 A JP2008227974 A JP 2008227974A JP 2010062973 A JP2010062973 A JP 2010062973A
Authority
JP
Japan
Prior art keywords
vibrating piece
piezoelectric
electrode
support member
package
Prior art date
Legal status (The legal status is an assumption and is not a legal conclusion. Google has not performed a legal analysis and makes no representation as to the accuracy of the status listed.)
Granted
Application number
JP2008227974A
Other languages
English (en)
Other versions
JP5396780B2 (ja
JP2010062973A5 (ja
Inventor
Kazuhiko Shimodaira
和彦 下平
Current Assignee (The listed assignees may be inaccurate. Google has not performed a legal analysis and makes no representation or warranty as to the accuracy of the list.)
Miyazaki Epson Corp
Original Assignee
Epson Toyocom Corp
Priority date (The priority date is an assumption and is not a legal conclusion. Google has not performed a legal analysis and makes no representation as to the accuracy of the date listed.)
Filing date
Publication date
Application filed by Epson Toyocom Corp filed Critical Epson Toyocom Corp
Priority to JP2008227974A priority Critical patent/JP5396780B2/ja
Publication of JP2010062973A publication Critical patent/JP2010062973A/ja
Publication of JP2010062973A5 publication Critical patent/JP2010062973A5/ja
Application granted granted Critical
Publication of JP5396780B2 publication Critical patent/JP5396780B2/ja
Expired - Fee Related legal-status Critical Current
Anticipated expiration legal-status Critical

Links

Images

Landscapes

  • Piezo-Electric Or Mechanical Vibrators, Or Delay Or Filter Circuits (AREA)
  • Oscillators With Electromechanical Resonators (AREA)

Abstract

【課題】小型化を実現しつつ、耐衝撃性に優れた圧電振動子、及び圧電デバイスを提供する。
【解決手段】パッケージ12の内部において収容された圧電振動片26を有する圧電デバイスであって、前記圧電振動片26を前記パッケージ12の前記内部において支持する複数の支持部材38を備え、前記複数の支持部材38は、前記圧電振動片26を挟む位置に配置され、前記圧電振動片26が、前記複数の支持部材38を介して前記パッケージ12の互いに対向する内面により挟持されて、支持されてなる。
【選択図】図1

Description

本発明は通信機器等に利用される圧電デバイスに関する。
通信機器等に幅広く利用されている圧電デバイスにおいては、小型化の要請が強くなってきており、圧電デバイスを構成する圧電振動片はパッケージ内において長手方向の固定端側をマウント電極で固定し、自由端側をフリーにした片持ち支持構造を採用している。これによりマウント電極からの通電を確保しつつマウント電極からの応力を緩和し圧電振動片の実装面積を減らしてデバイス全体の小型化を図っている。さらに特許文献1においては圧電振動片を駆動する集積回路をパッケージの一部とすることによりさらなる小型化を実現している。一方、移動体に搭載される圧電デバイスに対しては、上述の小型化のみならず耐衝撃性の向上も要求される。
特開2006−284373号公報
しかし、圧電デバイスの落下衝撃時に、圧電振動片の自由端がパッケージ内面に接触し圧電デバイスの特性に悪影響を及ぼす虞があった。なお、この問題は圧電振動片が収容されているパッケージが小型であると、圧電振動片とパッケージの内面との間のクリアランスが十分に確保できず、顕著になりやすい。また落下衝撃時に接着剤により固定されている圧電振動片の固定状態が変化して圧電振動片の電気的特性である内部抵抗や容量に変化が生じ、結果として圧電振動片の共振周波数が所望の共振周波数からずれてしまうという問題があった。
そこで本発明は、上記問題点に注目し、小型化、及び耐衝撃性の向上を共に実現する圧電振動子、及び圧電デバイスを提供することを目的とする。
本発明は、上述の課題の少なくとも一部を解決するためになされたものであり、以下の適用例として実現することが可能である。
[適用例1]パッケージの内部において収容された圧電振動片を有する圧電デバイスであって、前記圧電振動片を前記パッケージの前記内部において支持する複数の支持部材を備え、前記複数の支持部材は、前記圧電振動片を挟む位置に配置され、前記圧電振動片が、前記複数の支持部材を介して前記パッケージの互いに対向する内面により挟持されて、支持されていることを特徴とする圧電デバイス。
上記構成により、圧電振動片のパッケージに対する機械的固定が、支持部材を介してパッケージの互いに対向する内面により挟持されて行われているため、落下衝撃時の圧電振動片のブレを抑制し、圧電振動片のパッケージの内面との接触を防止することができる。また落下衝撃に伴いパッケージに対する圧電振動片の固定状態が変化してしまうことを防止して、落下衝撃時の圧電振動片の共振周波数の変動を防止することができる。
[適用例2]適用例1に記載の圧電デバイスであって、前記圧電振動片は、前記圧電振動片の励振電極と接続された引き出し電極が形成され、前記引き出し電極は、ワイヤを介して前記パッケージの前記内面に形成された電極に接続されていることを特徴とする圧電デバイス。
上記構成により、圧電振動片を支持する手段と、圧電振動片を電気的に接続する手段とが分離される。そして、その手段として接続信頼性の高いワイヤボンディングを採用するため、圧電振動片の電気的接続を確実に行うことができ、また、落下衝撃時の圧電振動片のブレが抑制され、これによりワイヤに掛かる機械的な負荷を抑制することができるため、電気的接続の信頼性を高めることができる。
[適用例3]適用例1に記載の圧電デバイスであって、前記パッケージは、ベース部と蓋部とを接合することにより形成され、前記圧電振動片の前記ベース部に対向する面には、前記圧電振動片の励振電極と接続された引き出し電極が形成され、前記複数の支持部材は、前記圧電振動片の一方の面の前記引き出し電極上と、前記圧電振動片の他方の面の前記引き出し電極に平面視して重なる位置とに設けられ、前記圧電振動片が前記複数の支持部材を介して前記ベース部の内面と前記蓋部の内面との間に挟持されて、前記圧電振動片が支持され、前記複数の支持部材のうち前記圧電振動片と前記ベース部との間に配置された第1支持部材は、前記複数の支持部材のうち前記圧電振動片と前記蓋部との間に配置された第2支持部材より硬度の低い導電材により形成されていることを特徴とする圧電デバイス。
上記構成により、パッケージの蓋部の外部からベース部方向に加える応力を、第2支持部材及び圧電振動片を通じて導電材に伝達することができる。よって導電材をベース部に押し付けることが可能となり、導電材とベース部とを強固に固定することができるので、圧電振動片の外部との電気的接続の信頼性が向上する。
[適用例4]適用例3に記載の圧電デバイスであって、前記第1支持部材は金バンプであることを特徴とする圧電デバイス。
上記構成により、圧電振動片はフリップチップボンディングによりパッケージのベース側に形成された貫通電極と強固に接続できる。よって適用例3の効果に加えて圧電振動片とパッケージのベース側との接着面積を減らし、寄生容量の発生を抑制できる。
[適用例5]適用例1に記載の圧電デバイスであって、前記圧電振動片には、前記圧電振動片の励振電極と接続する一対の引き出し電極が形成され、前記支持部材は、導電材で形成されて前記各引き出し電極上に設けられ、前記各引き出し電極は、前記支持部材を介して前記パッケージに形成された電極と電気的に接続されていることを特徴とする圧電デバイス。
上記構成により、支持部材は圧電振動片の機械的な支持と電気的な接続を共に行うことができるため、構成物品を減らし、コストダウンを図ることができる。また適用例1と同様の理由により、導電性を有する支持部材の落下衝撃に伴う内部抵抗や静電容量の変化を防止して、落下衝撃時の圧電振動子の共振周波数の変動を防止することができる。
[適用例6]適用例5に記載の圧電デバイスであって、前記パッケージは、ベース部と蓋部とを接合することにより形成され、前記複数の支持部材は、樹脂の表面を金属メッキして構成される樹脂コアバンプでそれぞれ形成されていることを特徴とする圧電デバイス。
上記構成により、圧電振動片をパッケージに接続してパッケージ内を真空封止する際に、樹脂コアバンプから圧電振動片の周波数特性等に影響を与えるガスが発生することがない。また、圧電振動片の固定に接着剤を用いる必要がないため、接着剤の硬化のための工程は必要がなく工程数を減らすことができ、また接着剤を用いないので接着剤の塗布位置や塗布量のバラツキの影響はなく、圧電振動子の歩留まりを向上でき、コストダウンを実
現できる。
[適用例7]請求項1に記載の圧電デバイスであって、前記パッケージは、ベース部と蓋部とを接合することによって形成され、前記ベース部は、ICであり、前記ICに形成された回路と、前記圧電振動片とが電気的に接続されていることを特徴とする圧電デバイス。
これにより、ICを備えた圧電デバイスの小型化を実現しつつ耐衝撃性を向上させることができる。
[適用例8]適用例1に記載の圧電デバイスであって、前記パッケージは、ベース部と蓋部とを接合することにより形成され、前記ベース部は、前記パッケージの外側に能動面を向けたICであり、前記ICを貫通し、前記能動面に形成された回路とその非能動面とを接続可能な貫通電極が、前記ICに形成され、前記非能動面に露出した前記貫通電極が前記圧電振動片に電気的に接続されていることを特徴とする圧電デバイス。
これにより、ICを備えた圧電デバイスの小型化を実現しつつ耐衝撃性を向上させることができる。また圧電振動片と回路との電気的接続を行う貫通電極がICに形成されているため、ICのサイズを大きくすることなく圧電振動片と回路との電気的接続を行うことができる。
以下、本発明に係る圧電振動子及び圧電デバイスを図に示した実施形態を用いて詳細に説明する。但し、この実施形態に記載される構成要素、種類、組み合わせ、形状、その相対配置などは特定的な記載がない限り、この発明の範囲をそれのみに限定する主旨ではなく単なる説明例に過ぎない。
本発明に係る圧電振動子はいずれの実施形態においても、パッケージの内部において支持部材により片持ち支持された圧電振動片を有する圧電振動子であって、前記支持部材は、前記圧電振動片の固定端とその裏面の対向する位置に設けられ、前記支持部材は前記パッケージの互いに対向する内面に挟み込まれて固定された構成を共通に有している。
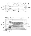
第1実施形態に係る圧電振動子10を図1に示す。図1(a)は側面方向から見た模式図、図1(b)は平面方向から見た模式図である。圧電振動子10は、パッケージ12、ベース部14、蓋部16、リッド18、側壁20、貫通電極22等から構成される。
パッケージ12はセラミック等の絶縁性材料から形成され、台座となる平板状のベース部14と、リッド18とリッド18の周縁に側壁20を有する蓋部16から構成される。パッケージ12の内部空間22は、蓋部16の側壁20を下に向け、側壁20の下端部20aとベース部14の上面の周縁領域とを、プラズマ接合または陽極接合等により接合することにより形成される。
ベース部14には2つの貫通電極22が形成されベース部14の下面に形成された外部電極24と接続される。貫通電極22は後述のワイヤボンディングを行うため、図1(b)に示すように圧電振動子10をリッド18の上から見た場合に支持部材38及び圧電振動片26と干渉しない位置に形成される。
外部電極24は実装機器側の電極(不図示)に接続され、パッケージ12内の圧電振動片26を発振させる発振回路(不図示)と接続するものである。
圧電振動片26は水晶、ニオブ酸リチウム、タンタル酸リチウム等の圧電材料から形成されており、厚みすべり振動片、音叉型振動片、SAW振動片を用いることができるが、
本実施形態においては厚みすべり振動片28を例に説明する。厚みすべり振動片28の長手方向(長辺方向)の固定端28aが支持部材38により固定され、固定端28aの長手方向の反対側にある自由端28bはパッケージ12の内部空間12aで浮いた状態となっており、厚みすべり振動片28は片持ち支持状態でパッケージ12の内部空間12eで支持されている。厚みすべり振動片28の両面には励振電極30、32が配設されている。厚みすべり振動片28の固定端28aにおいて、後述の支持部材38と干渉しない位置に厚みすべり振動片28の励振電極30(32)と接続した引き出し電極34(36)が配設されている。引き出し電極36は厚みすべり振動片28の周縁を回りこみ、他方の引き出し電極34が形成された面に形成されている。そして引き出し電極34、36は互いに干渉しないように、厚みすべり振動片28の固定端28aの両端にそれぞれ分かれて配設されている。そして厚みすべり振動片28は、引き出し電極34、36が形成された面をパッケージ12のリッド18側に向けて支持部材38により固定される。そして引き出し電極34、36と貫通電極22はAu線等のワイヤ40によるワイヤボンディングにより接続される。
支持部材38は、エポキシ樹脂等の一定の強度と弾性を有する接着剤等から形成されたものである。支持部材38が一定の強度を有することにより、厚みすべり振動片28の支持を確実に行うことができるとともに、一定の弾性を有することによりパッケージ12外部からの衝撃が、支持部材38を通じて厚みすべり振動片28に及ぶことを防止することができる。支持部材38は厚みすべり振動片28の固定端28aの両面であって、固定端28aの中央領域、すなわち引き出し電極34、36と当接しない位置に設けられる。なお、支持部材38は、ベース部14に固定される方を第1支持部材38aとし、蓋部16に固定される方を第2支持部材38bとするが、支持部材38は厚みすべり振動片28をパッケージ12に当接させず、浮かせた状態で支持するため、第1支持部材38a及び第2支持部材38bは所定の高さを有するように設ける必要がある。
第1実施形態に係る圧電振動子10の組み立ては、まずパッケージ12のベース部14上の所定の位置(2箇所)において第1支持部材38a(接着剤)を所定の高さまで塗布し、第1支持部材38aの上に、引き出し電極34、36を有する面を上向きにして厚みすべり振動片28の固定端28aを接着し、厚みすべり振動片28をベース部14上の面と平行に保ったまま第1支持部材38aを硬化させて厚みすべり振動片28を固定する。
次にワイヤ40を用い、引き出し電極34、36とベース部14において所定の位置に形成された貫通電極22とをワイヤボンディングにより接続する。この段階で厚みすべり振動片28は外部電極24と電気的に接続され、厚みすべり振動片28を発振回路(不図示)に接続して厚みすべり振動片28を発振させることができるため、レーザ光を励振電極30、32に照射して励振電極30、32の一部を剥ぎ取ることにより共振周波数の調整を行う。
そして、既に硬化した第1支持部材38aに対向して厚みすべり振動片28の固定端28a上に第2支持部材38b(接着剤)を所定の高さまで塗布する。このとき第2支持部材38b上端のベース部14上面からの高さが蓋部16の側壁20の高さよりやや高くなるように、第2支持部材38bを塗布する。そして蓋部16の側壁20の下端部20aとベース部14上の周縁領域をプラズマ接合または陽極接合により接合する。このとき第2支持部材38bの上端とリッド18の下面とが当接し、この状態を維持して第2支持部材38bを硬化させ、リッド18の下面と厚みすべり振動片28の固定端28aに接着する。よって、厚みすべり振動片28は、ベース部14の上面に固定された第1支持部材38aのみならず、リッド18の下面に固定された第2支持部材38bにも支持されることになる。そしてベース部14または蓋部16に形成された封止孔(不図示)から空気を吸引して封止孔を封止することにより圧電振動子10が形成される。
こうして形成された第1実施形態に係る圧電振動子10は、圧電振動片26のパッケージ12に対する機械的固定が、圧電振動片26の両面とパッケージ12の内面との間で行われているため、落下衝撃時の圧電振動片のブレを抑制し、圧電振動片26とパッケージ12の内面とが接触することを防止することができる。したがって、圧電振動子10の小型化を実現しつつ、圧電振動片26のパッケージ12に対する実装強度を向上させることができる。すなわち落下衝撃時の圧電振動片26のブレを抑制し、圧電振動片26のパッケージ12の内面との接触を防止することができる。また落下衝撃に伴う支持部材38の静電容量の変化を防止して、落下衝撃時の圧電振動子10の共振周波数の変動を防止することができる。
また、圧電振動片26を支持する手段と、圧電振動片26を電気的に接続する手段とが分離される。よって圧電振動片26の電気的接続を確実に行うことができ、また、落下衝撃時の圧電振動片26のブレが抑制され、これによりワイヤに掛かる機械的な負荷を抑制することができるため、電気的接続の信頼性を高めることができる。
第2実施形態に係る圧電振動子50を図2、図3に示す。図3は図2の変形例である、図2(a)及び図3(a)は側面方向から見た模式図であり、図2(b)及び図3(b)は平面方向から見た模式図である。第2実施形態に係る圧電振動子50は、ベース部14側に固定された第1支持部材52が導電材により形成されるとともに、前記第1支持部材52がベース部14側に加圧された状態であることが特徴である。厚みすべり振動片28の形態は第1実施形態と同様であるが、引き出し電極34、36を有する面をベース部14側に向け第1支持部材52により支持されている。ベース部14側に固定される第1支持部材52は導電性シリコン54(図2)、またはAuバンプ56(図3)を用いた導電材により形成されている。導電材は、エポキシ樹脂等が用いられる蓋部16側に固定される第2支持部材58よりも硬度が低いものであれば他の材料でも利用できる。また第1支持部材52は後述の形成過程によりベース部14側に加圧された状態となる。第1支持部材52及び第2支持部材58は、厚みすべり振動片28の短辺の両端側に分かれて形成された引き出し電極34、36上に設けられ(計2つ)、第1支持部材52及び第2支持部材58は、引き出し電極34、36をそれぞれ挟み込むように対向して、第1支持部材52は引き出し電極34、36が形成された面、第2支持部材58はその反対面に設けられる。これにより厚みすべり振動片28は、固定端28aにおいて2点支持され、長手方向で片持ち支持されることになる。
更に互いに対向する第1支持部材52及び第2支持部材58は厚みすべり振動片28を挟んで一直線上に並んで固定される。これにより後述の組み立てにおいて第2支持部材58から第1支持部材52へ応力を伝達して、第1支持部材52とベース部14との間を強固に固定することができる。また一直線上に並んでいるため第1支持部材52が前記一直線方向以外の方向に変形し、厚みすべり振動片28がベース部14及び蓋部16に対して傾斜して固定され、またはパッケージ12の内面に当接して固定されることを防止できる。
図2、図3に示すように、貫通電極60は第1実施形態と同様にベース部14に形成されるが、2つの第1支持部材52と接続可能な位置、すなわち第1支持部材52が固定される位置にそれぞれ形成される。いいかえれば第1支持部材52が厚みすべり振動片28の引き出し電極34、36を支持する位置に対応して形成される。これにより引き出し電極34、36は、導電材で形成された第1支持部材52及び貫通電極60を介して外部電極62と電気的に接続される。
第2実施形態において、第1支持部材52に導電性シリコン54(図2)を用いた場合
の圧電振動子50の組み立ては、ベース部14上の貫通電極60が露出した部分(2箇所)に第1支持部材52を所定の高さまでそれぞれ塗布し、厚みすべり振動片28とベース部14との平行な配置を維持した状態で、第1支持部材52の上端に対応させて厚みすべり振動片28の引き出し電極34、36を第1支持部材52に載置し、第1支持部材52を硬化させることで、厚みすべり振動片28は第1支持部材52に支持される。一方、第1支持部材52にAuバンプ56(図3)を用いた場合の圧電振動子50の組み立ては、まず厚みすべり振動片28の引き出し電極34、36にAuバンプ56をそれぞれ接続する。そして引き出し電極34、36に接続されたAuバンプ56をそれぞれベース部14の貫通電極60が露出した部分に乗せAuバンプ56を貫通電極60に押し付けるとともに、厚みすべり振動片28のAuバンプ56の真上の位置から超音波を与えて熱圧着によりAuバンプ56をつぶすことにより、厚みすべり振動片28をベース部14に固定する。
第1支持部材52に導電性シリコン54、Auバンプ56のいずれを用いた場合でも、この段階で引き出し電極34、36は第1支持部材52、及び貫通電極60を介して外部電極62に電気的に接続されるので、第1実施形態と同様に共振周波数の調整を行う。
次に、厚みすべり振動片28の上面であって第1支持部材52と対向する位置に第2支持部材58を所定の高さまでそれぞれ塗布し、第2支持部材58を硬化させる。このとき導電性シリコン54(またはAuバンプ56)、厚みすべり振動片28、第2支持部材58が形成するベース部14からのマウントの高さは、蓋部16の側壁20の高さよりもやや高くなるように第2支持部材58の高さを第2支持部材58の硬化前に調整する。
そして、第2支持部材58が硬化したのち蓋部16の側壁20の下端部20aとベース部14上の周縁領域をプラズマ接合または陽極接合により接合する。このとき、前記マウントの高さは側壁20の高さよりも高くしてあるので、第2支持部材58の上端とリッド18の下面とが当接するとともに、ベース部14と蓋部16との間の接合力により第1支持部材52はベース部14側に加圧されることになる。また上述のように第1支持部材52及び第2支持部材58は一直線上に並ぶため、第1支持部材52は前記一直線の方向にのみ圧力を受けるため、厚みすべり振動片28が傾斜して、パッケージ12に当接することはない。そして上述同様にパッケージ12の内部空間12aを真空封止することにより第2実施形態の圧電振動子50が形成される。
こうして形成された第2実施形態に係る圧電振動子50は、パッケージ12の蓋部16の外部からベース部14方向に加える応力を、第2支持部材58及び厚みすべり振動片28を通じて導電材である第1支持部材52に伝達することができる。よって第1支持部材52をベース部14に押し付けることが可能となり、第1支持部材52とベース部14とを強固に固定することができるので、厚みすべり振動片28の外部との電気的接続の信頼性が向上する。さらに第1支持部材52にAuバンプ56を用いた場合は、フリップチップボンディングによりパッケージ12のベース部14に形成された貫通電極60と強固に接続できるので、厚みすべり振動片28とパッケージ12のベース部14との接着面積を減らし、寄生容量の発生を抑制できる。
第3実施形態に係る圧電振動子70を図4に示す。図4(a)は側面方向から見た模式図であり、図4(b)は平面方向から見た模式図である。第3実施形態に係る圧電振動子70において、厚みすべり振動片72の引き出し電極74、76は、第1実施形態、第2実施形態とは異なり、厚みすべり振動片72の固定端72aの両面の互いに対向する位置に形成されている。そして第1支持部材78及び第2支持部材80はそれぞれ引き出し電極74、76を挟み込みつつ互いに対向して厚みすべり振動片72の固定端72aを挟み込むように設けられる。また第1支持部材78及び第2支持部材80は導電材であって例
えば導電シリコンが用いられる。
貫通電極82、84はベース部14に形成され、一方の貫通電極82は第1支持部材78を固定する位置に形成されている。また他方の貫通電極84はベース部14の周縁領域であって蓋部16の側壁20の下端部20aと当接する所定の位置に形成される。なお、貫通電極82、84はそれぞれベース部14下面に接続された外部電極88と接続される。
リッド18下面の第2支持部材80を固定する位置には内部配線86が形成され、内部配線86はリッド18の下面の所定位置から側壁20の内側を通り下端部20aの所定の位置までの経路を有する。内部配線86はタングステン等のペースト材料を蓋部16の内側に塗布し、焼結させて形成させたのちにAu等のメッキを施したものである。
ベース部14と蓋部16との接合は、プラズマ接合により行うことが好適である。プラズマ接合は接合面にAu膜等の金属膜(不図示)をスパッタ等により形成し、両方の金属膜の表面をプラズマ照射により活性化させ、活性化された金属膜表面同士を当接させ、加熱加圧して活性化された金属原子が当接面から互いに拡散して当接した膜同士が一体化することにより接合させるものである。よって内部配線86及び貫通電極84は金属膜(不図示)を介して電気的に接合することができる。したがって、厚みすべり振動片72の蓋部16側に向いた面に形成された引き出し電極76は、第2支持部材80、内部配線86、金属膜(不図示)を経由して貫通電極84と電気的に接続される。
第3実施形態に係る圧電振動子70の組み立ては、まずベース部14の貫通電極82が形成された位置に第1支持部材78を所定の高さまで塗布し、第1支持部材78の上に引き出し電極74を載せ、かつ厚みすべり振動片72をベース部14上面と水平を保った状態で第1支持部材78に接着させ、第1支持部材78を硬化させる。
この状態でベース部14側に向いた引き出し電極74は、第1支持部材78を介して貫通電極82と電気的に接続される。よって外部電極88と上面に向いた引き出し電極76とを発振回路(不図示)に接続して上述同様に共振周波数の調整を行う。
次に、上面に向いた引き出し電極76上に所定の高さまで塗布する。このとき、第2支持部材80上端のベース部14上面からの高さが、蓋部16の側壁20の高さよりもやや高くなるように塗布する。そして、すでに内部配線86が施された蓋部16の側壁20の下端部20aと、ベース部14の周縁とをプラズマ接合により接合する。このとき第2支持部材80と内部配線86が接着し、第2支持部材80が硬化することによって第2支持部材80は内部配線86を挟み込む態様で蓋部16に固定される。そして上述同様にパッケージ12内部を真空封止することにより第3実施形態に係る圧電振動子70が形成される。
このようにして形成された第3実施形態の圧電振動子70は、第1支持部材78及び第2支持部材80は厚みすべり振動片72の機械的な支持と電気的な接続を共に行うことができるため、構成物品を減らし、コストダウンを図ることができる。また第1実施形態と同様の理由により、導電性を有する第1支持部材78及び第2支持部材80の落下衝撃に伴う内部抵抗や静電容量の変化を防止して、落下衝撃時の圧電振動子70の共振周波数の変動を防止することができる。
第4実施形態に係る圧電振動子90を図5に示す。図5(a)は側面方向から見た模式図、図5(b)は平面方向からみた模式図である。第4実施形態に係る圧電振動子90は基本的には第3実施形態の圧電振動子70と類似するが、厚みすべり振動片72の両面に
形成されている支持部材が表面にAuメッキが施された樹脂コアバンプ92となっていることである。樹脂コアバンプ92は引き出し電極74、76上にそれぞれ形成され、エポキシ樹脂等をコアとしてその表面にAuメッキが施されている。よって樹脂コアバンプ92はそれぞれ引き出し電極74、76に固定されるとともに、引き出し電極74、76と電気的に接続される。2つの樹脂コアバンプ92及び厚みすべり振動片72が形成する高さは、蓋部16の側壁20の高さよりも高くなるように設計する。これにより、樹脂コアバンプ92は、ベース部14と蓋部16との接合力により圧力を受けて変形し、ベース部14及び蓋部16に対して突っ張る態様で厚みすべり振動片72を支持することになる。そしてベース部14側の樹脂コアバンプ92はベース部の貫通電極82が露出した部分に固定されるとともに、貫通電極82と電気的に接続され、蓋部16側の樹脂コアバンプ92はリッド18の内部配線86が設けられた部分に固定されるとともに、内部配線86と電気的に接続される。
第4実施形態に係る圧電振動子の組み立ては、まず厚みすべり振動片72の両面にある引き出し電極74、76上に樹脂コアバンプ92をそれぞれ形成する。そして前記樹脂コアバンプ92の一方をベース部14の貫通電極82が露出した部分に置き、厚みすべり振動片72をベース部14に対して平行を保った状態で仮止めするため、前記ベース部14側にある樹脂コアバンプ92を弱く加圧して前記ベース部14に接合する。この状態で上向きの樹脂コアバンプ92と貫通電極82を発振回路(不図示)に接続し、上述同様に共振周波数の調整を行う。
次に、蓋部16の側壁20の下端部20aとベース部14の周縁領域とを第3実施形態と同様にプラズマ接合により接続する。このとき蓋部16側に向いた樹脂コアバンプ92は内部配線86と接触する。そしてベース部14と蓋部16との接合力により、2つの樹脂コアバンプ92は共に強く加圧されて変形し、それぞれベース部14、蓋部16に圧着して固定される。
そして上述同様にパッケージ12内部を真空封止することによって第4実施形態の圧電振動子90が形成される。
こうして形成された圧電振動子90は、厚みすべり振動片72をパッケージ12に接続してパッケージ12内を真空封止する際に、樹脂コアバンプ92から厚みすべり振動片72の周波数特性等に影響を与えるガスが発生することがない。また圧着により厚みすべり振動片72をパッケージ12に接続するため、通常用いられる厚みすべり振動片72をパッケージに接着する接着剤の硬化のための工程は必要がないため工程数を減らすことがき、また接着剤を用いないので接着剤のアライメント性の影響はなく、圧電振動子90の歩留まり上げ、コストダウンを図ることができる。
第5実施形態に係る圧電デバイス100を図6に示す。図6(a)は側面方向から見た模式図であり、図6(b)は底面方向からみた模式図である。第5実施形態に係る圧電デバイス100は第1実施形態乃至第4実施形態に係る圧電振動子10、50、70、90に発振回路(不図示)を包含するICチップ102を付加したものである。図6においては第1実施形態に係る圧電振動子に対して本実施形態を適用したもののみ示しているが、他の実施形態に適用した場合も同様であるので説明を省略する。本実施形態において、パッケージ12のベース部14をパッケージ12の外側に能動面を向けたICチップ102に置き換えている。ICチップ102には貫通電極106が形成され、貫通電極106の一端はICチップ102の能動面に形成された発振回路等の回路に接続され、他端は厚みすべり振動片28側に接続されている。ICチップ102に形成される貫通電極106は、各実施形態にあわせ、厚みすべり振動片側の構造に応じてその位置を設計すればよい。
ICチップ102の能動面には複数の電極パッド104が形成されている。電極パッド
104と貫通電極106は接続電極114により接続されている。よって厚みすべリ振動片28は電極パッド104を介して発振回路(不図示)と接続される。ICチップ102の能動面に形成された電極パッド104は一般的に小さい範囲に収まっているので、能動面上にポリイミド等の絶縁層108を形成し、絶縁層108の表面に実装用の外部電極110を形成し、外部電極110と電極パッド104とを絶縁層108を貫通する貫通電極112、貫通電極112と電極パッド104とを接続する接続電極116を形成することで、ICチップ102上の電極パッド104の配置を実装用に再配置するとともに、電極パッド104を封止して電気的な短絡等を防止することができる。第5実施形態に係る圧電デバイスの組み立ては、第1実施形態乃至第4実施形態と同様なので説明を省略する。
第5実施形態に係る圧電デバイス100によれば、小型化を実現しつつ耐衝撃性に優れた第1実施形態乃至第4実施形態に係る圧電振動子10、50、70、90を用いたチップサイズパッケージ型の圧電デバイス100を構築することができる。
いずれの実施形態においても、圧電振動子10、50、70、90に用いられる圧電振動片26は厚みすべり振動片28、72を前提に述べてきたが、音叉型振動片を用いる場合は、圧電振動子10、50、70、90の真空封止前の共振周波数の調整は圧電振動子10、50、70、90を真空チャンバに入れて行えばよい。またリッド18がレーザ光を透過する材料で形成されている場合は、真空封止後においても共振周波数の調整を行うことができる。
第1実施形態に係る圧電振動子の模式図である。 第2実施形態に係る圧電振動子の模式図である。 第2実施形態に係る圧電振動子の変形例の模式図である。 第3実施形態に係る圧電振動子の模式図である。 第4実施形態に係る圧電振動子の模式図である。 第5実施形態に係る圧電デバイスの模式図である。
符号の説明
10………圧電振動子、12………パッケージ、14………ベース部、16………蓋部、18………リッド、20………側壁、22………貫通電極、24………外部電極、26………圧電振動片、28………厚みすべり振動片、30………励振電極、32………励振電極、34………引き出し電極、36………引き出し電極、38………支持部材、40………ワイヤ、50………圧電振動子、52………第1支持部材、54………導電性シリコン、56………Auバンプ、58………第2支持部材、60………貫通電極、62………外部電極、70………圧電振動子、72………厚みすべり振動片、74………引き出し電極、76………引き出し電極、78………第1支持部材、80………第2支持部材、82………貫通電極、84………貫通電極、86………内部配線、88………外部電極、90………圧電振動子、92………樹脂コアバンプ、100………圧電デバイス、102………ICチップ、104………電極パッド、106………貫通電極、108………絶縁層、110………外部電極、112………貫通電極、114………接続電極、116………接続電極。

Claims (8)

  1. パッケージの内部において収容された圧電振動片を有する圧電デバイスであって、
    前記圧電振動片を前記パッケージの前記内部において支持する複数の支持部材を備え、
    前記複数の支持部材は、前記圧電振動片を挟む位置に配置され、
    前記圧電振動片が、前記複数の支持部材を介して前記パッケージの互いに対向する内面により挟持されて、支持されていることを特徴とする圧電デバイス。
  2. 請求項1に記載の圧電デバイスであって、
    前記圧電振動片は、前記圧電振動片の励振電極と接続された引き出し電極が形成され、
    前記引き出し電極は、ワイヤを介して前記パッケージの前記内面に形成された電極に接続されていることを特徴とする圧電デバイス。
  3. 請求項1に記載の圧電デバイスであって、
    前記パッケージは、ベース部と蓋部とを接合することにより形成され、
    前記圧電振動片の前記ベース部に対向する面には、前記圧電振動片の励振電極と接続された引き出し電極が形成され、
    前記複数の支持部材は、前記圧電振動片の一方の面の前記引き出し電極上と、前記圧電振動片の他方の面の前記引き出し電極に平面視して重なる位置とに設けられ、
    前記圧電振動片が前記複数の支持部材を介して前記ベース部の内面と前記蓋部の内面との間に挟持されて、前記圧電振動片が支持され、
    前記複数の支持部材のうち前記圧電振動片と前記ベース部との間に配置された第1支持部材は、前記複数の支持部材のうち前記圧電振動片と前記蓋部との間に配置された第2支持部材より硬度の低い導電材により形成されていることを特徴とする圧電デバイス。
  4. 請求項3に記載の圧電デバイスであって、
    前記第1支持部材は金バンプであることを特徴とする圧電デバイス。
  5. 請求項1に記載の圧電デバイスであって、
    前記圧電振動片には、前記圧電振動片の励振電極と接続する一対の引き出し電極が形成され、
    前記支持部材は、導電材で形成されて前記各引き出し電極上に設けられ、
    前記各引き出し電極は、前記支持部材を介して前記パッケージに形成された電極と電気的に接続されていることを特徴とする圧電デバイス。
  6. 請求項5に記載の圧電デバイスであって、
    前記パッケージは、ベース部と蓋部とを接合することにより形成され、
    前記複数の支持部材は、樹脂の表面を金属メッキして構成される樹脂コアバンプでそれぞれ形成されていることを特徴とする圧電デバイス。
  7. 請求項1に記載の圧電デバイスであって、
    前記パッケージは、ベース部と蓋部とを接合することによって形成され、
    前記ベース部は、ICであり、
    前記ICに形成された回路と、前記圧電振動片とが電気的に接続されていることを特徴とする圧電デバイス。
  8. 請求項1に記載の圧電デバイスであって、
    前記パッケージは、ベース部と蓋部とを接合することにより形成され、
    前記ベース部は、前記パッケージの外側に能動面を向けたICであり、
    前記ICを貫通し、前記能動面に形成された回路とその非能動面とを接続可能な貫通電
    極が、前記ICに形成され、
    前記非能動面に露出した前記貫通電極が前記圧電振動片に電気的に接続されていることを特徴とする圧電デバイス。
JP2008227974A 2008-09-05 2008-09-05 圧電デバイス Expired - Fee Related JP5396780B2 (ja)

Priority Applications (1)

Application Number Priority Date Filing Date Title
JP2008227974A JP5396780B2 (ja) 2008-09-05 2008-09-05 圧電デバイス

Applications Claiming Priority (1)

Application Number Priority Date Filing Date Title
JP2008227974A JP5396780B2 (ja) 2008-09-05 2008-09-05 圧電デバイス

Related Child Applications (1)

Application Number Title Priority Date Filing Date
JP2011181324A Division JP5510414B2 (ja) 2011-08-23 2011-08-23 圧電デバイス

Publications (3)

Publication Number Publication Date
JP2010062973A true JP2010062973A (ja) 2010-03-18
JP2010062973A5 JP2010062973A5 (ja) 2011-10-27
JP5396780B2 JP5396780B2 (ja) 2014-01-22

Family

ID=42189263

Family Applications (1)

Application Number Title Priority Date Filing Date
JP2008227974A Expired - Fee Related JP5396780B2 (ja) 2008-09-05 2008-09-05 圧電デバイス

Country Status (1)

Country Link
JP (1) JP5396780B2 (ja)

Cited By (2)

* Cited by examiner, † Cited by third party
Publication number Priority date Publication date Assignee Title
JP2014093734A (ja) * 2012-11-06 2014-05-19 Sii Crystal Technology Inc 電子デバイス及び電子デバイスの製造方法
CN111384913A (zh) * 2018-12-28 2020-07-07 精工爱普生株式会社 振动器件、振动模块、电子设备以及移动体

Citations (12)

* Cited by examiner, † Cited by third party
Publication number Priority date Publication date Assignee Title
JPS5291687A (en) * 1976-01-29 1977-08-02 Seiko Instr & Electronics Ltd Vibrator supporting construction
JPS5352094A (en) * 1976-10-22 1978-05-12 Seiko Instr & Electronics Ltd Support structure of piezo-resonator
JPH01125112A (ja) * 1987-11-10 1989-05-17 Seiko Electronic Components Ltd 水晶振動子の支持構造
JPH0575372A (ja) * 1991-09-10 1993-03-26 Murata Mfg Co Ltd 圧電共振子及びその製造方法
JPH0681135U (ja) * 1993-04-28 1994-11-15 キンセキ株式会社 圧電振動子
JP2001144580A (ja) * 1999-11-12 2001-05-25 Nippon Dempa Kogyo Co Ltd 水晶振動子
JP2002176318A (ja) * 2000-09-27 2002-06-21 Citizen Watch Co Ltd 圧電発振器及びその実装構造
JP2002198768A (ja) * 2000-11-29 2002-07-12 Samsung Electro Mech Co Ltd 耐衝撃性が向上された水晶振動子
JP2004179734A (ja) * 2002-11-25 2004-06-24 Nippon Dempa Kogyo Co Ltd 表面実装用の水晶発振器
JP2005143042A (ja) * 2003-11-10 2005-06-02 Seiko Epson Corp 圧電デバイス
JP2007324880A (ja) * 2006-05-31 2007-12-13 Kyocera Kinseki Corp 圧電発振器
WO2008038767A1 (fr) * 2006-09-30 2008-04-03 Citizen Finetech Miyota Co., Ltd. dispositif piézoélectrique

Patent Citations (12)

* Cited by examiner, † Cited by third party
Publication number Priority date Publication date Assignee Title
JPS5291687A (en) * 1976-01-29 1977-08-02 Seiko Instr & Electronics Ltd Vibrator supporting construction
JPS5352094A (en) * 1976-10-22 1978-05-12 Seiko Instr & Electronics Ltd Support structure of piezo-resonator
JPH01125112A (ja) * 1987-11-10 1989-05-17 Seiko Electronic Components Ltd 水晶振動子の支持構造
JPH0575372A (ja) * 1991-09-10 1993-03-26 Murata Mfg Co Ltd 圧電共振子及びその製造方法
JPH0681135U (ja) * 1993-04-28 1994-11-15 キンセキ株式会社 圧電振動子
JP2001144580A (ja) * 1999-11-12 2001-05-25 Nippon Dempa Kogyo Co Ltd 水晶振動子
JP2002176318A (ja) * 2000-09-27 2002-06-21 Citizen Watch Co Ltd 圧電発振器及びその実装構造
JP2002198768A (ja) * 2000-11-29 2002-07-12 Samsung Electro Mech Co Ltd 耐衝撃性が向上された水晶振動子
JP2004179734A (ja) * 2002-11-25 2004-06-24 Nippon Dempa Kogyo Co Ltd 表面実装用の水晶発振器
JP2005143042A (ja) * 2003-11-10 2005-06-02 Seiko Epson Corp 圧電デバイス
JP2007324880A (ja) * 2006-05-31 2007-12-13 Kyocera Kinseki Corp 圧電発振器
WO2008038767A1 (fr) * 2006-09-30 2008-04-03 Citizen Finetech Miyota Co., Ltd. dispositif piézoélectrique

Cited By (5)

* Cited by examiner, † Cited by third party
Publication number Priority date Publication date Assignee Title
JP2014093734A (ja) * 2012-11-06 2014-05-19 Sii Crystal Technology Inc 電子デバイス及び電子デバイスの製造方法
CN111384913A (zh) * 2018-12-28 2020-07-07 精工爱普生株式会社 振动器件、振动模块、电子设备以及移动体
JP2020108109A (ja) * 2018-12-28 2020-07-09 セイコーエプソン株式会社 振動デバイス、振動モジュール、電子機器および移動体
JP7211082B2 (ja) 2018-12-28 2023-01-24 セイコーエプソン株式会社 振動デバイスおよび振動モジュール
CN111384913B (zh) * 2018-12-28 2023-10-20 精工爱普生株式会社 振动器件、振动模块、电子设备以及移动体

Also Published As

Publication number Publication date
JP5396780B2 (ja) 2014-01-22

Similar Documents

Publication Publication Date Title
US20130207735A1 (en) Vibrating device and oscillator
JP2009188483A (ja) 圧電デバイス及び表面実装型圧電発振器
CN107615648B (zh) 压电振动器件
JP2009158999A (ja) 圧電デバイス
US12273092B2 (en) Resonator device
JP2010103950A (ja) 振動子及びその製造方法
JP2008131549A (ja) 水晶振動デバイス
KR100699586B1 (ko) 수정발진기
JP7775594B2 (ja) 振動デバイス
JP5396780B2 (ja) 圧電デバイス
JP2008211773A (ja) 音叉型圧電振動子
JP5510414B2 (ja) 圧電デバイス
JP2007013444A (ja) 圧電振動デバイス及びその製造方法
JP2006054602A (ja) 電子部品用パッケージ及び当該電子部品用パッケージを用いた圧電振動デバイス
JP2004072641A (ja) 表面実装用の水晶発振器
JP2014049966A (ja) 水晶デバイス
US10200011B2 (en) Crystal oscillator package
JP2002084160A (ja) 圧電デバイス
JP2009239475A (ja) 表面実装型圧電発振器
JP2013143607A (ja) 表面実装用水晶発振器
JP4720846B2 (ja) 水晶振動デバイス
JP2010258667A (ja) 電子部品およびその製造方法、圧電振動子およびその製造方法
JP2010135874A (ja) 表面実装用の水晶発振器
JP5340983B2 (ja) 電子部品およびその製造方法
JP4609287B2 (ja) 表面実装型圧電発振器

Legal Events

Date Code Title Description
A711 Notification of change in applicant

Free format text: JAPANESE INTERMEDIATE CODE: A712

Effective date: 20110729

RD03 Notification of appointment of power of attorney

Free format text: JAPANESE INTERMEDIATE CODE: A7423

Effective date: 20110729

A521 Written amendment

Free format text: JAPANESE INTERMEDIATE CODE: A523

Effective date: 20110819

A521 Written amendment

Free format text: JAPANESE INTERMEDIATE CODE: A523

Effective date: 20110822

A621 Written request for application examination

Free format text: JAPANESE INTERMEDIATE CODE: A621

Effective date: 20110822

A977 Report on retrieval

Free format text: JAPANESE INTERMEDIATE CODE: A971007

Effective date: 20121015

A131 Notification of reasons for refusal

Free format text: JAPANESE INTERMEDIATE CODE: A131

Effective date: 20121030

A521 Written amendment

Free format text: JAPANESE INTERMEDIATE CODE: A523

Effective date: 20121213

RD03 Notification of appointment of power of attorney

Free format text: JAPANESE INTERMEDIATE CODE: A7423

Effective date: 20121213

A131 Notification of reasons for refusal

Free format text: JAPANESE INTERMEDIATE CODE: A131

Effective date: 20130319

A521 Written amendment

Free format text: JAPANESE INTERMEDIATE CODE: A523

Effective date: 20130514

TRDD Decision of grant or rejection written
A01 Written decision to grant a patent or to grant a registration (utility model)

Free format text: JAPANESE INTERMEDIATE CODE: A01

Effective date: 20130924

A61 First payment of annual fees (during grant procedure)

Free format text: JAPANESE INTERMEDIATE CODE: A61

Effective date: 20131007

R150 Certificate of patent or registration of utility model

Free format text: JAPANESE INTERMEDIATE CODE: R150

LAPS Cancellation because of no payment of annual fees