JP2010062583A - 電子装置及び静電気放電対策方法 - Google Patents

電子装置及び静電気放電対策方法 Download PDF

Info

Publication number
JP2010062583A
JP2010062583A JP2009266963A JP2009266963A JP2010062583A JP 2010062583 A JP2010062583 A JP 2010062583A JP 2009266963 A JP2009266963 A JP 2009266963A JP 2009266963 A JP2009266963 A JP 2009266963A JP 2010062583 A JP2010062583 A JP 2010062583A
Authority
JP
Japan
Prior art keywords
semiconductor device
heat
electronic device
circuit board
printed circuit
Prior art date
Legal status (The legal status is an assumption and is not a legal conclusion. Google has not performed a legal analysis and makes no representation as to the accuracy of the status listed.)
Granted
Application number
JP2009266963A
Other languages
English (en)
Other versions
JP4496278B2 (ja
Inventor
Takashi Yajima
貴志 矢島
Masayuki Gamo
真之 蒲生
Current Assignee (The listed assignees may be inaccurate. Google has not performed a legal analysis and makes no representation or warranty as to the accuracy of the list.)
Toshiba Corp
Original Assignee
Toshiba Corp
Priority date (The priority date is an assumption and is not a legal conclusion. Google has not performed a legal analysis and makes no representation as to the accuracy of the date listed.)
Filing date
Publication date
Application filed by Toshiba Corp filed Critical Toshiba Corp
Priority to JP2009266963A priority Critical patent/JP4496278B2/ja
Publication of JP2010062583A publication Critical patent/JP2010062583A/ja
Application granted granted Critical
Publication of JP4496278B2 publication Critical patent/JP4496278B2/ja
Expired - Fee Related legal-status Critical Current
Anticipated expiration legal-status Critical

Links

Images

Classifications

    • HELECTRICITY
    • H01ELECTRIC ELEMENTS
    • H01LSEMICONDUCTOR DEVICES NOT COVERED BY CLASS H10
    • H01L2924/00Indexing scheme for arrangements or methods for connecting or disconnecting semiconductor or solid-state bodies as covered by H01L24/00
    • H01L2924/0001Technical content checked by a classifier
    • H01L2924/0002Not covered by any one of groups H01L24/00, H01L24/00 and H01L2224/00

Landscapes

  • Shielding Devices Or Components To Electric Or Magnetic Fields (AREA)
  • Cooling Or The Like Of Semiconductors Or Solid State Devices (AREA)

Abstract

【課題】放熱対策及び静電気放電対策を図るとともに、不要輻射を低減できる電子装置及び静電気対策方法を提供することを主たる目的とする。
【解決手段】本実施形態の電子装置100は、プリント基板101と、このプリント基板101上に実装された半導体デバイス102と、この半導体デバイス102上に熱伝導シート103を介して設けられた放熱板104と、この放熱板104をプリント基板101に固定するための固定具105と、プリント基板101上に設けられ、固定具105と電気的に接続された銅箔層106と、この銅箔層106と放電ギャップ107を挟んでプリント基板101上に設けられ一端が接地電位(GND)に接続された銅箔層108とを含んで構成されている。
【選択図】図1

Description

この発明は、放熱部材を備えた電子装置及び静電気対策方法に関する。
近年、デジタルテレビなどのデジタルメディア機器には、高い処理速度の半導体デバイス(例えばCPU)が求められ、動作時の発熱量は年々高くなってきている。過度に高温となった半導体デバイスは誤動作を起こす恐れが高い。従って、消費電力が高く、発熱量の高い半導体デバイスに対しては放熱板を設けることが行われている。放熱板は通常アルミニウム等の熱伝導性の高い金属で作られ、半導体デバイスの上に固定されることが一般的である。
特許文献1には、バネ手段を用いて放熱板が半導体デバイス上に押圧固定された構造が示されている。
ところで、放熱板は導電体であり電荷の経路となり得るため、静電気やノイズ等の放電先となり得る。従って、静電気放電(ESD:Electro-Static Discharge)が生じた場合、逃げ場の無い静電気は放熱板を介して周囲の半導体デバイスの端子等に放電され、当該周囲の半導体デバイスが深刻なダメージ(半導体素子の破壊、誤動作など)を受ける恐れがある。
このESDの問題を回避する観点から、放熱板そのものをGND(接地電位)に接続することが行われている(特許文献2参照)。これによれば、放熱板に放電した静電気は半導体デバイスよりも電位の低いGNDに流れるため、半導体デバイスに対してダメージを与え難い。
特開2000−183256号公報 特開2006−80453号公報
上記のように、放熱板を設ける際には放熱対策とともにESD対策が重要となる。しかしながら、上記のように放熱板をGNDに接続してしまうと不要輻射を増大させてしまう恐れがあった。すなわち、たとえGNDであっても、半導体デバイスの周辺GNDは比較的ノイズが多いため理想的なGNDに放熱板が接続されているとは言い難い場合がある。従って、放熱板をGNDに接続することによって不要輻射が生じてしまい、外部の電子機器(例えばラジオ等)にノイズ等の電磁妨害を与える恐れが考えられる。そして、不要輻射の規格が厳しい地域では、規格を外れてしまうことも有り得る。
そこで本発明は、放熱対策及びESD対策を図るとともに、不要輻射を防止できる電子装置及び静電気放電対策方法を提供することを主たる目的とする。
本発明は上記課題に鑑みてなされたものであり、その主な特徴は以下のとおりである。すなわち、本発明の電子装置は、半導体デバイスを放熱する放熱部材と、放熱部材と電気的に接続された第1の導電部と、第1の放電部と放電ギャップを隔てて接地される第2の導電部と、を備えることを特徴とする。
また、本発明の静電気対策方法は、半導体デバイスと、半導体デバイスを放熱する放熱部材とを含む電子装置の静電気放電対策方法であって、放熱部材と電気的に接続された第1の導電部と、第1の放電部と放電ギャップを隔てて接地される第2の導電部と、を有し、放熱部材から第1の導電部、放電ギャップ、第2の導電部を介して静電気を逃がすことを特徴とする。
本発明によれば、放熱板とGND間に放電ギャップが設けられているため、通常動作時には放熱板とGNDとが接続されずに不要輻射を抑えることができる。また、放熱板に放電した静電気は放電ギャップを乗り越えてGNDへと流れ込むため、ESD対策も図ることが出来る。
本実施形態に係る電子装置の外観を説明するための斜視図である。 本実施形態に係る電子装置を説明するための断面図である。 変形例に係る電子装置を説明するための断面図である。 本実施形態に係る電子装置の適用例を説明するための斜視図である。
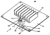
以下、この発明の最良の実施形態について、図面を参照しながら説明する。図1は、本発明の一例として、放熱板を固定した半導体デバイスがプリント基板上に実装されたプリント基板ユニット(電子装置100)の一部の構成を示す斜視図であり、図2は図1のA方向から見た図である。
すなわち、電子装置100は、図1及び図2に示すように、主として、プリント基板101と、このプリント基板101上に実装された半導体デバイス102と、この半導体デバイス102上に熱伝導シート103を介して設けられた放熱板104と、この放熱板104をプリント基板101に固定するための固定具105と、プリント基板101上に設けられ、固定具105と電気的に接続された銅箔層106と、この銅箔層106と放電ギャップ107を挟んでプリント基板101上に設けられ一端が接地電位(GND)に接続された銅箔層108とを含んで構成されている。
図示は省略するが、プリント基板101の表面上には、半導体集積回路、抵抗器、コンデンサー等の多数の電子部品が実装され、その部品間が配線で接続されている。
プリント基板101上に実装される半導体デバイス(ICチップ)としては、種々の形態のものを用いることが出来るが、本実施形態では一例としてBGA(Ball Grid Array)型の半導体デバイス102が実装されている。BGA型の半導体デバイス102は、図2に示すように、プリント基板109と、多数の半導体素子が設けられて樹脂封止された半導体素子部110と、プリント基板109の裏面に複数配置された入出力用であって半田等から成る複数の電極111とを備えている。なお、半導体デバイス102としては、トランジスタ等の単一素子から成るものであってもよい。
熱伝導シート103は、絶縁性や柔軟性を有し、熱伝導率の高い材料から成る例えばシリコーンシートやグラファイトシートを含んでいる。このように、放熱板104と半導体デバイス102との間に熱伝導シート103を配置することが、動作時に半導体デバイス102で生じる熱を効率よく放熱板104から放射させる観点から好ましい。なお、熱伝導シート103の表面が接着性を有してもよく、かかる構成では、放熱板104と半導体デバイス102とが熱伝導シートによって仮固定される。なお、熱伝導シート103と放熱板104との間や、熱伝導シート103と半導体デバイス102との間に両面テープ等を配置して、各部を固定してもよい。
放熱板104は、熱伝導性の高い金属(例えばアルミニウムやアルミニウム合金)から成り、動作時に半導体デバイス102で生じる熱を拡散冷却するための放熱器具である。また、放熱効率を向上させる観点から、略四角形状のベース基板104aから複数のフィン104bが垂直方向に並列に突出している。なお、本実施形態の基板104aは、半導体デバイス102と同等もしくはそれよりも面積が大きいことが好ましい。また、放熱板104は、目的とする半導体デバイスの近傍に設けることが放熱効果を高める上で好ましく、さらに言えば、図2に示すように、半導体デバイスの少なくとも一部と重畳させるように設けることが好ましい。
固定具105は、放熱板104をプリント基板101上に固定するための部材であり、例えば鉄等の導電性の材料から成る。固定具105は、放熱板104を跨る中心部112を有し、当該中心部112の両端は二段階に直角方向に折り曲げ加工され、プリント基板101にビス止めが可能なようにビス用穴113が設けられた先端部114を備える。
銅箔層106及び銅箔層108とは、例えばプリント基板101上に多数の配線を形成する際に同時に形成することが出来る導電層であり、それらは一部離間していわゆる放電ギャップ107を構成している。すなわち、銅箔層106の一方の端部は、固定具105のビス用穴113の周辺に設けられ、固定具105と電気的に接続され、他方の端部は放電部115を有している。また、銅箔層108の銅箔層106と対向する側の端は放電部115に対向する放電部116を有しており、他方の端部はGNDに接続されている。なお、放電部115,116は、図1で示すように略三角形状に突出するように構成すること(先鋭部を有すること)が放電特性を向上させる上で好ましい。ただし、耐久性を考慮して先鋭部の角度は適宜調節することが可能である。
また、本実施形態では、放電ギャップ107を介して放電部115、116が同一直線上に配置されるようにしている。なお、放電ギャップの間隔は、ESD対策として、静電気放電をスムーズに行わせることができるように適宜変更することができる。また、放電ギャップ107は、当該構成に限らず、部品メーカから購入するような単一部品を用いて設けることも可能である。
なお、図示はしないが、銅箔層106、放電ギャップ107及び銅箔層108は固定具105の他方側に同様に設けてもよい。つまり、ESD対策として、単一ではなく複数の経路を用いて放熱板104から放電を行わせるように構成することも可能である。
放熱板104を固定する際には、中心部112を隣り合うフィン104bの溝を通すようにして固定具105を放熱板104に跨らせ、プリント基板に101に設けられたビス用穴117と固定具105のビス用穴113とをあわせる。そして、所定ビスをビス用穴113,117に入れて固定することで放熱板104がプリント基板101上に固定される。
以上説明したように本実施形態では、放熱板104を固定する固定具105をプリント基板101上の銅箔層106と接続し、当該銅箔層106とGNDに接続された銅箔層108との間に放電ギャップ107が設けられている。このため、予期せぬ静電気によって、放熱板104に放電した静電気は固定具105を介してプリント基板101上の銅箔層106に流れ込む。そして、当該静電気は放電ギャップ107を乗り越えて銅箔層108を介してGNDに流れ込む。すなわち、過度な静電気が放熱板104に印加された場合、放熱板104は、固定具105、銅箔層106、放電ギャップ107、銅箔層108の経路でGNDと短絡するため、静電気はGNDへと逃げ、半導体デバイス102や周囲の半導体デバイスには静電気が印加されない。従って、静電破壊を回避し易い構成である。
一方、通常動作時において、放電ギャップ107は絶縁体となるため、上記のような放熱板104とGNDとの短絡は起きない。従ってノイズがGND周辺に多かったとしても、当該ノイズが放熱板104にたどり着くことはなく、不要輻射を低減することが出来る。
以上のように、通常動作時は放熱板104とGNDとが確実に切断された状態にあるため、輻射性能が悪化することもなく、且つESD対策を行うことが出来る。なお、放電ギャップ107はプリント基板上で形成されるため、製品間のばらつきは少なく十分に管理できるものである。
なお、本発明は上記実施形態そのままに限定されるものではなく、実施段階ではその要旨を逸脱しない範囲で構成要素を変形して具体化できる。例えば、図3(a)に示すように、金属性のバネ部材150を用いて放熱板104と銅箔層106とを電気的に接続させることで、同様の効果(放熱効果、静電破壊防止、不要輻射防止の効果)を得ることも出来る。また、図3(b)に示すように、ビス止めではなく直接半田付けする等して導電性の固定具160をプリント基板101に固定してもよい。また、プリント基板101の表面側ではなく裏面側に、GNDと接続された銅箔層161を設け、当該銅箔層161とGNDとの間に放電ギャップを設ける構成であってもよい。
また、本実施形態では、導電性の固定具105を設けていたが、別の導電性の部材を用いて放熱板104と銅箔層106とを接続できるのであれば、固定板105として絶縁性(例えばプラスチック)の部材を用いることもできる。すなわち、放熱板104が何らかの導電性部材と接続され、当該導電性部材が放電ギャップを介してGNDと接続されるように構成されるのであれば、固定具105や固定具160などの材質は適宜変更できる。また、本実施形態では放熱板104と銅箔層106とを固定具105を介して電気的に接続しているが、放熱板104の形状如何では、銅箔層106と直接的に接続される構成であっても構わない。
また、上記した電子装置100は様々な状況に配置することが出来る。例えば、図4に示すように、プリント基板101、放熱板104、半導体デバイス102等が収容される筐体170にスリット171を複数設け、当該スリット171の近傍に放熱板104が配置されるようにしてもよい。かかる構成によれば、放熱板104には外部からの空気がスリット171を介して良く当たるようになり、放熱特性を向上させることができる。
また、スリットのような構成が筐体に設けられていると、当該スリットを介して例えば人体に溜まった静電気が内部の放熱板104等に対して放電することがあり得るが、上記のとおり本実施形態ではESD対策が図られている。また、放熱板104の近傍に冷却ファンを取り付けて更に放熱効果を高めることも可能である。
また、上記実施形態では、熱伝導シート103を放熱板104と半導体デバイス102との間に配置しているが、熱伝導シート103を設けずに、放熱板104と半導体デバイス102とを接着剤や両面テープ等で接着固定してもよい。
また、本実施形態ではプリント基板101の表面に設けられた銅箔層106,108を用いているが、ワイヤー状等の配線を用いることも可能である。すなわち、放熱板104とGND間には様々な導電パターンを設けることが出来る。
また、上記した構成の利用形態の一例を説明する。例えば、上記構成は、テレビジョン放送受信装置に好適に用いられる。すなわち、テレビジョン放送受信装置では、放送波(放送信号)を受信するチューナー部があり、当該放送信号を用いて映像表示部に映像を映し出すための映像信号処理系を構成する回路など多数実装されている。そして、これらの様々な回路部品のうち、特にデコーダ部を構成する半導体集積回路に対しては、デジタルデータの高速処理による発熱があるため、放熱対策、ESD対策、不要輻射対策が施された本実施形態にかかる構成が極めて有効である。
なお、本実施形態にかかる発明は、放熱対策、ESD対策、不要輻射対策を施したい電子機器に幅広く適用することが可能である。
また、本実施形態では、プリント基板上に半導体デバイスと放熱板とが順に積層された構成であるが、半導体デバイスのチップ構造等の設計に応じて積層の順序は適宜変更することも可能である。半導体デバイスと放熱板との間に熱伝導性の良好な部材を別に介在させることで、半導体デバイスと放熱板とを近傍ではなく離間させて配置することも可能である。
100…電子装置,101…プリント基板、102…半導体デバイス、103…熱伝導シート、104…放熱板、105…固定具、106…銅箔層、107…放電ギャップ、108…銅箔層、110…プリント基板、111…端子、112…中心部、113…ビス用穴、114…先端部、115…放電部、116…放電部、117…ビス用穴、150…バネ部材、160…固定具、161…銅箔層、170…筐体、171…スリット。

Claims (10)

  1. 半導体デバイスを放熱する放熱部材と、
    前記放熱部材と電気的に接続された第1の導電部と、
    前記第1の放電部と放電ギャップを隔てて接地される第2の導電部と、
    を備えることを特徴とする電子装置。
  2. 前記半導体デバイスは、基板の一方の面上に設けられ、
    前記第1の導電部は、前記基板の他方の面上にて、前記放熱部材と電気的に接続されており、
    前記第2の導電部は、前記基板の他方の面上にて、前記第1の導電部と前記放電ギャップを隔てて接地されていることを特徴とする請求項1に記載の電子装置。
  3. 前記放熱部材は、前記放熱部材を固定する固定具を介して前記第1の導電部と電気的に接続されていることを特徴とする請求項1に記載の電子装置。
  4. 前記放熱部材は、バネ部材を介して前記第1の導電部と電気的に接続されていることを特徴とする請求項1に記載の電子装置。
  5. 前記放電ギャップにて、前記第1及び第2の導電部の少なくともいずれか一つの放電部が先鋭部を有することを特徴とする請求項1に記載の電子装置。
  6. 放送波を受信するチューナ部を更に備えることを特徴とする請求項1に記載の電子装置。
  7. 前記放熱部材及び前記半導体デバイスを収容する筐体を備え、
    前記筐体には、前記放熱部材の近傍にスリットが設けられていることを特徴とする請求項1に記載の電子装置。
  8. 前記放熱部材は、前記半導体デバイスと電気的に接続されていないことを特徴とする請求項1に記載の電子装置。
  9. 前記半導体デバイスは、前記チューナ部で受信した放送波をデコードするデコーダ部を含むことを特徴とする請求項6に記載の電子装置。
  10. 半導体デバイスと、前記半導体デバイスを放熱する放熱部材とを含む電子装置の静電気放電対策方法であって、
    前記放熱部材と電気的に接続された第1の導電部と、前記第1の放電部と放電ギャップを隔てて接地される第2の導電部と、を有し、
    前記放熱部材から前記第1の導電部、前記放電ギャップ、前記第2の導電部を介して静電気を逃がすことを特徴とする静電気放電対策方法。
JP2009266963A 2009-11-25 2009-11-25 電子装置及び静電気放電対策方法 Expired - Fee Related JP4496278B2 (ja)

Priority Applications (1)

Application Number Priority Date Filing Date Title
JP2009266963A JP4496278B2 (ja) 2009-11-25 2009-11-25 電子装置及び静電気放電対策方法

Applications Claiming Priority (1)

Application Number Priority Date Filing Date Title
JP2009266963A JP4496278B2 (ja) 2009-11-25 2009-11-25 電子装置及び静電気放電対策方法

Related Parent Applications (1)

Application Number Title Priority Date Filing Date
JP2008226421 Division 2008-09-03 2008-09-03

Related Child Applications (1)

Application Number Title Priority Date Filing Date
JP2010022169A Division JP4496298B1 (ja) 2010-02-03 2010-02-03 電子装置及び静電気放電対策方法

Publications (2)

Publication Number Publication Date
JP2010062583A true JP2010062583A (ja) 2010-03-18
JP4496278B2 JP4496278B2 (ja) 2010-07-07

Family

ID=42188976

Family Applications (1)

Application Number Title Priority Date Filing Date
JP2009266963A Expired - Fee Related JP4496278B2 (ja) 2009-11-25 2009-11-25 電子装置及び静電気放電対策方法

Country Status (1)

Country Link
JP (1) JP4496278B2 (ja)

Cited By (5)

* Cited by examiner, † Cited by third party
Publication number Priority date Publication date Assignee Title
JP4920808B1 (ja) * 2011-06-29 2012-04-18 三菱電機株式会社 電子機器
JP2014013811A (ja) * 2012-07-04 2014-01-23 Denso Corp 電子装置
WO2014049898A1 (ja) * 2012-09-26 2014-04-03 パナソニック株式会社 電子機器
US9357677B2 (en) 2012-09-26 2016-05-31 Panasonic Intellectual Property Management Co., Ltd. Electronic device with efficient heat radiation structure for electronic components
CN115003014A (zh) * 2022-07-18 2022-09-02 武汉芯宝科技有限公司 一种esd全防护电路板及其制作方法

Citations (6)

* Cited by examiner, † Cited by third party
Publication number Priority date Publication date Assignee Title
JPS63108689A (ja) * 1986-10-23 1988-05-13 株式会社ニコン 回路用の破壊防止装置
JPH03272599A (ja) * 1990-03-22 1991-12-04 Toshiba Corp 半導体部品の保護方法
JPH05267494A (ja) * 1992-03-17 1993-10-15 Nippondenso Co Ltd 半導体回路装置の製造方法
JPH0964572A (ja) * 1995-08-18 1997-03-07 Matsushita Electric Ind Co Ltd 雷、静電気保護用アースパターン
JP2001015186A (ja) * 1999-06-30 2001-01-19 Showa Alum Corp 集積回路の接地構造
JP2002093928A (ja) * 2000-09-20 2002-03-29 Ricoh Co Ltd 集積回路の実装構造

Patent Citations (6)

* Cited by examiner, † Cited by third party
Publication number Priority date Publication date Assignee Title
JPS63108689A (ja) * 1986-10-23 1988-05-13 株式会社ニコン 回路用の破壊防止装置
JPH03272599A (ja) * 1990-03-22 1991-12-04 Toshiba Corp 半導体部品の保護方法
JPH05267494A (ja) * 1992-03-17 1993-10-15 Nippondenso Co Ltd 半導体回路装置の製造方法
JPH0964572A (ja) * 1995-08-18 1997-03-07 Matsushita Electric Ind Co Ltd 雷、静電気保護用アースパターン
JP2001015186A (ja) * 1999-06-30 2001-01-19 Showa Alum Corp 集積回路の接地構造
JP2002093928A (ja) * 2000-09-20 2002-03-29 Ricoh Co Ltd 集積回路の実装構造

Cited By (9)

* Cited by examiner, † Cited by third party
Publication number Priority date Publication date Assignee Title
JP4920808B1 (ja) * 2011-06-29 2012-04-18 三菱電機株式会社 電子機器
WO2013001625A1 (ja) * 2011-06-29 2013-01-03 三菱電機株式会社 電子機器
US8982564B2 (en) 2011-06-29 2015-03-17 Mitsubishi Electric Corporation Electronic device
JP2014013811A (ja) * 2012-07-04 2014-01-23 Denso Corp 電子装置
WO2014049898A1 (ja) * 2012-09-26 2014-04-03 パナソニック株式会社 電子機器
US9357677B2 (en) 2012-09-26 2016-05-31 Panasonic Intellectual Property Management Co., Ltd. Electronic device with efficient heat radiation structure for electronic components
JPWO2014049898A1 (ja) * 2012-09-26 2016-08-22 パナソニックIpマネジメント株式会社 電子機器
CN115003014A (zh) * 2022-07-18 2022-09-02 武汉芯宝科技有限公司 一种esd全防护电路板及其制作方法
CN115003014B (zh) * 2022-07-18 2022-11-11 武汉芯宝科技有限公司 一种esd全防护电路板及其制作方法

Also Published As

Publication number Publication date
JP4496278B2 (ja) 2010-07-07

Similar Documents

Publication Publication Date Title
JP2011155166A (ja) 電子装置
CN101137282B (zh) 电子装置
US7924568B2 (en) Heat sink device with a shielding member
US6385048B2 (en) EMI reduction device and assembly
US20080080142A1 (en) Electronic devices with enhanced heat spreading
JP4496278B2 (ja) 電子装置及び静電気放電対策方法
JP2011155056A (ja) シールド構造
JPWO2010146652A1 (ja) 光モジュール
JP4978265B2 (ja) 高周波モジュール
WO2017022221A1 (ja) 放熱構造および電子機器
US20080198557A1 (en) Heat-dissipating module
CN101667560B (zh) 用于处理静电放电的电子装置和方法
JP4496298B1 (ja) 電子装置及び静電気放電対策方法
US7443686B2 (en) Electronic system
JP3330893B2 (ja) 金属筐体に囲まれた電子部品の放熱構造
WO2010116993A1 (ja) 集積回路の搭載構造
JPWO2008035540A1 (ja) 電子装置搭載機器とその共振抑制方法
CN113711160A (zh) 电子设备
US20070274059A1 (en) Apparatus and method for shielding of electromagnetic interference of a memory module
JP5466966B2 (ja) 配線板、半導体装置、半導体モジュール及びディスプレイ装置
JP5088939B2 (ja) 積層基板
KR20160097584A (ko) 실장 기판 모듈 및 실장 기판 모듈 제조 방법
JP2002158317A (ja) 低ノイズ放熱icパッケージ及び回路基板
JPWO2008120358A1 (ja) ヒートシンク
JP2011222543A (ja) 電子機器

Legal Events

Date Code Title Description
A975 Report on accelerated examination

Free format text: JAPANESE INTERMEDIATE CODE: A971005

Effective date: 20091221

A131 Notification of reasons for refusal

Free format text: JAPANESE INTERMEDIATE CODE: A131

Effective date: 20100105

A521 Request for written amendment filed

Free format text: JAPANESE INTERMEDIATE CODE: A523

Effective date: 20100203

RD02 Notification of acceptance of power of attorney

Free format text: JAPANESE INTERMEDIATE CODE: A7422

Effective date: 20100203

A521 Request for written amendment filed

Free format text: JAPANESE INTERMEDIATE CODE: A821

Effective date: 20100203

TRDD Decision of grant or rejection written
A01 Written decision to grant a patent or to grant a registration (utility model)

Free format text: JAPANESE INTERMEDIATE CODE: A01

Effective date: 20100316

A01 Written decision to grant a patent or to grant a registration (utility model)

Free format text: JAPANESE INTERMEDIATE CODE: A01

A61 First payment of annual fees (during grant procedure)

Free format text: JAPANESE INTERMEDIATE CODE: A61

Effective date: 20100412

FPAY Renewal fee payment (event date is renewal date of database)

Free format text: PAYMENT UNTIL: 20130416

Year of fee payment: 3

FPAY Renewal fee payment (event date is renewal date of database)

Free format text: PAYMENT UNTIL: 20140416

Year of fee payment: 4

LAPS Cancellation because of no payment of annual fees